Многомасштабное цифровое моделирование породы для моделирования пласта
Иллюстрации
Показать всеИзобретение относится к способам получения характеристик трехмерных (3D) образцов породы пласта, в частности к укрупнению масштаба данных цифрового моделирования. Технический результат - более точное моделирование потока. Модели в масштабе скважины используют МТС (многоточечную статистику) для комбинирования сеток минипроницаемости и сканограмм традиционной КТ полноразмерного керна с электрическими изображениями скважины для создания 3-мерных численных псевдокернов для каждого ТПП (типа породы пласта). Эффективные свойства САК (специальный анализ керна), вычисленные из различных реализаций или моделей МТС в масштабе скважины, используются для заполнения моделей в межскважинном масштабе для каждого ТПП. В межскважинном масштабе сейсмические параметры и вариограммная статистика из данных КВБ (каротаж во время бурения) используются для заполнения цифровых моделей породы. Эффективные свойства, вычисленные из моделирования потока для межскважинных объемов, используются для заполнения моделей в масштабе всего месторождения. 8 н. и 26 з.п. ф-лы, 13 ил.
Реферат
ПЕРЕКРЕСТНЫЕ ССЫЛКИ НА РОДСТВЕННЫЕ ЗАЯВКИ
[0001] Объект патентования настоящего описания патента относится к объекту патентования следующих заявок, принадлежащих одному и тому же правообладателю: заявки на патент США, озаглавленной "Способ построения 3-мерных цифровых моделей пористой среды с использованием сканирующей лазерной конфокальной микроскопии в проходящем свете и многоточечной статистики", порядковый № 12/459414, поданной 1 июля 2009 года; заявки на патент США, озаглавленной "Способы измерения дискретных пористых форм, объемов и площадей поверхностей с использованием конфокальной профилометрии", порядковый № 12/459454, поданной 1 июля 2009 года; заявки на патент США, озаглавленной "Способ получения характеристик геологической формации, пересекаемой скважиной", № 12/384945, поданной 10 апреля 2009 года; заявки на патент США, озаглавленной "Способ генерации численных псевдокернов с использованием изображений скважины, цифровых моделей образцов породы и многоточечной статистики", № 12/384721, поданной 8 апреля 2009 года; предварительной заявки на патент США, озаглавленной "Способы построения 3-мерных цифровых моделей пористых сред с использованием комбинации данных высокого и низкого разрешения и многоточечной статистики", Запись в реестре № IS11.0024, подаваемой посредством данного документа; предварительной заявки на патент США, озаглавленной "Способы использования анализа петрографического изображения для определения капиллярного давления в пористой среде", Запись в реестре № IS11.0046, подаваемой посредством данного документа; предварительной заявки на патент США, озаглавленной "Способ определения площадей и объемов представительных элементов в пористой среде", Запись в реестре № IS11.0045, подаваемой посредством данного документа. Содержание каждой из этих вышеупомянутых заявок включено в данный документ посредством ссылки.
ОБЛАСТЬ ТЕХНИКИ
[0002] Это описание патента в целом относится к способам получения характеристик трехмерных (3D) образцов породы пласта. В частности, это описание патента относится к укрупнению масштаба данных цифрового моделирования.
УРОВЕНЬ ТЕХНИКИ
[0003] Моделирование пласта - это процесс построения цифрового представления пласта, который объединяет все характеристики, относящиеся к его способности хранить и производить углеводороды. Модели пласта состоят из статических и динамических компонентов. Статические модели представляют мелкомасштабные свойства породы, такие как пористость, проницаемость, капиллярное давление, разрывы, сдвиги, сейсмические параметры и параметры, которые не меняются значительно во времени. Динамические модели - более крупные модели, которые включают свойства текучей среды, которые меняются во времени, такие как давление и расходы нефти, газа и воды.
[0004] Моделирование пласта охватывает по меньшей мере 12 порядков величины, от поры (от нм до мкм) до ствола скважины (от мм до м), до межскважинного расстояния (от десятков до сотен метров), до всего месторождения (десятки километров). Породы пласта являются комплексными и гетерогенными во всех диапазонах величин. Многомасштабное моделирование является основной задачей в нефтяной промышленности, и было предложено множество способов укрупнения масштаба. Смотрите, например, Christie, M. A., 1996, Upscaling for reservoir simulation: JPT, v. 48, No. 11, p. 1004-1010 (далее "Christie 1996"); и Durlofsky, L. J., 2003, Upscaling of geocellular models for reservoir flow simulation: A review of recent progress: 7th International Forum on Reservoir Simulation, Buhl/Baden-Baden, Germany, June 23-27, p. 58 (далее "Durlofsky 2003"). Большинство из этих традиционных способов укрупнения масштаба начинают с мелкомасштабных моделей пласта, которые укрупняются до модели, с которой могут работать программы имитации потока текучей среды. Такой тип укрупнения масштаба является сложнейшей задачей, так как обычно затруднительно сохранять основные геологические гетерогенности в окончательных крупномасштабных моделях.
[0005] Гетерогенность может быть определена как изменение свойств породы в виде функции расположения в пределах пласта или формации. Многие резервуары гетерогенны вследствие того, что минералогия, тип и размер зерен, условия отложения пород, пористость, проницаемость, естественные разломы, сдвиги, каналы и другие свойства меняются от места к месту. Гетерогенность осложняет оценку формации и моделирование пласта, так как пласты занимают огромные объемы, но керновый и каротажный контроль ограничены. Например, типовой блок с сеткой, используемый в имитаторах пласта, имеет размеры 250 м × 250 м × 1 м, численные псевдокерны представляют объемы породы в кубических метрах, а образцы, вырезанные из керна, и сканограммы микроКТ или конфокальные сканограммы представляют даже меньшие объемы.
[0006] Цифровая геологическая модель представляет собой послойную сеточную 3-мерную модель. Слои могут иметь нулевую толщину, например, при выклинивании или прерывании пласта. Толщина слоев может соответствовать интервалам каротажа, или превышать эти интервалы, для отражения известной толщины слоев породы. Ячеистые геологические модели охватывают гетерогенности геологического масштаба и обычно используют миллионы ячеек.
[0007] Укрупнение масштаба - это процесс перевода свойств породы из мелкого масштаба в крупный масштаб. Алгоритмы укрупнения масштаба присваивают подходящие значения пористости, проницаемости и других функций потока каждому более крупному сеточному блоку. Смотрите Lasseter, T. J., Waggoner, J. R., and Lake, L. W., 1986, Reservoir heterogeneities and their influence on ultimate recovery, in Lake, L. W., and Carroll, H. B., Jr., eds., Reservoir Characterization: Academic Press, Orlando, Florida, p. 545-559 (hereinafter "Lasseter 1986"); Christie 1996; and Durlofsky 2003.
Укрупнение масштаба необходимо вследствие того, что имитаторы пласта не могут обрабатывать большое количество ячеек в типовых цифровых геологических моделях.
[0008] Было предпринято множество попыток укрупнения масштаба в моделях пласта. Распространенные способы обобщены в Lasseter 1986, Christie 1996 и Durlofsky 2003. Некоторые авторы использовали многоточечную статистику (МТС) и концепции объема представительного элемента (ОПЭ) в цифровом моделировании породы. Okabe и Blunt (2004, 2005, 2007) использовали МТС для получения 3-мерных поровых систем из 2-мерных тонких срезов. Смотрите Okabe, H., and Blunt, M. J., 2004, Prediction of permeability for porous media reconstructed using multiple- point statistics: Physical Review E, v. 70, 10 p; Okabe, H., and Blunt, M. J., 2005, Pore space reconstruction using multiple-point statistics: Journal of Petroleum Science and Engineering, v. 46, p. 121-137; и Okabe, H., и Blunt, M. J., 2007, Pore space reconstruction of vuggy carbonates using microtomography and multiple-point statistics: Water Resources Research, v. 43. Эти авторы сделали допущение, что 2-мерный горизонтальный вид такой же, как 2-мерный вертикальный вид, и использовали это допущение для создания модели. Вследствие этого допущения их модель не охватывает гетерогенность породы и не отражает истинную геометрию 3-мерной поры. МТС была использована для моделирования участков карбонатных поверхностей. Смотрите Levy, M., P.M. Harris, S. Strebelle, и E. C. Rankey, 2007a, Geomorphology of carbonate systems and reservoir modeling: Carbonate training images, FDM cubes, and MPS simulations (abs.): AAPG Annual Convention, Long Beach, California, http://searchanddiscovery.com/documents /2008/08054levy/index.htm (на 15 июля 2008 г.); Levy, M., W. Milliken, P. M. Harris, S. Strebelle, и E. C. Rankey, 2007b, Importance of facies-based earth models for understanding flow behavior in carbonate reservoirs (abs.): AAPG Annual Convention,Long Beach, California, http://searchanddiscovery.com/documents/2008/08097harris25a/index.htm (на5 сентября 2008 г.); и Harris, P. M., 2009, Delineating and quantifying depositional facies patterns in carbonate reservoirs: Insight from modern analogs: AAPG Bulletin, v. 94, p. 61-86. МТС была использована для построения численных моделей породы в масштабе скважины. Смотрите Zhang, T., Hurley, N. F., и Zhao, W., 2009, Numerical modeling of heterogeneous carbonates and multi-scale dynamics: Presented at the SPWLA 50th Annual Logging Symposium, The Woodlands, Texas, June 21-24 (далее "Zhang 2009"). Концепции объема представительного элемента (ОПЭ) и площади (РЭП) были применены для фото выхода гетеролитических осадочных пород. Смотрите Norris, R. J., и Lewis, J. J. M., 1991, The geological modeling of effective permeability in complex heterolithic facies: SPE Preprint 22692, Presented at the 66th Annual Technical Conference and Exhibition, Dallas, TX, October 6-9, p. 359-374. ОПЭ обсуждался в связи с проницаемостями в блоках выхода гетеролитических осадочных пород. Смотрите Jackson, M. D., Muggeridge, A. H., Yoshida, S., и Johnson, H. D., 2003, Upscaling permeability measurements within complex heterolithic tidal sandstones: Mathematical Geology, v. 35, p. 499-520; и Jackson, M. D., Yoshida, S., Muggeridge, A. H., и Johnson, H. D., 2005, Three-dimensional reservoir characterization and flow simulation of heterolithic tidal sandstones: AAPG Bulletin, v. 89, p. 507-528. Концепция ОПЭ была использована в цифровых моделях породы в масштабе пор. Однако, вследствие использования перекрывающихся частичных объемов, авторы получили сомнительные результаты. Смотрите Zhang, D., Zhang, R., Chen, S., Soil, W. E., 2000, Pore scale study of flow in porous media: Scale dependency, REV, and statistical REV: Geophysical Research Letters, v. 27, No. 8, p. 1195-1198; и Okabe, H., и Oseto, K., 2006, Pore-scale heterogeneity assessed by the lattice-Boltzmann method: International Symposium of the Soc. of Core Analysts, Trondheim, Norway, September 12-16, Paper SCA2006-44, 7 p. Коцепция минимизированной дисперсии ОПЭ была использован для укрупнения масштаба при моделировании пласта. Смотрите Qi, D., 2009, Upscaling theory and application techniques for reservoir simulation: Lambert Academic Publishing, Saarbrücken, Germany, 230 p. (далее "Qi 2009").
[0009] 3-мерные модели в масштабе пор были построены с использованием 2-мерных тонких срезов и способа, известного как анализ Монте-Карло с использованием цепей Маркова. Смотрите Wu, K., Van Dijke, M. I. J., Couples, G. D., Jiang, Z., Ma, J., Sorbie, K. S., Crawford, J., Young, I., и Zhang, X., 2006, 3D stochastic modelling of heterogeneous porous media-Applications to reservoir rocks: Transport in Porous Media, v. 65, p. 443-467. Вопросы укрупнения масштаба возникли при построении составных поровых моделей с использованием сканограмм тонких срезов с различным разрешением. Смотрите Wu, K., Ryazanov, A., van Dijke, M. I. J., Jiang, Z., Ma, J., Couples, G. D., и Sorbie, K. S., 2008, Validation of methods for multi-scale pore space reconstruction and their use in prediction of flow properties of carbonate: Paper SCA2008-34, International Symposium of the Society of Core Analysts, Abu Dhabi, October 29-November 2, 12 p., где сказано: "Один возможный способ заключается в приведении разрешения 3-мерного изображения более крупного масштаба к разрешению более мелкого масштаба и комбинировании этих двух структур с одним и тем же объемом для создания одной модели". Изображение с более мелким масштабом "накладывается" на изображение с более крупным масштабом для образования интегрированной структуры. Смотрите тот же источник.
[0010] Патент США № 6826520 описывает способ укрупнения масштаба проницаемости с использованием вычислительной сетки Вороного. Патент США № 7224162 описывает способ оценки свойств геологической формации с использованием данных каротажа скважины, таких как магниторезонансные, резистивность и другие. Способ заключается в получении направленных значений свойства формации и генерировании направленной каротажной диаграммы свойства. Патент США № 7783462 описывает способ заполнения трехмерной структуры пласта, имеющей множество ячеек, одним или более постоянными значениями свойства пласта. Патент США №7765091 описывает многомасштабный способ для моделирования пласта с использованием метода конечных объемов.
[0011] Заявка на патент США № 2011-0004448 описывает способ построения 3-мерных цифровых моделей пористой среды с использованием отраженного белого света и лазерной сканирующей конфокальной профилометрии, и многоточечной статистики. Заявка на патент США №2 011-0004447 описывает способ построения 3-мерных цифровых моделей пористой среды с использованием лазерной сканирующей конфокальной микроскопии в подходящем свете и многоточечной статистики. Также обсуждается концепция ОПЭ в масштабе пор. Заявка на патент США № 2009-0262603 описывает способ получения исчерпывающих изображений из изображений скважины. Заявка на патент США № 2009-0259446 описывает способ получения численных псевдокернов из сканограмм традиционной КТ и полных изображений, используя многоточечную статистику.
СУЩНОСТЬ ИЗОБРЕТЕНИЯ
[0012] В соответствии с некоторыми вариантами воплощения предоставляется способ укрупнения масштаба системой обработки данных цифрового моделирования породы в масштабе скважины, представляющих породу пласта. Способ включает комбинирование данных цифрового моделирования породы в масштабе скважины с данными в масштабе межскважинного расстояния для получения данных цифрового моделирования породы в масштабе межскважинного расстояния, охватывающего гетерогенность в межскважинном масштабе. Множество типов породы пласта предпочтительно идентифицируется в данных цифрового моделирования породы в масштабе скважины. Данные в межскважинном масштабе предпочтительно собираются с использованием каротажа во время бурения невертикальных скважин, межскважинных геофизических измерений и сейсмических измерений; и могут включать вычисленную вариограммную статистику. Процесс укрупнения масштаба предпочтительно включает использование вычисленных значений пористости, проницаемости, капиллярного давления и/или относительной проницаемости в масштабе скважины. В соответствии с некоторыми вариантами воплощения для укрупнения масштаба могут использоваться другие значения, такие как: показатели удельного сопротивления, насыщенности водой, остаточной насыщенности водой, остаточной насыщенности нефтью, коэффициенты отдачи и показатели Арчи для цементирования (m) и насыщения (n). Данные цифрового моделирования породы предпочтительно включают результаты многоточечной статистики и объемы представительных элементов.
[0013] Данные цифрового моделирования породы в масштабе скважины были предпочтительно укрупнены из данных цифрового моделирования породы в масштабе пор, используя вычисленные в масштабе пор значения пористости, проницаемости, капиллярного давления и/или относительной проницаемости. Данные цифрового моделирования породы в масштабе пор предпочтительно генерируются с использованием данных минипроницаемости и сканограммы традиционной компьютерной томографии (КТ) для одной или более пластин керна с шагом сетки данных минипроницаемости от около 0,5 см до около 1 см и шагом среза сканограммы КТ от около 1 мм до 2 мм. Данные минипроницаемости и сканограммы КТ предпочтительно используются для идентификации частичных объемов породы, известных как петрофизические фации. Петрофизические фации предпочтительно характеризуются, используя 2-мерную и 3-мерную лазерную сканирующую флуоресцентную микроскопию в проходящем свете с разрешением около 250 нм на пиксель или воксел, сканограммы микроКТ с разрешением около от 1 до 5 микрометров на воксел, сканограммы наноКТ с разрешением около от 50 нм до 60 нм на воксель, электронную микроскопию со сканированием фокусированным ионным пучком (СЭМ-ФИП) с разрешением около от 5 нм до 10 нм на пиксель, используя близко расположенные друг к другу последовательные секторы, капиллярное давление при нагнетании ртути в образец (КДНР) и/или ядерный магнитный резонанс (ЯМР).
[0014] Способ может также включать укрупнение масштаба полученных данных цифрового моделирования в межскважинном масштабе для генерирования данных цифрового моделирования породы в масштабе месторождения, на основании вычисленных в межскважинном масштабе значений пористости, проницаемости, капиллярного давления и/или относительной проницаемости.
КРАТКОЕ ОПИСАНИЕ ФИГУР
[0015] Настоящее раскрытие дополнительно описано в подробном описании ниже со ссылками на чертежи посредством не имеющих ограничительного характера примеров вариантов воплощения, где одинаковые номера для ссылочных позиций представляют подобные части на нескольких видах чертежей и где:
[0016] Фиг.1 иллюстрирует обустройство нефтяного месторождения, в котором осуществляется многомасштабное цифровое моделирование породы, в соответствии с некоторыми вариантами воплощения;
[0017] Фиг.2A-В являются блок-схемами, показывающими рекомендуемые процедуры для многомасштабного моделирования пласта, в соответствии с некоторыми вариантами воплощения;
[0018] Фиг.3 является блок-схемой, показывающей порядок построения цифровых моделей породы в масштабе пор, в соответствии с некоторыми вариантами воплощения;
[0019] Фиг.4 является блок-схемой, показывающей порядок построения цифровых моделей породы в масштабе скважины, в соответствии с некоторыми вариантами воплощения;
[0020] Фиг.5 является блок-схемой, показывающей порядок построения цифровых моделей породы в межскважинном масштабе, в соответствии с некоторыми вариантами воплощения;
[0021] Фиг.6 является блок-схемой, показывающей порядок построения цифровых моделей породы в масштабе месторождения, в соответствии с некоторыми вариантами воплощения;
[0022] Фиг.7 является блок-схемой последовательности операций, показывающей предварительные шаги, которые необходимо выполнить перед многомасштабным моделированием пласта, в соответствии с некоторыми вариантами воплощения;
[0023] Фиг.8A-В являются блок-схемами последовательности операций, показывающими шаги перед выполнением цифрового анализа керна, в виде численных псевдокернов и моделирования потока, в соответствии с некоторыми вариантами воплощения;
[0024] Фиг.9 является блок-схемой последовательности операций, показывающей шаги, используемые для распределения фаций и построения модели в межскважинном масштабе, в соответствии с некоторыми вариантами воплощения; и
[0025] Фиг.10A-В являются блок-схемами последовательности операций, показывающими рекомендуемые шаги для укрупнения масштаба моделей от межскважинного масштаба до масштаба месторождения, в соответствии с некоторыми вариантами воплощения.
ПОДРОБНОЕ ОПИСАНИЕ ИЗОБРЕТЕНИЯ
[0026] Подробное описание предоставляет только примерные варианты воплощения и не предназначено для ограничения объема, применимости или конфигурации раскрытия. Подробное описание примерных вариантов воплощения предоставит специалистам в этой области достаточное описание для практического использования одного или более примерных вариантов воплощения. Понятно, что различные изменения могут быть осуществлены в функциях и конфигурации элементов без отклонения от сущности и объема изобретения, как изложено в пунктах прилагаемой формулы изобретения.
[0027] Конкретные детали приводятся в описании для обеспечения полного понимания вариантов воплощения. Однако, специалистам в этой области должно быть понятно, что варианты воплощения могут практически использоваться без этих конкретных деталей. Например, системы, процессы и другие элементы в изобретении могут быть показаны в виде компонентов блок-схем для того, чтобы не ухудшить ясность вариантов воплощения вследствие деталей, которые не являются необходимыми. В других случаях хорошо известные процессы, структуры и способы могут быть показаны без деталей, которые не являются необходимыми, чтобы избежать ухудшения ясности вариантов воплощения. Дополнительно одинаковые номера для ссылочных позиций и обозначения в разных чертежах указывают на одинаковые элементы.
[0028] Также отмечается, что индивидуальные варианты воплощения могут описываться как процесс, отображаемый в виде схемы процесса, рабочей схемы, схемы обработки данных, структурной схемы или блок-схемы. Хотя схема процесса может описывать операции в виде последовательного процесса, многие из операций могут выполняться параллельно или совместно. В дополнение порядок операций может быть изменен. Процесс может быть прекращен после выполнения операций, но может иметь дополнительные шаги, которые не обсуждались и не включены в фигуру. Кроме того, не все операции в каком-либо описанном процессе могут выполняться во всех вариантах воплощения. Процесс может соответствовать способу, функции, процедуре, подпрограмме и т.п. Когда процесс соответствует функции, его завершение соответствует возврату функции к вызывающей функции или главной функции.
[0029] Кроме того, варианты воплощения изобретения могут быть осуществлены, по меньшей мере частично, вручную или автоматически. Ручные или автоматические осуществления могут быть выполнены, или по меньшей мере может быть оказана помощь в выполнении, посредством использования машин, аппаратного обеспечения, программного обеспечения, встроенного программного обеспечения, промежуточного программного обеспечения, микропрограмм, языков описания аппаратного обеспечения или любой их комбинации. При осуществлении с использованием программного обеспечения, встроенного программного обеспечения, промежуточного программного обеспечения или микропрограмм, управляющие программы или кодовые сегменты для выполнения необходимых задач могут храниться на машиночитаемом носителе. Процессор(ы) может (могут) выполнять требуемые задачи.
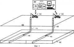
[0030] Фиг.1 иллюстрирует обустройство нефтяного месторождения, в котором осуществляется многомасштабное цифровое моделирование породы, в соответствии с некоторыми вариантами воплощения. На фиг.1 скважины 110 и 120 почти горизонтальные в пределах пласта 102. На поверхности 100 грузовой автомобиль 112 с лебедкой для каротажного устройства предназначен для опускания каротажного устройства 140 в скважину 110. Подобно этому показан грузовой автомобиль 122 с лебедкой для опускания каротажного устройства 142 в скважину 120. Хотя фиг.1 иллюстрирует почти горизонтальные скважины, специалисты в данной области должны понимать, что описываемые способы могут также использоваться в скважинах, отклоняющихся от горизонтального уровня или вертикальных. Каротажные устройства 140 и 142 могут являться, например, скважинными устройствами для получения изображения, керноотборными устройствами, устройствами для отбора проб текучей среды, устройствами для каротажа сопротивления, устройствами для радиоактивного каротажа, скважинными устройствами для сейсмического каротажа, устройствами для акустического каротажа и электромагнитными устройствами (включая межскважинные электромагнитные устройства). Данные с каротажных грузовых автомобилей 112 и 122 передаются в центр 150 обработки, который включает один или более процессорных блоков 144 для выполнения процедур обработки информации, как описывается в этой заявке, так же как и другую обработку. Центр 150 обработки также включает систему 142 хранения, модули 140 связи и ввода/вывода, дисплей 146 пользователя и систему 148 ввода пользователя. В соответствии с некоторыми вариантами воплощения центр 150 обработки может быть расположен удаленно от скважинных площадок. Хотя на фиг.1 не показано, центр 150 обработки также получает данные многих других типов, используемые в многомасштабном цифровом моделировании породы, такие как данные анализа кернов и данные поверхностной сейсмичности.
[0031] Цифровые модели породы используются для разработки концептуальных рабочих схем для выполнения многомасштабного моделирования гетерогенных пород. Диапазон размеров в моделях находится в пределах от поры (от нм до мкм) до ствола скважины (от мм до м), до межскважинного расстояния (от десятков до сотен метров), до всего месторождения (от десятков до сотен километров). В соответствии с некоторыми вариантами воплощения при каждом масштабе петрофизические свойства вычисляются из цифровых моделей породы при примыкающем более мелком масштабе. Петрофизические свойства затем используются для заполнения моделей при следующем более крупном масштабе. Этот процесс как способ укрупнения масштаба, преобразует модели с мелким масштабом в модели с крупным масштабом.
[0032] В соответствии с некоторыми вариантами воплощения при всех масштабах цифровые модели породы используют многоточечную статистику (МТС) и объемов представительных элементов (ОПЭ). МТС является геостатистическим способом моделирования для создания моделей пространственных полей геологических свойств и свойств пласта, соответствующих известным результатам, таким как измеренные для скважин и образцов. ОПЭ являются наименьшими объемами, которые могут моделироваться для охвата гетерогенности породы, в заданных пределах дисперсии измеряемого свойства, такого как пористость или проницаемость.
[0033] Керны для моделирования в масштабе пор стратегически выбираются с использованием сеток минипроницаемости полноразмерного керна и сканограмм традиционной КТ. Модели в масштабе пор используют такие инструменты как лазерная сканирующая флуоресцентная микроскопия в проходящем свете, сканограммы микроКТ, сканограммы наноКТ и электронная микроскопия со сканированием фокусированным ионным пучком для получения 3-мерных изображений пор. Данные капиллярного давления при нагнетании ртути в образец и/или ядерно-магнитного резонанса, если доступно, предоставляют независимый способ измерения или модифицирования распределений размеров пор. Анализы предпочтительно показывают, что ОПЭ должен быть отобран для каждой петрофизической фации перед сегментацией для получения бинарного изображения. МТС используется для создания реалистических моделей произвольного размера и произвольной формы. Модели пор используются непосредственно для моделирования потока или преобразуются в модели поровых сетей, которые затем используются для моделирования потока. Вычисленные численные свойства САК (специальный анализ керна) затем подтверждаются с использованием лабораторных данных и используются для заполнения моделей в масштабе скважины.
[0034] В соответствии с некоторыми вариантами воплощения модели в масштабе скважины комбинируют сетки минипроницаемости и сканограммы традиционной КТ полноразмерного керна с электрическими изображениями скважины для создания трехмерных численных псевдокернов. Свойства САК, определяемые из моделей в масштабе пор, распределяются для каждой петрофизической фации в численных псевдокернах. Еще раз, анализы должны показать, что ОПЭ был отобран перед моделированием потока. Эффективные свойства САК, вычисленные из разных реализаций МТС, используются для заполнения моделей в межскважинном масштабе.
[0035] В соответствии с некоторыми вариантами воплощения сейсмические параметры и вариограммная статистика на основании каротажа во время бурения (КВБ) используются для заполнения цифровых моделей породы. Эффективные свойства, вычисленные при моделировании потока в межскважинном масштабе, используются для заполнения моделей в масштабе всего месторождения. При масштабе всего месторождения аналоги линий выхода породы на поверхность, сейсмостратиграфия, карты изопахит, кривые пропорций фаций, опережающие стратиграфические модели, диагенетические модели, модели в масштабе бассейна и модели МТС комбинируются для усовершенствования моделей потока.
[0036] Способ, описываемый здесь, обеспечивает лучшее понимание путей потока текучей среды, насыщенности и коэффициентов отдачи в углеводородных пластах. Рабочая схема пригодна для любой литологии, такой как карбонаты, песчаники, сланцы, угли, эвапориты и вулканические или метаморфические породы. При каждом масштабе петрофизические свойства вычисляются, передаются в следующий масштаб и используются для заполнения более крупных цифровых моделей породы.
[0037] Цифровое моделирование породы. В соответствии с некоторыми вариантами воплощения рабочая схема описывается для многомасштабного моделирования пласта на основании цифровых моделей породы. Такие модели строятся на основании кернов, каротажных диаграмм скважины и сейсмических данных. Цель заключается в построении 3-мерных моделей для цифрового представления порового пространства и гетерогенных материалов породы при всех масштабах. Этот способ действителен для карбонатов, песчаников, сланцев и других литологий, таких как угли, эвапориты и вулканические или метаморфические породы. Разломы и сдвиги могут быть включены при различных масштабах. Во многих раскрываемых вариантах воплощения повторяющиеся темы цифрового моделирования породы включают многоточечную статистику и объемы представительных элементов.
[0038] Многоточечная статистика (МТС) позволяет создавать модели пространственных полей геологических свойств и свойств пласта. Эти условные модели используют известные результаты, такие как измеренные для скважин или образцов породы, в качестве фиксированных или достоверных данных, которые полностью принимаются во время моделирования. МТС использует 1-мерные, 2-мерные или 3-мерные "обучающие образы" в качестве количественных шаблонов для моделирования свойств вещества.
[0039] Объемы представительных элементов (ОПЭ) предоставляют новое применение в моделировании пласта, основанное на способе, используемом в гидрологии. Кратко, ОПЭ являются наименьшими объемами, которые могут моделироваться для получения непротиворечивых результатов в приемлемых пределах дисперсии моделируемого свойства, таких как пористость и проницаемость. Используя этот способ, мы можем определить наименьший объем, который необходимо моделировать, применить эту модель потока и использовать результаты для укрупнения масштаба для моделей с более крупным масштабом.
[0040] Модели в масштабе пор. Основной целью цифрового моделирования породы в масштабе пор является построение 3-мерных моделей, использующих многоточечную статистику (МТС) для комбинирования лазерной сканирующей флуоресцентной микроскопии и других средств высокого разрешения со сканограммами микроКТ, с относительно большими изображаемыми объемами. В соответствии с некоторыми вариантами воплощения используется один или более из следующих инструментов или способов:
[0041] 1. Лазерная сканирующая флуоресцентная микроскопия в проходящем свете обеспечивает высокое разрешение (около 250 нм) 3-мерных моделей пор для количественного охвата микропористости. На основании результатов мы вычисляем распределения размеров пор и моделируемые кривые капиллярного давления.
[0042] 2. Сканограммы микроКТ используют рентгеновскую компьютерную томографию (КТ) небольших образцов (обычно образцы диаметром 5 мм, вырезанные из керна) для обнаружения полостей пор с типовым разрешением от 1 до 5 микрометров. Смотрите Knackstedt, M. A., Arns, C. H., Sakellariou, A., Senden, T. J., Sheppard, A. P., Sok, R. M., Pinczewski,W. V., и Bunn, G. F., 2004, Digital core laboratory: Properties of reservoir core derived from 3D images: SPE Preprint 87009, Представлено на Азиатско-Тихоокеанской конференции по интегрированному моделированию для управления активами, 29-30 марта. Программное обеспечение преобразует изображения пор в модели поровых сетей с результирующими распределениями размеров полостей пор и устьев пор.
[0043] 3. Сканограммы наноКТ используют рентгеновскую компьютерную томографию (КТ) очень небольших образцов (обычно образцы диаметром 60 микрометров, вырезанные из керна) для обнаружения полостей пор с типовым разрешением от 50 нм до 60 нм. Программное обеспечение преобразует изображения пор в модели поровых сетей с результирующими распределениями размеров полостей пор и устьев пор.
[0044] 4. Электронная микроскопия со сканированием фокусированным ионным пучком (СЭМ-ФИП) использует фокусирование ионного пучка для создания близко расположенных множественных 2-кратных последовательных сечений, которые используются для построения 3-мерных моделей пор в субмикронном масштабе. Типовое разрешение равно от 5 нм до 10 нм.
[0045] 5. Капиллярное давление при нагнетании ртути в образец (КДНР) включает постепенное нагнетание ртути в чистый образец, обычно вырезанный из керна, при постоянно повышающемся давлении. Смотрите Jennings, J. B., 1987, Capillary pressure techniques: Application to exploration and development geology: AAPG Bulletin, v. 71, p. 1196-1209; и Pittman, E. D., 1992: Relationship of porosity and permeability to various parameters derived from mercury injection-capillary pressure curves for sandstone: AAPG Bulletin, v. 76, p. 191-198. При каждом повышенном давлении устья пор конкретного размера заполняются ртутью. Распределения размеров устьев пор обычно отображаются на гистограммах, рассчитанных на основании результатов КДНР. Необходимо отметить, что КДНР обычно не является эффективным при размерах устьев пор больше 100 микрометров, так как эти устья заполняются ртутью при очень низких давлениях. Идеальный для использования КДНР размер пор находится в диапазоне от 0,1 до 100 микрометров.
[0046] 6. Ядерный магнитный резонанс (ЯМР) основывается на взаимодействии ядер водорода (протонов) с магнитным полем и импульсами радиочастотных сигналов. Смотрите Coates, G. R., Xiao, L. и Prammer, M. G., 1999, NMR logging: Principles and applications: Halliburton Energy Services, USA, 234 p. Поперечное распределения времени релаксации ЯМР (Распределение Т_2) относится к распределению размеров пор в породе. Результаты ЯМР могут быть использованы для разделения пористости на микро-, мезо- и макропористость. Смотрите Ramamoorthy, R., Boyd, A., Neville, T. J., Seleznev, N., Sun, H., Flaum, C., и Ma, J., 2008,A new workflow for petrophysical and textural evaluation of carbonate reservoirs: SPWLA Preprint, 49th Annual Logging Symposium, May 25-28, 15 p. Такие результаты могут использоваться для построения цифровых моделей породы в масштабе пор.
[0047] 7. Петрофизические фации являются площадями, окруженными контурами минипроницаемости на поверхностях пластинок керна. Смотрите Bourke, L. T., 1993, Core permeability imaging: It's relevance to conventional core characterization and potential application to wireline measurement: Marine and Petroleum Geology, v. 10, p. 318-324; и Dehghani, K., Harris, P. M., Edwards, K. A., и Dees, W. T., 1999, Modeling a vuggy carbonate reservoir: AAPG Bulletin, v. 83, p. 19-42. Такие зоны обычно также имеют характерные признаки на каротажных диаграммах скважин, такие как пустоты, участки сопротивления, участки проводимости. Смотрите Zhang 2009. Участки проводимости, которые соответствуют зонам повышенной пористости и проницаемости, предоставляют непрерывность потока между пустотами. Такие участки проводимости или участки сопротивления имеют комплексные 3-мерные формы.
[0048] Рабочие схемы могут использоваться для получения следующих продуктов. Модели пор или модели поровых сетей используются для вычислений, для объемов представительных элементов (ОПЭ) индивидуальных петрофизических фаций, следующих свойств: пористости, проницаемости, капиллярного давления, относительной проницаемости, показателей удельного сопротивления, насыщенности водой, остаточной насыщенности водой, остаточной насыщенности нефтью, коэффициентов отдачи и показателей Арчи для цементирования (m) и насыщения (n). Эти численные значения САК, особенно при подтверждении лабораторными измерениями, используются для заполнения моделей в масштабе скважины.
[0049] Модели в масштабе скважины. Основной целью цифрового моделирования породы в масштабе скважины является построение моделей потока для гетерогенных карбонатов, используя керны и изображения скважины. В соответствии с некоторыми вариантами воплощения используются один или более из следующих инструментов и способов:
[0050] 1. Традиционные сканограммы КТ (интервал около от 1 мм до 2 мм), преобразованные в 3-мерные изображения кернов. Результаты используются в качестве обучающих образов МТС для численных псевдокернов.
[0051] 2. Полные изображения скважины являются видами на 360 градусов стенок ствола скважины, генерируемыми "заполнением зазоров" между основаниями каротажных диаграмм скважины с использованием МТС. Смотрите работу Hurley, N. F., и Zhang, T., 2009, Method to generate fullbore images using borehole images and multi-point statistics: SPE preprint 120671-PP, представленную на Конференции по нефти и газу Ближнего Востока, Бахрейн, 15-18 марта. Гетерогенность породы отображается в объеме, близком к стволу скважины, и используется в качестве фиксированных данных для создания моделей МТС численных кернов.
[0052] 3. Измерители минипроницаемости охватывают изменение проницаемости на поверхностях пластинок породы и используются для: (а) сегментации цифровых моделей породы с получением соответствующих петрофизических фаций; (б) подтверждения этих фаций для использования в качестве значений абсолютной проницаемости; и (в) идентификации частичных объемов для более детального отбора образцов.
[0053] Рабочие схемы могут использоваться для генерирования следующих продуктов: (1) Численные псевдокерны используют традиционные сканограммы КТ кернов, каротажные диаграммы скважины и МТС для генерирования 3-мерных моделей, где каждая ячейка имеет свои значения пористости, проницаемости, капиллярного давления и относительной проницаемости. Такие модели количественно охватывают гетерогенность в масштабе скважины. Смотрите Zhang 2009; и (2) Поточные модели Eclipse численных псевдокернов используются для вычисления эффективной пористости, проницаемости, капиллярного давления, показателей удельного сопротивления, относительной проницаемости, насыщенности водой, минимальной насыщенности водой, остаточной насыщенности нефтью, коэффициентов отдачи и показателей Арчи для цементирования (m) и насыщения (n) для ОПЭ основных типов породы.
[0054] Модели в межскважинном масштабе. Основной целью цифрового моделирования породы в межскважинном масштабе является использование геостатистических инструментов, таких как вариограммная статистика на основании данных КВБ, сейсмических параметров и межскважинной геофизики для охвата межскважинной гетерогенности. Свойства потока предоставляются чи
 
                         
                            


