Вешалка для сушки белья

Иллюстрации

Показать все

Вешалка для сушки белья такого типа, который содержит два продольных элемента для поддержания двух взаимно противоположных решеток, которые могут перемещаться относительно друг друга между первой конфигурацией по существу наложения с образованием одной центральной решетки для навешивания и второй конфигурации полного удлинения, когда обе решетки полностью доступны для навешивания, опорное средство для вешалки для сушки белья, которое связано с продольными элементами. В этой сушилке каждая из двух решеток ограничена прямоугольной трубчатой рамой, которая поддерживает множество стержнеобразных компонентов или компонентов наподобие проволоки для подвешивания белья, при этом боковые участки трубчатых рам выполнены с возможностью скольжения по соответствующим направляющим элементам, которые связаны с продольными элементами. 9 з.п. ф-лы, 8 ил.

Реферат

Настоящее изобретение относится к вешалке для сушки белья.

На сегодняшний день в продаже представлено множество типов вешалок для сушки белья.

Из них большая часть этого типа, содержащая прямоугольную конфигурацию, выполнена с помощью пары продольных элементов и с помощью пары поперечных элементов, между которыми размещены стержнеобразные элементы, которые, с помощью рамной конструкции, определяют решетку для развешивания белья. Продольные элементы обычно связаны с парой складных опорных ножек.

Обычно вешалки для сушки белья снабжены основной решеткой, которая, вместе со стержнеобразными элементами, образована с помощью продольных элементов и посредством поперечных элементов и двух вторичных решеток, которые имеют более короткие стержнеобразные элементы, чем стержнеобразные элементы основной решетки (обычно приблизительно наполовину), при этом такие вторичные решетки, каждая, подвешиваются на поперечных элементах и могут быть сложены над основной решеткой, или могут скользить от основной решетки.

Две вторичные решетки позволяют использовать вешалку для сушки белья оптимальным образом, за счет использования конфигурации, которая может регулироваться в отношении загрузки белья для стирки, которое должно быть развешено для просушки.

Обе вешалки для сушки белья, с использованием навесной вторичной решетки, и вешалки для сушки белья со скользящей вторичной решеткой, демонстрируют один и тот же недостаток, который связан с ограниченными размерами вторичных решеток.

В действительности, в обоих случаях, для того, чтобы обеспечить вешалку для сушки белья возможностью поддержания ее устойчивого равновесия, даже если открыта и нагружена только одна вторичная решетка, каждая из боковых решеток обычно составляет около половины длины основной решетки.

Поэтому такие обычные вторичные решетки, хотя полезны, не имеют такую же функциональность, как основная решетка, поскольку на них только небольшое количество наименований вещей может быть развешено, таких как носовые платки, носки, футболки и тому подобное, и не могут быть развешены простыни, большие полотенца и, в общем, весь тот перечень вещей, которые вследствие их ширины, могут быть навешены только на основной решетке.

Для преодоления этих недостатков, тот же заявитель разработал, а также раскрыл и заявил в EPA 10150781.2 вешалку для сушки белья, которая может преодолеть ограничения упомянутых обычных вешалок для сушки белья.

Такая вешалка для сушки белья содержит два продольных элемента для поддержания двух взаимно противоположных решеток, которые могут перемещаться относительно друг друга, с помощью взаимно скользящих средств, между первой конфигурацией по существу наложения с образованием одной центральной решетки для навешивания и второй конфигурации полного удлинения, когда обе решетки полностью доступны для развешивания, причем продольные элементы связаны с опорным средством для вешалки для сушки белья.

Таким образом, разработанная вешалка для сушки белья, помимо функциональности, демонстрирует возможность для улучшения.

В действительности, такая вешалка для сушки белья определена с помощью относительно сложной конструкции, которая снабжена двумя решетками, каждая из которых ограничена посредством трубчатого U-образного элемента, который поддерживает множество стержнеобразных компонентов или компонентов наподобие проволоки для подвешивания белья, при этом боковые участки U-образных трубчатых элементов выполнены с возможностью скольжения в продольных элементах, которые здесь определены между продольными элементами и соответствующими боковыми участками, средствами ограничения хода для фиксации, которые выполнены с возможностью полного выдвижения решеток из продольных элементов.

Кроме того, средства взаимного скольжения образованы за счет двух поперечных элементов, которые могут скользить и которые снабжены соответствующими муфтами для скольжения по продольным элементам, причем каждое из двух скользящих поперечных элементов содержит фиксирующие гнезда для свободных концов стержней первой решетки, и пазы для скольжения относительно стержней другой, второй, решетки.

Такая упомянутая вешалка для сушки белья является, в общем, не очень прочной и очень сложной в отношении сборки.

Целью настоящего изобретения является создание вешалки для сушки белья, которая является более прочной, более простой в изготовлении и сборке и, в целом, менее дорогостоящей при изготовлении.

В рамках этой цели, задачей настоящего изобретения является создание вешалки для сушки белья, основная решетка которой комбинирована с другой решеткой, которая является больше, чем обычные вторичные решетки.

Другой задачей настоящего изобретения является создание вешалки для сушки белья, которая является легкой в использовании также как и обычные вешалки для сушки белья.

Другой задачей настоящего изобретения является создание вешалки для сушки белья, которая может быть легко сложена в нерабочую конфигурацию также как и обычные вешалки для сушки белья.

Другой задачей настоящего изобретения является создание вешалки для сушки белья, которая может быть конструктивно выполнена при низкой себестоимости с помощью обычных технологий и систем.

Эта задача и эта и другие цели, которые станут более понятными в дальнейшем в этом документе, достигаются посредством вешалки для сушки белья данного типа, содержащего два продольных элемента для поддержания двух взаимно противоположных решеток, которые могут скользить относительно друг друга между первой конфигурацией по существу наложения с образованием одной центральной решетки для навешивания и второй конфигурации полного удлинения, когда обе решетки полностью доступны для навешивания, при этом опорное средство для вешалки для сушки белья связано с упомянутыми продольными элементами, при этом упомянутая улучшенная вешалка характеризуется тем, что каждая из упомянутых двух решеток ограничена прямоугольной трубчатой рамой, которая поддерживает множество стержнеобразных компонентов или компонентов наподобие проволоки для подвешивания белья, при этом боковые участки упомянутых трубчатых рам выполнены с возможностью скольжения по соответствующим направляющим элементам, которые связаны с упомянутыми продольными элементами.

Другие характеристики и преимущества настоящего изобретения станут более очевидными из описания предпочтительного, но не исключительного, варианта осуществления вешалки для сушки белья согласно настоящему изобретению, которое иллюстрировано с помощью неограничивающего примера в сопроводительных чертежах, в которых:

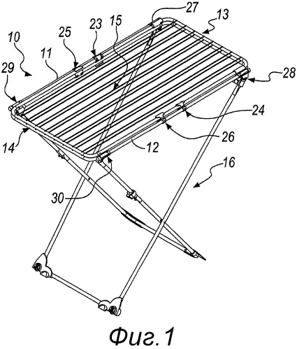
фиг.1 представляет собой вид в перспективе вешалки для сушки белья согласно настоящему изобретению, в первой конфигурации использования;

фиг.2 представляет собой вид в перспективе вешалки для сушки белья согласно настоящему изобретению, во второй конфигурации использования;

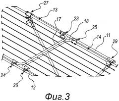
фиг.3 представляет собой вид в перспективе элемента из двух взаимно противоположных решеток вешалки для сушки белья согласно настоящему изобретению;

фиг.4 изображает узел направляющих элементов вешалки согласно настоящему изобретению;

фиг.5 и 6 представляют собой виды в разрезе соответствующих элементов для направления вешалки согласно настоящему изобретению.

Со ссылкой на чертежи вешалка для сушки белья согласно настоящему изобретению, в целом, обозначена ссылочной позицией 10;

фиг.7 и 8 изображают дополнительные элементы для направления вешалки согласно настоящему изобретению.

Вешалка 10 для сушки белья является вешалкой такого типа, который содержит два продольных элемента 11 и 12 для поддержания двух взаимно противоположных решеток 13 и 14, которые могут перемещаться относительно друг друга с помощью взаимно скользящих средств между первой конфигурацией по существу наложения с образованием одной центральной решетки 15 для навешивания, как показано на фиг.1, и второй конфигурацией полного удлинения, как показано на фиг.2, при этом обе решетки полностью доступны для навешивания.

Продольные элементы связаны с опорным средством 16 для улучшенной вешалки 10 для сушки белья, при этом в качестве опорного средства следует понимать средство известного типа, такое как, например, складные ножки шарнирного ножничного типа или другие, подобные решения.

Особенность вешалки 10 состоит в том, что каждая из двух решеток 13 и 14 ограничена трубчатой рамой 17 и 18, соответственно, прямоугольной, в частности, которая поддерживает множество стержнеобразных компонентов или компонентов наподобие проволоки для развешивания белья.

Боковые участки 19, 20, 21, 22, соответственно, трубчатых рам 17, 18 выполнены с возможностью скольжения по соответствующим направляющим элементам 23, 24, 25, 26, 27, 28, 29, 30, лучше описанных в дальнейшем в этом документе, которые связаны с продольными элементами 11, 12.

Направляющие элементы 23, 24, 25, 26, 27, 28, 29, 30 определяют две направляющие муфты для каждого бокового участка 19, 20, 21 и 22 решетки, как может быть ясно видно на фиг.3.

В варианте осуществления настоящего изобретения, описанного в данном документе, который предназначен для рассмотрения в качестве неограничивающего примера настоящего изобретения, направляющие элементы 23, 24, 25, 26, 27, 28, 29, 30 содержат четыре центральных направляющих элемента 23, 24, 25, 26, которые фиксированы в центральных областях продольных элементов 11, 12, и четыре концевых направляющих элемента 27, 28, 29, 30, которые фиксированы к концам продольных элемент 11, 12.

В частности, каждый из направляющих элементов содержит, как может быть видно, например, на фиг.4, 5 и 6 для направляющих элементов 23 и 25, первый участок 31 или 32 с частями, которые определяют взаимно противоположные захватные приспособления, для фиксации к продольному элементу 11, второй участок 33 или 34, по существу трубчатый, направляющей для первого бокового участка, например 20 или 22, как на вышеупомянутых чертежах, рамы 17 или 18 первой 13 или второй решетки 14, и третий скользящий участок 35 или 36 для бокового участка рамы другой решетки.

Предпочтительно и целесообразно, что первый участок 31 или 32, второй участок 33 или 34 и третий участок 35 или 36 направляющих элементов 23 и 25 размещены монолитно за счет формования пластикового материала.

Для центральных направляющих элементов 23, 24, 25 и 26 и для двух из концевых направляющих элементов, обозначенных на фиг.1 и 8 ссылочными позициями 27 и 28, второй участок 33 или 34 имеет по существу С-образное сечение, от концов которого продолжаются соответствующие захватообразные части 37 и 38, причем эти последние части выполнены с возможностью определения первого участка 31 или 32 и собственного размещения таким образом, чтобы частично окружать на противоположных сторонах соответствующие продольные элементы 11 или 12.

Третий участок 35 или 36 и 39 для концевого направляющего элемента 27 и 28, образован с помощью лапки, продолжающейся от одной из захватообразных частей 37 и 38, или для концевого направляющего элемента 27 и 28, от выступающей части 40 для поворота опорного средства 16 с возможностью определения, посредством размещения выше или размещением ниже внешней поверхности соответствующего второго участка, скользящей области для бокового участка рамы решетки.

Концевые направляющие элементы 27, 28, 29 и 30, все, снабжены выступающей частью 40, которая продолжается вниз в конфигурации для использования вешалки для сушки белья, и выполнена с возможностью поворота напольных опорных ножек.

Для конкретного варианта осуществления настоящего изобретения, пример которого приведен выше, показано, как может быть ясно видно из чертежей, что центральные направляющие элементы 23, 24, 25 и 26 являются идентичными друг другу, с первыми центральными направляющими элементами 23 и 24, смонтированными со вторым трубчатым участком, направленным вверх, для того, чтобы направлять первую решетку 13, при этом вторые два идентичных центральных направляющих элемента 25 и 26 смонтированы со вторым трубчатым участком, направленным вниз, для того, чтобы направлять вторую решетку 14 для осуществления поступательного движения по конструкции параллельной и размещенной ниже конструкции первой решетки 13.

Первые концевые направляющие элементы 27 и 28 имеют второй трубчатый участок, размещенный в зоне, направленной вверх, и взаимодействуют с первыми центральными направляющими элементами 23 и 24 при поступательном движении первой решетки 13, при этом вторые концевые направляющие элементы 29 и 30 имеют, как показано на фиг.7, второй трубчатый участок, размещенный в зоне, направленной вниз, и взаимодействуют со вторыми центральными направляющими элементами 25 и 26 при поступательном движении второй решетки 14.

Углубления 41 и 42 для упора определены на направляющих элементах для соответствующих выступов 43 ограничения хода, см., например, фиг.4, которые выступают радиально от соответствующих боковых участков рам решеток.

В различных вариантах осуществления настоящего изобретения, не показанных для простоты, направляющие элементы выполнены, для каждого бокового участка рамы решетки, с помощью одной муфты, которая продолжается с возможностью воздействия на продольный элемент, с которым она связана между центральной зоной и концом того же самого продольного элемента.

В этом случае имеется один направляющий элемент для каждой из двух противоположных сторон скольжения решетки, для совокупности из четырех направляющих элементов в целом.

Такая одна муфта может быть выполнена в виде части продольного элемента, т.е. продольный элемент и направляющий элемент могут быть выполнены монолитно, например, посредством формования пластикового материала.

На практике выяснилось, что настоящее изобретение полностью достигает цели и задачи изобретения.

По существу, с помощью настоящего изобретения обеспечивается вешалка для сушки белья, которая благодаря решеткам, каждая из которых содержит раму в виде цельного узла, состоящего из трубчатых элементов, и благодаря направляющим элементам, которые могут быть легко и недорого выполнены посредством литого пластикового материала, которая является более быстрой и менее дорогостоящей при сборке в отношении вешалки для сушки белья, раскрытой в вышеприведенной заявке на патент.

Кроме того, вешалка для сушки белья согласно настоящему изобретению обеспечивает две решетки, допускающие дублирование функциональной возможности центральной решетки, которая определена посредством наложения двух решеток, как в вышеприведенной заявке на патент.

Кроме того, с помощью настоящего изобретения обеспечена вешалка для сушки белья, которая является легкой в использовании, так же как и обычные вешалки для сушки белья.

Естественно, вешалка для сушки белья согласно настоящему изобретению может быть легко сложена в неактивную конфигурацию, так же как и обычные вешалки для сушки белья.

Последнее, но не менее важное, состоит в том, что с помощью настоящего изобретения обеспечивается вешалка для сушки белья, которая конструктивно может быть выполнена с низкой себестоимостью, с помощью обычных технологий и систем.

Таким образом, настоящее изобретение допускает множество модификаций и изменений, все из которых находятся в рамках объема приложенной формулы изобретения. Кроме того, все детали могут быть заменены другими элементами, эквивалентными с технической точки зрения.

На практике, используемые материалы, а также возможные размеры и формы могут быть любыми в соответствии с требованиями и уровнем техники.

1. Вешалка (10) для сушки белья, содержащая два продольных элемента (11, 12) для поддержания двух взаимно противоположных решеток (13, 14), которые могут перемещаться друг относительно друга между первой конфигурацией по существу наложения с образованием одной центральной решетки (15) для навешивания и второй конфигурацией полного удлинения, когда обе решетки полностью доступны для навешивания, опорное средство (16) для вешалки (10) для сушки белья, которое связано с продольными элементами, отличающаяся тем, что каждая из двух решеток (13, 14) образована прямоугольной трубчатой рамой (17, 18), которая поддерживает множество стержнеобразных компонентов или компонентов наподобие проволоки для развешивания белья, при этом боковые участки (19, 20, 21, 22) упомянутых трубчатых рам (17, 18) выполнены с возможностью скольжения по соответствующим направляющим элементам (23, 24, 25, 26, 27, 28, 29, 30), которые связаны с упомянутыми продольными элементами (11, 12).

2. Вешалка по п.1, отличающаяся тем, что упомянутые направляющие элементы (23, 24, 25, 26, 27, 28, 29, 30) содержат, по меньшей мере, одну скользящую муфту для каждого бокового участка решетки.

3. Вешалка по п.1, отличающаяся тем, что упомянутые направляющие элементы (23, 24, 25, 26, 27, 28, 29, 30) содержат две скользящие муфты для каждого бокового участка решетки.

4. Вешалка по п.1, отличающаяся тем, что упомянутые направляющие элементы (23, 24, 25, 26, 27, 28, 29, 30) содержат четыре центральных направляющих элемента (23, 24, 25, 26), которые закреплены в центральных областях продольных элементов (11, 12), и четыре концевых направляющих элемента (27, 28, 29, 30), которые прикреплены к концам упомянутых продольных элементов (11, 12).

5. Вешалка по п.1, отличающаяся тем, что упомянутые направляющие элементы содержат первый участок (31, 32) с частями, которые образуют взаимно противоположные захваты для прикрепления к продольному элементу (11), второй, по существу трубчатый, направляющий участок (33, 34) для первого бокового участка (20, 22) рамы (17, 18) первой (13) или второй решетки (14), и третий скользящий участок (35) или (36) для второго бокового участка рамы второй решетки.

6. Вешалка по пп.4 и 5, отличающаяся тем, что упомянутый первый (31, 32), второй (33, 34) и третий (35, 36) участки упомянутых направляющих элементов выполнены как одно целое посредством формования пластикового материала.

7. Вешалка по п.4, отличающаяся тем, что для упомянутых центральных направляющих элементов (23, 24, 25, 26) и, по меньшей мере, для двух из упомянутых концевых направляющих элементов (27, 28) упомянутый второй участок (33, 34) имеет по существу С-образное сечение, от концов которого проходят захватообразные части (37, 38), которые образуют первый участок (31, 32) и размещаются таким образом, чтобы частично окружать на противоположных сторонах соответствующий продольный элемент (11, 12), при этом третий участок (35, 36, 39) образован лапкой, выступающей из одной из захватообразных частей (37, 38) таким образом, чтобы с помощью лежащей сверху или снизу наружной поверхности второго участка образовать область скольжения для бокового участка рамы решетки.

8. Вешалка по п.4, отличающаяся тем, что упомянутые концевые направляющие элементы имеют выступающую часть (40) для поворота опорных элементов (16).

9. Вешалка по п.1 или 2, отличающаяся тем, что для каждого бокового участка рамы решетки упомянутые направляющие элементы образованы одной муфтой, которая проходит таким образом, чтобы воздействовать на продольный элемент, с которыми она связана, между центральной областью и концом продольного элемента.

10. Вешалка по п.9, отличающаяся тем, что упомянутая одна муфта является частью того же самого продольного элемента.