Снабженный юбкой фундамент для внедрения в мягкий материал

Иллюстрации

Показать все

Группа изобретений относится к самоподъемным буровым платформам вообще и к фундаменту, который может применяться для самоподъемной буровой платформы, в частности. Снабженный юбкой фундамент 10, предназначенный для установки на морское дно с достаточно мягким материалом над пластом основания, содержит башмачную опору 12, имеющую верхнюю часть и подошву 16, и юбку 20, имеющую верхний край, который связан как неотъемлемая часть с башмачной опорой 12 и выступает вниз, окружая подошву 16, и нижний край 25 для внедрения в морское дно. Верхняя часть и подошва 16 соединены по периметру и образуют внешнюю кромку 14, причем и верхняя часть, и подошва 16 имеют плоскую или коническую конфигурацию. На верхнюю часть установлена одна опора 40 самоподъемной буровой платформы. Подошва 16 имеет плоское основание или нисходящий уклон. Юбка 20 содержит множество окружных отверстий 22, примыкающих к подошве 16 башмачной опоры 12 и расположенных в пределах верхней половины высоты юбки 20. Конфигурация отверстий 22 обеспечивает выход мягкого материала из внутреннего пространства, определяемого юбкой 20 и подошвой 16, при погружении фундамента 10 в морское дно, при этом мягкий материал не захватывается внутрь снабженного юбкой фундамента 10. Снабженный юбкой фундамент 10 выполнен с возможностью внедрения в пласт основания на эффективную глубину. Самоподъемная буровая платформа содержит рабочую платформу, множество опор 40 и множество снабженных юбкой фундаментов 10, приведенных выше. Каждая опора 40 имеет два конца, один из которых соединен с рабочей платформой для обеспечения опоры, а другой - с одним снабженным юбкой фундаментом 10 таким образом, что снабженные юбкой фундаменты 10 обеспечивают фиксацию и поддержку самоподъемной буровой платформы. Способ установки снабженного юбкой фундамента 10, предназначенного для установки на морское дно с достаточно мягким материалом над пластом основания, содержит спуск фундамента в мягкий материал на морском дне и упрощение выхода мягкого материала из внутреннего пространства, определяемого юбкой 20 и подошвой 16, через множество окружных отверстий 22, таким образом повышение несущей способности фундамента. Группа изобретений обеспечивает повышение несущей способности самоподъемной буровой платформы и снабженного юбкой фундамента. 3 н. и 22 з.п. ф-лы, 3 ил.

Реферат

Область техники, к которой относится изобретение

Изобретение относится к самоподъемным буровым платформам вообще и к фундаменту, пригодному для самоподъемной буровой платформы, в частности.

Уровень техники

Самоподъемная буровая платформа представляет собой буровую конструкцию для морской добычи нефти и газа или платформу капитального ремонта скважин, применяемую на мелководье, обычно при глубинах до 152,4 м. Самоподъемная буровая платформа обычно содержит плавучий корпус с палубой или рабочей платформой и тремя или четырьмя опорами, при этом опоры обеспечивают поддержку плавучего корпуса в поднятом состоянии. После прибытия самоподъемной буровой платформы в требуемую точку производится выдвижение опор до соприкосновения с морским дном и их установка на грунт морского дна; после чего может осуществляться подъем корпуса при помощи подъемной системы для поднятия рабочей платформы над водой с целью обеспечения безопасного функционирования самоподъемной буровой платформы на открытой воде при наличии движения воды.

Опоры самоподъемной буровой платформы обычно представляют собой трубчатые колонны или фермы, при этом каждая ферма содержит вертикальные пояса, связанные поперечными раскосами, которые обычно располагаются по диагонали. Опоры обычно завершаются в фундаменте самоподъемной платформы, который опирается на морское дно. Фундамент увеличивает площадь опоры для обеспечения требуемой допустимой несущей способности и снижения давления на грунт морского дна. В результате уменьшается глубина проникновения опор, необходимая для поддержания самоподъемной буровой платформы фундаментом, что обеспечивает функционирование самоподъемной буровой платформы на большем числе участков и при большем числе типов грунтов при имеющейся длине опоры.

Современные самоподъемные буровые платформы, как правило, оборудуются индивидуальными башмачными опорами, которые связаны с каждой опорой самоподъемной буровой платформы. За счет этого обеспечивается установка самоподъемной буровой платформы на неровном морском дне или на уклонах, или в случаях, когда требуется независимая регулировка высоты каждой опоры относительно других опор. Башмак обычно имеет форму головки, имеющей, по существу, коническую верхнюю половину, соединенную с опорой, и, по существу, коническую нижнюю половину или подошву для контакта с морским дном. Коническая подошва способствует обеспечению гарантированного внедрения в морское дно, даже в твердых грунтах, для обеспечения закрепления опор на морском дне.

Поскольку башмачная опора может быть установлена с малым внедрением, что, как правило, имеет место в случае песчаного или очень жесткого морского дна, обычной является ситуация, при которой получаемая горизонтальная несущая способность самоподъемной буровой платформы относительно мала по сравнению с ожидаемой горизонтальной нагрузкой. В таких ситуациях для обеспечения большего внедрения опоры в пласт основания, как правило, применяют основания, снабженные юбкой, или основания кессонного типа. Юбка или кессон эффективно формируют вертикальное кольцо или трубку, которая отгораживает основание от окружающего морского дна. Если собственный вес недостаточен для обеспечения полного внедрения юбки, обычно применяют всасывание в пределах внутренней юбки для создания пониженного давления, за счет чего обеспечивается дальнейшее внедрение юбки до проектной глубины.

В большинстве случаев общее поведение снабженного юбкой фундамента часто правомерно рассматривать как поведение внедренного блока сплошного фундамента, основание которого установлено на той же глубине, что и край юбки. Юбка не только повышает горизонтальную несущую способность, но также увеличивает общую несущую способность фундаментов мелкого заложения за счет передачи нагрузки на большую глубину через массу почвы, заключенную в пределах юбки. Юбка обычно позволяет повысить несущую способность в вертикальном и горизонтальном направлениях, а также при воздействии моментов.

Однако полное использование преимуществ юбочных или кессонных фундаментов может быть затруднено в случае наличия мягкого материала существенной толщины над пластом основания. Хотя очень мягкий материал может иметь большую толщину, и суммарное внедрение башмачной опоры может быть относительно велико, горизонтальная несущая способность по-прежнему в основном зависит от действительного внедрения фундамента в пласт основания. После установки фундамента мягкий материал, захваченный внутренней частью юбки и зажатый между основанием фундамента и пластом основания, может со временем уплотниться под действием эксплуатационной нагрузки или вызвать существенную дополнительную осадку после приложения расчетной нагрузки. Кроме того, захваченный мягкий материал может ограничивать внедрение юбки, что, в свою очередь, приводит к существенному снижению внедрения юбки в пласт основания по сравнению с расчетным внедрением.

Таким образом, для обеспечения эффективности снабженного юбкой фундамента в условиях подобного грунта удаление захваченного мягкого материала из внутреннего объема кессона является критически важным и представляет собой сложную задачу, особенно для морских установок. Некоторые всасывающие насосы или эдукторные системы могут обеспечить высасывание мягкого материала (до определенных величин сопротивления сдвигу и плотностей) из внутреннего объема кессона. Однако при помощи подобных средств трудно обеспечить эффективное удаление мягкого материала, особенно когда им занята большая площадь под фундаментом и требуется удаление большого объема грунта.

Одним из альтернативных решений по удалению мягкого материала является проведение работ по подготовке грунта, таких как выемка грунта перед установкой основания. Однако подводная выемка грунта в мягком морском дне часто затруднена, а иногда и не осуществима, особенно в случае существенной толщины мягкого материала. Для предотвращения обрушения окружающего грунта обратно в зону выемки грунта могут потребоваться дополнительные средства, такие как установка шпунтовых свай. С другой стороны, технология повышения качества грунта может оказаться практически не осуществимой или не достаточно пригодной для получения требуемого уплотнения грунта. Кроме того, при использовании подобных способов во внимание может приниматься потенциальная опасность загрязнения окружающей среды.

При таком состоянии грунта для обеспечения требуемой несущей способности возможна разработка свайного фундамента или систем, в которых свайный фундамент сочетается с фундаментом мелкого заложения. Однако при необходимости получения мобильной фундаментной системы, как в случае самоподъемных буровых платформ, применение свай или включающих их конструкций не является предпочтительным из-за сложности извлечения свайного фундамента.

Раскрытие изобретения

Одним объектом изобретения является снабженный юбкой фундамент. В одном варианте осуществления изобретения снабженный юбкой фундамент содержит башмачную опору, имеющую верхнюю часть и подошву, при этом верхняя часть и подошва связаны по периметру и образуют внешнюю кромку, причем верхняя часть и подошва имеют плоскую или коническую конфигурацию, при этом на верхнюю часть установлена опора самоподъемной буровой платформы, а подошва имеет плоское основание или нисходящий уклон; и юбку, которая имеет верхний край, связанный как неотъемлемая часть с башмачной опорой и выступающий вниз, окружая подошву, и нижний край для внедрения в морское дно, при этом юбка содержит множество окружных отверстий, примыкающих к подошве башмачной опоры и расположенных в пределах верхней половины высоты юбки, причем конфигурация отверстий обеспечивает выход грунта из внутреннего пространства, определяемого юбкой и подошвой при погружении фундамента в морское дно.

В другом варианте осуществления снабженного юбкой фундамента в центре подошвы имеется наконечник или конус большой крутизны для упрощения внедрения в морское дно.

В другом варианте осуществления снабженного юбкой фундамента юбка содержит множество разнесенных и вертикально расположенных балок; при этом между вертикально расположенными балками могут иметься одно или несколько отверстий.

В другом варианте осуществления снабженного юбкой фундамента отверстия имеют конфигурацию, обеспечивающую возможность их закрытия при помощи средства перекрытия. В еще одном варианте осуществления снабженного юбкой фундамента средством перекрытия отверстий является втулка, при этом втулка выполнена на внешней кромке для перекрытия отверстий. В другом варианте осуществления снабженного юбкой фундамента втулка управляется системой фиксирующих штифтов; за счет этого при эксплуатации втулка удерживается в положении, гарантирующем, что отверстия остаются открытыми для выхода через них мягкого материала, а после достижения фундаментом требуемой глубины система фиксирующих штифтов может размыкаться, освобождая втулку для спуска последней под действием ее собственного веса или при помощи механического средства для перекрытия отверстий.

Другой вариант осуществления снабженного юбкой фундамента дополнительно содержит множество подмывных сопел подошвы, расположенных под подошвой башмачной опоры, при этом подмывные сопла подошвы предпочтительно распределены равномерно и установлены таким образом, что сопла направлены параллельно плоскому основанию или нисходящему уклону подошвы.

Другой вариант осуществления снабженного юбкой фундамента дополнительно содержит внутренние кронштейны для повышения жесткости соединения между юбкой и подошвой. В еще одном варианте осуществления снабженного юбкой фундамента внутренние кронштейны представляют собой множество радиальных панелей, соединяющих юбку и подошву, при этом множество радиальных панелей предпочтительно равномерно распределено по периметру юбки и за счет этого разделяет внутреннее пространство, определяемое юбкой и подошвой, на множество радиальных отсеков.

Другой вариант осуществления снабженного юбкой фундамента дополнительно содержит множество концевых подмывных сопел юбки, расположенных по периметру нижнего края юбки; таким образом, что подмыв, создаваемый концевыми подмывными соплами юбки, может использоваться для разрыхления прилегающего грунта и, следовательно, уменьшения сопротивления грунта дальнейшему внедрению.

Другой вариант осуществления снабженного юбкой фундамента дополнительно содержит мембрану, прикрепленную на внешней, или на внутренней, или на обеих сторонах юбки для упрощения полного внедрения юбки в пласт основания, при этом мембрана соединена со специальной напорной магистралью и выполняет функцию контактной поверхности для приложения к грунту положительного или отрицательного избыточного давления по отношению к гидростатическому давлению окружающей среды.

Другим объектом изобретения является самоподъемная буровая платформа, содержащая рабочую платформу, множество опор и множество снабженных юбкой фундаментов, при этом каждая опора имеет два края, причем один край скреплен с рабочей платформой и служит для нее опорой, а другой край скреплен с одним снабженным юбкой фундаментом таким образом, что снабженный юбкой фундамент обеспечивает фиксацию и служит опорой для самоподъемной буровой платформы; при этом снабженный юбкой фундамент содержит башмачную опору, имеющую верхнюю часть и подошву, причем верхняя часть и подошва скреплены по периметру и образуют внешнюю кромку, при этом верхняя часть и подошва имеют плоскую или коническую конфигурацию, причем верхняя часть поддерживает одну опору самоподъемной буровой платформы, а подошва имеет плоское основание или нисходящий уклон; и юбку, имеющую верхний край, связанный как неотъемлемая часть с башмачной опорой и выступающий в направлении вниз, окружая подошву, и нижний край для внедрения в морское дно, при этом юбка имеет окружные отверстия, примыкающие к подошве башмачной опоры и расположенные в пределах верхней половины высоты юбки, при этом отверстия имеют такую конфигурацию, которая обеспечивает выход грунта из внутреннего объема, определяемого юбкой и подошвой, при погружении фундамента в морское дно.

В другом варианте осуществления самоподъемной буровой платформы в центре подошвы имеется наконечник или конус с большой крутизной для упрощения внедрения в морское дно.

В другом варианте осуществления самоподъемной буровой платформы юбка содержит множество разнесенных и вертикально расположенных балок; при этом между вертикально расположенными балками могут иметься одно или несколько отверстий.

Другой вариант осуществления самоподъемной буровой платформы дополнительно содержит множество подмывных сопел подошвы, расположенных ниже подошвы башмачной опоры, при этом подмывные сопла подошвы предпочтительно распределены равномерно и установлены таким образом, что сопла направлены параллельно плоскому основанию или нисходящему уклону подошвы.

Другой вариант осуществления самоподъемной буровой платформы дополнительно содержит внутренние кронштейны для повышения жесткости соединения между юбкой и подошвой. В еще одном варианте осуществления самоподъемной буровой платформы внутренние кронштейны представляют собой множество радиальных панелей, соединяющих юбку и подошву, при этом множество радиальных панелей предпочтительно равномерно распределено по периметру юбки и за счет этого разделяет внутреннее пространство, определяемое юбкой и подошвой, на множество радиальных отсеков.

Другой вариант осуществления самоподъемной буровой платформы дополнительно содержит множество концевых подмывных сопел юбки, расположенных по периметру нижнего края юбки; таким образом, что подмыв, создаваемый концевыми подмывными соплами юбки, может использоваться для разрыхления прилегающего грунта и, следовательно, уменьшения сопротивления грунта дальнейшему внедрению.

Другой вариант осуществления самоподъемной буровой платформы дополнительно содержит мембрану, прикрепленную на внешней, или на внутренней, или на обеих сторонах юбки для упрощения полного внедрения юбки в пласт основания, при этом мембрана соединена со специальной напорной магистралью и выполняет функцию контактной поверхности для приложения к грунту положительного или отрицательного избыточного давления по отношению к гидростатическому давлению окружающей среды.

Другим объектом изобретения является способ установки снабженного юбкой фундамента, содержащего башмачную опору, имеющую верхнюю часть и подошву, при этом верхняя часть и подошва связаны по периметру и образуют внешнюю кромку, причем верхняя часть и подошва имеют плоскую или коническую конфигурацию, при этом на верхнюю часть установлена опора самоподъемной буровой платформы, а подошва имеет плоское основание или нисходящий уклон; и юбку, которая имеет верхний край, связанный как неотъемлемая часть с башмачной опорой, выступающий вниз и окружающий подошву, и нижний край для внедрения в морское дно, при этом юбка имеет множество окружных отверстий, примыкающих к подошве башмачной опоры и расположенных в пределах верхней половины высоты юбки, причем конфигурация отверстий обеспечивает выход грунта из внутреннего пространства, определяемого юбкой и подошвой, при погружении фундамента в морское дно; при этом способ содержит спуск фундамента в мягкий материал на морском дне; и упрощение выхода мягкого материала из внутреннего пространства, определяемого юбкой и подошвой, через отверстие; за счет чего повышается несущая способность фундамента.

Задачи и преимущества изобретения станут понятны из нижеследующего подробного описания предпочтительных вариантов его осуществления в сочетании с прилагаемыми чертежами.

Краткое описание чертежей

Далее приводится описание предпочтительных вариантов осуществления изобретения со ссылками на чертежи, на которых для аналогичных элементов используются аналогичные ссылочные позиции.

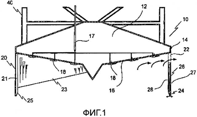
На фиг.1 показан схематический вид в сечении примера фундамента в соответствии с одним вариантом осуществления изобретения;

на фиг.2 - различные этапы установки примера фундамента, показанного на фиг.1;

на фиг.3 - вид в изометрии с местным разрезом примера фундамента в соответствии с одним вариантом осуществления изобретения.

Осуществление изобретения

Изобретение станет более понятным из нижеследующего подробного описания некоторых вариантов его осуществления.

Во всем тексте данной заявки в случае наличия ссылок на опубликованные документы содержимое данных опубликованных документов полностью включается в данную заявку по ссылке для более полного описания известного уровня техники, к которому относится изобретение.

В изобретении разработан снабженный юбкой фундамент, который применяется, например, для самоподъемной буровой платформы, для которой снабженный юбкой фундамент обеспечивает внедрение в мягкий материал. Кратко говоря, конфигурация снабженного юбкой фундамента обеспечивает эффективное удаление мягкого материала, захваченного внутренним объемом юбки.

Обратимся теперь к фиг.1, на которой показан схематический вид в сечении примера фундамента в соответствии с одним вариантом осуществления изобретения. Как показано на фиг.1, фундамент 10 содержит башмачную опору 12 и юбку 20, связанную как неотъемлемая часть с башмачной опорой 12 и выступающую в направлении вниз. Башмачная опора 12 содержит верхнюю часть и подошву 16, при этом верхняя часть и подошва 16 соединены по периметру и образуют внешнюю кромку 14, причем верхняя часть и подошва 16 имеют коническую конфигурацию. Верхняя часть поддерживает одну опору 40 самоподъемной буровой платформы, а подошва 16 имеет нисходящий уклон. Следует отметить, что и верхняя часть и подошва могут иметь другие конфигурации, например подошва может иметь плоскую конфигурацию с плоским основанием. В центре подошвы 16 имеется наконечник или более острый конус для облегчения внедрения в морское дно. У юбки 20 имеется верхний край, связанный как неотъемлемая часть с башмачной опорой 12, например, на внешней кромке 14 и окружающий подошву 16, и нижний край 25 для внедрения в морское дно. Участок скрепления башмачной опоры 12 и юбки 20 не ограничен внешней кромкой, хотя предпочтительным вариантом является скрепление по внешней кромке, поскольку при этом обеспечивается окружение юбкой большего внутреннего пространства. Юбка 20 содержит множество периферических отверстий 22, примыкающих к подошве 16 башмачной опоры 12 и расположенных в пределах верхней части высоты юбки. Отверстие 22 должно находится рядом с подошвой 16. Если расстояние между подошвой 16 и отверстиями 22 будет слишком велико, то возможно застревание и накопление мягкого грунта между ними. После установки, в случае захвата существенного количества мягкого грунта между подошвой 16 и пластом основания, мягкий грунт снижает несущую способность, а его уплотнение во время эксплуатационного периода вызывает осадку башмачной опоры. Верхний край отверстий 22 в идеальном случае расположен в районе подошвы 16. Из-за структурных конструктивных соображений может потребоваться наличие некоторого промежутка между подошвой 16 и верхним краем отверстий. В то время как отверстия 22 предпочтительно расположены в пределах верхней части высоты юбки, нижний край отверстий 22 может быть продлен в нижнюю половину высоты юбки. В некоторых вариантах осуществления изобретения юбка 20 содержит множество разнесенных и вертикально распределенных балок 21; при этом между вертикально распределенными балками 21 могут иметься одно или несколько отверстий 22. Отверстия 22 имеют конфигурацию, обеспечивающую выход грунта из внутреннего пространства, определенного юбкой 20 и подошвой 16, в процессе проникновения фундамента 10 в морское дно. Коническая конфигурация подошвы 16 обеспечивает оптимизацию потока грунта в направлении отверстий 22.

В некоторых вариантах осуществления изобретения конфигурация отверстий 22 обеспечивает возможность их перекрытия. Например, у внешней кромки 14 устанавливают специальную втулку для перекрытия отверстий 22. Втулка может быть установлена параллельная юбке 20. Во время внедрения втулка может удерживаться от перемещения системой штифтовой фиксации таким образом, чтобы отверстия 22 оставались открытыми для выхода через них мягкого материала. После достижения фундаментом 10 заданной глубины система штифтовой фиксации отпирается, освобождая втулку и позволяя ей опуститься под действием собственного веса или под действием механического средства и перекрыть отверстия 22. Возможна установка упора на возвышении под отверстиями 22 для управления конечным положением втулки при перекрытии отверстий 22. Перекрытие отверстий 22 позволяет заменить пустоты или мягкий материал между подошвой 16 и пластом 34 основания высокоплотным заполняющим материалом 38.

Фундамент 10 дополнительно содержит множество подмывных сопел 18 подошвы, расположенных под подошвой 16 башмачной опоры 12, к которым подходят одна или множество питающих напорных магистралей 17. Подмывные сопла 18 подошвы предпочтительно равномерно распределены и установлены таким образом, что сопла параллельны нисходящему уклону подошвы 16. Подмыв, создаваемый подмывными соплами 18 подошвы, способствует выходу грунта наружу в радиальном направлении из отверстия 22 на начальном этапе установки фундамента 10 на морское дно 30, а также при дальнейшем внедрении после соприкосновения подошвы 16 фундамента с пластом 34 основания морского дна 30. Подмывная магистраль, образуемая подмывными соплами 18 подошвы, может также применяться для впрыска высокоплотного заполняющего материала 38 или жидкого строительного раствора для замены мягкого материала или заполнения пустот между подошвой 16 и пластом 34 основания после достижения фундаментом требуемой глубины.

Фундамент 10 дополнительно содержит внутренние кронштейны для повышения жесткости соединения юбки 20 с подошвой 16. В одном варианте осуществления изобретения внутренние кронштейны представляют собой множество радиальных панелей 23, соединяющих юбку 20 и подошву 16, при этом множество радиальных панелей 23 предпочтительно равномерно распределены по периметру юбки 20 и за счет этого разделяют внутреннее пространство, определяемое юбкой 20 и подошвой 26 башмака на множество радиальных отсеков. За счет подобного разделения на отсеки достигается оптимальное приложение давления подмыва, создаваемого подмывными соплами 18 подошвы, для перемещения грунта в направлении расположенных по периметру отверстий 22.

Фундамент 10 дополнительно содержит множество концевых подмывных сопел 24 юбки, расположенных по периметру нижнего края 25 юбки 20. Подмыв, создаваемый концевыми подмывными соплами 24 юбки, может использоваться для разрыхления прилегающего грунта и, следовательно, уменьшения сопротивления грунта дальнейшему внедрению.

Фундамент 10 дополнительно содержит фильтр или мембрану 26, прикрепленную на внешней стороне 27, или внутренней стороне 28, или на обеих сторонах 27, 28 юбки 20, для облегчения полного внедрения юбки 20 в пласт основания. Будучи соединенной со специальной напорной магистралью, мембрана 26 выполняет функцию контактной поверхности для приложения к грунту положительного или отрицательного избыточного давления относительно внешнего гидростатического давления. При внедрении юбки в пласт основания возможно создание избыточного давления для снижения действительного напряжения грунта и, следовательно, снижения сопротивления грунта. При необходимости после установки также возможно приложение всасывающего давления через мембрану 26 для предварительного уплотнения грунта основания с целью увеличения его жесткости.

На фиг.3 показан вид в изометрии с местным разрезом снабженного юбкой фундамента в соответствии с одним вариантом осуществления изобретения.

На фиг.2 проиллюстрированы различные этапы установки фундамента 10. При установке снабженный юбкой фундамент 10 сначала внедряется в грунт 30 под действием силы тяжести, то есть под действием собственного веса корпуса самоподъемной буровой платформы, приложенного через отдельные опоры.

Этап 1. По мере продвижения фундамента 10 вниз в грунт 30 через мягкий слой 32 грунта, как показано на фиг.2(a), мягкий материал 33 в пределах периметра юбки 20 сжимается и выходит наружу в радиальном направлении, выталкиваясь через отверстия 22 верхней части юбки 20. Действие струй подмывных сопел 18 подошвы в районе подошвы 16 башмака, размягчает поток мягкого грунта 33 и упрощает его выход через отверстия 22.

Этап 2. После касания нижним краем 25 юбки слоя 34 основания грунта 30 дальнейшее погружение фундамента 10 вызывает сжатие мягкого материала 33 внутри юбки 20, дополнительно выталкивая мягкий материал 33 через отверстие 22. Смещение мягкого материала 33 внутри юбки 20 позволяет нижнему краю 25 продвигаться дальше в слой 34 основания под действием приложенной нагрузки, как показано на фиг.2(b).

Этап 3. В случае возникновения сопротивления возможно создание избыточного давления на контактных поверхностях 27, 28 юбки через мембрану 26, как показано на фиг.2(c). Целью приложения давления является снижение действительного напряжения грунта. Подобное снижение эффективного напряжения и, следовательно, фрикционного сопротивления юбки обеспечивается дальнейшее внедрение нижнего края 25 юбки в пласт 34 основания.

Этап. 4. При необходимости возможно создание подмывного давления через концевые подмывные сопла 24 в районе нижнего края 25 для разрыхления прилегающего грунта и снижения сопротивления грунта до тех пор, пока нижний край 25 не достигнет требуемой глубины внедрения, как показано на фиг.2(d).

Этап 5. При необходимости отверстия 22 могут перекрываться механическими средствами, такими как втулка, описанная выше, для повышения изоляции грунта 35 внутри юбки 20, как показано на фиг.2(e). Это делается для упрощения замены мягкого материала или заполнения пустот 36 на стыке между подошвой 16 башмака 12 и грунтом 34, как описано ниже.

Этап 6. Зазоры 36 между подошвой 16 фундамента, и пластом 34 основания могут заполняться высокоплотным наполнительным материалом 38, таким как песок, барит, жидкий строительный раствор и т.д., как показано на фиг.2(f). Для этой цели может использоваться подмывная магистраль подмывных сопел 18 подошвы в районе подошвы 16 фундамента или устанавливаться специальная магистраль подачи наполнителя (не показанная на чертежах). За счет заполнения зазора 38 обеспечивается более высокая жесткость фундамента, особенно при воздействии вращательных нагрузок.

Удаление мягкого материала под подошвой 16 фундамента через отверстия 22, выполненные в юбке 20, таким образом, гарантирует внедрение юбки в слой основания 34. Помимо увеличения эффективной несущей способности и жесткости фундамента, за счет этого сводится к минимуму осадка из-за уплотнения или сжатия любого мягкого материала при воздействии расчетной нагрузки, что также важно. Выполнение отверстий 22 в юбке 20 также исключает потребность в использовании специальных насосов или выполнении работ по подготовке грунта, что может оказаться не осуществимым или не эффективным в некоторых ситуациях или при определенном состоянии грунта.

Другим объектом изобретения является самоподъемная буровая платформа, содержащая рабочую платформу, множество опор и множество снабженных юбкой фундаментов, при этом у каждой опоры есть два края, один край, соединенный с рабочей платформой для обеспечения опоры, и другой край, скрепленный с одним снабженным юбкой фундаментом таким образом, что снабженные юбкой фундаменты обеспечивают фиксацию и опору для самоподъемной буровой платформы. Снабженные юбкой фундаменты были описаны выше. Самоподъемная буровая платформа по изобретению имеет увеличенную несущую способность.

Хотя изобретение было описано со ссылками на конкретные варианты осуществления, подразумевается, что эти варианты осуществления имеют иллюстративный характер, и что объем изобретения не является столь ограниченным. Альтернативные варианты осуществления изобретения очевидны для обычных специалистов в области техники, к которой относится изобретение. Считается, что данные альтернативные варианты осуществления находятся в пределах объема изобретения. Соответственно объем изобретения определяется прилагаемой формулой изобретения и поддерживается вышеприведенным описанием.

1. Снабженный юбкой фундамент, предназначенный для установки на морское дно с достаточно мягким материалом над пластом основания, содержащий:башмачную опору, имеющую верхнюю часть и подошву, при этом верхняя часть и подошва соединены по периметру и образуют внешнюю кромку, причем верхняя часть и подошва имеют плоскую или коническую конфигурацию, при этом верхняя часть поддерживает одну опору самоподъемной буровой платформы, а подошва имеет плоское основание или нисходящий уклон; июбку, имеющую верхний край, который связан как неотъемлемая часть с башмачной опорой и выступает вниз, окружая подошву, и нижний край для внедрения в морское дно, при этом юбка имеет множество окружных отверстий, примыкающих к подошве башмачной опоры и расположенных в пределах верхней половины высоты юбки, причем конфигурация отверстий обеспечивает выход мягкого материала из внутреннего пространства, определяемого юбкой и подошвой, при погружении фундамента в морское дно;при этом мягкий материал не захватывается внутрь снабженного юбкой фундамента, и снабженный юбкой фундамент выполнен с возможностью внедрения в пласт основания на эффективную глубину.

2. Снабженный юбкой фундамент по п.1, в котором в центре подошвы имеется наконечник или конус большой крутизны для упрощения внедрения в морское дно.

3. Снабженный юбкой фундамент по п.1, в котором юбка содержит множество разнесенных и вертикально расположенных балок; при этом между вертикально расположенными балками имеется одно или несколько отверстий.

4. Снабженный юбкой фундамент по п.1, в котором конфигурация отверстий обеспечивает возможность их перекрытия при помощи средства перекрытия.

5. Снабженный юбкой фундамент по п.4, в котором средством перекрытия отверстий является втулка, при этом втулка установлена на внешней кромке для перекрытия отверстий.

6. Снабженный юбкой фундамент по п.5, в котором втулка является управляемой с помощью системы фиксирующих штифтов; так что при эксплуатации втулка удерживается в положении, гарантирующем, что отверстия остаются открытыми для выхода через них мягкого материала, а после достижения фундаментом требуемой глубины система фиксирующих штифтов имеет возможность размыкания, освобождая втулку для спуска последней под действием ее собственного веса или при помощи механического средства для перекрытия отверстий.

7. Снабженный юбкой фундамент по п.1, дополнительно содержащий множество подмывных сопел подошвы, расположенных под подошвой башмачной опоры, при этом подмывные сопла подошвы предпочтительно распределены равномерно и установлены таким образом, что сопла направлены параллельно плоскому основанию или нисходящему уклону подошвы.

8. Снабженный юбкой фундамент по п.1, дополнительно содержащий внутренние кронштейны для повышения жесткости соединения юбки с подошвой.

9. Снабженный юбкой фундамент по п.8, в котором внутренние кронштейны представляют собой множество радиальных панелей, соединяющих юбку и подошву, при этом множество радиальных панелей предпочтительно равномерно распределено по периметру юбки, разделяя таким образом внутреннее пространство, определяемое юбкой и подошвой, на множество радиальных отсеков.

10. Снабженный юбкой фундамент по п.1, дополнительно содержащий множество концевых подмывных сопел юбки, расположенных по периметру нижнего края юбки; таким образом, что подмыв, обеспечиваемый концевыми подмывными соплами юбки, обеспечивает разрыхление примыкающего грунта и, таким образом, уменьшение сопротивления грунта дальнейшему внедрению.

11. Снабженный юбкой фундамент по п.1, дополнительно содержащий мембрану, прикрепленную на внешней, или на внутренней, или на обеих сторонах юбки для упрощения полного внедрения юбки в пласт основания, при этом мембрана соединена со специальной магистралью давления и выполняет функцию контактной поверхности для приложения к грунту положительного или отрицательного избыточного давления по отношению к гидростатическому давлению окружающей среды.

12. Самоподъемная буровая платформа, содержащая рабочую платформу, множество опор и множество снабженных юбкой фундаментов, при этом каждая опора имеет два конца, один из которых соединен с рабочей платформой для обеспечения опоры, а другой - с одним снабженным юбкой фундаментом таким образом, что снабженные юбкой фундаменты обеспечивают фиксацию и поддержку самоподъемной буровой платформы;при этом снабженный юбкой фундамент, предназначенный для установки на морское дно с достаточно мягким материалом над пластом основания, содержит:башмачную опору, имеющую верхнюю часть и подошву, при этом верхняя часть и подошва соединены по периметру и образуют внешнюю кромку, причем верхняя часть и подошва имеют плоскую или коническую конфигурацию, при этом верхняя часть поддерживает одну опору самоподъемной буровой платформы, а подошва имеет плоское основание или нисходящий уклон; июбку, имеющую верхний край, который связан как неотъемлемая часть с башмачной опорой и выступает вниз, окружая подошву, и нижний край для внедрения в морское дно, при этом юбка имеет множество окружных отверстий, примыкающих к подошве башмачной опоры и расположенных в пределах верхней половины высоты юбки, причем конфигурация отверстий обеспечивает выход мягкого материала из внутреннего пространства, определяемого юбкой и подошвой, при погружении фундамента в морское дно;так что мягкий материал не захватывается внутрь снабженного юбкой фундамента, и снабженный юбкой фундамент выполнен с возможностью внедрения в пласт основания на эффективную глубину.

13. Самоподъемная буровая платформа по п.12, в которой в центре подошвы имеется наконечник или конус большой крутизны для упрощения внедрения в морское дно.

14. Самоподъемная буровая платформа по п.12, в которой юбка содержит множество разнесенных и вертикально расположенных балок; при этом между вертикально расположенными балками имеется одно или несколько отверстий.

15. Самоподъемная буровая платформа по п.12, в которой конфигурация отверстий обеспечивает возможность их перекрытия при помощи средства перекрытия.

16. Самоподъемная буровая платформа по п.15, в которой средством перекрытия отверстий является втулка, при этом втулка установлена на внешней кромке для перекрытия отверстий.

17. Самоподъемная буровая платформа по п.16, в которой втулка является управляемой с помощью системы фиксирующих штифтов; так что при эксплуатации втулка удерживается в положении, гарантирующем, что отверстия остаются открытыми для выхода через них мягкого материала, а после достижения фундаментом требуемой глубины система фиксирующих штифтов имеет возможность размыкания, освобождая втулку для спуска последней под действием ее собственного веса или при помощи механического средства для перекрытия отверстий.

18. Самоподъемная буровая платформа по п.12, дополнительно содержащая множество подмывных сопел подошвы, расположенных под подошвой башмачной опоры, при этом подмывные сопла подошвы предпочтительно распределены равномерно и установлены таким образом, что сопла направлены параллельно плоскому основанию или нисходящему уклону подошвы.

19. Самоподъемная буровая платформа по п.12, дополнительно содержащая внутренние кронштейны для повышения жесткости соединения юбки с подошвой.

20. Самоподъемная буровая платформа по п.19, в которой внутренние кронштейны представляют собой множество радиальных панелей, соединяющих юбку и подош