Сменная головка для электрической зубной щетки

Иллюстрации

Показать все

Группа изобретений включает сменную головку для электрической зубной щетки и электрическую зубную щетку с указанной головкой, относится к области медицинской техники и предназначена для гигиены ротовой полости. Сменная головка для электрической зубной щетки содержит удлиненную трубку, имеющую соединительный элемент на одном продольном конце для сопряжения с соединителем на рукоятке электрической зубной щетки, монтажную часть щетинодержателя, которая расположена на противоположном продольном конце трубки и на которой установлен щетинодержатель с возможностью поворотного движения относительно оси поворота, проходящей поперек продольного направления трубки, и приводной вал головки, проходящий в продольном направлении вдоль трубки и установленный с возможностью поворотного движения относительно оси поворота, в целом соосной с продольным направлением трубки. Трубка имеет гибкую часть, которая обеспечивает возможность перемещения части трубки, расположенной между щетинодержателем и гибкой частью, относительно соединительного элемента под воздействием давления на щетинодержатель во время использования. Смежно с концом приводного вала головки в наибольшем удалении в продольном направлении от указанного соединительного элемента расположен сферический подшипник приводного вала головки, причем трубка имеет соответствующую полость для расположения сферического подшипника приводного вала головки, в которой этот подшипник расположен. Головка содержит передаточное устройство, предназначенное для преобразования поворота приводного вала головки в поворот щетинодержателя относительно оси поворота, проходящей поперек продольного направления вала, и содержащее эксцентриковый штифт, проходящий от приводного вала головки смежно с его концом, наиболее удаленным в продольном направлении от соединительного элемента, к концу штифта, отнесенному от приводного вала головки в направлении, радиальном относительно оси поворота приводного вала головки, при этом штифт имеет сферический подшипник штифта, расположенный смежно с концом штифта. Щетинодержатель имеет полость для расположения сферического подшипника штифта, отнесенную на расстояние в радиальном направлении от его оси поворота и выполненную с такими размерами, что, когда приводной вал головки совершает колебательно-поворотное движение относительно его оси поворота, сферический подшипник штифта упирается в поверхности полости, разнесенные в окружном направлении вокруг оси поворота указанного щетинодержателя, с обеспечением колебательно-поворотного перемещения щетинодержателя. Изобретения позволяют расширить арсенал технических средств указанного назначения. 2 н. и 12 з.п. ф-лы, 3 ил.

Реферат

Данное изобретение относится к электрическим зубным щеткам, в частности к сменным головкам электрических зубных щеток.

Электрические зубные щетки хорошо известны. Они в целом содержат рукоятку, содержащую источник электроэнергии, такой как сменная или аккумуляторная батарея, и электродвигатель, приводимый в действие указанным источником энергии. От указанной рукоятки проходит приводной вал, при этом между электродвигателем и приводным валом расположено передаточное средство, которое обеспечивает поворот приводного вала в непрерывном или колебательно-поворотном режиме. Смежно с приводным валом рукоятки расположен соединитель для сменной головки. В типичном случае приводной вал рукоятки проходит через указанный соединитель.

Сменные головки в целом содержат удлиненную трубку, имеющую соединение на одном продольном конце для сопряжения с соединителем на рукоятке, монтажную часть щетинодержателя на противоположном продольном конце, на которой установлен щетинодержатель с возможностью непрерывного или колебательно-поворотного перемещения в целом относительно оси поворота, проходящей поперек продольного направления трубки. Приводной вал головки проходит в целом в продольном направлении вдоль части трубки внутри нее и имеет соединительный элемент, такой как шлицевое гнездо, расположенное на его конце, ближайшем к указанному соединительному элементу, для соединения с приводным валом рукоятки, когда указанная головка присоединена к рукоятке путем взаимодействия соединителя и указанного соединительного элемента. Такой приводной вал в целом совершает поворот либо в непрерывном режиме, либо в колебательно-поворотном режиме вокруг оси поворота, которая в целом соосна с продольным направлением вала.

Между приводным валом головки и щетинодержателем в целом расположена передаточное устройство для преобразования поворота приводного вала головки относительно оси, в целом соосной с продольным направлением вала, в поворот указанного щетинодержателя относительно оси поворота, которая проходит поперек продольного направления вала.

Известны многие подобные зубные щетки. Например, в патентном документе WO-A-91/07117 описана электрическая зубная щетка, имеющая передаточное устройство с двумя взаимодействующими коронными зубчатыми колесами. Например, в патентном документе US-A-5625916 описана широко применяемая электрическая зубная щетка, содержащая поворотный приводной вал головки, который имеет смещенный эксцентриковый штифт, который проходит в радиальном направлении относительно оси поворота указанного приводного вала и который взаимодействует с полостью в стенке цилиндрического щетинодержателя, так что при повороте приводного вала головки щетинодержатель приводится в колебательно-поворотное движение. В патентных документах DE 202008005856U1 и CH-A-688537 приведено описание подобных систем.

Кроме того, известна сменная головка электрической зубной щетки, которая выполнена с возможностью изгиба под воздействием давления, прикладываемого к щетинодержателю во время использования зубной щетки. Например, в патентном документе EP-A-1186254 описана головка, которая содержит эластичную гибкую часть, разделяющую трубку на две части с каждой продольной стороны гибкой части. Известны различные другие конструкции головки электрической зубной щетки с гибкими частями, расположенными между щетинодержателем и рукояткой, например из патентного документа EP-A-0510904.

Если указанная головка выполнена гибкой, как упомянуто выше, то остается актуальной проблема, связанная с упомянутым выше широко используемым передаточным устройством, в котором используется эксцентриковый штифт, с точки зрения оптимизации фрикционного контакта между штифтом и головкой, а также поддержания равномерно распределенных усилий в передаточном устройстве между приводным валом головки и щетинодержателем. Целью данного изобретения является решение этой проблемы. Другие цели и преимущества данного изобретения будут очевидны из нижеследующего описания.

В соответствии с данным изобретением предложена сменная головка для электрической зубной щетки, содержащая удлиненную трубку, имеющую соединительный элемент на одном продольном конце для сопряжения с соединителем на рукоятке электрической зубной щетки, монтажную часть щетинодержателя, расположенную на противоположном продольном конце трубки и имеющую щетинодержатель, установленный на ней с возможностью поворотного перемещения относительно оси поворота, проходящей поперек продольного направления трубки, а также приводной вал головки, проходящий в продольном направлении вдоль трубки и установленный с возможностью поворотного перемещения относительно оси поворота, в целом соосной с продольным направлением трубки. Сменная головка отличается тем, что

указанная трубка имеет гибкую часть, которая обеспечивает возможность перемещения части трубки, расположенной между щетинодержателем и гибкой частью, относительно соединительного элемента под воздействием давления на щетинодержатель во время использования,

смежно с концом приводного вала головки в наибольшем удалении в продольном направлении от указанного соединительного элемента расположен сферический подшипник приводного вала головки, причем указанная трубка имеет соответствующую полость для расположения сферического подшипника приводного вала головки,

указанная головка содержит передаточное устройство, предназначенное для преобразования поворота приводного вала головки в поворот щетинодержателя относительно оси поворота, проходящей поперек продольного направления вала, и содержащее эксцентриковый штифт, проходящий от приводного вала головки, смежно с его концом, наиболее удаленным в продольном направлении от указанного соединительного элемента, к концу штифта, отнесенному от приводного вала головки в радиальном направлении к оси поворота приводного вала, при этом указанный штифт имеет сферический подшипник, расположенный смежно с указанным концом штифта,

причем щетинодержатель имеет полость для расположения сферического подшипника штифта, отнесенную на расстояние в радиальном направлении от его оси поворота, предназначенную для размещения сферического подшипника штифта и выполненную с такими размерами, что, когда приводной вал головки совершает колебательно-поворотное перемещение относительно его оси поворота, сферический подшипник штифта упирается в поверхности указанной полости, отнесенные в окружном направлении вокруг оси поворота щетинодержателя, с обеспечением создания колебательно-поворотного перемещения щетинодержателя.

Установлено, что наличие двух указанных сферических подшипников оптимизирует фрикционный контакт между приводным валом головки и трубкой, а также между штифтом и щетинодержателем, а также способствует поддержанию равномерно распределенных усилий в передаточном устройстве между приводным валом головки и щетинодержателем при изгибании гибкой головки во время использования.

Предпочтительно щетинодержатель установлен с возможностью колебательно-поворотного перемещения.

Предпочтительно ось поворота щетинодержателя проходит в целом перпендикулярно продольному направлению трубки, например, под углом в пределах 80°-90° к продольному направлению трубки. Щетинодержатель имеет поверхность, от которой проходят указанные щетинки.

Предпочтительно приводной вал головки установлен с возможностью колебательно-поворотного перемещения.

Предпочтительно двигатель и передаточное устройство в рукоятке расположены с обеспечением сообщения колебательно-поворотного движения приводному валу рукоятки.

Предпочтительно гибкая часть расположена на половине продольной длины трубки ближе всего к соединительному элементу. Например, такая гибкая часть может проходить от конца трубки ближе всего к соединительному элементу на расстояние, составляющее до 30% от расстояния между соединительным элементом и монтажной частью щетинодержателя. Предпочтительно указанная гибкая часть имеет композиционную пластмассу - часть из эластомерного материала. Например, указанная трубка может быть выполнена из пластмассы, такой как полипропилен, как общепринято в данной области техники, и может иметь отверстия, например, проходящие полностью через выполненную из пластмассы стенку трубки, причем указанные отверстия содержат упругий гибкий эластомер, такой как термопластичный эластомер. Такая гибкая часть может быть выполнена известным технологическим способом, включающим первое литье под давлением трубки из пластмассы, имеющей такие отверстия, закрывание образованной таким образом трубки во втором литье под давлением и литье под давлением эластомерного материала в указанных отверстиях.

Предпочтительно указанная гибкая часть обеспечивает возможность перемещения части трубки, расположенной между щетинодержателем и гибкой частью, по дуге в плоскости, параллельной оси поворота щетинодержателя, относительно соединительного элемента под воздействием давления на щетинодержатель во время использования. Для того чтобы уменьшить чрезмерное давление при чистке щеткой во время использования, очевидно, является достаточным перемещение до 10°, например до 5°.

Предпочтительно приводной вал головки выполнен гибким с возможностью изгиба при перемещении указанной части трубки между щетинодержателем и гибкой частью. Указанный приводной вал может быть выполнен из гибкой пластмассы, такой как полиоксиметилен. Например, указанный вал может иметь в продольном направлении чередующиеся широкие и узкие части для улучшения гибкости.

Смежно с концом приводного вала головки, наиболее удаленным в продольном направлении от соединительного элемента, а предпочтительно на указанном конце расположен сферический подшипник приводного вала головки. Термин «сфера» и производные от него термины применительно к данному документу включают эллипсоид и сжатый сфероид. Указанный сферический подшипник приводного вала головки может иметь сферическую форму на достаточно большой части его наружной поверхности, так что при упругом перемещении трубки сферическая поверхность сферического подшипника остается в контакте с полостью для сферического подшипника. Указанный сферический подшипник может быть неотъемлемой частью приводного вала, или как вариант, например, для сведения к минимуму изнашивания сферического подшипника указанный сферический подшипник может быть выполнен из металла в виде отдельной части и присоединен к приводному валу.

Полость для расположения сферического подшипника приводного вала, расположенного смежно с концом приводного вала, может быть, например, цилиндрической полостью. Указанная полость может представлять собой полость со стенками из пластмассы, расположенную в части трубки из пластмассы, смежной с монтажной частью щетинодержателя, но предпочтительно указанная полость покрыта металлом, особенно если сам сферический подшипник выполнен из металла. Например, указанная полость может быть выполнена путем введения вкладыша с цилиндрическим отверстием в пластмассу трубки.

Предпочтительно эксцентриковый штифт проходит от приводного вала головки в местоположении, расположенном на небольшом (коротком) расстоянии от конца указанного вала ближе всего к монтажной части щетинодержателя. Предпочтительно эксцентриковый штифт имеет часть, проходящую поперек приводного вала головки в радиальном направлении относительно оси поворота приводного вала, присоединяющуюся к части штифта, проходящей параллельно приводному валу к концу штифта. Сферический подшипник штифта может быть полностью сферическим (за исключением местоположения, в котором он присоединяется к штифту). Указанный сферический подшипник может иметь сферическую форму на достаточно большой части его наружной поверхности, так что при перемещении указанной части трубки сферическая поверхность сферического подшипника штифта остается в контакте с полостью для сферического подшипника. Указанный сферический подшипник может быть неотъемлемой частью штифта, или как вариант, например, сферический подшипник для сведения к минимуму его изнашивания может быть выполнен из металла в виде отдельной части и прикреплен ко штифту.

В типичном случае указанная полость для расположения сферического подшипника штифта может иметь паз или отверстие другой формы, выполненное на поверхности щетинодержателя и проходящее в радиально наружном направлении от оси поворота щетинодержателя. Указанная полость выполнена с такими размерами, что, когда сферический подшипник штифта совершает поперечное возвратно-поступательное перемещение при совершении приводным валом колебательно-поворотного перемещения, сферический подшипник штифта упирается в боковые поверхности полости, которые отнесены в окружном направлении вокруг оси поворота щетинодержателя, обеспечивая тем самым перемещение щетинодержателя в соответствии с колебательно-поворотным движением.

Щетинодержатель имеет поверхность, от которой проходят щетинки. Предпочтительно стенка указанной полости, наиболее удаленная от этой поверхности, является закрытой или ограниченной так, что, когда приложенное к щетинодержателю усилие стремится удалить его из монтажной части щетинодержателя, щетинодержатель упирается в штифт и/или сферический подшипник штифта с обеспечением противодействия такому усилию. Такое решение может способствовать удержанию щетинодержателя в монтажной части. Эта конструкция может улучшить так называемую «прочность на отрыв» щетинодержателя в соответствии с нормами техники безопасности некоторых стран. Известно, что часто в головках электрических зубных щеток в монтажной части щетинодержателя предусмотрен стопорный штифт, взаимодействующий с полостью указанной монтажной части, чтобы содействовать удержанию щетинодержателя в монтажной части, при этом вышеупомянутое закрытие или ограничение указанной полости может дополнять действие такого стопорного штифта.

В типичном случае щетинодержатель может быть выполнен из пластмассы, такой как полиоксиметилен, и путем литья под давлением вместе с полостью, выполненной во время литья под давлением. Эта полость для расположения сферического подшипника также может быть полостью с боковыми сторонами, выполненными из пластика, или может быть покрыта металлом.

Щетинодержатель может иметь в целом цилиндрическую форму относительно своей оси поворота. В типичном случае щетинодержатель может быть установлен в монтажной части, так что ось расположена между монтажной частью и щетинодержателем. В типичном случае такая ось является металлическим стержнем.

Термин «щетинка» и производные от него термины применительно к данному документу относятся ко всем типам очищающих ротовую полость элементам, например к нитевым щетинкам, выполненным из нейлона или полибутилентерфталата, которые могут быть, например, цилиндрическими с закругленными концами, или они могут быть заострены, как, например, изложено в патентном документе EP-B-0596633 B1. Как вариант, такие элементы могут быть выполнены из эластомерных материалов, в виде штырей, полос, тонких пластинок и т.д., например, известных типов. Возможно использование сочетаний из таких элементов.

Другие части головки зубной щетки по данному изобретению во всем остальном могут быть общепринятыми.

Указанный соединительный элемент может относиться, например, к известному типу соединительных элементов с плотной посадкой, резьбовым или байонетным соединениям, подходящим для соединения с соответствующим соединителем, расположенным на рукоятке зубной щетки, таким как хорошо известный тип соединителя в зубных электрических щетках Oral-B™. Указанный соединительный элемент может содержать вставляемый переходник для согласования внутреннего профиля трубки и внешнего профиля соединителя, например, как изложено в патентном документе US-A-3369265.

Головка зубной щетки по данному изобретению подходит для использования с известными типами рукоятки зубной щетки, которые содержат источник электрической энергии, такой как сменная или аккумуляторная батарея, и электродвигатель, приводимый в действие от указанного источника энергии. В типичном случае такие рукоятки имеют приводной вал, проходящий от рукоятки, который может быть выполнен с возможностью совершения поворота с колебательно-поворотным движением и который входит в соединение с приводным валом головки.

Ниже данное изобретение описано путем примера со ссылкой на сопроводительные чертежи.

Фиг.1 показывает продольный разрез головки зубной щетки по данному изобретению.

Фиг.2 показывает передаточное устройство в двух схематических видах вдоль продольного направления и поперек него.

Фиг.3 иллюстрирует взаимодействие головки с рукояткой зубной щетки.

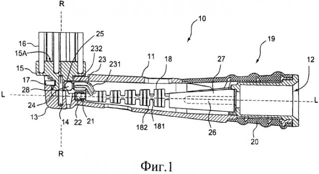
Обратимся к фиг.1, на которой в целом показана головка 10 зубной щетки по данному изобретению, содержащая удлиненную полую трубку 11, имеющую продольное направление L-L и соединительный элемент 12 на одном продольном конце, обеспечивающий сопряжение с соединителем (не показан, см. фиг.3), расположенным на рукоятке щетки (не показана, см. фиг.3). Причем этот соединительный элемент 12 является обычным байонетным соединительным элементом или соединительным элементом с плотной посадкой.

На противоположном конце трубки 11 расположена монтажная часть 13 щетинодержателя, имеющая ось 14, на которой установлен щетинодержатель 15, выполненный с возможностью поворота на оси вокруг оси R-R, определяемой осью 14 и проходящей поперек продольного направления L-L трубки. На поверхности 15A щетинодержателя 15 закреплены щетинки 16, проходящие в направлении, параллельном оси поворота R-R. Стопорный штифт 17 взаимодействует с окружным пазом 28, расположенным в щетинодержателе 15, с удержанием щетинодержателя 15 на монтажной части 13, а также ограничивает поворот щетинодержателя 15 на оси 14, так что поворот щетинодержателя 15 ограничивается колебательно-поворотным движением. Эта общая конструкция является общепринятой конструкцией.

В продольном направлении внутри части трубки 11 проходит приводной вал 18 головки, установленный с возможностью колебательно-поворотного перемещения внутри трубки 11 относительно оси поворота, соосной с продольным направлением L-L трубки 11.

Трубка 11 содержит гибкую часть 19, которая обеспечивает возможность перемещения части трубки, расположенной между опорной частью 13 для щетинок и частью 19, относительно соединительного элемента 12 под действием давления, прикладываемого к щетинодержателю 15 во время использования щетки. Гибкая часть 19 содержит композиционную пластмассу и представляет собой часть, выполненную из эластомерного материала, образованную трубкой 11, выполненной из пластмассы, такой как полипропилен, и имеющей отверстия в пластмассе трубки, содержащей термопластический эластомер 20. Гибкая часть 19 проходит от конца трубки 11, расположенного ближе всего к соединительному элементу 12, приблизительно на расстоянии, составляющем 30% от расстояния между соединительным элементом 12 и монтажной частью 13 щетинодержателя. Гибкая часть 18 обеспечивает возможность перемещения части трубки 12, расположенной между опорной частью 13 щетинок и гибкой частью 18, относительно соединительного элемента 12 под воздействием давления на щетинодержатель 15 во время использования по дуге в плоскости, параллельной оси R-R поворота щетинодержателя 15, т.е. в плоскости данного чертежа.

Приводной вал 18 головки выполнен из гибкой пластмассы, такой как полиоксиметилен. Привод головки имеет чередующиеся в продольном направлении широкие и узкие части 181, 182 для улучшения гибкости, т.е. способствующие изгибанию вокруг узких частей 182.

Смежно с концом приводного вала 18 в наибольшем удалении в продольном направлении от соединительного элемента 12 расположен сферический подшипник 21 приводного вала головки. Трубка 12 имеет соответствующую полость 22 для расположения сферического подшипника 21 приводного вала головки. Сферический подшипник 21 выполнен в форме металлического штифта, расположенного на конце вала 18, при этом его конец, удаленный от вала 18, имеет сферическую форму. Полость 22 выполнена в виде металлического цилиндра с внутренним цилиндрическим отверстием, диаметр которого приблизительно соответствует наружному диаметру сферического подшипника 21.

Головка 10 содержит передаточное устройство, обеспечивающее преобразование колебательного поворота приводного вала 18 головки в колебательный поворот щетинодержателя 15 относительно оси R-R поворота, проходящей поперек продольного направления L-L вала. Передаточное устройство содержит эксцентриковый штифт 23, проходящий как единое целое от приводного вала 18 смежно с концом приводного вала 18, наиболее удаленным от соединительного элемента 12 в продольном направлении. Данный штифт 23 имеет первую часть 231, расположенную вблизи вала 18 и проходящую поперек продольного направления L-L, и вторую часть 232, проходящую параллельно продольному направлению L-L к концу 24 штифта, отнесенному от приводного вала 18 в радиальном направлении к оси поворота вала 18. Этот конец 24 штифта выполнен в виде сферического подшипника, который представляет собой металлический штифт, прикрепленный к концу части 232, причем его конец, удаленный от соединительного элемента 12, имеет сферическую форму.

На поверхности щетинодержателя 15, радиально отнесенной от оси R-R поворота, расположена полость 25 для расположения сферического подшипника 24 штифта. Полость 25 выполнена с такими размерами, что, когда приводной вал 18 головки совершает колебательно-поворотное движение относительно оси поворота L-L, сферический подшипник 24 штифта попеременно упирается в боковые поверхности указанной полости, разнесенные в окружном направлении вокруг оси R-R поворота щетинодержателя 15, так что щетинодержатель 15 вынужден тем самым совершать колебательно-поворотное движение относительно оси R-R.

На конце приводного вала 18 внутри неотъемлемой расширенной части 27 выполнено шлицевое гнездо 26 (показано схематически), которое может взаимодействовать обычным способом с приводным валом (не показан, см. фиг.3) рукоятки (не показана, см. фиг.3) зубной щетки.

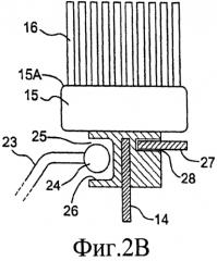
На фиг.2 схематически проиллюстрирована работа передаточного устройства головки зубной щетки, показанной на фиг.1. Показаны два вида, если смотреть соответственно вдоль и поперек продольной оси L-L. При совершении приводным валом 18 головки колебательно-поворотного движения вокруг оси L-L, эксцентриковый штифт 23 совершает колебательное движение из стороны в сторону, при этом сферический подшипник 24 штифта попеременно упирается в боковые поверхности 25A, 25B полости 25, отнесенные в окружном направлении вокруг оси R-R поворота, что заставляет щетинодержатель 15 соответственно совершать колебательно-поворотное движение относительно собственной оси R-R поворота.

Как видно на чертеже, благодаря сферическим подшипникам 21, 24, независимо от того, насколько вал 17 и приводной вал 18 головки изгибаются под действием давления во время чистки зубов щеткой и, следовательно, заставляют сферические подшипники 21, 24 перемещаться в соответствующих полостях 22, 25 для сферических подшипников, сферическая поверхность частей 21, 24 остается в контакте с соответствующими полостями 22, 25. Таким образом, движущие силы и трение между приводным валом 18 и полостью 22, а также между штифтом 23 и полостью 25 щетинодержателя 15 поддерживаются соответствующим образом неизменными, сводя к минимуму износ и вибрации во время использования.

Фиг.2 также показывает, каким образом боковая сторона 26 полости 25, наиболее удаленная от поверхности 15a, от которой проходят щетинки 16, закрыта частью 26 стенки. Из фиг.2 видно, что в случае, когда к щетинодержателю 15 приложено усилие, стремящееся извлечь его из монтажной части (на фиг.2 не показана), часть 26 стенки щетинодержателя 15 примыкает к сферическому подшипнику 24 штифта с обеспечением противодействия такому усилию и содействия удержанию щетинодержателя 15 в указанной монтажной части, дополняя тем самым действие стопорного штифта 17, расположенного в пазе 28.

Фиг.3 схематически показывает, как головка 10 взаимодействует с рукояткой 30 электрической зубной щетки. Рукоятка 30 содержит источник электроэнергии, такой как сменная или аккумуляторная батарея (не показана), и электродвигатель (не показан), приводимый в действие указанным источником энергии. От рукоятки 30 отходит приводной вал 31 рукоятки, при этом между электродвигателем и приводным валом расположено передаточное средство, которое обеспечивает совершение колебательно-поворотного движения приводным валом 31. Смежно с приводным валом 31 рукоятки расположен соединитель 32 для сменной головки 10, причем приводной вал 31 проходит через соединитель 32. При использовании соединитель 32 взаимодействует с соединительным элементом 12 головки 10 с помощью соединения типа выступ-впадина и соединенный таким образом приводной вал 31 взаимодействует с гнездом 26 с помощью соединения типа выступ-впадина, так что приводной вал 31 может приводить в движение вал 18.

1. Сменная головка для электрической зубной щетки, содержащая удлиненную трубку, имеющую соединительный элемент на одном продольном конце для сопряжения с соединителем на рукоятке электрической зубной щетки, монтажную часть щетинодержателя, которая расположена на противоположном продольном конце трубки и на которой установлен щетинодержатель с возможностью поворотного движения относительно оси поворота, проходящей поперек продольного направления трубки, и приводной вал головки, проходящий в продольном направлении вдоль трубки и установленный с возможностью поворотного движения относительно оси поворота, в целом соосной с продольным направлением трубки, отличающаяся тем, чтоуказанная трубка имеет гибкую часть, которая обеспечивает возможность перемещения части трубки, расположенной между щетинодержателем и гибкой частью, относительно соединительного элемента под воздействием давления на щетинодержатель во время использования,смежно с концом приводного вала головки в наибольшем удалении в продольном направлении от указанного соединительного элемента расположен сферический подшипник приводного вала головки, причем трубка имеет соответствующую полость для расположения сферического подшипника приводного вала головки, в которой этот подшипник расположен,указанная головка содержит передаточное устройство, предназначенное для преобразования поворота приводного вала головки в поворот щетинодержателя относительно оси поворота, проходящей поперек продольного направления вала, и содержащее эксцентриковый штифт, проходящий от приводного вала головки смежно с его концом, наиболее удаленным в продольном направлении от указанного соединительного элемента, к концу штифта, отнесенному от приводного вала головки в направлении, радиальном относительно оси поворота приводного вала головки, при этом указанный штифт имеет сферический подшипник штифта, расположенный смежно с указанным концом штифта,причем щетинодержатель имеет полость для расположения сферического подшипника штифта, отнесенную на расстояние в радиальном направлении от его оси поворота и выполненную с такими размерами, что, когда приводной вал головки совершает колебательно-поворотное движение относительно его оси поворота, сферический подшипник штифта упирается в поверхности полости, разнесенные в окружном направлении вокруг оси поворота указанного щетинодержателя, с обеспечением колебательно-поворотного перемещения щетинодержателя.

2. Сменная головка по п. 1, в которой ось поворота щетинодержателя расположена под углом в пределах 80°-90° к продольному направлению трубки.

3. Сменная головка по п. 1, в которой гибкая часть расположена на половине продольной длины трубки, ближайшей к соединительному элементу.

4. Сменная головка по п. 1, в которой гибкая часть обеспечивает возможность перемещения части трубки, расположенной между щетинодержателем и гибкой частью, по дуге в плоскости, параллельной оси поворота щетинодержателя, относительно соединительного элемента под воздействием давления на щетинодержатель во время использования.

5. Сменная головка по п. 1, в которой приводной вал головки выполнен гибким с возможностью изгиба при перемещении указанной части трубки.

6. Сменная головка по п. 5, в которой приводной вал выполнен из гибкой пластмассы, а сферический подшипник приводного вала головки выполнен из металла в виде отдельной части, прикрепленной к приводному валу.

7. Сменная головка по п. 1, в которой полость для сферического подшипника трубки, в которой расположен сферический подшипник смежно с концом приводного вала, является цилиндрической полостью.

8. Сменная головка по п. 7, в которой полость для сферического подшипника трубки покрыта металлом и выполнена путем введения вкладыша с цилиндрическим отверстием в пластмассу трубки.

9. Сменная головка по п. 1, в которой эксцентриковый штифт содержит часть, проходящую поперек приводного вала головки в радиальном направлении относительно оси поворота приводного вала и присоединенную к части штифта, проходящей параллельно приводному валу к концу штифта.

10. Сменная головка по п. 1, в которой сферический подшипник штифта выполнен из металла в виде отдельной части и прикреплен к штифту.

11. Сменная головка по п. 1, в которой полость для расположения сферического подшипника штифта имеет отверстие, выполненное на поверхности щетинодержателя и проходящее в радиально наружном направлении от оси поворота щетинодержателя.

12. Сменная головка по п. 11, в которой боковые стороны полости для расположения сферического подшипника штифта выполнены из пластмассы или покрыты металлом.

13. Сменная головка по любому из пп. 1-12, в которой стенка полости для расположения сферического подшипника штифта, наиболее удаленная от поверхности щетинодержателя, от которой проходят щетинки, является поверхностью, закрытой или ограниченной так, что, когда приложенное к щетинодержателю усилие стремится удалить его из монтажной части щетинодержателя, щетинодержатель упирается в штифт и/или сферический подшипник штифта с обеспечением противодействия такому усилию.

14. Электрическая зубная щетка, имеющая рукоятку, содержащую источник электроэнергии, такой как сменная или аккумуляторная батарея, и электродвигатель, приводимый в действие указанным источником энергии, в комбинации со сменной головкой по любому из пп. 1-13.