Сверхпроводящая система передачи энергии

Иллюстрации

Показать все

Изобретение относится к сверхпроводящей системе передачи электрической энергии. В термически изолированной двойной трубе предоставляется структура, в которой может быть предотвращено существенное смещение внутренней трубы относительно внешней трубы из-за термического сжатия. Структура включает в себя внутреннюю трубу 101, внутри которой установлен сверхпроводящий кабель, внешнюю трубу 103, внутри которой размещена внутренняя труба, причем внутренняя и внешняя трубы составляют термически изолированную двойную трубу, а элемент 104 поддержки внутренней трубы поддерживает внутреннюю трубу. Элемент 104 поддержки внутренней трубы прикреплен к внутренней и внешней трубам. Изобретение обеспечивает исключение возможного смещения внутренней трубы при термическом сжатии внешней трубы. 3 н. и 15 з.п. ф-лы, 8 ил.

Реферат

Область техники

Данное изобретение относится к сверхпроводящей системе передачи электрической энергии.

Уровень техники

В системе передачи энергии, применяющей сверхпроводящий кабель, такая конфигурация, которая гарантирует облегченную работу в уложенном состоянии и которая работает в качестве средства предотвращения проникновения тепла, была предложена в Патентной Литературе 1 и 2, приведенной в качестве примеров, Satarou Yamaguchi, одним из изобретателей данного изобретения.

Патентная Литература 1 отображает конфигурацию, включающую в себя первую трубу, внутри которой размещен сверхпроводящий кабель, и вторую трубу из ферромагнитного материала, расположенную с внешней стороны первой трубы. В раскрытой конфигурации концевая(ые) часть(и) секции трубы прямой формы сверхпроводящего кабеля соединена гофрированной трубой, и первая труба включает в себя гофрированную трубу.

Патентная Литература 2 отображает сверхпроводящий кабель для передачи энергии, по меньшей мере, включающий в себя первую трубу, внутри которой расположена часть сверхпроводящего проводника, и вторую трубу, расположенную с внешней стороны первой трубы. Вакуумная секция термической изоляции обеспечена между первой и второй трубами. Кольцо поддержки первой трубы, которое плотно прилегает к секции внешней стенки первой трубы, также обеспечено между первой и второй трубами, и кольцо поддержки второй трубы установлено на секцию внутренней стенки второй трубы. Элемент поддержки расположен между первым и вторым кольцами поддержки. Фиг.6 изображает конфигурацию термически изолированной трубы с двойной оболочкой. Секция 11 прохождения охлаждающего агента, секция 12 сверхпроводящего проводника и секция 13 электрической изоляции обеспечены в части сверхпроводящего проводника, которая размещается внутри первой трубы 15 (см. фиг.6). Термин «труба с двойной оболочкой» называется здесь как «двойная труба».

Список библиографических ссылок

Патентная литература

Патентная Литература 1 Патент JP Kokai JP-A-2006-210263.

Патентная Литература 2 Патент JP Kokai JP-A-2006-32186.

Сущность изобретения

Техническая проблема

Изобретатели данного изобретения провели энергичные исследования и пришли к данному изобретению, которое здесь предложено.

Решение проблемы

В одном аспекте данного изобретения предоставлена сверхпроводящая система передачи энергии. Система включает себя термически изолированную двойную трубу, составленную из внутренней трубы, внутри которой установлен сверхпроводящий кабель, и внешней трубы, внутри которой размещена внутренняя труба, и элемента(ов) поддержки внутренней трубы, поддерживающих внутреннюю трубу. Элемент(ы) поддержки внутренней трубы надежно прикреплен к внутренней и внешней трубам.

В соответствии с данным изобретением сверхпроводящая система передачи энергии также включает в себя гофрированную трубу, расположенную внутри внешней трубы. Гофрированная труба соединена с концом(ами) внутренней трубы. Сверхпроводящий кабель расположен внутри внутренней части гофрированной трубы.

В другом аспекте данного изобретения предоставляется сверхпроводящая система передачи энергии, дополнительно включающая в себя объект, который должен сниматься камерой, причем объект соединен с концевой частью сверхпроводящего кабеля внутри криостата. Камера установлена в месте, термически изолированном от криостата, и выполнена с возможностью формирования изображения объекта внутри криостата через окно. Управляющее устройство анализирует информацию изображения объекта, полученного камерой, для обнаружения смещения объекта. При обнаружении смещения управляющим устройством приводное устройство приводит в движение весь криостат целиком.

В соответствии с данным изобретением сверхпроводящая система передачи энергии дополнительно включает в себя осветительное устройство, которое освещает объект.

В соответствии с данным изобретением объект расположен в концевой части элемента соединения прямой формы, причем этот элемент соединения прямой формы соединен с секцией поддержки в концевой части сверхпроводящего кабеля и дальше выступает вдоль длины кабеля.

В другом аспекте данного изобретения оба конца сверхпроводящего кабеля обеспечены свободно поддерживаемыми кабельными наконечниками, которые могут перемещаться вдоль длины кабеля.

В другом аспекте данного изобретения сверхпроводящий кабель поддерживается с жестким креплением внутренней трубой в средней части между обоими концами сверхпроводящего кабеля.

В другом аспекте данного изобретения предоставлена сверхпроводящая система передачи энергии, где предварительно установленный вид газа вводится в вакуумную область между внутренней и внешней трубами термически изолированной двойной трубы для замещения газа для осуществления разрежения до вакуума.

В соответствии с данным осуществлением внутренняя труба охлаждается после разрежения до вакуума.

В соответствии с данным изобретением предварительно установленный вид газа включает в себя в том числе и газообразный оксид углерода. Предварительно установленный вид газа является таким газом, который затвердевает при температуре большей температуры жидкого азота, при малом значении давления насыщенного пара в этот момент, который является газообразным при температуре окружающей среды и давлении окружающей среды, который обладает относительно низкой вязкостью и диполярным моментом и который имеет относительно высокое массовое число.

В соответствии с данным изобретением предварительно установленным видом газа является газообразный оксид углерода, инертный газ, включая аргон и ксенон, за исключением неона, газообразный хлорфторуглерод (CFC), соответствующий приведенным выше условиям, газ на основе углеводородов или их смесь(и).

В другом аспекте данного изобретения сверхпроводящий кабель включает в себя множество сверхпроводящих материалов проволочной ленты, внешняя труба включает в себя первый проход, а вторая труба включает второй проход, направленный на первый проход. Предоставлен один или множество первых выводов, электрически изолированных друг от друга. Один(одни) конец(концы) первого(ых) вывода(ов) соединен(ы) с электродом вакуумной стороны первого прохода, а другой(ие) конец(концы) первого(ых) вывода(ов) соединен(ы) с одной стороной направленного на него второго прохода. Также предоставлено множество вторых выводов, электрически изолированных друг от друга. Каждый из вторых выводов имеет один конец, соединенный с каждым первым выводом на противоположной стороне второго прохода, при этом имея другой противоположный конец, соединенный с одним концом каждого из множества сверхпроводящих материалов проволочной ленты. Соединительная часть между множеством вторых выводов и множеством сверхпроводящих материалов проволочной ленты сформирована из удерживающей структуры.

В еще одном другом аспекте данного изобретения предоставлен способ разрежения до вакуума для термически изолированной двойной трубы, причем способ включает в себя: введение предварительно определенного вида газа в вакуумную область, расположенную между внутренней трубой и внешней трубой, составляющими термически изолированную двойную трубу, таким образом, чтобы вытеснить газ, осуществить разрежение до вакуума и затем охладить внутреннюю трубу. Сверхпроводящий кабель изолирован внутри внутренней трубы, а внутренняя труба расположена внутри внешней трубы.

Преимущественные эффекты изобретения

В соответствии с данным изобретением не существует риска того, что внутренняя труба существенно сместится (или сдвинется) при термическом сжатии внешней трубы или что пленка многослойного экрана для защиты от излучения, которая покрывает внутреннюю трубу, будет повреждена.

Более того, в соответствии с данным изобретением, в котором объект, соединенный с концевой частью сверхпроводящего кабеля, наблюдается на изображении, сжатие или расширение сверхпроводящего кабеля может контролироваться. Приводное устройство приводит в движение весть криостат целиком в ответ на такое сжатие или расширение сверхпроводящего кабеля. Таким образом, можно смягчить тепловое напряжение, которое может возникать в сверхпроводящем кабеле в связи с его сжатием или расширением, вызванными изменениями температуры.

В соответствии с данным изобретением оба конца сверхпроводящего кабеля могут смещаться вдоль продольного направления благодаря свободно поддерживаемым кабельным наконечникам, тем самым смягчая любое тепловое напряжение, которое может возникать при сжатии или расширении сверхпроводящего кабеля.

Более того, в соответствии с данным изобретением предварительно определенный вид газа вводится в вакуумную область термически изолированной двойной трубы посредством замещения газа. Разрежение до вакуума и охлаждение затем осуществляются в указанном порядке для достижения глубокого вакуума.

Краткое описание чертежей

Фиг.1 является схематическим видом, изображающим пояснительный примерный вариант осуществления 1 данного изобретения.

Фиг.2 является схематическим видом, изображающим пояснительный примерный вариант осуществления 2 данного изобретения.

Фиг.3 является схематическим видом, изображающим пояснительный примерный вариант осуществления 3 данного изобретения.

Фиг.4 является схематическим видом, изображающим пояснительный примерный вариант осуществления 4 данного изобретения.

Фиг.5(А) является графиком, изображающим изменения во времени степени вакуума от начала охлаждения внутренней трубы.

Фиг.5(В) является графиком, изображающим результаты массового анализа остаточных газов в вакууме.

Фиг.6 является схематическим видом, изображающим конфигурацию термически изолированной двойной трубы.

Фиг.7 является схематическим видом, изображающим конфигурацию поперечного сечения примерного варианта осуществления 1 данного изобретения, изображенного на фиг.1.

Фиг.8 является схематическим видом, изображающим пояснительный примерный варианта осуществления 5 данного изобретения.

Описание вариантов осуществления

В приведенном ниже описании предложены:

1) поддержка внутренней трубы термически изолированной двойной трубы сверхпроводящей системы передачи;

2) устройство обработки изображений, чувствительное к сжатию кабеля, и подвижная подставка;

3) закрепление сверхпроводящего кабеля;

4) разрежение до вакуума термически изолированной двойной трубы, и

5) поддержание постоянного значения тока, проходящего через сверхпроводящие материалы проволочной ленты.

<Поддержка внутренней трубы термически изолированной двойной трубы>

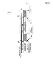
Фиг.1 отображает схематический вид, изображающий пояснительную конфигурацию примерного варианта осуществления 1 в соответствии с данным изобретением, и изображает конфигурацию, сконструированную для поддержки внутренней трубы термически изолированной двойной трубы. Фиг.7 отображает схематический вид, изображающий конфигурацию поперечного сечения примерного варианта осуществления 1 данного изобретения, изображенного на фиг.1. Внутренняя труба составлена секцией 101 внутренней трубы прямой формы и гофрированной трубой 102, соединенной с концом секции 101 внутренней трубы прямой формы. Внешняя труба 103 является трубой прямой формы. Пленка многослойного экрана для защиты от излучения, которая не изображена, составленная из множества листов, покрытых алюминием, в качестве примера, предоставлена в вакуумной термически изолированной секции 105, ограниченной пространством между внутренней и внешней трубами. Сверхпроводящий кабель, сформированный из материала высокотемпературного сверхпроводника, такого как оксидный материал, может быть расположен с внутренней стороны внутренней трубы, с помощью электрически изолирующей секции, таким образом, что охлаждающий агент при температуре жидкого азота может пропускаться через внутреннюю сторону кабеля.

Секция 104 поддержки внутренней трубы, поддерживающая внутреннюю трубу от внешней трубы 103, прикреплена к внутренней трубе 103 и к секции 101 внутренней трубы прямой формы.

Внешняя труба 103 не подвержена термическому сжатию, так что расстояние D не меняется до и после охлаждения. Тем не менее, секция 101 внутренней трубы прямой формы термически сжимается после охлаждения из-за низкой температуры. Это термическое сжатие поглощается (компенсируется) расширением гофрированной трубы 102.

В месте, где труба для передачи энергии изгибается, изогнутая труба может быть использована вместо трубы прямой формы, или гофрированная или рифленая труба может быть иногда использована. В этом случае секция 104 поддержки внутренней трубы также крепится как к внешней трубе 103, так и к внутренней трубе 101 секции внутренней трубы прямой формы. Необходимо отметить, что на фиг.7 две секции 104 поддержки внутренней трубы, каждая из которых является элементом, проходящим в радиальном направлении между секцией внешней стенки внутренней трубы 101 секции внутренней трубы прямой формы и секцией внутренней стенки внешней трубы 103, расположены на диаметрально противоположных сторонах внутренней трубы, то есть с угловым шагом в 180° друг от друга. Как вариант три или четыре секции 104 поддержки внутренней трубы могут быть обеспечены с угловым шагом, равным 120° и 90° соответственно.

В термически изолированной двойной трубе внешняя труба 103 находится при температуре окружающей среды. Тем не менее, внутренняя труба охлаждается до температуры жидкого азота и, следовательно, она подвергается термическому сжатию. Гофрированная труба или рифленая труба приварена к концу секции трубы прямой формы секции 101 внутренней трубы прямой формы. Благодаря секции 104 поддержки внутренней трубы внутренняя труба существенно не сдвигается (смещается) в результате термического сжатия относительно внутренней трубы 103, таким образом, что не существует риска повреждения пленки многослойного экрана для защиты от излучения, которая не изображена, использованной на секции 101 внутренней трубы прямой формы.

<Устройство обработки изображений, чувствительное к сжатию кабеля, и подвижная подставка>

Фиг.2 отображает схематический вид, изображающий конфигурацию пояснительного примерного варианта осуществления 2 данного изобретения. Камера 220 снимает целевой объект 212 камеры, который расположен в криостате 210 (термически изолированном вакуумном сосуде) и перемещается (смещается) при сжатии/растяжении сверхпроводящего кабеля 201. При съемке информации с изображения (цифровая информация изображения) посылается в управляющее устройство 230 для того, чтобы отслеживать положение целевого объекта 212 камеры. Целевой объект 212 камеры соединен с концевой частью элемента 216 соединения прямой формы, который соединен с секцией 211 поддержки наконечника на кабельном наконечнике сверхпроводящего кабеля и который в подвешенном состоянии проходит вдоль продольного направления сверхпроводящего кабеля. Когда целевой объект 212 камеры смещается, программа обработки изображений, выполняемая центральным процессором, который не изображен, внутри управляющего устройства 230 распознает такое смещение целевого объекта 212 камеры и передает инструкции приводному устройству 240 для осуществления перемещения, указывая как направление, так и расстояние перемещения. Приводное устройство 240 в соответствии с этим приводит в движение криостат 210 в предварительно установленном направлении перемещения согласно инструкциям от управляющего устройства 230. Если сверхпроводящий кабель 210 сжимается таким образом, что целевой объект 212 камеры смещается вправо на фиг.2, приводное устройство 240 заставляет весь криостат 210 целиком, включая камеру 220, перемещаться вправо на чертеже. Если сверхпроводящий кабель 201 сжимается таким образом, что целевой объект 212 камеры смещается влево на фиг.2, приводное устройство 240 заставляет весь криостат 210 целиком, включая камеру 220, перемещаться влево на чертеже. Это предотвращает возникновение в сверхпроводящем кабеле 201 любого теплового напряжения, сопутствующего сжатию или расширению из-за изменения температуры сверхпроводящего кабеля 201. Так как криостат 210 охлаждается, например, до температуры жидкого азота и так как камера 220 не работает при более низких температурах, камера установлена на стороне температуры окружающей среды посредством термически изолирующего элемента (отделяющего отсека) 214 от сверхпроводящего кабеля 201 и снимает целевой объект 212 камеры через окно 215, обеспеченное в термически изолирующем элементе 214. Криостат 210 включает в себя осветительное устройство 213, такое как СИД, для освещения целевого объекта 212 камеры. Следует отметить, что осветительное устройство 213, такое как СИД, может быть обеспечено в термически изолирующем элементе (отделяющем отсеке) 214 для освещения вдоль направления съемки камеры 220.

Хотя внешняя труба термически изолированной двойной трубы находится при температуре окружающей среды, ее внутренняя труба охлаждается до температуры жидкого азота и, следовательно, подвергается термическому сжатию. По этой причине внутренняя труба составлена из трубы прямой формы, приваренной к гофрированной трубе или рифленой трубе, сконструированным с возможностью поглощения термического сжатия. Среди устройств, подвергающихся термическому сжатию, отличных от внутренней трубы термически изолированной двойной трубы, находится сверхпроводящий кабель.

Для поглощения термического сжатия внутренней трубы может быть использована гофрированная труба 102, как было описано выше для примерного варианта осуществления 1. Тем не менее, гофрированная труба, такая как 203, например, не может использоваться для компенсации термического сжатия сверхпроводящего кабеля 201. Следовательно, нет другого варианта, кроме как поглощения его сжатия в или посредством секции наконечника сверхпроводящего кабеля 201.

По этой причине криостат 210, в котором размещена часть наконечника сверхпроводящего кабеля 201, является подвижным вдоль продольного направления сверхпроводящего кабеля 201 для того, чтобы поглощать термическое сжатие или расширение сверхпроводящего кабеля 201.

На фиг.2 гофрированная труба 203 соединена также со внешней трубой термически изолированной двойной трубы, и наружная концевая часть гофрированной трубы зафиксирована. Тем не менее, сторона кабельного наконечника сверхпроводящего кабеля 201 в целом является подвижной. Как термическое сжатие, так и расширение сверхпроводящего кабеля 201 может автоматически компенсироваться путем использования управляющего устройства 230 (устройства обработки изображений). Часть кабельного наконечника сверхпроводящего кабеля 201 размещается внутри криостата 210 и делаются необходимые соединения. Целевой объект 212 камеры, находящийся в зоне видимости камеры, соединен с концевой частью сверхпроводящего кабеля 201 через секцию 211 поддержки наконечника. Целевой объект 212 камеры смещается, следуя за термическим сжатием или расширением сверхпроводящего кабеля 201. Камера 220 фиксирует это смещение, то есть фиксирует, что целевой объект 212 камеры смещается, следуя за термическим сжатием или расширением сверхпроводящего кабеля 201. Камера 220 фиксирует это, т.е. она фиксирует, что сверхпроводящий кабель сжимается и расширяется в процессе снижения температуры и повышения температуры соответственно. Управляющее устройство 230 осуществляет обработку изображений и вызывает перемещение криостата 210 при помощи приводного устройства 240 таким образом, чтобы термическое напряжение не возникало в сверхпроводящем кабеле 201.

<Закрепление сверхпроводящего кабеля 201>

Фиг.3 отображает схематический вид, изображающий поясняющую конфигурацию примерного варианта осуществления 3 в соответствии с данным изобретением. Сверхпроводящий кабель 301 имеет среднюю часть, вдоль длины кабеля прикрепленную к внутренней трубе (101 с фиг.1). Сверхпроводящий кабель 301 установлен во внутренней трубе (внутренней трубе 101 и в гофрированной трубе 102 с фиг.1) термически изолированной двойной трубы (202 с фиг.2), как изображено на фиг.1.

Сверхпроводящий кабель 301 периодически подвергается термическому сжатию и расширению в процессе охлаждения (низкая температура) и в процессе увеличения температуры (температура окружающей среды). Для предотвращения возникновения теплового напряжения в сверхпроводящем кабеле 301 сверхпроводящий кабель 301 имеет оба конца, сформированные в виде свободно поддерживаемых кабельных наконечников 302, 303, таким образом, чтобы они могли перемещаться в продольном направлении. В случае когда оба наконечника сверхпроводящего кабеля 301 могут перемещаться, таким образом, сверхпроводящий кабель целиком может перемещаться посредством совершения движений, аналогичных гусенице пяденицы, в одном или в противоположном направлениях. Следовательно, сверхпроводящий кабель 301 прикреплен к внутренней трубе в средней части вдоль длины сверхпроводящего кабеля 301, как указано с помощью части поддержки, прикрепленной к внутренней трубе, изображенной, например, на фиг.3.

<Разрежение до вакуума для термически изолированной двойной трубы>

Фиг.4 отображает схематический вид, изображающий конфигурацию пояснительного примерного варианта осуществления 4 данного изобретения. Газообразный оксид углерода вводится в вакуумную секцию 405 термической изоляции термически изолированной двойной трубы, которая является пространством вне внутренней трубы и внутри внешней трубы, посредством замещения газа газообразным оксидом углерода. При осуществлении замещения газа дважды, трижды или около этого вакуумная секция 405 термической изоляции становится, по существу, заполнена газообразным оксидом углерода. Вакуумная секция термической изоляции затем охлаждается. Так как газообразный оксид углерода затвердевает при температуре жидкого азота, устанавливается глубокий вакуум.

Такой газ, который затвердевает при температуре выше температуры жидкого азота, при малом значении давления насыщенного пара в этот момент, который является газообразным при температуре окружающей среды и давлении окружающей среды, который обладает относительно низкой вязкостью и диполярным моментом и который имеет относительно высокое массовое число, подходит для использования в качестве такого вида газа для замещения.

Таким образом, следующие газы:

а) инертные газы, такие как аргон или ксенон, за исключением неона;

b) газообразный хлорфторуглерод CFC (фреон), при условии, что в связи с существованием большого количества такого вида газов должен быть выбран тот газ, который удовлетворяет приведенным выше условиям;

с) газы на основе углеводородов, такие как этан, пропан или бутан; и

d) смесь(и) приведенных выше газов

подходят в качестве газа(ов) для замещения газа в дополнение к газообразному оксиду углерода.

В связи с большей длиной термически изолированной двойной трубы разрежение до вакуума термически изолированной двойной трубы является крайне длительной операцией. В качестве примера в 500 м кабеле проекта NEDO потребовался один месяц для разрежения вакуума. Если это расстояние увеличится в будущем до величины от нескольких до нескольких десятков километров, будет необходимо заканчивать разрежение до вакуума в более короткие сроки. Кроме того, для улучшения эффективности вакуумной термической изоляции должен быть установлен глубокий вакуум. Необходимо отметить, что технология, известная как «запекание», используется в таком случае. В этой технологии вакуумный сосуд нагревается извне для поддержания температуры в 100°С или более в течение нескольких часов, в процессе чего производится разрежение до вакуума с помощью вакуумного насоса. Тем не менее, технически практически невозможно осуществить запекание трубы с длиной от нескольких до нескольких десятков километров. По этой причине в эксперименте над кабелем длиной 200 м разрежение до вакуума было осуществлено без начального запекания.

С другой стороны, большинство из остаточных газов превращаются известным способом в «воду». При этом любое остаточное вещество в вакуумном сосуде заменяется азотом. Такое замещение азотом обычно осуществляется дважды или трижды. При этом вода в вакуумном сосуде поглощается газообразным азотом и удаляется для увеличения степени разрежения. После замещения азотом любое остаточное вещество было разрежено до вакуума вакуумным насосом вплоть до разрежения в 10-1 Па, т.е. до 0,1 Па. Если внутренняя труба охлаждается, должно быть достигнуто разрежение в 10-3 Па, т.е. 0,001 Па, таким образом, чтобы было возможно реализовать степень разрежения, необходимую для вакуумной термической изоляции. Тем не менее, в эксперименте, проведенном в марте 2010, степень разрежения вакуума почти не могла быть повышена, даже после охлаждения, таким образом, что получалась степень разрежения в долю Па в лучшем случае. Это не является разрежением, необходимым для вакуумной термической изоляции.

Мы исследовали основы этого и пришли к выводу, что упомянутый выше общепринятый подход в соответствии со здравым смыслом может быть справедлив для термически изолированного вакуумного сосуда при использовании жидкого гелия, и что если температурой внутренней трубы является температура жидкого азота, высока вероятность того, что газообразный азот остается в вакууме при высоком давлении. Фактически, мы проанализировали газ, остающийся в вакууме, и обнаружили, что газообразный азот являлся принципиальным компонентом вакуума.

Таким образом, мы пришли к упомянутой выше технологии. То есть к замещению газом, который затвердевает при температуре жидкого азота и который имеет малое значение давления насыщенного пара при такой температуре, и к охлаждению внутренней трубы, которые осуществляются в указанном порядке. Это заставляет газ затвердевать и прилипать к внутренней трубе, тем самым улучшая степень разрежения. Результаты эксперимента теперь будут описаны в качестве Примера.

<Разрежение до вакуума для термически изолированной двойной трубы (экспериментальные данные)>

Фиг.5(А) отображает график, изображающий изменения во времени степени разрежения в точке А, форме U и точке В термически изолированной двойной трубы после замещения газообразным оксидом углерода, за которым последовало охлаждение внутренней трубы до температуры жидкого азота. Точка А является местом, где вводится жидкий азот, с областью вблизи, форма U является местом разворота, а точка В является местом, где жидкий азот выводится, с областью вблизи. Фиг.5(В) отображает график, изображающий результаты массового анализа остаточных газов в вакууме. График с фиг.5(А) изображает изменения степени разрежения, полученные в эксперименте, проведенном с 1 по 5 июня 2010 г. Ось абсцисс отображает время, а ось ординат отображает степень разрежения в Па. Кроме того, на фигуре непрерывная линия отображает степень разрежения в точке А, прерывистая линия отображает степень разрежения в точке U, а штрихпунктирная линия с двойными точками отображает степень разрежения в точке В, и штрихпунктирная линия с одиночными точками отображает температуру. Когда начинается охлаждение (охлаждение в сторону уменьшения температуры), степень разрежения становится высокой, пока в итоге не достигает 3,7×10-4 Па, т.е. 0,00037 Па. Это значение на один порядок меньше амплитуды значения, полученного традиционным способом, тем самым свидетельствуя о крайне высокой эффективности термической изоляции в предложенном способе.

Фиг.5(В) изображает результаты анализа остаточных газов после достижения высокой степени разрежения. На фигуре ось абсцисс отображает массовое число, а ось ординат отображает парциальное давление. Эти значения свидетельствуют о степени разрежения, которая является довольно высокой по сравнению со значениями, полученными при традиционном способе замещения газообразным азотом.

<Предотвращение дисбаланса токов в сверхпроводящих материалах проволочной ленты>

Фиг.8 отображает схематический вид, изображающий конфигурацию поясняющего примерного варианта осуществления 5 в соответствии с данным изобретением. Наконечник 501, соединяющий с медным кабелем при температуре окружающего воздуха, соединен с первым проходом 502 между стороной окружающей среды и вакуумом, причем внутренней стороной является вакуум 504. Множество первых медных выводов 503, соединенных с первым наконечником 501, соединены с электродом 512 с вакуумной стороны первого прохода 502, соединенного с внешней трубой 511, в которой расположен сверхпроводящий кабель. Отметим, что соответствующие первые выводы 503 электрически изолированы друг от друга. Сверхпроводящий кабель расположен внутри охлаждающего агента, такого как жидкий азот, и составлен из множества сверхпроводящих материалов 507 проволочной ленты. В связи с их формой каждый из сверхпроводящих материалов 507 проволочной ленты имеет только предварительно определенное направление сгибания, таким образом, что он не может самостоятельно гибко адаптироваться к конкретному месту расположения (т.е. к разводке) в компоновке. В данном примерном варианте осуществления каждый из сверхпроводящих материалов 507 проволочной ленты соединен с каждым из множества вторых медных выводов 506. Таким образом, любая желаемая целевая часть сверхпроводящих материалов проволочной ленты может быть изогнута посредством вторых медных выводов 506 для достижения желаемого соединения. Тот факт, что медные выводы одинаковой длины и одинакового поперечного сечения могут быть соединены таким образом с соответствующими сверхпроводящими материалами 507 проволочной ленты, является ключевым. Эта структура была принята во всех экспериментальных устройствах университета Chubu.

Для части 508 соединения между вторыми медными выводами 506 и сверхпроводящими материалами 507 проволочной ленты необходимо предоставить стабилизированную фиксирующую структуру. Для этого часть 508 соединения сконструирована в виде удерживающей структуры для предоставления стабилизированной жесткой фиксации, не приводящей к напряжению, для части паяного соединения, соединяющей друг с другом вторые медные выводы 506 и сверхпроводящие материалы 507 проволочной ленты. Хотя удерживающая структура может иметь любую желаемую конфигурацию, она может быть составлена из первой пластины, имеющей множество углублений или отверстий на ее поверхности, и второй пластины, помещенной поверх первой пластины. Каждый из вторых медных выводов 506 и каждый из сверхпроводящих материалов 507 проволочной ленты адаптируется для проведения и перемещения из противоположных боковых сторон первой и второй пластин в каждое углубление или отверстие, таким образом, чтобы помещаться в нем. Две пластины затем скрепляются друг с другом болтами. Необходимо отметить, что поверхность второй пластины, направленная на поверхность первой пластины, может быть также обеспечена множеством углублений или отверстий относительно углублений первой пластины.

Вторые медные выводы 506 соединены со вторым проходом 505, действующим в качестве вакуумной герметизации и электрической изоляции. Эта конфигурация может гарантировать соединение между кабелем подачи энергии в секции температуры окружающей среды и сверхпроводящими материалами 507 проволочной ленты. В такой структуре электрическое сопротивление является частично соединенным последовательно с электрической цепью (любого) сверхпроводящего материала 507 проволочной ленты посредством медного вывода(ов), соединенного со сверхпроводящим материалом(ами) 507 проволочной ленты. Это делает возможным протекание одинакового тока через электрическую цепь сверхпроводящих материалов 507 проволочной ленты. Что касается данного вопроса, можно избежать неравномерного распределения тока, проходящего через сверхпроводящие материалы проволочной ленты, возникающего в связи с вариациями сопротивлений соединения, в случае когда в будущем будет произведен или соединен длинный сверхпроводящий кабель. Необходимо отметить, что хотя множество первых медных выводов 503 используется на фиг.8, всего один первый медный вывод может быть также использован. Тем не менее, в данном случае ток может быть сделан равномерным только с помощью электрических соединений вторых выводов.

Раскрытия упомянутых ранее Патентных Публикаций включены сюда в качестве ссылки на них. Примерные варианты осуществления или примеры могут быть модифицированы или изменены в рамках объема всего раскрытия данного изобретения, включая формулу изобретения, на основании фундаментальной технической идеи изобретения. Кроме того, различные комбинации или выборки элементов, раскрытых здесь, могут быть выполнены в рамках формулы изобретения. Данное изобретение может охватывать различные модификации или изменения, которые могут быть ясны специалистам в данной области техники, в рамках объема всего раскрытия данного изобретения, включая формулу изобретения и техническую идею данного изобретения.

Список условных обозначений:

11 - секция прохождения охлаждающего агента

12 - секция сверхпроводящего проводника

13 - секция электрической изоляции

14 - секция вакуумной термической изоляции

15 - внутренняя труба (первая труба)

16 - внешняя труба (вторая труба)

17 - PVC антикоррозионный слой

101 - секция внутренней трубы прямой формы

102 - гофрированная труба

103 - внешняя труба

104 - секция поддержки внутренней трубы

105 секция вакуумной термической изоляции

201 - сверхпроводящий (СП) кабель

202 - термически изолированная двойная труба (труба с двойной оболочкой)

203 - гофрированная труба

210 - криостат

211 - секция поддержки наконечника

212 - целевой объект камеры

213 - осветительное устройство

214 - термически изолирующий элемент (отделяющий отсек)

215 - окно

216 - элемент соединения

220 - камера

230 - управляющее устройство

240 - приводное устройство

301 - сверхпроводящий кабель

302, 303 - кабельные наконечники со свободной поддержкой

304 - часть поддержки, прикрепленная к внутренней трубе

401 - внутренняя труба

402 - гофрированная труба

403 - внешняя труба

404 - секция поддержки внутренней трубы

405 - секция вакуумной термической изоляции

501 - наконечник

502 - первый проход

503 - первые медные выводы

504 - вакуум

505 - второй проход

506 - вторые медные выводы

507 - сверхпроводящие материалы проволочной ленты

508 - часть соединения

509 - охлаждающий агент

510 - внутренняя труба

511 - внешняя труба

512 - электрод

1. Сверхпроводящая система передачи энергии, содержащая:термически изолированную двойную трубу, составленную внутренней трубой, внутри которой установлен сверхпроводящий кабель, и внешней трубой, внутри которой размещена внутренняя труба; иэлемент(ы) поддержки внутренней трубы, поддерживающий(ие) внутреннюю трубу;причем элемент(ы) поддержки внутренней трубы прикреплен(ы) к внутренней и внешней трубам,причем система дополнительно содержит:объект, который должен сниматься камерой, причем объект соединен с концевой частью сверхпроводящего кабеля внутри криостата;камеру, установленную в месте, термически изолированном от криостата; причем камера выполнена с возможностью формирования изображения объекта внутри криостата через окно;управляющее устройство, которое анализирует данные изображения объекта, полученного камерой, для обнаружения его смещения; иприводное устройство, которое при обнаружении смещения объекта управляющим устройством вызывает перемещение всего криостата целиком.

2. Сверхпроводящая система передачи энергии по п. 1, дополнительно содержащая:гофрированную трубу, расположенную во внешней трубе; причем гофрированная труба соединена с концом(ами) внутренней трубы; причем сверхпроводящий кабель расположен внутри гофрированной трубы.

3. Сверхпроводящая система передачи энергии по п. 1, дополнительно содержащая осветительное устройство, которое освещает объект.

4. Сверхпроводящая система передачи энергии по п. 1, дополнительно содержащая гофрированную(ые) труб