Двигатель внутреннего сгорания

Иллюстрации

Показать все

Изобретение относится к поршневым двигателям внутреннего сгорания и может быть использовано преимущественно в двигателях с непосредственным впрыском топлива в камеру сгорания. В двигателе, содержащем цилиндр, поршень и головку цилиндров с впускным клапаном, образующие камеру сгорания, головка цилиндров имеет направляющий аппарат. Направляющий аппарат имеет радиально-тангенциальные каналы и расположен таким образом, что воздух, поступающий в камеру сгорания через впускной клапан, проходит через каналы, закручивается и образует вихрь. Устройство для подачи топлива удалено от оси цилиндра и впрыск топлива производится в область вихря, имеющую большую окружную скорость. Изобретение позволяет улучшить перемешивание топлива с воздухом, повысить полноту сгорания и обеспечить плавность горения. 2 з.п. ф-лы, 4 ил.

Реферат

Изобретение относится к поршневым двигателям внутреннего сгорания и может быть использовано преимущественно в двигателях с непосредственной подачей топлива в камеру сгорания.

Известно устройство (патент РФ RU 2275516 C1, F02B 29/00. Впускной коллектор двигателя внутреннего сгорания. / Христенко Алексей Владимирович [UA], Леонов Виктор Евгеньевич [RU]; Заявка: 2004133205/06, 15.11.2004; Опубликовано: 27.04.2006), в котором топливовоздушная смесь подвергается закрутке перед входом во впускной клапан двигателя.

Недостатком такого устройства является то, что закрутка топливовоздушной смеси в значительной степени теряется при прохождении впускного клапана и далее при расширении в камере сгорания. Кроме того, закрутка смеси перед клапаном уменьшает пропускную способность клапана.

Целью изобретения является оптимальная закрутка воздуха в камере сгорания и, соответственно, обеспечение хорошего перемешивания топлива с воздухом, высокой полноты сгорания топлива и плавности горения.

Указанная цель достигается тем, что в двигателе внутреннего сгорания, содержащем цилиндр, поршень и головку цилиндра с впускным клапаном, образующие камеру сгорания, а также устройство для подачи топлива в камеру сгорания, головка цилиндров имеет направляющий аппарат с радиально-тангенциальными каналами, расположенный со стороны камеры сгорания вблизи впускного клапана, а устройство для подачи топлива установлено на удалении от оси цилиндра.

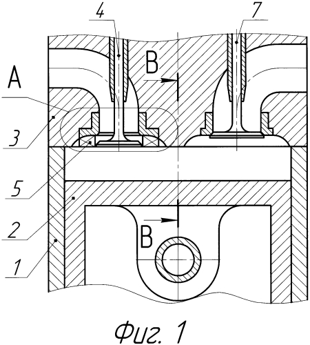
Двигатель показан на фиг. 1. На фиг. 2 показан вид А с фиг. 1. На фиг. 3 показан разрез Б-Б с фиг. 2. На фиг. 4 показан разрез В-В с фиг. 1.

Двигатель содержит цилиндр 1, поршень 2, головку 3 цилиндра, впускной клапан 4, направляющий аппарат 5, форсунку 6 для подачи топлива и выпускной клапан 7. Положения клапанов 4 и 7 соответствуют такту впуска. Цилиндр 1, поршень 2 и головка 3 образуют камеру сгорания. Направляющий аппарат 5 имеет радиально-тангенциальные каналы (фиг. 3). При открытии клапана 4 воздух поступает в камеру сгорания преимущественно по радиально-тангенциальным каналам направляющего аппарата 5. Положение форсунки 6 показано на фиг. 4.

Двигатель работает следующим образом. На такте впуска поршень 2 движется вниз и впускной клапан 4 открыт. Воздух через открытый клапан 4 поступает в направляющий аппарат 5 и далее в камеру сгорания. При прохождении через каналы направляющего аппарата 5 воздух закручивается и в камере сгорания образуется воздушный вихрь. За время такта впуска и далее такта сжатия воздушный вихрь выравнивается и становится практически соосным с цилиндром. Поскольку диаметр цилиндра 1 больше выпускного диаметра направляющего аппарата 5, степень закрученности вихря в камере сгорания будет ниже, чем на выходе из направляющего аппарата 5. Потери энергии вихря на выравнивание и трение за время тактов впуска и сжатия будут существенными, однако значительная часть энергии сохранится к моменту впрыска топлива. Поскольку форсунка 6 расположена на удалении от оси цилиндра 1, подача топлива производится в область воздушного вихря, имеющую значительную окружную скорость, и, таким образом, топливо, а для двигателей Дизеля и зона горения, распределяется по кругу. Качество смешивания топлива с воздухом улучшается, а процесс горения происходит плавно.

Техническое решение позволяет обеспечить плавность горения и высокую полноту сгорания топлива и, соответственно, низкую токсичность выхлопных газов.

1. Двигатель внутреннего сгорания, содержащий цилиндр, поршень и головку цилиндра с впускным клапаном, образующие камеру сгорания, а также устройство для подачи топлива в камеру сгорания, отличающийся тем, что головка цилиндра имеет направляющий аппарат, расположенный со стороны камеры сгорания вблизи впускного клапана.

2. Двигатель по п. 1, отличающийся тем, что направляющий аппарат имеет радиально-тангенциальные каналы.

3. Двигатель по п. 1 или 2, отличающийся тем, что устройство для подачи топлива в камеру сгорания удалено от оси цилиндра.