Двухсекционная функциональная кровать

Иллюстрации

Показать все

Изобретение относится к медицинской технике, в частности к функциональным кроватям, может найти применение в стационарах и профилактических лечебных учреждениях, а также в домашних условиях для размещения, обслуживания и лечения тяжелых больных с целью обеспечения благоприятных условий при проведении терапии лежащего пациента и направлено на повышение удобства расположения больного. Двухсекционная функциональная кровать включает основание на колесах, на котором установлены с возможностью поворота спинная и ножная секции, снабженные матрасом. Изменение угла поворота обеих секций производится отдельными механизмами. В плоскости спинной секции установлена управляемая исполнительным механизмом поворотная панель, равная по ширине спинной секции, нижний край которой расположен в районе поясницы человека, выполненная с возможностью регулирования величины подъема над поверхностью спинной секции при ее повороте, и с возможностью предварительной установки момента начала подъема нижнего края панели. 2 ил.

Реферат

Изобретение относится к функциональной мебели, в частности к функциональным кроватям, и может найти применение в стационарах и профилактических лечебных учреждениях, а также в домашних условиях для размещения, обслуживания и лечения тяжелых больных с целью обеспечения благоприятных условий при проведении терапии лежащего пациента.

Существуют различные конструкции медицинских кроватей с регулируемыми секциями для поддержания тела пациента в необходимом положении. Известны различные многосекционные медицинские кровати, состоящие из основания на колесах с установленными на нем подвижными секциями, положение которых регулируется с помощью различных исполнительных механизмов за счет изменения углов наклона секций, что позволяет изменять положение больного.

Например, медицинские кровати, выпускаемые фирмой «Merivaara Corp.», Финляндия (www. merivaara. com) типа «Futura junior», состоящие из рамы с колесами, на которой шарнирно установлены спинная, тазобедренная и ножная секции, регулируются при помощи пневмоцилиндров.

Медицинские кровати, выпускаемые ООО «Диакомс» КМФ-3, предусматривают регулирование угла наклона подвижных спинной и ножной частей при помощи механизма фиксации "RASTOMAV или при помощи газовой пружины КМФ-3ГП (http://diacoms.ru/catalog/krovati/123.html), а в кровати модели КФ2-01-МСК, выпускаемой группой компаний «Медсталь», регулируют углы наклона секций при помощи зубчатой рейки (гребенки) (http://www.medstal.ru/tovar/krov/opisanie.php?g=mskl02).

Подобные кровати за счет возможности регулирования угла наклона секций обеспечивают поддержание тела пациента в необходимом положении. Однако общим существенным недостатком рассмотренных конструкций медицинских кроватей является то, что спинная секция выполнена без учета анатомо-физиологических требований. Плоская поверхность спинной секции медицинских кроватей в данных конструкциях при ее трансформации в спинку кресла приводит к быстрому утомлению пациента, а в некоторых случаях даже к развитию ряда заболеваний.

Шведский врач-гигиенист Бент Акерблом усовершенствовал линию спинки стула в соответствии с анатомо-физиологическими требованиями (опора под поясницу вкупе с наклонным сиденьем), которая в дальнейшем получила название «линии Акерблома». Кровать медицинская, разработанная с учетом «линии Акерблома», позволяет позвоночнику при сидении принимать естественное S-образное положение. При этом обеспечивается не только комфортное положение пациента, но и сводится к минимуму нагрузка на его мышцы и скелет.

В качестве прототипа рассмотрим кровать функциональную КФ2-01-МСК (код МСК-2102) (производитель группа компаний «Медсталь» http://www.rosmed.ru/scatalog/show/7683/Krovat_funkcionalnaya_KF2_01_MSK _kod_MSK_2102), включающую основание на колесах, на котором шарнирно установлены спинная и ножная секции, соединенные с основанием исполнительными механизмами. Наклоны секций регулируются при помощи отдельных винтовых механизмов, управляемых вращением рукояток, расположенных под ножной спинкой.

К недостаткам рассматриваемой кровати следует отнести то, что конструкция разработана без учета анатомо-физиологических особенностей позвоночника. Плоская поверхность спинной и ножной секций при трансформации в кресло не образуют «линии Акерблома», что неблагоприятно сказывается на состоянии пациента и при длительном сидении.

Задачей изобретения является создание конструкции функциональной кровати, эргономические требования которой соответствуют анатомо-физиологическим характеристикам, учитывающим «линию Акерблома», при этом одновременно обеспечивая комфорт пациента и удобство в эксплуатации, плавность и скорость осуществляемых трансформаций.

Данный технический результат достигается предложенной конструкцией. Двухсекционная функциональная кровать включает основание на колесах, на котором установлены с возможностью поворота спинная и ножная секции, снабженные матрасом, Изменение угла поворота обеих секций производится отдельными механизмами. В плоскости спинной секции установлена управляемая исполнительным механизмом поворотная панель, равная по ширине спинной секции, нижний край которой расположен в районе поясницы человека, выполненная с возможностью регулирования величины подъема над поверхностью спинной секции при ее повороте, и с возможностью предварительной установки момента начала подъема нижнего края панели.

Наличие в конструкции кровати поворотной панели позволяет при трансформации кровати в кресло придать матрасу конфигурацию, близкую к конфигурации спины пациента, изгибая его в соответствии с «линией Акерблома». При этом предусмотрена возможность регулирования размеров конфигурации в соответствии с антропометрическими параметрами пациента. При переводе спинной секции в исходное положение матрац принимает исходное плоское положение.

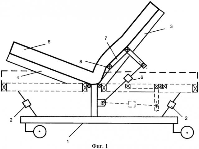
Общий вид предложенной конструкции изображен на Фиг.1. Исполнительный механизм подъема поворотной панели изображен на Фиг.2.

Двухсекционная функциональная кровать включает основание на колесах 1, на котором установлены с возможностью поворота отдельными механизмами 2 спинная 3 и ножная секции 4, снабженные матрасом 5. В плоскости спинной секции 3 расположена управляемая исполнительным механизмом 6 поворотная панель 7, нижний край 8 которой расположен в районе поясницы человека. В качестве исполнительного механизма 6 могут быть использованы различные механизмы. В данном примере реализации использован исполнительный механизм 6 (Фиг.2), состоящий из шарнирно установленного на основании 1 корпуса 9, в который ввернута тяга 10 со штурвалом 11. На конце тяги установлена с возможностью вращения скоба 12 с пазом 13. Скоба 12 надета на ось 14, установленную на кронштейне 15 поворотной панели 7.

Эксплуатация кровати медицинской осуществляется следующим образом. Придание поверхности матраца формы по типу линии Акерблома производится подъемом нижнего конца 8 поворотной панели 7 над поверхностью спинной секции 3. В исходном положении обе секции 3 и 4 расположены горизонтально. Поворот обеих секций осуществляется раздельно. Для этого могут быть использованы различные механизмы подъема с ручным, электромеханическим и пневматическим (гидравлическим) приводами. Механизмом 2 ножную секцию 4 поднимают вверх на заданный угол, препятствующий сползанию человека при подъеме спинной секции. Спинную секцию 3 поднимают вверх при помощи второго механизма 2. Поворот панели 7 при повороте спинной секции 3 производится механизмом 6 следующим образом. При повороте спинной секции 3 исполнительный механизм 6 поворачивает поворотную панель 7 с помощью кронштейна 15. В исходном положении с помощью штурвала 11 вращением тяги 10 устанавливаем требуемое положение паза 13 скобы 12 на оси 14 таким образом, чтобы подъем нижнего края 8 поворотной панели 7 начался с заданной величины поворота спинной секции 3. Это обеспечивается установкой заданной величины зазора между краем паза 13 и осью 14 и одновременно устанавливается максимальная величина подъема нижнего конца 8 поворотной панели 7. В случае необходимости, вращая штурвал 11, можно регулировать величину подъема нижнего конца 8 при любом положении спинной секции 3. При опускании спинной секции 3 поворотная панель 7 возвращается в исходное положение и матрас 5 становится плоским.

Двухсекционная функциональная кровать, включающая основание на колесах, на котором установлены с возможностью поворота спинная и ножная секции, снабженные матрасом, причем изменение угла поворота обеих секций производится отдельными механизмами, отличающаяся тем, что в плоскости спинной секции установлена управляемая исполнительным механизмом поворотная панель, равная по ширине спинной секции, нижний край которой расположен в районе поясницы человека, выполненная с возможностью регулирования величины подъема над поверхностью спинной секции при ее повороте, и с возможностью предварительной установки момента начала подъема нижнего края панели.