Печатующее устройство, способ управления и запоминающий носитель

Иллюстрации

Показать все

Печатающее устройство включает в себя блок подачи, подающий печатный носитель, блок печати, блок обрезки, обрезающий печатный носитель в направлении, перпендикулярном по отношению к направлению подачи печатного носителя, и блок управления. Управление исполняет тестовую операцию. Тестовая операция включает в себя печать метки и обрезку печатного носителя, когда подача печатного носителя остановлена. 3 н. и 14 з.п. ф-лы, 11 ил.

Реферат

УРОВЕНЬ ТЕХНИКИ

ОБЛАСТЬ ТЕХНИКИ

[0001] Изобретение относится к печатающему устройству, способу управления и запоминающему носителю.

ОПИСАНИЕ ПРЕДШЕСТВУЮЩЕЙ ОБЛАСТИ ТЕХНИКИ

[0002] При печати на таком печатном носителе, как рулонная бумага, необходимо обрезать печатный носитель. Известно печатающее устройство, включающее в себя резак, который обрезает печатный носитель. С другой стороны, если позиция обрезки печатного носителя смещается, даже маленький сдвиг может создать проблему. Например, такие проблемы возникают, когда требуется высокая точность, как в случае рисунков, и когда печатные носители, изображения на которых напечатаны множеством печатающих устройств, переплетаются в книгу. В частности, когда соответствующие страницы имеют разную длину, даже если передние края страниц выровнены, задние края не выровнены. Печать всех страниц буклета посредством использования одного печатающего устройства может предотвратить наличие у страниц разной длины. Однако эта книга отличается по длине от книги, сформированной другим печатающим устройством. Сдвиг позиции обрезки вызван такими факторами, как погрешность величины подачи печатного носителя и погрешность монтажа резака относительно печатающего устройства.

[0003] В качестве способа устранения сдвигов позиции обрезки выложенный патент Японии №2002-254756 предложил методику исправления величины подачи печатного носителя в соответствии с условиями использования для печатающего устройства. Патент Японии №4193026 и выложенный патент Японии №2003-231315 предложили методику печати шаблона для проверки позиции обрезки на печатном носителе, обрезки печатного носителя по шаблону и настройки величины корректировки для величины подачи на основе позиции обрезки и шаблона.

[0004] Методика, раскрытая в выложенном патенте Японии №2002-254756, разработана для уменьшения погрешности величины подачи печатного носителя, но не уделяет внимания сдвигу позиции обрезки, вызванному структурной погрешностью, такой как погрешность монтажа резака относительно печатающего устройства. Методика, раскрытая в патенте Японии №4193026 и выложенном патенте Японии №2003-231315, разработана для обрезки печатного носителя после того, как напечатан шаблон, и печатный носитель подается на предопределенную величину. Погрешность также может возникнуть в величине подачи печатного носителя. Таким образом, невозможно определить, вызван ли сдвиг позиции обрезки шаблона структурной погрешностью и погрешностью подачи. Поскольку погрешность подачи изменяется, даже корректировка величины подачи на величину корректировки, полученной на основе позиции обрезки шаблона, иногда приводит к сдвигу позиции обрезки.

СУЩНОСТЬ ИЗОБРЕТЕНИЯ

[0005] Настоящее изобретение обеспечивает методику уменьшения влияния погрешности величины подачи печатного носителя при проверке сдвига позиции обрезки.

[0006] В соответствии с аспектом настоящего изобретения обеспечено печатающее устройство, содержащее: блок подачи, выполненный с возможностью подавать печатный носитель; блок печати, выполненный с возможностью печатать изображение на печатном носителе; блок обрезки, выполненный с возможностью обрезать печатный носитель в направлении, перпендикулярном по отношению к направлению подачи материала печатного носителя; и блок управления, выполненный с возможностью управлять блоком подачи, блоком печати и блоком обрезки, причем блок управления выполнен с возможностью исполнять тестовую операцию, и тестовая операция включает в себя печать метки посредством использования блока печати и обрезку печатного носителя посредством использования блока обрезки, когда подача печатного носителя блоком подачи остановлена.

[0007] Дополнительные признаки настоящего изобретения станут очевидны из последующего описания иллюстративных вариантов осуществления (со ссылкой на приложенные чертежи).

КРАТКОЕ ОПИСАНИЕ ЧЕРТЕЖЕЙ

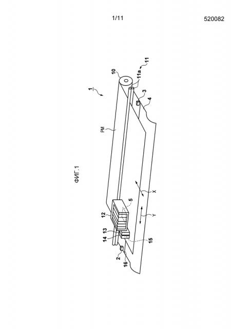
[0008] Фиг. 1 - схематический вид печатающего устройства в соответствии с вариантом осуществления настоящего изобретения.

[0009] Фиг. 2 - блок-схема, показывающая компоновку блока управления печатающего устройства, показанного на фиг. 1.

[0010] Фиг. 3A-3D - виды для разъяснения проблемы при корректировке сдвига позиции обрезки.

[0011] Фиг. 4A и 4B - виды для разъяснения способа измерения сдвига позиции обрезки.

[0012] Фиг. 5A-5D виды для разъяснения отношения размерностей.

[0013] Фиг. 6 - блок-схема последовательности операций, показывающая пример обработки, исполняемой блоком управления, показанным на фиг. 2.

[0014] Фиг. 7A-7C - виды для разъяснения способа измерения сдвига позиции обрезки при печати шаблона.

[0015] Фиг. 8 - блок-схема последовательности операций, показывающая пример обработки, исполняемой блоком управления, показанным на фиг. 2.

[0016] Фиг. 9A-9D - виды для разъяснения способа автоматического измерения сдвига позиции обрезки.

[0017] Фиг. 10A-10C - виды для разъяснения примера печати шаблона.

[0018] Фиг. 11 - блок-схема последовательности операций, показывающая пример обработки, исполняемой блоком управления, показанным на фиг. 2.

ОПИСАНИЕ ВАРИАНТОВ ОСУЩЕСТВЛЕНИЯ

[0019] <ПЕРВЫЙ ВАРИАНТ ОСУЩЕСТВЛЕНИЯ>

Фиг. 1 является схематическим видом печатающего устройства 1 в соответствии с вариантом осуществления. Этот вариант осуществления проиллюстрирует случай, в котором настоящее изобретение применено к струйному печатающему устройству последовательного типа. Однако настоящее изобретение может быть применено к печатающим устройствам других типов.

[0020] Следует отметить, что "печать" включает в себя не только формирование значимой информации, такой как символы и графика, но также и формирование изображений, фигур, шаблонов и т.п. на печатных носителях в широком смысле или обработку печатных носителей, независимо от того, является ли сформированная информация значимой или незначимой или сформирована ли информация как визуализированная, чтобы человек мог визуально воспринимать ее. Кроме того, хотя в этом варианте осуществления в качестве "печатного носителя" подразумевается листовая бумага, в качестве печатных носителей могут использоваться ткань, пластиковая пленка и т.п.

[0021] <КОМПОНОВКА УСТРОЙСТВА>

Печатающее устройство 1 является устройством, которое включает в себя блок 11 подачи, блок 5 печати, блок 13 обнаружения и блок 14 обрезки и печатает изображение на печатном носителе PM. В этом варианте осуществления печатный носитель PM представляет собой рулонную бумагу 10, намотанную в форме рулона. Однако печатный носитель PM может представлять собой отрезанные листы, заранее нарезанные по стандартному размеру. Блок 11 подачи вытягивает печатный носитель PM из рулонной бумаги 10 на длину, требуемую для печати изображения. Следует отметить, что рулонная бумага 10 может обеспечиваться с помощью приводного механизма, который вращает рулонную бумагу, чтобы помочь вытянуть и подхватить печатный носитель PM.

[0022] Блок 11 подачи может подавать печатный носитель PM. В этом варианте осуществления блок 11 подачи включает в себя пару валиков 11a подачи. Блок 11 подачи включает в себя приводной механизм (не показан) и приводит во вращательное движение один из пары валиков 11a подачи в качестве приводного валика. Другой из пары валиков 11a подачи прижимается с давлением к приводному валику, чтобы следовать вращательному движению. Печатный носитель PM подается на пластину 4 зажатым между парой валиков 11a подачи. В качестве приводного механизма валиков 11a подачи может использоваться, например, зубчатый механизм, имеющий двигатель в качестве источника движущей силы. Датчик (например, кодер) (не показан) обнаруживает величину вращения валиков 11a подачи для управления величиной подачи печатного носителя PM.

[0023] В последующем описании термины "восходящая сторона" и "нисходящая сторона" использованы в отношении направления подачи печатного носителя PM блоком 11 подачи. Направление подачи печатного носителя PM обозначено стрелкой X на фиг. 1 и иногда называется направлением субсканирования. Стрелка Y указывает направление, перпендикулярное по отношению к направлению подачи печатного носителя PM. Это направление иногда называют направлением основного сканирования. Рулонная бумага 10 и пара валиков 11a подачи расположены так, что эти осевые направления параллельны по отношению к направлению основного сканирования Y.

[0024] Блок 5 печати расположен в нисходящем направлении от пары валиков 11a подачи и может печатать изображение на печатном носителе PM, поданном парой валиков 11a подачи. В этом варианте осуществления блок 5 печати формирует печатающую головку, включающую в себя множество сопел, которые выпускают чернила.

[0025] Блок 5 печати смонтирован на каретке 12. Резервуар, который подает чернила в блок 5 печати, смонтирован в каретке 12. Приводной механизм (не показан) может перемещать каретку 12 туда и обратно в направлении Y. В качестве приводного механизма для каретки 12 может использоваться, например, механизм ременной передачи, имеющий двигатель в качестве источника движущей силы. Датчик (например, кодер) (не показан) обнаруживает позицию каретки 12 для управления перемещением каретки 12.

[0026] Блок 13 обнаружения может обнаруживать изображение, напечатанное на печатном носителе PM, край печатного носителя PM, толщину печатного носителя PM и т.п. Блок 13 обнаружения смонтирован на каретке 12 и перемещается в направлении Y вместе с кареткой 12. Результат обнаружения, полученный блоком 13 обнаружения, может быть связан с позицией на печатном носителе PM посредством использования результата обнаружения позиции каретки 12 и величины подачи печатного носителя PM посредством блока 11 подачи.

[0027] Блок 13 обнаружения включает в себя, например, оптический датчик, включающий в себя светоизлучающий элемент и принимающий свет элемент. Светоизлучающий элемент облучает пластину 4 светом. Принимающий свет элемент принимает отраженный свет. При обнаружении позиции переднего края печатного носителя PM посредством использования блока 13 обнаружения, например, печатный носитель PM подается для временного прохода через блок 13 обнаружения и затем подается назад на восходящую сторону. Когда передний край печатного носителя PM проходит через блок 13 обнаружения, количество света, принятого принимающим свет элементом, изменяется вследствие различия коэффициента отражения между пластиной 4 и печатным носителем PM. Возможно обнаружить позицию переднего края печатного носителя PM на основе результата обнаружения величины вращения валиков 11a подачи. Аналогичным образом, также возможно обнаружить позицию изображения, напечатанного на печатном носителе PM, на основе результата обнаружения величины вращения валиков 11a подачи в точке изменения результата приема света, полученного принимающим свет элементом, и результата обнаружения позиции каретки 12.

[0028] Блок 14 обрезки может обрезать печатный носитель PM в направлении Y. Блок 14 обрезки смонтирован на каретке 12 и перемещается в направлении Y вместе с кареткой 12. В этом варианте осуществления блок 14 обрезки включает в себя круговое лезвие 15, которое может быть размещено в блоке. Блок 14 обрезки включает в себя механизм выдвигания и втягивания для выдвигания и втягивания кругового лезвия 15. При перемещении каретки 12, чтобы заставить блок 14 обрезки примыкать к выступающей части 2, механизм выдвигания и втягивания использует прижимающую силу, чтобы выдвинуть круговое лезвие 15 вниз. При перемещении каретки 12, чтобы заставить блок 14 обрезки примыкать к выступающей части 3, механизм выдвигания и втягивания использует прижимающую силу, чтобы втянуть круговое лезвие 15 внутрь блока 14 обрезки. Пластина 4 снабжена плоским лезвием 16, продолжающимся в направлении Y.

[0029] В отсутствие обрезки печатного носителя PM круговое лезвие 15 втянуто в блок 14 обрезки. Это предотвращает обрезку печатного носителя PM круговым лезвием 15. При обрезке печатного носителя PM круговое лезвие 15 выдвигается вниз. Печатный носитель PM удерживается между круговым лезвием 15 и плоским лезвием 16. При перемещении каретки 12 круговое лезвие 15, вращаясь, обрезает печатный носитель PM.

[0030] <БЛОК УПРАВЛЕНИЯ>

Компоновка блока управления печатающего устройства 1 будет описана со ссылкой на фиг. 2. Блок 20 управления является, например, центральным процессором (ЦП; CPU) и управляет всем печатающим устройством 1. Главный компьютер (не показан) соединен с возможностью взаимодействия с интерфейсным (I/F) блоком 24. Интерфейсный блок 24 является, например, интерфейсом Centronics или USB. Когда главный компьютер отправляет команду и данные печати печатающему устройству 1, печатающее устройство 1 работает в соответствии с командой, чтобы напечатать изображение на печатном носителе PM. Печатающее устройство 1 также может уведомить главный компьютер о своем состоянии, отправляя команду и данные главному компьютеру. Это позволяет, например, отправить пользователю уведомления различных типов.

[0031] Блок 21 обработки изображений выполняет гамма-коррекцию, цветовую обработку, обработку расширения/сокращения, бинаризацию и т.п. для данных печати (многоуровневых данных изображения), отправленных от интерфейсного блока 24. Блок 21 обработки изображений состоит, например, из запоминающего устройства и процессора (например, специализированной интегральной схемы (ASIC), процессора цифровых сигналов (DSP) или микросхемы с сокращенным набором команд (RISC)). Блок 21 обработки изображений иногда имеет компоновку и функцию для выполнения обработки посредством использования драйвера или процессора растровых изображений (RIP) на стороне главного компьютера для достижения сокращения затрат.

[0032] Данные печати, преобразованные в растр на последней стадии обработки в блоке 21 обработки изображений, временно сохраняются в блоке 26 памяти. Блок 26 памяти сформирован, например, из запоминающего устройства, соответствующего одной или более полосам, необходимым для каретки 12, для выполнения одного сканирования в направлении основного сканирования для печати. Блок 26 памяти также может использоваться для хранения информации различных типов, такой как информация, связанная с изображением печати во время печати, информация о положении печатного носителя PM и информация значения коррекции для позиции обрезки.

[0033] Контроллер 25 памяти записывает/считывает данные печати в блок 26 памяти и из него под управлением блока 21 обработки изображений и формирует сигнал адреса и сигнал синхронизации записи/считывания для блока 26 памяти.

[0034] Данные печати, считанные из блока 26 памяти, выдаются контроллеру 27 головки синхронно с сигналом считывания от контроллера 27 головки. Контроллер 27 головки формирует сигнал синхронизации для выпуска чернил и импульса тепла в блоке 5 печати на основе сигнала от линейной шкалы (не показана) под управлением блока 20 управления. Блок 5 печати включает в себя печатающие головки, соответствующие цветным чернилам, и выпускает чернила после нагревания блоков нагревателя под управлением блока 20 управления и контроллера 27 головки.

[0035] Блок 23 привода механизма включает в себя двигатели механизма привода для каретки 12 и блока 11 подачи, блок восстановления для восстановления после засорения чернил и датчики различных типов. Блок 20 управления получает результаты обнаружения от датчиков и управляет приведением в движение двигателей.

[0036] Операционная панель 22 включает в себя клавиши, которые являются переключателями (не показаны), и устройство отображения, которое отображает состояние печатающего устройства 1 и меню. Блок 20 управления отображает изображения, символы и т.п. на экране как устройстве отображения, отслеживает операции клавиш и принимает от пользователя ввод информации различных типов.

[0037] <КОРРЕКТИРОВКА СДВИГА ПОЗИЦИИ ОБРЕЗКИ>

<ПРОБЛЕМЫ>

Структурная погрешность, такая как погрешность монтажа блока 14 обрезки или погрешность подачи блока 11 подачи, иногда приводит к сдвигу позиции обрезки печатного носителя PM блоком 14 обрезки. Иногда невозможно улучшить точность корректировки из-за наличия этих факторов погрешности сдвига позиции обрезки. Этот вопрос будет описан ниже. Фиг. 3A-3D являются видами для разъяснения проблемы при корректировке сдвига позиции обрезки.

[0038] На фиг. 3A прерывистая линия 80 указывает позицию на печатном носителе, в которой носитель должен быть обрезан, и прерывистая линия 81 указывает позицию, в которой носитель обрезается фактически. Фиг. 3A показывает пример экстремального сдвига позиции обрезки для простоты понимания. Расстояние между прерывистой линией 80 и прерывистой линией 81 соответствует величине сдвига позиции обрезки. Ее измерение позволяет корректировать сдвиг позиции обрезки.

[0039] Таким образом, доступен способ получения величины сдвига позиции обрезки посредством печати шаблона регулировки позиции обрезки на печатном носителе и обрезки носителя по шаблонам. Фиг. 3B-3D демонстрируют пример этого способа. Фиг. 3B-3D являются видами, каждый из которых демонстрирует печатный носитель при рассмотрении сверху. Прерывистая линия 84 указывает фактическую позицию обрезки блока обрезки.

[0040] Прежде всего, как показано на фиг. 3B, каретка 83 печатает три прямоугольных шаблона 85, 86 и 87. Печатный носитель затем подается на величину подачи, обозначенную стрелкой 88, для определения местоположения шаблонов 85, 86 и 87 на прерывистой линии 84. Величина подачи, обозначенная стрелкой 88, является величиной подачи управления. Если не имеется ни погрешности подачи, ни структурной погрешности, шаблон 86 обрезается в середине.

[0041] В любом из случаев, показанных на фиг. 3C и 3D, шаблон 86 не обрезается в середине, и, следовательно, произошел сдвиг позиции обрезки. В случае, показанном на фиг. 3C, позиция обрезки сместилась к нисходящей стороне на один шаблон. В случае, показанном на фиг. 3D, позиция обрезки сместилась к восходящей стороне на один шаблон. Таким образом, возможно скорректировать сдвиг позиции обрезки посредством корректировки величины подачи на величину этого сдвига. Однако фактор или факторы сдвига позиции обрезки неизвестны. Неизвестно, был ли сдвиг вызван одной или обеими из структурных погрешностей, таких как погрешность монтажа блока 14 обрезки и погрешность подачи блока 11 подачи.

[0042] Величина изменения такой структурной погрешности, как погрешность монтажа блока 14 обрезки, является относительно небольшой. Напротив, величина изменения погрешности подачи блока 11 подачи является относительно большой.

[0043] Факторы погрешности подачи включают в себя, например, следующее. Предположим, что когда двигатель приводится в движение посредством 100 импульсов, в то время как к рулонной бумаге приложено обратное натяжение, печатный носитель подается на 100 мм. Когда печатный носитель ослаблен, чтобы не принимать обратное натяжение, нагрузка уменьшается. В этом состоянии, когда двигатель приводится в движение посредством 100 импульсов, печатный носитель иногда подается на 150 мм. Когда тип печатного носителя, среды использования и т.п. изменяется, величина смещения печатного носителя изменяется. Это может привести к такой погрешности.

[0044] Кроме того, рулонная бумага значительно варьирует по весу в зависимости от величины намотки, ширины и т.п. Замена рулонной бумаги с маленьким оставшимся количеством на новую рулонную бумагу значительно изменит вес. Валики подачи иногда замедляются при вращении вследствие износа. В таком случае, когда двигатель приводится в движение посредством 100 импульсов, печатный носитель иногда подается только на 50 мм.

[0045] Предположим, например, случай, в котором допуск позиции обрезки от начала использования до конца использования одной части рулонной бумаги находится в пределах одного шаблона на каждой из нисходящей и восходящей сторон. Предположим, что случай, показанный на фиг. 3C, соответствует погрешности -1, и случай, показанный на фиг. 3D, соответствует погрешности +1. В соответствии с характеристиками подачи, если погрешность составляет -1 в начале использования рулонной бумаги, как на фиг. 3C, и погрешность составляет +1 в конце использования, как на фиг. 3D, реализована подача в пределах диапазона допуска.

[0046] Рассмотрим случай, в котором сдвиг позиции обрезки на фиг. 3C корректируется в начале использования рулонной бумаги, когда предполагается, что структурной погрешности нет. В случае, показанном на фиг. 3C, поскольку позиция обрезки сместилась в нисходящую сторону на один шаблон, возможно временно скорректировать сдвиг позиции обрезки посредством корректировки позиции на один шаблон в восходящую сторону. Однако если в этом состоянии рулонная бумага будет израсходована, то позиция обрезки сместится в нисходящую сторону на два шаблона. В результате позиция обрезки отклонится от диапазона допуска позиций обрезки.

[0047] В способе подачи и обрезки печатного носителя после печати шаблонов этим методом погрешность подачи также возникает во время подачи печатного носителя, и, следовательно, невозможно скорректировать сдвиг позиции обрезки, вызванный только погрешностью монтажа блока обрезки. Если погрешность, обозначенная стрелкой 90, включена в величину подачи, обозначенную стрелкой 88, погрешность удваивается, поскольку величина подачи удваивается посредством простой арифметики. Практически, хотя погрешность подачи является фактически маленькой, высокое требование точности позиции обрезки иногда не может быть удовлетворено. В качестве альтернативы, чтобы поддержать высокую точность позиции обрезки, печать шаблона и корректировка позиции обрезки должны выполняться часто.

[0048] Кроме того, например, по мере увеличения длины печати увеличивается и погрешность подачи, что приводит к увеличению сдвига позиции обрезки. Например, если печать всегда выполняется через 1 м, достаточно скорректировать сдвиг позиции обрезки в соответствии с длиной 1 м. Однако если печать должна быть выполнена и через 1 м, и через 100 м, использование величины корректировки, установленной в предположении печати с длиной 1 м, для печати с длиной 100 м иногда приводит к большому сдвигу позиции обрезки. Вычисление величины корректировки для печати с длиной 100 м посредством печати шаблона впустую потратит печатный носитель.

[0049] <ПРОВЕРКА СДВИГА НЕЗАВИСИМО ОТ ПОГРЕШНОСТИ ПОДАЧИ>

Этот вариант осуществления предложит способ проверки сдвига позиции обрезки независимо от погрешности подачи. Таким образом, вариант осуществления выполнен с возможностью в значительной степени измерять только структурную погрешность. Для устранения погрешности подачи может использоваться традиционный способ исправления погрешности подачи. Очевидно, погрешность подачи сместит позицию обрезки печатного носителя PM. Однако информационное содержание печати также смещается таким же образом. Предположим, что когда выполняется управление для печати прямой линии с длиной 10 мм, напечатается прямая линия с длиной 15 мм из-за погрешности подачи. В этом случае печатный носитель обрезается в позиции обрезки, сдвинутой таким же образом. Однако если погрешность подачи скорректирована для печати прямой линии с длиной 10 мм, печатный носитель обрезается в корректной позиции обрезки.

[0050] В этом варианте осуществления сдвиг позиции обрезки измеряется по схеме, которая исключает погрешность подачи в максимально возможной степени, и корректируется в предположении, что погрешность подачи корректируется как погрешность подачи. Это позволяет должным образом корректировать позицию обрезки, если погрешности подачи нет.

[0051] Способ измерения сдвига позиции обрезки в этом варианте осуществления будет кратко описан со ссылкой на фиг. 4A и 4B. Блок 20 управления может исполнить следующую тестовую операцию.

[0052] Прежде всего, блок 11 подачи подает печатный носитель PM в позицию, в которой изображение может быть напечатано заданным соплом блока 5 печати и печатный носитель PM может быть обрезан блоком 14 обрезки. Достаточно, если печатный носитель PM расположен приблизительно на стороне каретки 12.

[0053] Как показано на фиг. 4A, когда блок 11 подачи прекращает подавать печатный носитель PM, блок 5 печати печатает метку 30 и блок 14 обрезки обрезает печатный носитель PM. В этом случае метка 30 является прямой линией, продолжающейся в направлении Y. Метка 30 печатается посредством выпуска чернил из заданного сопла при перемещении каретки 12 в направлении Y. Печатный носитель PM обрезается посредством перемещения каретки 12 в направлении Y с выпусканием кругового лезвия 15 из блока 14 обрезки. Обрезанная часть 31 является ненужной.

[0054] Возможно одновременно или последовательно выполнять печать метки 30 и обрезку печатного носителя PM. Одновременное выполнение этих операций, например печать метки 30 и обрезание печатного носителя PM, выполняется во время одного сканирования каретки 12. Возможно последовательное выполнение этих операций, например, сначала печатается метка 30 во время одного сканирования каретки 12 (например, во время движения вперед) и затем обрезается печатный носитель PM во время другого сканирования (например, во время движения назад).

[0055] Чтобы позволить пользователю легко измерять расстояние T, печатный носитель PM подается и обрезается в позиции 34 обрезки блоком 14 обрезки. С помощью этой операции получается обрезанная часть, как показано на фиг. 4B. Вспомогательная информация для пользователя может быть напечатана на печатном носителе PM перед этой операцией обрезки. Вспомогательная информация для пользователя может включать в себя информацию, указывающую позицию, в которой пользователь должен измерить длину, и информацию, указывающую проектное значение (T2=30 мм) длины, которая должна быть измерена. В случае, показанном на фиг. 4B, вспомогательная информация 33 для пользователя показана в качестве примера. В этом случае проектное значение (30 мм) печатается вместе со стрелкой, указывающей ширину, которая должна быть измерена. Вспомогательная информация для пользователя может быть напечатана перед обрезкой и печатью метки на фиг. 4A или одновременно с печатью метки.

[0056] Как было описано выше, печатный носитель PM не подавался между печатью метки 30 и обрезкой печатного носителя PM. Таким образом, информация, связанная с позицией обрезки обрезанной части 32 печатного носителя PM и позицией метки 30, является информацией, представляющей структурную погрешность. В частности, разность между расстоянием T от края 32 обрезки обрезанной части до метки 30 и проектным расстоянием от сопла, используемого для печати метки 30, до позиции обрезки блока 14 обрезки представляет структурную погрешность. Таким образом, при проверке позиции обрезки возможно уменьшить влияние погрешности на величину подачи печатного носителя. Этот вариант осуществления, в частности, может устранить влияние погрешности подачи.

[0057] Способ измерения сдвига позиции обрезки и способ корректировки сдвига позиции обрезки в соответствии с этим вариантом осуществления будут описаны более подробно посредством иллюстративной демонстрации проектных размерностей печатающего устройства 1 и т.п. со ссылкой на фиг. 5A-5D.

[0058] Фиг. 5A демонстрирует проектное теоретическое состояние блока 14 обрезки без какой-либо структурной погрешности. Она демонстрирует состояние, в котором, если нет какой-либо погрешности подачи, не происходит сдвиг позиции обрезки. Что касается фиг. 5A-5D, в последующем описании начало 8 координат определяется как опорная позиция (позиция 0) и восходящая и нисходящая стороны относительно опорной позиции соответственно определены как "минус" и "плюс".

[0059] Как описано выше, блок 5 печати включает в себя множество сопел, выпускающих чернила, которые размещены в направлении Y. Предположим, что позицией попадания чернил, выпущенных из самого верхнего сопла 6, является начало 8 координат. Позицией подачи печатного носителя PM управляют на основе величины подачи от начала 8 координат. Другими словами, значение датчика, который обнаруживает величину вращения валиков 11a подачи, инициализировано в позицию 0, в которой передний край печатного носителя PM расположен непосредственно под самым верхним соплом 6.

[0060] Пусть N1 - расстояние (ширина сопел) от самого верхнего сопла 6 до самого нижнего сопла 7 в направлении Y. Предположим, что ширина N1 массива сопел составляет, например, 25 мм (≈ 1 дюйм). Когда печатный носитель PM подается на 25 мм в направлении Y, в то время как передний край печатного носителя PM расположен в начале 8 координат, передний край печатного носителя PM располагается непосредственно под соплом 7.

[0061] Следует отметить, что в последующем описании, чтобы обеспечить понимание содержания, подробные условия будут описаны насколько возможно просто. Различные числовые значения представляют собой примеры, и позиция, в которой должно быть установлено начало 8 координат, не ограничена позицией непосредственно под соплом 6 и может представлять собой другую позицию.

[0062] Массив сопел блока 5 печати включает в себя 1280 сопел. Расстояние T1 от самого нижнего сопла 7 до позиции 17 обрезки блока 14 обрезки составляет 10 мм. Расстояние C1 от начала 8 координат до позиции 17 обрезки задано как C1=T1+N1, что составляет 35 мм. Другими словами, значение 35 мм установлено как проектное расстояние C1 от начала 8 координат до позиции 17 обрезки.

[0063] Предположим, что сопло, которое будет использоваться для печати метки 30 - это сопло, которое установлено в предопределенной позиции для печати метки в позиции 9 метки, расположенной в 30 мм в восходящую сторону от позиции 17 обрезки. Расстояние T2 указывает расстояние от позиции 17 обрезки до позиции 9 метки, которое составляет 30 мм. Расстояние T на фиг. 4A и 4B задано как T=T2, когда нет сдвига позиции обрезки. Расстояние N2 представляет собой расстояние от начала 8 координат до позиции 9 метки, которое составляет 5 мм. Предположим, что самое верхнее сопло 6 является первым соплом и самое нижнее сопло 7 является 1280-м соплом. Ширина N1 массива сопел (25 мм) соответствует 1280 соплам, и, следовательно, ширина на одно сопло составляет приблизительно 0,0196 мм. Сопло, которое будет использоваться для печати метки в позиции 9 метки, является 257-м соплом (N2=257·0,0196=5,03, что составляет приблизительно 5 мм). В этом варианте осуществления, чтобы обеспечить понимание, в последующем описании минимальное разрешение составляет 1 мм.

[0064] Следует отметить, что когда также рассматривается погрешность в компоновке сопел, расстояние N2 может являться значением фактического измерения, а не проектным значением. Кроме того, сопло, которое будет использоваться для печати метки 30, может представлять собой самое верхнее сопло 6, расположенное в позиции начала 8 координат, или самое нижнее сопло 7. Для печати метки 30 может использоваться множество сопел. Например, сопла с 256-е по 258-е, включающие в себя сопла до и после 257-го сопла, могут использоваться для печати метки 30. В этом случае, хотя ширина (толщина) прямой линии в качестве метки 30 увеличивается, середина ширины может быть установлена как позиция метки 30. Кроме того, количество меток 30 не обязательно должно быть равно одному и может использоваться множество меток. Например, в качестве меток могут быть напечатаны две прямых линии посредством выпуска чернила из самого верхнего сопла 6 и самого нижнего сопла 7. В качестве структурной погрешности возможно использовать среднее значение разностей между расстояниями между соответствующими прямыми линиями и краем 32 обрезки и проектными расстояниями от сопел, используемых для печати метки, и позицией обрезки блока 14 обрезки.

[0065] Что касается фиг. 5A, расстояние P1 представляет собой пример длины печати. Чтобы обрезать печатный носитель PM на длину P1 печати, печатный носитель PM подается на расстояние L1 от позиции, в которой передний край печатного носителя PM расположен в начале 8 координат, то есть от позиции непосредственно под самым верхним соплом 6. L1=P1+C1. Таким образом, подача печатного носителя PM на расстояние L1, полученное посредством добавления расстояния C1 к длине P1 печати, приведет в соответствие ожидаемую позицию обрезки печатного носителя PM с позицией 17 обрезки.

[0066] Фиг. 5B показывает пример, в котором сдвиг позиции обрезки вызван структурной погрешностью, и, в частности, пример, в котором сдвиг позиции обрезки вызван погрешностью монтажа блока 14 обрезки. Позиция обрезки блока 14 обрезки расположена в позиции 18, смещенной от проектной позиции 17 обрезки (фиг. 5A) на погрешность D1 в нисходящую сторону. Предположим, что, как в случае, показанном на фиг. 5A, когда печатный носитель PM подается от начала 8 координат на величину подачи L1 и обрезается, длина печати становится равной P2. Таким образом, длина печати становится меньше, чем длина P1 печати, на погрешность D1.

[0067] В примере, показанном на фиг. 5B, расстояние T на фиг. 4A и 4B соответствует расстоянию T3. Расстояние T должно быть равным расстоянию T2, но становится равным T3 из-за структурной погрешности.

[0068] Погрешность D1 получается как

D1=T3-T2.

Использование этого значения как значения корректировки может скорректировать сдвиг позиции обрезки. Позиция C2 обрезки после корректировки представляет собой позицию, полученную посредством добавления D1 к логической позиции C1 обрезки, и, следовательно, имеет место следующее уравнение:

C2=C1+D1=C1+T3-T2.

С учетом вычисления для управления, при использовании ранее полученного значения корректировки, позиция C2' обрезки, используемая в данный момент, и значение D1' корректировки, используемое в данный момент, могут быть определены следующим образом:

C2=C2′+D1=C1+D1'+D1.

Таким образом, приведенное выше уравнение имеет место, поскольку позиция C2′ обрезки используется вместо позиции C1 обрезки. Поскольку операция выполняется с C2′ без какого-либо значения корректировки, когда не было получено значение корректировки, имеет место C2′=C1+D1′.

[0069] Фиг. 5C демонстрирует пример, в котором величина подачи печатного носителя PM корректируется в примере, показанном на фиг. 5B и печатный носитель PM обрезается в надлежащей позиции обрезки. Как описано со ссылкой на фиг. 5B, может быть получено скорректированное значение позиции C2 обрезки. Поэтому возможно обрезать печатный носитель PM на корректную длину P1 печати посредством подачи печатного носителя PM на величину L2 от позиции, в которой передний край печатного носителя PM расположен непосредственно под самым верхним соплом 6, то есть началом 8 координат. Таким образом, возможно подать печатный носитель PM в корректную позицию обрезки посредством подачи печатного носителя PM на величину подачи, полученную посредством добавления скорректированной позиции C2 обрезки к длине P1 подачи. L2=P1+C2. Кроме того, поскольку L2=P1+C1+D1, печатный носитель PM подается на дополнительную величину, соответствующую величине D1, по сравнению со случаем, показанным на фиг. 5A. Подача печатного носителя PM на дополнительную величину, соответствующую погрешности, позволяет обрезать печатный носитель PM на корректную длину печати после корректировки сдвига позиции обрезки.

[0070] Фиг. 5D показывает случай, в котором позиция попадания чернил из блока 5 печати сместилась. Это демонстрирует пример структурной погрешности. Когда блок 5 печати наклоняется, чтобы заставить чернила падать в восходящем направлении, позиция обрезки сдвигается относительно печатного изображения даже без какой-либо погрешности монтажа блока 14 обрезки. То же самое относится к случаю, в котором позиция монтажа блока 5 печати смещается в правую сторону на фиг. 5D и позиция попадания сдвигается в восходящую сторону.

[0071] В этом случае, когда блок 5 печати наклоняется, как показано на фиг. 5D, ширина чернил, попадающих на печатный носитель PM, становится меньше, чем ширина N1 массива сопла, и это приводит к погрешности. Поэтому ширина может быть вычислена на основе позиции попадания чернил из самого верхнего сопла 6 и из самого нижнего сопла 7, чтобы вычислить позицию каждого сопла. Однако если эта погрешность является достаточно маленькой и ей можно пренебречь, эта операция не обязательно должна выполняться. Этот вариант осуществления будет описан при допущении, что эта погрешность достаточно мала и ей можно пренебречь.

[0072] Если D1 представляет собой сдвиг позиции попадания, корректная длина P1 печати может быть получена посредством подачи печатного носителя PM