Фильтр частиц

Иллюстрации

Показать все

Настоящее изобретение относится к фильтру (2) частиц для фильтрации выхлопного газа в двигателе внутреннего сгорания, в частности автотранспортного средства. Фильтр содержит корпус и фильтрующий элемент (5). Фильтрующий элемент (5) поддерживается во внутреннем кожухе (9), который поддержан в радиальном направлении во внешнем кожухе (12) и расположен с возможностью осевого перемещения в этом внешнем кожухе (12). Обеспечена осевая поддержка внутреннего кожуха (9) на кольце (24), которое поддержано в осевом направлении на крышке (22). Крышка (22) закрывает установочное отверстие (20) корпуса посредством по меньшей мере одного несущего элемента (25) для передачи усилий давления. Настоящее изобретение дополнительно относится к глушителю (1), содержащему фильтр (2) частиц. При использовании изобретения достигается упрощение установки и/или упрощение размещения фильтрующего элемента (5), и/или улучшение уплотнения корпуса (4). 2 н. и 13 з.п. ф-лы, 10 ил.

Реферат

Настоящее изобретение относится к фильтру частиц для фильтрации выхлопных газов, а также к глушителю, содержащему такой фильтр частиц.

Фильтры частиц выполняют функцию по обработке выхлопных газов, которые вырабатываются, например, двигателем внутреннего сгорания. Соответственно, частицы, такие как, например, сажа и т.п., отфильтровывают из выхлопного газа с помощью такого фильтра частиц для другой обработки или для выпуска в среду по существу обработанного выхлопного газа. Для фильтрации частиц фильтр частиц содержит фильтрующий элемент, который обычно расположен с фиксацией в корпусе этого фильтра частиц. Такой фильтр частиц в данном случае может представлять собой часть устройства для обработки выхлопных газов двигателя внутреннего сгорания, который, например, содержит также каталитический преобразователь, например, для уменьшения оксидов азота. При фильтрации выхлопных газов у фильтрующего элемента возникает износ, что может быть, в частности, вызвано осаждением частиц, от которых этот фильтрующий элемент не может освободиться, за исключением возможной регенерации в форме сгорания и т.п. Данный износ может уменьшить эффективность фильтрующего элемента и может привести к неисправности фильтра частиц. Таким образом, необходимо заменять фильтр частиц через конкретные периоды времени, и/или когда это необходимо. Соответственно, могут быть заменены по существу конкретные части фильтра частиц, в частности фильтрующего элемента. Замена частей фильтра частиц, в частности фильтрующего элемента, однако обычно включает значительные усилия и непроста в реализации.

Такой фильтр частиц известен, например, из WO 92/18226 A1. Данный фильтр частиц содержит корпус и фильтрующий элемент, расположенный в этом корпусе. На сторонах, которые расположены противоположно друг другу в осевом направлении, фильтрующий элемент содержит концевые кольца, которые поддерживают фильтрующий элемент в осевом направлении на корпусе. Соответственно, фильтр частиц имеет ограничительную пластину, которая поддерживает одно из концевых колец на осевом конце и закреплена на корпусе на противоположном осевом конце посредством стержня и гайки.

В EP 2333263 A1 раскрыт фильтр частиц, который расположен непосредственно на двигателе внутреннего сгорания. Фильтрующий элемент фильтра частиц расположен в корпусе и с фиксацией в этом корпусе посредством удерживающих элементов.

Настоящее изобретение решает проблему создания улучшенного или по меньшей мере еще одного варианта реализации фильтра частиц с типом, указанным в заголовке, который отличается, в частности, простой установкой фильтра частиц и/или простой заменой фильтрующего элемента этого фильтра частиц, и/или повышенной герметичностью корпуса этого фильтра частиц.

Согласно настоящему изобретению, данная проблема решена посредством объектов, охарактеризованных независимыми пунктами формулы изобретения. Предпочтительные варианты реализации представляют собой объект зависимых пунктов формулы изобретения.

Настоящее изобретение основано на общей идее расположения фильтрующего элемента фильтра частиц во внутреннем кожухе и на радиальной поддержке внутреннего кожуха во внешнем кожухе с фиксацией на корпусе, и на осевой поддержке внутреннего кожуха во внешнем кожухе посредством по меньшей мере одного несущего элемента таким образом, что фильтр частиц может быть легко установлен и/или фильтрующий элемент может быть легко заменен.

Согласно идее настоящего изобретения, фильтр частиц, который выполняет функцию по фильтрации выхлопных газов двигателя внутреннего сгорания, в частности автотранспортного средства, содержит внутренний кожух, внешний кожух, а также фильтрующий элемент и корпус, причем внутренний кожух расположен с возможностью осевого смещения во внешнем кожухе. Кроме того, фильтр частиц содержит крышку, которая закрывает установочное отверстие корпуса. Выполнено установочное отверстие корпуса, в частности, для осевой вставки внутреннего кожуха с расположенным в нем фильтрующим элементом во внешний кожух и для его вытягивания из этого внешнего кожуха. На лицевом конце, обращенном в сторону от крышки, внешний кожух задает впускное отверстие для впуска выхлопных газов в фильтрующий элемент, так что выхлопной газ, который должен быть отфильтрован, достигает этот фильтрующий элемент через это впускное отверстие для выхлопных газов. Кроме того, фильтрующий элемент опирается и предпочтительно удерживается во внутреннем кожухе. Для этой цели несущее покрытие может быть расположено в радиальном направлении между фильтрующим элементом и внутренним кожухом, причем радиальное направление проходит перпендикулярно осевому направлению, которое проходит вдоль продольного расширения фильтра частиц или внутреннего кожуха, или основного направления потока выхлопного газа в фильтрующем элементе. В свою очередь, внутренний кожух, поддерживающий фильтрующий элемент, опирается в радиальном направлении на внешний кожух таким образом, что внутренний кожух выполнен с возможностью осевого перемещения или смещения во внешнем кожухе. Кроме того, внутренний кожух контактирует с кольцом на стороне выходящего потока фильтрующего элемента, то есть на стороне, обращенной в направлении от впускного отверстия для выхлопных газов. По меньшей мере один такой несущий элемент дополнительно поддерживает кольцо в осевом направлении на крышке для передачи усилий сжатия. Это означает, что кольцо и поэтому внутренний кожух и фильтрующий элемент скреплены в зависимости от усилий сжатия, которые действуют по оси в направлении крышки и которые вызваны, в частности, потоком выхлопного газа, в частности за счет того, что крышка расположена на корпусе и соединена с ним.

На практике внешний кожух расположен с фиксацией в корпусе таким образом, что внутренний кожух расположен с возможностью осевого смещения в корпусе. На стороне, обращенной в направлении от крышки и поэтому на стороне входящего потока, может быть исключен соответствующий осевой защитный внутренний кожух, в частности, вследствие того, что фильтрующий элемент и поэтому внутренний кожух сжаты в направлении крышки посредством потока выхлопного газа. Таким образом, в итоге, достигают простой установки фильтра частиц, а также достигают простой и надежной поддержки кольца и поэтому внутреннего кожуха и фильтрующего элемента для передачи усилий сжатия в осевом направлении на крышке или достигают осевой защиты.

Согласно предпочтительным вариантам реализации, тянущие усилия также могут быть переданы от кольца на несущий элемент. Соответственно, тянущие усилия направлены, в частности, против сил сжатия и поэтому действуют, в частности, аналогично в осевом направлении. С помощью передачи тянущих усилий на кольце через несущий элемент должно быть достигнуто, в частности, упрощение вытягивания фильтрующего элемента из корпуса. Для этой цели кольцо дополнительно расположено с фиксацией на внутреннем кожухе, причем возможны варианты реализации, в которых кольцо выполнено в виде интегральной части внутреннего кожуха, а также возможны варианты реализации, в которых кольцо соединено с внутренним кожухом с фиксацией любым способом, например путем соединения сваркой или соединения посредством винта. В радиальном направлении кольцо может дополнительно иметь соединительные секции, которые направлены к внутренней части и которые в каждом случае выполняют функцию по соединению кольца с таким соответствующим несущим элементом. Путем фиксированного расположения кольца на внутреннем кожухе и путем закрепления несущего элемента на кольце для передачи тянущих усилий внутренний кожух, предпочтительно с удаленной крышкой, может быть вытянут из внешнего кожуха с фильтрующим элементом путем притягивания несущего элемента, так что обеспечено упрощение удаления фильтрующего элемента, что может быть использовано, в частности, для замены фильтрующего элемента, а если возможно, то, при необходимости, и внутреннего кожуха.

Согласно предпочтительным вариантам реализации, соответствующий несущий элемент содержит резьбовой стержень, гайку, колпачковую гайку и втулку. Соответственно, втулка расположена с фиксацией на крышке и проникает в крышку, а резьбовой стержень проходит через втулку и закреплен на кольце. Закрепление резьбового стержня на кольце может быть осуществлено, например, посредством винтового соединения или путем соединения сваркой и т.п. Гайка навинчена на резьбовой стержень на той стороне втулки, которая обращена от кольца, и опирается в осевом направлении на втулку. Кроме того, колпачковая гайка охватывает гайку и свободный конец резьбового стержня, который является дальним по отношению к кольцу, и дополнительно навинчена на втулку посредством внешней резьбы втулки, которая сформирована на стороне втулки, обращенной в сторону от кольца. Таким образом, кольцо опирается в осевом направлении на крышку посредством несущего элемента для передачи усилий сжатия. Для этой цели резьбовой стержень может быть ввинчен, в частности, во втулку в этой втулке. В данном случае, гайка выполняет функцию, в частности, зажимной гайки, а резьбовой стержень дополнительно соединен с кольцом с возможностью поворота или втулка расположена с возможностью поворота в крышке. С помощью данной конструкции также возможно, в частности, упрощение вытягивания внутреннего кожуха и поэтому фильтрующего элемента из корпуса. Таким образом, колпачковая гайка может быть изначально вывинчена из втулки. После этого гайка может быть повернута таким образом, что резьбовой стержень тянет кольцо и поэтому внутренний кожух и фильтрующий элемент из внешнего кожуха. После этого крышка может быть отсоединена от корпуса, а фильтрующий элемент и внутренний кожух удалены или вытянуты из корпуса.

В альтернативном варианте реализации свободный конец резьбового стержня опирается в осевом направлении на внутреннюю часть колпачковой гайки, обращенной к кольцу. Осевая поддержка свободного конца резьбового стержня в данном случае осуществляет, в частности, поддержку кольца на крышке для передачи усилий сжатия.

Внутренний кожух и внешний кожух могут быть расположены в радиальном направлении на расстоянии друг от друга по меньшей мере в областях для уменьшения, в частности, передачи вибраций от фильтрующего элемента или внутреннего кожуха на внешний кожух и поэтому на корпус или для улучшения тепловой изоляции. Таким образом, выхлопной газ может протекать в полое пространство, сформированное в радиальном направлении между внутренним кожухом и внешним кожухом, и уменьшать или ухудшать герметичность фильтра частиц или корпуса. В предпочтительных вариантах реализации между внутренним кожухом и внешним кожухом расположен по меньшей мере один уплотняющий элемент, который, в частности, выполняет функцию по предотвращению потока выхлопного газа между этими внутренним кожухом и внешним кожухом или по уплотнению соответствующей протечки. Соответственно, такой уплотняющий элемент может быть расположен в радиальном направлении между внутренним кожухом и внешним кожухом на стороне входящего потока, а также на стороне выходящего потока или между этими сторонами. Также возможны варианты реализации, в которых множество таких уплотняющих элементов расположены в радиальном направлении между внутренним кожухом на стороне выходящего потока и/или стороне входящего потока, и/или между этими сторонами. Такой уплотняющий элемент может, в частности, быть выполнен кольцеобразным или с кольцеобразными сегментами и, соответственно, может проходить вдоль внешней периферии внутреннего кожуха или внутренней периферии внешнего кожуха, или в периферийном направлении.

На практике такой уплотняющий элемент имеет эластичные характеристики и сформирован, в частности, в виде упругого элемента, причем уплотняющий элемент предпочтительно выполнен упругим в радиальном направлении. Соответственно, во время установки обеспечена возможность предварительной нагрузки уплотняющего элемента в радиальном направлении и возможность его последующего ввода в полое пространство. Эластичные характеристики уплотняющего элемента приводят, в частности, к тому, что предварительно нагруженный в радиальном направлении уплотняющий элемент, после его расположения между внутренним кожухом и полым пространством, сформированным в радиальном направлении между внутренним кожухом и внешним кожухом, полностью заполняет соответствующую область для обеспечения максимально эффективного уплотнения по отношению к потоку выхлопного газа через соответствующую область.

В принципе, такой уплотняющий элемент может быть выполнен любым способом, который обеспечивает уплотнение полого пространства в радиальном направлении между внутренним кожухом и внешним кожухом. В предпочтительных вариантах реализации по меньшей мере один такой уплотняющий элемент содержит загиб. Соответственно, такой уплотняющий элемент может содержать любой тип такого загиба, в частности частичный загиб, полный загиб или двойной загиб. Уплотняющий элемент, содержащий загиб, имеет преимущество, состоящее, в частности, в том, что он может быть подходящим образом изготовлен с одной стороны и может обеспечивать упрощение установки и достаточное уплотнение с другой стороны.

Альтернативно или дополнительно возможны варианты реализации, в которых по меньшей мере один такой уплотняющий элемент содержит проволочную ткань или сформирован в виде такой проволочной ткани. Соответственно, проволочная ткань практически выполнена плотной для обеспечения достаточного уплотнения и/или надлежащих эластичных характеристик.

Предпочтительно соответствующий уплотняющий элемент спроектирован или выполнен таким образом и/или установлен на корпусе таким образом, что при удалении внутреннего кожуха или фильтрующего элемента и, в частности, при замене фильтрующего элемента и/или внутреннего кожуха, он может быть заменен аналогичным образом.

На практике фильтр частиц содержит уплотняющий держатель для удержания уплотняющего элемента. Удержание в данном случае означает, в частности, осевую поддержку соответствующего уплотняющего элемента. Соответственно, уплотняющий держатель может быть расположен на внутреннем кожухе таким образом, что он прямо или косвенно опирается на кольцо и, соответственно, на крышку, а когда кольцо и, соответственно, внутренний кожух тянут из корпуса, то этот уплотняющий держатель может быть аналогичным образом вытянут из корпуса. Соответственно, уплотняющий держатель может быть расположен с фиксацией на внутреннем кожухе и может быть соединен, например, на внутреннем кожухе или сформирован на внутреннем кожухе, или сформирован на внутреннем кожухе с образованием с ним единого целого. В альтернативном варианте или дополнительно уплотняющий держатель может быть расположен с фиксацией на кольце и, например, соединен с кольцом и/или сформирован на кольце, в частности сформирован на кольце с образованием с ним единого целого. Очевидно, что может быть также обеспечено множество таких уплотняющих держателей, каждый из которых спроектирован или выполнен одинаковым или отличным. Кроме того, соответствующий уплотняющий держатель может удерживать такой соответствующий уплотняющий элемент или множество таких уплотняющих элементов.

На практике уплотняющий держатель и соответствующий уплотняющий элемент выполнены взаимозаменяемыми. В частности, может быть обеспечена возможность взаимодействия уплотняющего держателя в оправке соответствующего уплотняющего элемента, что обеспечивает удержание этого уплотняющего элемента.

Соответствующая оправка уплотняющего элемента может быть выполнена посредством соответствующей выемки в уплотняющем элементе. Возможны также варианты реализации, в которых такая оправка реализована посредством соответствующей формы уплотняющего элемента. Таким образом, такой уплотняющий элемент может содержать две взаимно соединенные проходящие параллельно секции, которые формируют такую оправку.

Путем взаимодействия уплотняющего держателя с соответствующим уплотняющим элементом может быть осуществлена дополнительная осевая защита внутреннего кожуха или кольца. Аналогичным образом соответствующий уплотняющий элемент может осуществлять радиальную поддержку внутреннего кожуха и/или кольца, в частности на внешнем кожухе.

В целом, крышка может перекрывать установочное отверстие корпуса любым способом. В предпочтительных вариантах реализации крышка соединена с открытой кромкой посредством зажима, который может, в частности, быть выполнен в виде V-образного зажима и/или в виде V-образного ленточного зажима, который охватывает установочное отверстие. Таким образом, установочное отверстие может быть открыто путем соответствующего отсоединения зажима и поэтому открепления крышки от установочного отверстия или от открытой кромки, в частности для вытягивания фильтрующего элемента и/или внутреннего кожуха, и/или кольца из установочного отверстия.

Открытая кромка, которая охватывает установочное отверстие по меньшей мере в областях, предпочтительно сформирована на внешней стенке корпуса, которая проходит в радиальном направлении относительно внешнего кожуха. Соответственно, внешняя стенка фактически соединена на внешнем кожухе и, в частности, соединена сваркой с внешним кожухом.

Для обеспечения возможности протекания выхлопного газа через фильтрующий элемент и выхода из этого фильтрующего элемента может быть выполнен, например, выпускной элемент, который расположен в осевом направлении между крышкой и кольцом. В предпочтительных вариантах реализации такой выпускной элемент сформирован в виде полого цилиндра и выполнен с возможностью обеспечения радиального выхода выхлопного газа из фильтрующего элемента в осевом направлении. Для этой цели, в частности, могут быть выполнены радиальные выпускные отверстия. Выпускной элемент может, таким образом, быть выполнен, в частности, в виде рукава, имеющего радиальные отверстия, которые соответствуют выпускным отверстиям. Данная внешняя стенка корпуса может выполнять функцию, в частности, по проведению или ограничению выхлопного газа, вытекающего из выпускного элемента. Соответственно, внешняя стенка расположена, в частности, на стороне выпускного элемента, обращенной в направлении крышки, и проходит вдоль внешней периферии выпускного элемента. Кроме того, фильтр частиц может содержать внутреннюю стенку, которая также выполняет функцию, в частности, по проведению выхлопного газа, вытекающего из выпускных отверстий выпускного элемента, и в данном случае расположен на стороне выпускного элемента, обращенной в направлении от крышки.

Соответственно, внутренняя стенка, как и внешняя стенка, предпочтительно проходит в радиальном направлении относительно внешнего кожуха и соединена, в частности соединена сваркой, с внешним кожухом. Таким образом, канал выходящего потока сформирован посредством внутренней стенки и внешней стенки, которая проводит выхлопной газ, вытекающий из выпускных отверстий выпускного элемента в радиальном направлении наружу.

Предпочтительно внутренний кожух может быть вытянут в осевом направлении через выпускной элемент. Кольцо может также быть практически вытянуто в осевом направлении из выпускного элемента таким образом, что не предотвращено вытягивание кольца и поэтому внутреннего кожуха или фильтрующего элемента из корпуса через выпускной элемент.

Поддержка выпускного элемента может быть выполнена, в частности, таким образом, что этот выпускной элемент выступает в осевом направлении в открытую кромку установочного отверстия и опирается в радиальном направлении на открытую кромку. Аналогичным образом, выпускной элемент может также быть расположен во внешнем кожухе или во внутренней стенке, или осевой секции внутренней стенки. Таким образом, выпускной элемент может быть поддержан в радиальном направлении, в частности в области внешней стенки и/или внутренней стенки.

Выпускной элемент фактически закреплен относительно внешнего кожуха. Это означает, что выпускной элемент может быть соединен с внешним кожухом или соединен на внутренней стенке и/или внешней стенке, соединенной с внешним кожухом. В предпочтительных вариантах реализации выпускной элемент сформирован на внешнем кожухе с образованием с ним единого целого таким образом, что данное соединение внутренней стенки и/или внешней стенки с внешним кожухом реализовано посредством выпускного элемента.

Следует понимать, что фильтр частиц может содержать множество несущих элементов, которые могут быть расположены с распределением любым способом. На практике соответствующие несущие элементы равномерно распределены вдоль периферийного направления для обеспечения равномерной поддержки кольца и, поэтому, внутреннего кожуха или фильтрующего элемента. В частности, соответствующий несущий элемент может быть расположен вдоль внутренней периферии внутреннего кожуха для того, чтобы не оказывать влияние на поток выхлопного газа и/или для минимизации взаимодействия несущего элемента с выхлопным газом.

На практике кольцо выполнено таким образом, что оно обеспечивает как можно меньшее трение с потоком выхлопного газа. Соответственно, кольцо имеет как можно меньшую радиальную протяженность.

Для удержания кольца оно может быть оперто на внешний кожух, причем кольцо выполнено с возможностью осевого смещения для обеспечения вытягивания кольца и поэтому внутреннего кожуха и/или фильтрующего элемента из корпуса. В альтернативном варианте или дополнительно кольцо может опираться в радиальном направлении на выпускной элемент, причем кольцо также выполнено с возможностью осевого смещения в этом выпускном элементе.

В принципе, кольцо может иметь любой профиль при условии, что оно прямо или косвенно поддерживает в осевом направлении внутренний кожух и может опираться на крышку посредством несущего элемента. Соответственно, кольцо может, например, иметь Z-профиль, S-профиль, L-профиль или U-профиль, причем этот профиль по отношению к продольной секции задан фильтром частиц.

Кроме того, несущий элемент может быть расположен в осевом направлении между кольцом и фильтрующим элементом по меньшей мере в областях для осевой поддержки фильтрующего элемента на кольце. Соответственно, несущий элемент предпочтительно спроектирован или выполнен таким образом, что он может также поглощать или демпфировать вибрации фильтрующего элемента. Кольцо может быть также спроектировано или выполнено таким образом, что оно может поглощать или демпфировать соответствующие вибрации фильтрующего элемента или внутреннего кожуха.

Для проверки герметичности корпуса может быть дополнительно выполнен канал утечки, который проникает во внешний кожух и, в частности, соединен по текучей среде с полым пространством, которое сформировано в радиальном направлении между внутренним кожухом и внешним кожухом. Соответственно, испытание на протечку для проверки герметичности корпуса может быть выполнено таким образом, что сжатый воздух введен в полое пространство через канал протечки для измерения, например, удерживающего давления или потери давления. Во время такой проверки на протечку необходимо, однако, чтобы по меньшей мере один такой уплотняющий элемент был расположен на стороне входящего потока и на стороне выходящего потока этого канала протечки.

Такая проверка герметичности корпуса или такое испытание на протечку может быть осуществлено, в частности, после замены фильтрующего элемента и/или внутреннего кожуха, во время которого может быть также заменен по меньшей мере один такой уплотняющий элемент.

Радиальная поддержка внутреннего кожуха на внешнем кожухе осуществлена с помощью по меньшей мере одной формованной выемки внешнего кожуха, которая направлена радиально во внутреннюю часть. Такая формованная выемка в данном случае может проходить вдоль всего периферийного направления или вдоль сегмента периферийного направления внешнего кожуха. Множество таких формованных выемок могут также быть расположены вдоль периферийного направления на той же самой осевой высоте или на других осевых высотах. Кроме того, соответствующая формованная выемка может иметь любую форму и может быть сформирована, в частности, симметричной или несимметричной. Такая радиальная поддержка внутреннего кожуха на внешнем кожухе аналогичным образом приводит к уменьшению вибраций внутреннего кожуха или к демпфированию вибраций внутреннего кожуха, и/или к уменьшению передачи вибраций внутреннего кожуха на внешний кожух.

Следует понимать, что фильтр частиц согласно настоящему изобретению может быть применен для фильтрации выхлопных газов двигателей внутреннего сгорания любого типа. В частности, фильтры частиц согласно настоящему изобретению могут представлять собой дизельные фильтры частиц для двигателя внутреннего сгорания, работающего на дизеле, в частности, для грузопассажирских транспортных средств.

Согласно еще одной предпочтительной реализации, фильтр частиц согласно настоящему изобретению представляет собой часть устройства для обработки выхлопных газов двигателя внутреннего сгорания.

В предпочтительных вариантах реализации глушитель выхлопной системы двигателя внутреннего сгорания содержит такой фильтр частиц, причем корпус фильтра частиц сформирован секцией корпуса глушителя этого глушителя.

Другие важные свойства и преимущества настоящего изобретения получены из пунктов формулы, из чертежей и из соответствующего чертежам описания с помощью этих чертежей.

Следует понимать, что признаки, которые описаны выше и которые все еще должны быть пояснены в разделе «Осуществление изобретения», могут не только быть использованы в соответствующем приведенном сочетании, но также в других сочетаниях или сами по себе без выхода за рамки объема настоящего изобретения.

Предпочтительные иллюстративные варианты реализации настоящего изобретения показаны на чертежах и пояснены более подробно в разделе «Осуществление изобретения», причем одни и те же ссылочные номера относятся к тем же самым или схожим, или функционально идентичным компонентам.

На каждом чертеже схематически показано следующее.

На фиг. 1 показан продольный разрез, выполненный через глушитель с фильтром частиц.

На фиг. 2а-с показан увеличенный вид секции, обозначенной как II на фиг. 1, в случае отличного варианта реализации.

На фиг. 3а-с показан увеличенный вид секции, обозначенной как III на фиг. 1, в случае отличного варианта реализации.

На фиг. 4 показан разрез, выполненный через кольцо.

На фиг. 5 показан продольный разрез, выполненный через фильтр частиц в области несущего элемента.

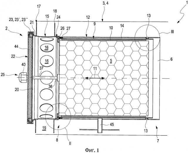
На фиг. 1 показан глушитель 1 с фильтром 2 частиц, причем секция корпуса 3 глушителя этого глушителя 1 формирует корпус 4 фильтра частиц 2. Фильтр 2 частиц содержит фильтрующий элемент 5, который подвержен действию проходящего через него потока выхлопного газа двигателя внутреннего сгорания, например автотранспортного средства, в частности грузопассажирского транспортного средства, причем указанный поток выхлопного газа через впускное отверстие 6 для выхлопных газов фильтра 2 частиц достигает фильтрующий элемент 5, в котором этот поток освобождается от частиц, таких как, например, сажа, и, соответственно, фильтруется. Таким образом, выхлопной газ протекает на стороне 7 входящего потока в фильтрующий элемент и на стороне 8 выходящего потока снова из фильтрующего элемента 5. Фильтрующий элемент 5 представляет собой пример керамического или любого другого фильтрующего элемента 5.

Фильтрующий элемент 5 поддерживают или удерживают во внутреннем кожухе 9, причем в радиальном направлении между внутренним кожухом 9 и фильтрующим элементом 5 расположено несущее покрытие 10. Соответственно, радиальное направление проходит перпендикулярно осевому направлению 11, причем осевое направление 11 задано по отношению к продольному расширению фильтра частиц 2 или внутреннего кожуха 9, или основному направлению потока выхлопного газа в фильтрующем элементе 5. Внутренний кожух 9 расположен с возможностью осевого смещения во внешнем кожухе 12 с фиксацией на корпусе, причем формованные выемки 13 внешнего кожуха 12, направленные в радиальном направлении во внутреннюю часть, поддерживают внутренний кожух 9 в радиальном направлении на внешнем кожухе. Таким образом, между внутренним кожухом 9 и внешним кожухом 12 в радиальном направлении сформировано полое пространство 14.

На стороне, обращенной в направлении от впускного отверстия 6 для выхлопных газов, внешний кожух 12 содержит выпускной элемент 15 с полой цилиндрической конструкцией, что обеспечивает в радиальном направлении возможность осевого вытекания выхлопного газа из фильтрующего элемента 15. Для этой цели выпускной элемент 15 содержит расположенные в радиальном направлении выпускные отверстия 16. Кроме того, выполнены внешняя стенка 17 и внутренняя стенка 18, которые соединены, например соединены сваркой, с выпускным элементом 15 и поэтому с внешним кожухом 12 и проходят в радиальном направлении относительно внешнего кожуха 12. Внешняя стенка 17 и внутренняя стенка 18 в данном случае окружают выпускные отверстия 16 выпускного элемента 15 таким образом, что внутренняя стенка 18 и внешняя стенка 17 формируют канал 19 для потока выхлопного газа, вытекающего из выпускных отверстий 16, что приводит к радиальному выводу этого выхлопного газа по направлению наружу.

На стороне, обращенной в направлении от впускного отверстия 6 для выхлопных газов, фильтр частиц 2 содержит установочное отверстие 20, которое ограничено открытой кромкой 21, причем открытая кромка 21 сформирована на внешней стенке 17. Крышка 22 соединена с открытой кромкой 21 посредством зажима 23, в частности V-образного зажима 23′ или V-образного ленточного зажима 23″, что обеспечивает перекрытие установочного отверстия 20.

Внутренний кожух 9 опирается в осевом направлении на кольцо 24 на стороне выходящего потока и поэтому на его стороне, обращенной в направлении от впускного отверстия 6 для выхлопных газов, и соединен с кольцом 24 с фиксацией. Кроме того, несущий элемент 25 может быть виден в разрезе, показанном на фиг.5, который поддерживает кольцо в осевом направлении 24 на крышке 22 для передачи усилий сжатия, причем фильтр частиц 2 предпочтительно содержит два или три из множества таких несущих элементов 25. Это означает, что несущий элемент 25 и кольцо 24 соединены друг с другом и/или расположены друг на друге таким образом, что осевые усилия, действующие в направлении крышки 22, и поэтому усилия сжатия, которые созданы, в частности, посредством потока выхлопного газа, передают от кольца 24 на несущий элемент 25 и поэтому на крышку 22. Таким образом, кольцо 24 и, соответственно, внутренний кожух 9 и фильтрующий элемент 5 опираются на крышку 22 против осевых усилий сжатия.

На фиг. 2 показан увеличенный вид секции такого фильтра 2 частиц, обозначенной как II. На фиг. 2а видно, что кольцо 24 имеет Z-образный или S-образный профиль и опирается в радиальном направлении на внешней кожух 12 и на выпускной элемент на радиально внешней стороне, и выполнено с возможностью осевого смещения во внешнем кожухе 12 и в выпускном элементе 15. На радиально внешней стороне кольцо 24 охватывает несущий элемент 26, который расположен в осевом направлении между кольцом 24 и фильтрующим элементом 5. В секции, проходящей в радиальном направлении, кольцо 24 контактирует с внутренним кожухом 9 и соединено с ним. Кроме того, уплотняющий элемент 27 расположен в полом пространстве 14, сформированном в радиальном направлении между внешним кожухом 12 и внутренним кожухом 9, который выполнен упругим в радиальном направлении и показан в расслабленном состоянии. Уплотняющий элемент 27 выполняет функцию по предотвращению попадания потока выхлопного газа в полое пространство 14 через впускное отверстие 6 для выхлопных газов и поэтому уплотняет корпус 4 и полое пространство 14. Соответственно, уплотняющий элемент 27 содержит оправку 28, которая сформирована посредством двух секций проходящего параллельно осевому направлению 11 уплотняющего элемента 27, которые соединены друг с другом и в которых взаимодействует уплотняющий держатель 29. Уплотняющий держатель 29 расположен с фиксацией на внутреннем корпусе 9 таким образом, что уплотняющий элемент 27 удерживают в осевом направлении посредством уплотняющего держателя 29. Кроме того, уплотняющий элемент 27 в установленном или зажатом состоянии, которое может быть достигнуто путем перемещения уплотняющего держателя 29 в оправку 28, полностью перекрывает радиальное сечение полого пространства 14 в области уплотняющего держателя 29. Для усиления уплотняющего держателя 29 выполнена радиально проходящая сетка 30. Уплотняющий элемент 27, показанный на фиг. 2А, также содержит загиб 31, который сформирован в виде частичного загиба 31′, что обеспечивает зажатие уплотняющего элемента 27 или возможность достижения эластичных характеристик посредством этого загиба 31.

На фиг. 2b показан альтернативный вариант реализации, в котором кольцо 24 имеет U-образный профиль, причем радиально внешнее колено 32′ кольца 24 выполнено большим в осевом направлении, чем радиально внутреннее колено 32″. Кроме того, уплотняющий держатель 29 сформирован посредством радиально внешнего колена 32′ кольца 24. Кроме того, уплотняющий элемент 27 содержит такой загиб 31, который сформирован в виде полного загиба 31″. Кроме того, в случае варианта реализации, показанного на фиг. 2b, осевая поддержка, в отличие от ранее показанного варианта реализации, внутреннего кожуха 9 на внешнем кожухе 12 в альтернативном варианте или дополнительно реализована на стороне выходящего потока посредством такой формованной выемки 13 внешнего кожуха 12.

В варианте реализации, показанном на фиг. 2c, кольцо 24, в отличие от варианта реализации, показанного на фиг. 2b, имеет L-профиль, причем уплотняющий держатель 29 соединен с кольцом на радиально внешней стороне кольца 24. В вариантах реализации, показанных на фиг. 2b и 2c, радиальная поддержка кольца 24 осуществлена соответственно на внутреннем кожухе 9 и на выпускном элементе 15, то есть посредством соответственно уплотняющего элемента 27 и уплотняющего держателя 29.

Еще один вариант реализации показан на фиг. 2d, причем данный вариант реализации отличается от варианта реализации, показанного на фиг. 2а, в том, что уплотняющий элемент 27 имеет двойной загиб 31″′ в виде загиба 31. Соответственно, уплотняющий держатель 29 выполнен большим в осевом направлении.

На фиг. 3 показан увеличенный подробный вид такого фильтра 2 частиц, обозначенного как III. На фиг. 3а видно, что формованная выемка 13 внешнего кожуха 12 для радиальной поддержки внутреннего кожуха 9 не проходит вдоль всей периферии внешнего кожуха 12. Кроме того, формованная выемка 13 выполнена симметричной в осевом направлении 11.

В отличие от варианта реализации, показанного соответственно на фиг. 3а и фиг. 1, на фиг. 3b показан такой уплотняющий элемент 27, который дополнительно или альтернативно расположен на стороне входящего потока в радиальном направлении между внутренним кожухом 9 и внешним кожухом 12. Уплотняющий элемент 27 также содержит загиб 31. Соответственно, уплотняющий держатель 29 сформирован на внутреннем кожухе 9 с образованием с ним единого целого и реализован посредством радиального сужения внутреннего кожуха 9, причем внешний кожух 12 также сужается в данной области таким образом, что уплотняющий элемент 27 в данной области расположен в радиальном направлении между внутренним кожухом 9 и внешним кожухом 12 и зажат ими. Кроме того, формованная выемка 13 внешнего кожуха 12 выполнена несимметричной в осевом направлении 11.

В варианте реализации, показанном на фиг. 3с, уплотняющий элемент 27 реализован в виде проволочной ткани 33 или проволочной оплетки 33, причем проволочная ткань 33 содержит выемку 34, которая выполнена в виде формованной выемки 28 для уплотняющего держателя 29, сформированного на вну