Способы и системы для определения зазора между скважинным прибором и геологической формацией
Иллюстрации
Показать всеИзобретение относится к средствам для исследований в скважине. Техническим результатом является повышение точности измерений в процессе бурения. Предложен способ определения зазора между скважинным прибором и геологической формацией. Способ определения зазора между поверхностью скважинного прибора и поверхностью геологической формации, содержащий следующие этапы: обеспечение скважинного прибора, подача с использованием по меньшей мере одного из электронных компонентов первого инициирующего электрического сигнала в электродный компонент; измерение с использованием по меньшей мере одного из электронных компонентов первого результирующего электрического сигнала в электродном компоненте для получения первого измерения, причем первый результирующий электрический сигнал генерируется в результате подачи первого инициирующего электрического сигнала; подстройка с помощью одного или более процессорных модулей первого измерения к первому смоделированному сигналу прибора для определения первого зазора между поверхностью скважинного прибора и поверхностью геологической формации; и/или если предполагается, что зазор между поверхностью геологической формации и поверхностью скважинного прибора будет не меньше второго расстояния, содержащий следующие стадии: подача с использованием по меньшей мере одного из электронных компонентов второго инициирующего электрического сигнала в первый трансформатор; измерение с использованием по меньшей мере одного из электронных компонентов второго результирующего электрического сигнала в электродном компоненте для получения второго измерения, причем второй результирующий электрический сигнал генерируется в результате подачи второго инициирующего электрического сигнала; подстройка с помощью одного или более процессорных модулей второго измерения ко второму смоделированному сигналу прибора для определения второго зазора между поверхностью скважинного прибора и поверхностью геологической формации. 4 н. и 17 з.п. ф-лы, 14 ил.
Реферат
Уровень техники
Скважинные приборы, используемые для геофизической разведки, часто включают датчики для сбора информации об окружающих глубинных материалах. Датчики могут включать датчики, используемые для измерений электрического сопротивления и получения изображений. Форма и размер буровой скважины в геологической формации могут давать ценную информацию, которая может предоставить подробные данные о целостности буровой скважины и наличии геомеханических проблем, таких как повреждение скважины и вымывания. Эта информация может также использоваться в качестве основания при принятии решения на более поздних этапах, например, о закреплении скважины обсадной трубой и цементировании буровой скважины в геологической формации. Более того, измерения (например, измерения электрического сопротивления), выполненные скважинным прибором, могут быть чувствительны к форме и размеру буровой скважины, поэтому точное знание формы и размера буровой скважины может служить основанием для получения более точных измерений. Для измерения расстояния между скважинным прибором и геологической формацией могут использоваться механический и/или акустический кронциркуль и другие устройства. Но такие устройства могут быть неприемлемыми для использования в процессе бурения. Таким образом, желательно, чтобы зазор между поверхностью скважинного прибора и стенкой буровой скважины, проходящей через данную геологическую формацию, был известен, что позволит выполнять более точные измерения геологической формации, в частности, в процессе бурения.
Сущность изобретения
Это изобретение относится к способам и системам определения зазора между скважинным прибором и геологической формацией.
В частности, здесь представлены варианты воплощения для определения зазора между поверхностью скважинного прибора и поверхностью геологической формации. В некоторых случаях варианты воплощения, представленные здесь, используются для определения зазора, например, скважинного прибора, расположенного в буровой скважине, проходящей через геологическую формацию. Зазор может тогда быть расстоянием между поверхностью скважинного прибора и стенкой буровой скважины, когда, например, канал между скважинным прибором и стенкой ствола буровой скважины заполнен буровым раствором, таким как проводящий буровой раствор (например, раствор на водной основе).
В вариантах воплощения, описанных здесь, зазор может быть определен с использованием системы измерения зазора, имеющей скважинный прибор (например, бурильный прибор, такой как прибор для каротажа в процессе бурения, прибор скважинных измерений в процессе бурения, их комбинация и т.п.), расположенный в буровой скважине, проходящей через геологическую формацию. В некоторых вариантах воплощения компоненты системы измерения зазора (например, электродный компонент и трансформатор) могут подвергаться воздействию от периферийной поверхности скважинного прибора. В тех случаях, когда используется бурильный прибор, он вращается в буровой скважине, а электродный компонент системы измерения зазора занимает различные угловые положения и/или изменяющиеся расстояния/зазоры от стенки ствола буровой скважины. Измерительный цикл может быть повторен при определенном числе положений, когда может быть определен зазор(ы), например, при соответствующих сигнальных данных, получаемых от системы измерения зазора относительно предопределенного смоделированного сигнала прибора.
В частности, в представленных здесь вариантах воплощения описывается два подхода к измерениям, которые могут использоваться для получения зазора между поверхностью скважинного прибора и поверхностью буровой скважины. Первый подход может использоваться, например, когда зазор между стенкой ствола буровой скважины и скважинным прибором не превышает первого расстояния. В некоторых вариантах воплощения первое расстояние равняется, например, максимум шестикратному расстоянию между двумя электродами электродного компонента системы измерения зазора, которые будут использоваться для измерения этого зазора.
Второй подход может использоваться, например, когда зазор между стенкой ствола буровой скважины и поверхностью скважинного прибора по меньшей мере равен второму расстоянию или больше его. В некоторых вариантах воплощения второе расстояние равняется, например, по меньшей мере двукратному расстоянию между двумя электродами электродного компонента системы измерения зазора, которые будут использоваться для измерения зазора и, например, приблизительно до десятикратного расстояния между двумя электродами электродного компонента.
Если зазор между стенкой ствола буровой скважины и скважинным прибором находится в пределах между приблизительно первым расстоянием и приблизительно вторым расстоянием, то в некоторых вариантах воплощения могут использоваться и первый подход, и второй подход. Когда два измерения проводятся в указанном порядке с использованием обоих из первого и второго подходов, то способы и системы, описанные здесь, могут определить, какое измерение использовать, исходя из того, какой подход будет определен как более точный, на основе, например, предопределенного смоделированного сигнала прибора. Таким образом, система измерения зазора, на основе смоделированного сигнала прибора, может определить величину неопределенности в определении зазора при использовании первого подхода и величину неопределенности в определении зазора при использовании второго подхода. Таким образом, система измерения зазора может выбрать между зазором, определенным с использованием первого подхода, и зазором, определенным с использованием второго подхода, исходя из того, у какого подхода меньше величина неопределенности в вычислении.
В вариантах воплощения, представленных здесь, для определения положения электродного компонента, подвергаемого воздействию от поверхности скважинного прибора, по отношению к ориентации скважинного прибора в буровой скважине может использоваться магнитометр. Система измерения зазора, на основе положения электродного компонента, может определить, использовать для определения зазора первый подход или второй подход. Следует принять во внимание, что в вариантах воплощения, представленных здесь, для определения положения электродного компонента могут использоваться и другие подходящие устройства/способы.
В некоторых вариантах воплощения электродный компонент может включать некоторое количество электродов, расположенных по окружности вокруг поверхности скважинного прибора. В этих вариантах воплощения измерения могут быть показательными для среднего диаметра буровой скважины. В других вариантах воплощения электродный компонент может включать два или более электродов, расположенных близко друг к другу и подвергаемых воздействию от поверхности скважинного прибора.
В некоторых вариантах воплощения расстояние между двумя электродами электродного компонента системы измерения зазора, которые будут использоваться для измерения зазора, может быть определено на основании расстояния от центра одного из этих двух электродов к центру другого из этих двух электродов.
В зависимости от расположения электродов на скважинном приборе измерение(я) может быть чувствительным к электрическому сопротивлению буровому раствору (например, раствору на водной основе и т.п.), электрическому сопротивлению формации, зазору между скважинным прибором и стенкой ствола буровой скважины и/или к контактным сопротивлениям электродов, используемых для измерения(й). Таким образом, существенное изменение в электрическом сопротивлении буровому раствору, электрическом сопротивлении формации, зазоре и/или контактном сопротивлении электродов может привести к соответствующему существенному изменению измерения.
Например, при проведении измерения с использованием первого подхода измерение может быть чувствительным к электрическому сопротивлению буровому раствору или к комбинации электрического сопротивления буровому раствору, электрического сопротивления формации и зазора. Чувствительность может зависеть от положения электродного компонента системы измерения зазора. Таким образом, в зависимости от положения электродного компонента, существенное изменение в электрическом сопротивлении буровому раствору или существенное изменение в комбинации электрического сопротивления буровому раствору, электрического сопротивления формации и зазора может привести к соответствующему существенному изменению измерения.
Кроме того, например, при проведении измерений с использованием второго подхода измерение может быть чувствительным к электрическому сопротивлению буровому раствору, электрическому сопротивлению формации и к зазору. Таким образом, существенные изменения в электрическом сопротивлении буровому раствору, электрическом сопротивлении формации и зазоре могут привести к соответствующим существенным изменениям измерения.
Точность измерения зазора может быть основана на величине отклонения от фактического зазора. Для каждого подхода, как подробнее описано ниже, когда электрическое сопротивление буровому раствору и электрическое сопротивление формации известны или оценены, может быть определен точный зазор. В некоторых вариантах воплощения зазор может быть определен с точностью меньше приблизительно двадцатипроцентного отклонения от фактического зазора. В других вариантах воплощения зазор может быть определен с точностью меньше приблизительно десятипроцентного отклонения от фактического зазора. В некоторых других вариантах воплощения зазор может быть определен с точностью меньше приблизительно пятипроцентного отклонения от фактического зазора.
Электрическое сопротивление буровому раствору может быть измерено с использованием вариантов воплощения, описанных ниже. Однако в некоторых случаях электрическое сопротивление буровому раствору может также быть получено, например, из проб бурового раствора или в отдельном измерении с использованием другой системы измерения, связанной с данным скважинным прибором.
Электрическое сопротивление формации может быть получено с использованием вариантов воплощения, описанных ниже. Но в некоторых случаях электрическое сопротивление формации может также быть получено, например, в отдельном измерении с использованием другой системы измерения, связанной с данным скважинным прибором.
Контактное сопротивление электродов может быть измерено извне к окружающей среде скважины и может служить в качестве входных данных при определении зазора. В некоторых вариантах воплощения смоделированные сигналы прибора получаются с использованием ожидаемого диапазона контактных сопротивлений, и любые измерения, полученные в вариантах воплощения, описанных здесь, сравниваются со смоделированными сигналами прибора, соответствующими выбранному контактному сопротивлению.
В одном аспекте предоставляется способ определения зазора между поверхностью скважинного прибора и поверхностью геологической формации. Этот способ включает обеспечение скважинного прибора, который включает электродный компонент, подвергаемый воздействию от поверхности скважинного прибора, по меньшей мере один трансформатор, подвергаемый воздействию от поверхности скважинного прибора, и по меньшей мере один электронный компонент.
Если предполагается, что расстояние между поверхностью геологической формации и поверхностью скважинного прибора будет не больше приблизительно первого расстояния, то этот способ может: подавать с использованием по меньшей мере одного из электронных компонентов первый инициирующий электрический сигнал в электродный компонент, измерять с использованием по меньшей мере одного из электронных компонентов первый результирующий электрический сигнал в электродном компоненте для получения первого измерения, причем первый результирующий электрический сигнал генерируется в результате подачи первого инициирующего сигнала и подстраивать с использованием по меньшей мере одного процессорного модуля первое измерение к первому смоделированному сигналу прибора для определения первого зазора от поверхности скважинного прибора к поверхности геологической формации. Кроме того, если предполагается, что расстояние между поверхностью геологической формации и поверхностью скважинного прибора будет не меньше приблизительно второго расстояния, то можно подавать с использованием по меньшей мере одного из электронных компонентов второй инициирующий электрический сигнал в по меньшей мере один трансформатор, измерять с использованием по меньшей мере одного из электронных компонентов второй результирующий электрический сигнал в электродном компоненте для получения второго измерения, причем второй результирующий электрический сигнал генерируется в результате подачи второго инициирующего сигнала и подстраивать с использованием по меньшей мере одного процессорного модуля второе измерение ко второму смоделированному сигналу прибора для определения второго зазора от поверхности скважинного прибора к поверхности геологической формации.
В ином аспекте предоставляется система определения зазора между поверхностью скважинного прибора и поверхностью геологической формации. Скважинный прибор включает электродный компонент, подвергаемый воздействию от поверхности скважинного прибора, по меньшей мере один трансформатор, подвергаемый воздействию от поверхности скважинного прибора, и по меньшей мере один электронный компонент.
Если предполагается, что расстояние между поверхностью геологической формации и поверхностью скважинного прибора будет не больше приблизительно первого расстояния, то по меньшей мере один из электронных компонентов может подавать первый инициирующий электрический сигнал в один электродный компонент и измерять первый результирующий электрический сигнал в электродном компоненте для получения первого измерения, причем первый результирующий электрический сигнал генерируется в результате подачи первого инициирующего электрического сигнала. Если предполагается, что расстояние между поверхностью геологической формации и поверхностью скважинного прибора будет не меньше приблизительно второго расстояния, то по меньшей мере один из электронных компонентов может подавать второй инициирующий электрический сигнал по меньшей мере в один трансформатор и измерять второй результирующий электрический сигнал в электродном компоненте для получения второго измерения, причем второй результирующий электрический сигнал генерируется в результате подачи второго инициирующего электрического сигнала.
Система также включает по меньшей мере один процессорный модуль, который может подстраивать первое измерение к первому смоделированному сигналу прибора для определения первого зазора между поверхностью скважинного прибора и поверхностью геологической формации и/или подстраивать второе измерение ко второму смоделированному сигналу прибора для определения второго зазора между поверхностью скважинного прибора и поверхностью геологической формации.
В еще одном аспекте предоставляется способ определения зазора между поверхностью скважинного прибора и стенкой буровой скважины. Способ включает расположение скважинного прибора в буровой скважине. Скважинный прибор включает электродный компонент, подвергаемый воздействию от поверхности скважинного прибора, и по меньшей мере один электронный компонент, расположенный в скважинном приборе. Способ, если предполагается, что расстояние между стенкой ствола буровой скважины и поверхностью скважинного прибора будет не больше приблизительно первого расстояния, дополнительно включает подачу с использованием по меньшей мере одного из электронных компонентов первого инициирующего электрического сигнала в электродный компонент. Кроме того, этот способ включает измерение с использованием по меньшей мере одного из электронных компонентов первого результирующего электрического сигнала в электродном компоненте для получения первого измерения, причем первый результирующий электрический сигнал генерируется в результате подачи первого инициирующего электрического сигнала. Кроме того, способ включает подстройку с использованием по меньшей мере одного процессорного модуля первого измерения к первому смоделированному сигналу прибора для определения зазора.
В еще одном аспекте предоставляется способ определения зазора между поверхностью скважинного прибора и стенкой буровой скважины. Способ включает расположение скважинного прибора в буровой скважине. Скважинный прибор включает электродный компонент, подвергаемый воздействию от поверхности скважинного прибора, по меньшей мере один трансформатор, подвергаемый воздействию от поверхности скважинного прибора, и по меньшей мере один электронный компонент. Способ, если предполагается, что расстояние между стенкой ствола буровой скважины и поверхностью скважинного прибора будет не меньше приблизительно второго расстояния, дополнительно включает подачу с использованием по меньшей мере одного из электронных компонентов второго инициирующего электрического сигнала по меньшей мере в один трансформатор. Кроме того, способ включает измерение с использованием по меньшей мере одного из электронных компонентов второго результирующего электрического сигнала в электродном компоненте для получения второго измерения, причем второй результирующий электрический сигнал генерируется в результате подачи второго инициирующего электрического сигнала. Кроме того, способ включает подстройку с использованием по меньшей мере одного процессорного модуля второго измерения ко второму смоделированному сигналу прибора для определения зазора.
Это краткое изложение предусмотрено для представления выбора понятий, которые далее подробно описаны. Это изложение не предназначено для идентификации главных или существенных особенностей объекта изобретения, а также не предназначено для использования в качестве средства, ограничивающего область применения объекта изобретения.
Краткое описание чертежей
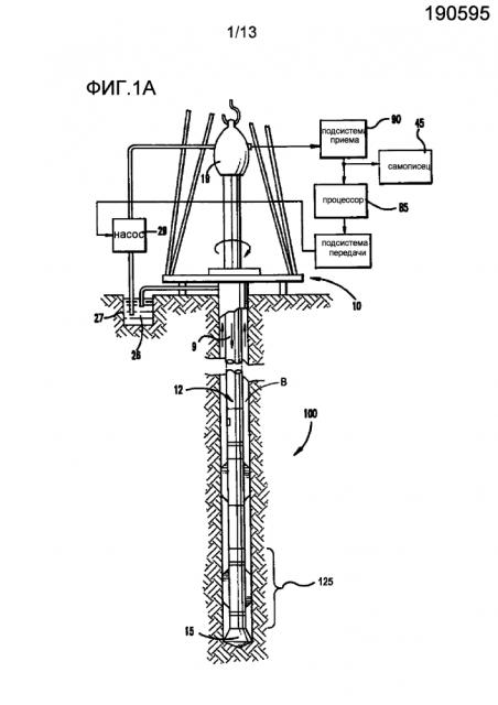
На Фиг. 1A показан схематический чертеж, частично в блочном виде, прибора для скважинных измерений в процессе бурения или прибора для каротажа в процессе бурения в соответствии с одним вариантом воплощения.
На Фиг. 1B показан схематический чертеж бурильного прибора, расположенного в горизонтальной скважине, согласно одному варианту воплощения.
На Фиг. 2 показан вид сбоку части скважинного прибора, согласно одному варианту воплощения.
На Фиг. 3 показан вид сверху электродной головки, включающей два электрода, согласно одному варианту воплощения.
На Фиг. 4 показан вид сверху электродного компонента, включающий питающий электрод и восемь измерительных электродов, пространственно разнесенных для выполнения измерения тока и/или напряжения, согласно одному варианту воплощения.
На Фиг. 5 показан один вариант воплощения блок-схемы способа оценки зазора между поверхностью скважинного прибора и поверхностью геологической формации согласно первому подходу.
На Фиг. 6 показан пример графика предопределенного смоделированного сигнала прибора электродной установки, где используется первый подход, согласно одному варианту воплощения.
На Фиг. 7 показана диаграмма вычисления зазора, согласно одному варианту воплощения.
На Фиг. 8 показан вид сбоку части скважинного прибора, согласно одному варианту воплощения.
На Фиг. 9 показан вид сбоку части скважинного прибора, включающего трансформатор, согласно одному варианту воплощения.
На Фиг. 10 показан один вариант воплощения блок-схемы способа оценки зазора между поверхностью скважинного прибора и поверхностью геологической формации согласно второму подходу.
На Фиг. 11 показан пример графика предопределенного смоделированного сигнала прибора электродной установки, где используется второй подход, согласно одному варианту воплощения.
На Фиг. 12 показана блок-схема способа оценки электрического сопротивления буровому раствору, согласно одному варианту воплощения.
На Фиг. 13 показана блок-схема способа оценки электрического сопротивления формации, согласно одному варианту воплощения.
Подробное описание
Варианты воплощения, представленные здесь, относятся к способам и системам оценки зазора между скважинным прибором и геологической формацией.
Для более глубокого понимания вариантов воплощения ниже в описании даны конкретные подробные сведения. Однако специалистам в данной области понятно, что варианты воплощения могут быть осуществлены без этих конкретных подробных сведений. Например, для большей ясности цепи, системы, способы и другие компоненты в вариантах воплощения могут быть показаны как компоненты в форме блок-схем без излишних деталей. В других примерах для ясности понимания общеизвестные цепи, способы, алгоритмы, конструкции и технологические приемы могут быть показаны без излишних деталей для ясности описания вариантов воплощения изобретения.
К тому же каждый отдельный вариант воплощения может быть описан как процесс, который представляется в виде технологической карты, схемы последовательности операций, диаграммы потока данных, структурной или блочной схемы. Хотя технологическая карта может описывать операции как последовательный процесс, многие из операций могут выполняться параллельно или одновременно. Кроме того, порядок операций может быть иным. Процесс завершится, когда его операции закончены, но могут иметь место дополнительные операции, не включенные в фигуру. Процесс может соответствовать способу, функции, процедуре, подпрограмме, части программы и т.п.
Варианты воплощения, представленные здесь, включают способы и системы оценки зазора между скважинным прибором и геологической формацией. В частности, варианты воплощения представлены здесь для оценки зазора между поверхностью скважинного прибора и поверхностью геологической формации, например, когда канал между прибором и формацией заполнен буровым раствором, например, раствором на водной основе. Хотя в вариантах воплощения, описанных здесь, показан прибор для скважинных измерений в процессе бурения или каротажа в процессе бурения в виде скважинного прибора, следует понимать, что со способами и системами, описанными здесь, могут использоваться и другие скважинные приборы, такие как инструмент, спускаемый в скважину на канате, инструмент с гибкими насосно-компрессорными трубами малого диаметра, наматываемыми на барабан, испытательный прибор, технологическая оснастка и т.п.
В вариантах воплощения, описанных здесь, зазор может быть определен по электрическим измерениям, выполненным системой измерения зазора, имеющей скважинный прибор (например, бурильный прибор), расположенный в буровой скважине. В некоторых вариантах воплощения компоненты системы измерения зазора (например, электродный компонент и трансформатор) могут подвергаться воздействию от периферийной поверхности скважинного прибора. В случаях использования бурильного прибора, при вращении бурильного прибора в буровой скважине электродный компонент системы измерения зазора занимает различные угловые положения и/или изменяющиеся расстояния/зазоры от стенки ствола буровой скважины. Измерительный цикл может быть повторен с определенным числом положений, при которых зазор(ы) может быть определен совпадением сигнальных данных, получаемых от системы измерения зазора относительно предопределенного смоделированного сигнала прибора. В некоторых вариантах воплощения бурильный прибор представляет собой прибор для каротажа в процессе бурения. В других вариантах воплощения бурильный прибор - это прибор для скважинных измерений в процессе бурения. Кроме того, в некоторых вариантах воплощения бурильный прибор представляет собой комбинацию прибора для каротажа в процессе бурения и прибора для скважинных измерений в процессе бурения.
В частности, в представленных здесь вариантах воплощения описывается два подхода к измерениям, которые могут использоваться для получения зазора между поверхностью скважинного прибора и поверхностью буровой скважины. Первый подход может использоваться, когда зазор между стенкой ствола буровой скважины и скважинным прибором, например, не больше приблизительно шестикратного расстояния между двумя электродами электродного компонента системы измерения зазора, которые будут использоваться для измерения зазора. Второй подход может использоваться, когда зазор между стенкой ствола буровой скважины и скважинным прибором, например, не меньше приблизительно двукратного расстояния между двумя электродами электродного компонента системы измерения зазора, которые будут использоваться для измерения зазора и, например, больше приблизительно до десятикратного расстояния между двумя электродами электродного компонента.
Когда измерения проводятся с использованием первого подхода, измерение может быть особенно чувствительным к электрическому сопротивлению буровому раствору или к комбинации электрического сопротивления буровому раствору, электрического сопротивления формации и зазора. Когда измерения проводятся с использованием второго подхода, измерение может быть особенно чувствительным к комбинации электрического сопротивления буровому раствору, электрического сопротивления формации и зазора. Как подробнее описано ниже, когда электрическое сопротивление буровому раствору и электрическое сопротивление формации известны или оценены, при каждом подходе может быть определен точный зазор.
На Фиг. 1A показан один вариант воплощения прибора для каротажа в процессе бурения или для скважинных измерений в процессе бурения 100, который включает систему измерения зазора, согласно одному варианту воплощения. В данном контексте и если не указано иное, каротаж в процессе бурения или скважинное измерение в процессе бурения предназначены для сбора каротажа (например, данные об электрическом сопротивлении формации) или измерений (например, данные о давлении в скважине), например, в земной буровой скважине, с буровым долотом и по меньшей мере частью буровой колонны в буровой скважине в процессе бурения, приостановки бурения и/или при спускоподъемной операции. Платформа и буровая вышка 10 могут быть размещены над буровой скважиной B, которая образуется в земле вращательным бурением. Буровая колонна 12 подвешена в буровой скважине B и включает буровое долото 15 на своем нижнем конце. Буровой раствор 26 может содержаться в стволе 27 в земле. Насос 29 качает буровой раствор 26 в буровую колонну 12 через отверстие в поворотном соединении 19 для потока вниз (стрелка 9) через центр буровой колонны 12. Бурильный инструмент/сборка забоя скважины 100, смонтированный в буровой колонне 12, например, около бурового долота 15, может иметь возможности измерения, обработки и хранения информации, а также связи с земной поверхностью. В данном контексте фраза "около бурового долота" означает "в пределах нескольких длин утяжеленной бурильной трубы от бурового долота". Длина утяжеленной бурильной трубы может быть длиной компонента буровой колонны, которая обеспечивает массу на буровом долоте. В некоторых вариантах воплощения несколько длин утяжеленной бурильной трубы могут иметь, например, приблизительно 120 футов (приблизительно 37 метров). Бурильный прибор 100 включает измерительный компонент 125, который подробнее описан ниже.
Измерительный компонент 125 соединен с вышеупомянутой подсистемой приема со скважины 90, которая может быть затем соединена с процессорным модулем 85 и самописцем 45. Измерения, полученные измерительным компонентом 125, могут, таким образом, быть посланы в процессорный модуль 85 для определения зазора между бурильным прибором 100 и стенкой ствола буровой скважины. Бурильный прибор 100 с измерительным компонентом 125, скомбинированный с процессорным модулем 85, может быть системой измерения зазора. Понятно, что для связи с поверхностью земли могут использоваться различные акустические или другие технические средства. В этом примере измерения зазора посылаются на поверхность земли для обработки, хранения и/или отображения. Следует принять во внимание, что измерения зазора могут также быть обработаны в скважине с помощью, например, одного или более скважинных процессоров, а результаты могут быть сохранены на носителе данных для дальнейшего использования или отправки на поверхность с целью дальнейшего анализа.
Как показано на Фиг. 1A, бурильный прибор может находиться в наземной буровой установке. Следует понимать, что из наземной буровой установки или морской платформы могут также быть развернуты другие скважинные инструменты (например, на канате, гибких насосно-компрессорных трубах малого диаметра, наматываемых на барабан, испытательный прибор, технологическая оснастка или их комбинация и т.п.).
Хотя бурильный прибор 100 на Фиг. 1A подвешивается вертикально в вообще вертикально сформированной буровой скважине B, на Фиг. 1B показан бурильный прибор 150, расположенный горизонтально в вообще горизонтально сформированной буровой скважине 155. В этих вариантах воплощения вследствие силы тяжести бурильный прибор 150 может быть расположен около нижней стороны горизонтальной скважины 155. Соответственно, в некоторых вариантах воплощения, поскольку бурильный прибор 150 вращается в буровой скважине 155, когда электродный компонент 165 измерительного компонента 160 подвергается воздействию от поверхности бурильного прибора 150 вблизи нижней стороны вообще горизонтальной скважины 155, может быть получено измерение с использованием первого подхода, откуда затем может быть определен зазор. Кроме того, в некоторых вариантах воплощения, когда электродный компонент 165 измерительного компонента 160 подвергается воздействию от поверхности бурильного прибора 160 вблизи верхней стороны вообще горизонтальной скважины 165, может быть получено измерение с использованием второго подхода, откуда могут быть определены зазор и/или электрическое сопротивление буровому раствору.
На Фиг. 2 показан вид сбоку части бурильного прибора 200, где представлена часть измерительного компонента 205 согласно одному варианту воплощения. Измерительный компонент 205 включает электродный компонент 210 и электронный компонент 220. Электронный компонент 220 в рабочем порядке связан с электродным компонентом 210 и может быть расположен в бурильном приборе 200 или на поверхности земли. Электродный компонент 210 на Фиг. 2 включает четыре концентрических электрода 215a, 215b, 215c и 215d, например, в конфигурации электродной головки. В одном варианте воплощения электроды 215b и 215c являются измерительными электродами, а электроды 215a и 215d являются питающими электродами. Измерительный компонент 205 может также включать один или более трансформаторов (не показаны), дополнительные электронные компоненты (не показаны) и один или более процессорных модулей (не показаны). В этом варианте воплощения расстояние между двумя измерительными электродами 215b и 215c равняется обычно одной десятой дюйма (0,25 см). В других вариантах воплощения расстояние между двумя измерительными электродами может быть выбрано в зависимости от конкретного применения.
В некоторых вариантах воплощения электродный компонент 210 может включать два электрода. На Фиг. 3 показан вид сверху двухэлектродной головки 300, которая включает электроды 311a и 311b, согласно одному варианту воплощения. Хотя электроды 215a-d имеют форму концентрических эллиптических колец, а электроды 311a-b - круговых колец, в других вариантах воплощения электроды могут иметь другие формы, такие как прямоугольные кольца, кольца неправильной формы и т.п. Кроме того, в некоторых других вариантах воплощения электроды могут быть замещены двумя или более электродами, которые не являются концентрическими, но все же подготовлены для выполнения измерения напряжения и/или тока.
Например, на Фиг. 4 показан вид сверху электродного компонента 400, который включает питающий электрод 411a и восемь измерительных электродов 411b, которые пространственно разнесены для выполнения измерения напряжения и/или тока.
В некоторых вариантах воплощения электродный компонент может охватывать всю окружность вокруг поверхности скважинного прибора. В этих вариантах воплощения измерения могут быть чувствительны к среднему зазору буровой скважины и ввиду этого - к среднему диаметру буровой скважины. В других вариантах воплощения электродный компонент может включать два или более электродов, расположенных близко друг к другу и подвергаемых воздействию от поверхности скважинного прибора.
На Фиг. 5 показана блок-схема 500 стадий способа оценки зазора между поверхностью скважинного прибора (например, бурильного прибора) и поверхностью геологической формации (например, стенки ствола буровой скважины), согласно первому подходу. Способ, показанный на Фиг. 5, может использоваться, например, системой измерения зазора, которая включает, например, измерительный компонент 205. В первом подходе может быть определен зазор, если предполагается, что расстояние между поверхностями геологической формации и скважинного прибора будет не больше приблизительно первого расстояния. В измерительном компоненте 205 первое расстояние может равняться приблизительно шестикратному расстоянию между двумя измерительными электродами 215b и 215c электродного компонента 210.
Например, когда скважинный прибор расположен в вообще горизонтальной скважине, а диаметры скважинного прибора и буровой скважины составляют приблизительно 5 дюймов (12,7 см) и приблизительно 6 1/8 дюйма (15,6 см) соответственно, то максимальный ожидаемый зазор, например, когда электродный компонент 210 направлен к верхней стороне стенки ствола буровой скважины, может быть приблизительно 1 1/4 дюйма (3,2 см) при условии, что электрод немного утоплен приблизительно на 1/8 дюйма (0,3 см) относительно диаметра прибора. Минимальный ожидаемый зазор, например, когда электродный компонент 210 направлен к нижней стороне стенки ствола буровой скважины, может быть приблизительно 1/8 дюйма (0,3 см). Соответственно, если расстояние между двумя измерительными электродами 215b и 215c электродного компонента 210 равняется около одной десятой дюйма (0,25 см), то точный зазор может быть определен, например, даже когда электродный компонент 210 не совсем точно направлен в нижнюю сторону стенки ствола буровой скважины.
Точность измерения зазора может быть основана на величине отклонения от фактического зазора. В некоторых вариантах воплощения зазор может быть определен с точностью меньше приблизительно двадцатипроцентного отклонения от фактического зазора. В других вариантах воплощения зазор может быть определен с точностью меньше приблизительно десятипроцентного отклонения от фактического зазора. В некоторых других вариантах воплощения зазор может быть определен с точностью меньше приблизительно пятипроцентного отклонения от фактического зазора.
Способ начинается на стадии 510, где электронный компонент подает первый инициирующий электрический сигнал в электродный компонент, имеющий два или более электродов. В некоторых вариантах воплощения первый инициирующий электрический сигнал - это напряжение, прикладываемое между двумя электродами электродного компонента. В других вариантах воплощения первый инициирующий электрический сигнал может быть токовым сигналом.
На стадии 520 электронный компонент измеряет первый результирующий электрический сигнал, сгенерированный в результате подачи первого инициирующего электрического сигнала на электродном компоненте для получения первого измерения. Например, если первый инициирующий электрический сигнал является напряжением, прикладываемым между двумя питающими электродами электродного компонента, то первый результирующий электрический сигнал может быть током, измеряемым в измерительном электроде электродного компонента. Если первый инициирующий эле
 
                         
                            


