Система для упаковывания и нанесения продукта, в частности косметического продукта
Иллюстрации
Показать всеНастоящее изобретение относится к системе для упаковывания и нанесения продукта, включающей в себя контейнер (1), предназначенный для содержания вышеуказанного продукта и имеющий горлышко (10) и дно (11), при этом горлышко (10) продолжается вдоль продольной оси (X); узел (2) для нанесения продукта, включающий в себя закрывающий элемент (20), предназначенный для закрывания контейнера (1), и аппликатор (21) продукта, прикрепленный к вышеуказанному закрывающему элементу (20) и предназначенный для вставления в вышеуказанный контейнер (1) с целью окунания в наносимый продукт; удерживающее устройство (15, 25), предназначенное для удерживания вышеуказанного узла (2) для нанесения продукта на вышеуказанном контейнере (1) и установленное с возможностью перемещения между рабочим положением, в котором узел (2) для нанесения продукта удерживается на контейнере (1), и нерабочим положением, в котором узел (2) для нанесения продукта может быть удален из контейнера (1); упругий элемент (3), адаптированный к напряженному состоянию, когда удерживающее устройство находится в рабочем положении, при этом переход удерживающего устройства в нерабочее положение вызывает растяжение вышеуказанного упругого элемента (3); и в которой узел (2) для нанесения продукта может перемещаться по продольной оси (X) между закрытым положением, в котором закрывающий элемент (20) герметично закрывает контейнер (1), и положением удаления, в котором вышеуказанный элемент отделен от вышеуказанного контейнера (1) в направлении по продольной оси (X), и упругий элемент (3) в напряженном состоянии отклоняет узел (2) для нанесения продукта в положение удаления, при этом растяжение упругого элемента (3) приводит к перемещению узла для нанесения продукта в направлении осевого хода выталкивания вдоль продольной оси (X). 2 н. и 11 з.п. ф-лы, 16 ил.
Реферат
Изобретение относится к системе для упаковывания и нанесения продукта, в частности, косметического продукта, и к использованию такой системы.
Точнее, изобретение относится к системе для упаковывания и нанесения продукта, содержащей:
- контейнер, предназначенный для содержания вышеуказанного продукта и имеющий горлышко и дно, при этом горлышко продолжается вдоль продольной оси;
- узел для нанесения продукта, включающий в себя закрывающий элемент, предназначенный для закрывания контейнера, и аппликатор продукта, прикрепленный к вышеуказанному закрывающему элементу и предназначенный для вставления в вышеуказанный контейнер с целью окунания в наносимый продукт;
- удерживающее устройство, предназначенное для удерживания вышеуказанного узла для нанесения продукта на вышеуказанном контейнере и установленное с возможностью перемещения между рабочим положением, в которой узел для нанесения продукта удерживается на контейнере, и нерабочим положением, в котором узел для нанесения продукта может быть удален с контейнера;
- упругий элемент, адаптированный к напряженному состоянию, когда удерживающее устройство находится в рабочем положении, при этом переход удерживающего устройства в нерабочее положение вызывает растяжение вышеуказанного упругого элемента.
В документе ЕР 1800561 А1 описывается пример такой системы, где узел для нанесения продукта имеет закрывающую крышку и палочку для нанесения продукта, установленную с возможностью перемещения внутри вышеуказанной крышки и упруго смещаемую в удлиненное положение, в котором палочка выступает на наибольшее расстояние от вышеуказанной крышки. В положении хранения палочка узла для нанесения продукта, опирающаяся на горлышко контейнера, убирается внутрь крышки, которая сжимает внутреннюю пружину, причем крышка удерживается в этом положении с помощью взаимодействующих удерживающих средств, предусмотренных на крышке и контейнере. Эти удерживающие средства содержат стопорные шарики, расположенные в вышеуказанной крышке и предназначенные для входа в ответные канавки, предусмотренные на горлышке контейнера, и втулку, связанную с вышеуказанной крышкой и адаптированную для удерживания вышеуказанных стопорных шариков внутри вышеуказанной канавки в рабочем положении вышеуказанных удерживающих средств, тем самым, предотвращая удаление вышеуказанного узла для нанесения продукта из вышеуказанного контейнера. Когда пользователь хочет использовать узел для нанесения продукта, он захватывает контейнер и поднимает втулку относительно крышки, так чтобы шарики могли выйти из зацепления с горлышком контейнера. Крышка больше не удерживается на контейнере в осевом направлении, что ведет к растяжению внутренней пружины и перемещению крышки от палочки и контейнера, обеспечивая удаление узла для нанесения продукта из контейнера.
Таким образом, когда пользователь приводит удерживающее средство в нерабочее состояние, только крышка аппликатора перемещается в направлении осевого хода в сторону от контейнера под действием ослабленной внутренней пружины, при этом палочка, удерживающаяся внутри контейнера, опирается на его горлышко.
Эта крышка образует элемент для захватывания и манипулирования, который захватывает пользователь для извлечения палочки из контейнера и нанесения продукта на поверхность. После извлечения из контейнера палочка удерживается только в выдвинутом положении относительно крышки упругим усилием внутренней пружины. Когда пользователь хочет нанести продукт, имеющийся на палочке аппликатора, на поверхность, захватывая крышку, эта крышка может перемещаться относительно палочки, преодолевая упругое усилие пружины, что может препятствовать надлежащему нанесению продукта, в частности, с точки зрения точности и равномерности наносимого слоя продукта. Такая внутренняя подвижность узла для нанесения продукта усиливает общее негативное представление пользователя о системе упаковывания и нанесения продукта.
Настоящее изобретение предназначено для устранения этих недостатков.
По изобретению система для упаковывания и нанесения продукта вышеуказанного типа отличается тем, что узел для нанесения продукта может перемещаться по продольной оси между закрытым положением, в котором закрывающий элемент герметично закрывает контейнер, и положением удаления, в котором он находится на расстоянии от вышеуказанного контейнера в направлении по продольной оси, и что упругий элемент в напряженном состоянии отклоняет узел для нанесения продукта в положение удаления, при этом растяжение упругого элемента приводит к перемещению узла для нанесения продукта в направлении осевого хода выталкивания относительно контейнера вдоль продольной оси.
Этот осевой ход выталкивания узла для нанесения продукта относительно контейнера может быть определен как осевое расстояние, которое проходит вышеуказанный узел для нанесения продукта между закрытым положением и положением удаления.
За счет этих характеристик обеспечивается фактическое выталкивание узла для нанесения продукта относительно контейнера, при этом аппликатор продукта и закрывающий элемент, образующие захватный и управляющий элемент для узла для нанесения продукта, частично выталкиваются из контейнера после растяжения пружинного элемента в результате перехода удерживающего устройства в нерабочее положение. Таким образом, облегчается захватывание узла для нанесения продукта и его удаление из контейнера.
Кроме того, когда узел для нанесения продукта удаляется из контейнера, аппликатор продукта и закрывающий элемент не имеют относительной подвижности, которая могла бы воздействовать на качество нанесения продукта или усилить общее негативное представление о качестве системы для упаковывания и нанесения продукта.
Изобретение также предназначено для получения системы для упаковывания и нанесения продукта, которая является особо эргономичной в отношении открывания и может быть открыта одной рукой, при этом пользователь может использовать различные варианты для освобождения удерживающего устройства, которое удерживает узел для нанесения продукта на контейнер.
Согласно вышеуказанному документу ЕР 1800561 А1 пользователь, желающий открыть систему упаковывания, должен захватить контейнер и воздействовать на втулку, связанную с крышкой, для освобождения удерживающего средства. Это действие может оказаться сложным для выполнения только одной рукой и зависит от того, какая часть контейнера удерживается пользователем, поскольку средства для освобождения удерживающего средства, образованы втулкой, предусмотренной в крышке.
В особо преимущественном варианте выполнения система для упаковывания и нанесения продукта по изобретению также содержит освобождающее устройство, которое установлено отдельно от удерживающего устройства и расположено на контейнере для перемещения между исходным положением и разъемным положением, и приведение в действие вышеуказанного освобождающего устройства вынуждает вышеуказанное устройство переходить в нерабочее положение. Приведение в действие понимается как переход освобождающего устройства из исходного положения в разъемное положение.
Таким образом, пользователь системы для упаковывания и нанесения продукта по изобретению может обеспечивать освобождение удерживающего устройства, что ведет к растяжению упругого элемента и выталкиванию узла для нанесения продукта относительно контейнера, посредством удерживания контейнера и воздействия или непосредственно на узел для нанесения продукта или с помощью освобождающего устройства, расположенного на контейнере, для размещения удерживающего устройства в нерабочем положении.
Эргономика системы также улучшается, когда пользователь может обеспечивать выталкивание узла для нанесения продукта относительно контейнера за счет его захватывания и приведения в действие связанного с ним освобождающего устройства без необходимости непосредственного воздействия на узел для нанесения продукта. Фактически, при такой конструкции пользователь, удерживающий контейнер ладонью, может обеспечивать выталкивание узла для нанесения продукта относительно контейнера посредством приведения в действие, например, большим пальцем, освобождающего устройства, связанного с контейнером. Как результат система для упаковывания и нанесения продукта по изобретению может легко открываться.
В предпочтительном варианте выполнения изобретения могут использоваться одна или несколько из следующих схем:
- смещающий элемент предусмотрен для возврата удерживающего устройства в исходное положение;
- освобождающее устройство включает в себя:
* по меньшей мере, один исполнительный элемент, на который пользователь может воздействовать для приведения в действие освобождающего механизма, и
* по меньшей мере, один приводной элемент для перемещения узла для нанесения продукта относительно контейнера, предназначенный для перевода удерживающего устройства из рабочего положения в нерабочее положение после приведения в действие вышеуказанного освобождающего устройства;
- перевод удерживающего устройства из рабочего положения в нерабочее положение выполняется посредством поворачивания узла для нанесения продукта относительно контейнера вокруг продольной оси в направлении разъединения, при этом, по меньшей мере, один приводной элемент, предусмотренный на освобождающем устройстве, является приводным элементом для поворачивания в направлении разъединения. При использовании такой конструкции уменьшается риск случайного выталкивания узла для нанесения продукта относительно контейнера; фактически, когда разъединение удерживающего устройства, которое удерживает узел для нанесения продукта на контейнере, происходит за счет поворачивания вокруг продольной оси вышеуказанного контейнера, риск непреднамеренного открывания системы для упаковывания и нанесения продукта сводится к минимуму, например, когда она находится в сумке или пакете, и пользователь пытается достать контейнер на ощупь;
- удерживающее устройство имеет форму наружной резьбы, предусмотренной на горлышке контейнера и предназначенной для зацепления с внутренней резьбой, предусмотренной в закрывающем элементе узла для нанесения продукта. Такое резьбовое удерживающее устройство обеспечивает оптимальное уплотнение системы упаковывания и нанесения продукта во время удерживания узла для нанесения продукта на контейнере;
- наружная резьба, предусмотренная на горлышке, и внутренняя резьба, предусмотренная в закрывающем элементе, предназначены для перехода из рабочего состояния в нерабочее состояние посредством относительного поворачивания в направлении разъединения на угол менее 360°, предпочтительно, менее 180° и еще более предпочтительно, примерно на 90°. При использовании такого удерживающего устройства, обеспечивающего удерживание посредством поворачивания на четверть оборота, обеспечивается надлежащее герметичное закрывание системы упаковывания и нанесения продукта, при этом создается возможность быстрого открывания системы;
- удерживающее устройство имеет форму системы байонетного соединения с защелкой, содержащей, по меньшей мере, одну канавку, предусмотренную на горлышке контейнера и предназначенную для зацепления, по меньшей мере, с одним штифтом, предусмотренным в закрывающем элементе узла для нанесения продукта, при этом вышеуказанная канавка имеет осевой участок и удерживающий участок, продолжающийся в окружном направлении системы упаковывания и нанесения продукта по дуге менее 90°, предпочтительно, примерно 20°;
- освобождающее устройство имеет форму поворотного кольца, расположенного на контейнере вблизи горлышка и имеющего, по меньшей мере, одну канавку, образованную в поверхности, обращенной к узлу для нанесения продукта, при этом, по меньшей мере, один поворотный приводной элемент, образованный передним концом вышеуказанной канавки, предназначен для взаимодействия с передней стороной, по меньшей мере, одного зуба, образованного в поверхности узла для нанесения продукта, обращенной к вышеуказанному кольцу, и вышеуказанный, по меньшей мере, один зуб размещается внутри вышеуказанной, по меньшей мере, одной канавки, когда узел для нанесения продукта находится в закрытом положении;
- по меньшей мере, один исполнительный элемент имеет форму радиального ребра, выступающего от наружной поверхности поворотного кольца;
- аппликатор содержит палочку, продолжающуюся в направлении продольной оси (X) от дна закрывающего элемента и снабженную на свободном конце головкой аппликатора, предназначенной для окунания в наносимый продукт, и контейнер снабжен отжимным элементом, предназначенным для отжима вышеуказанного аппликатора.
Система для упаковывания и нанесения продукта также может содержать издающее звук устройство для указания на то, что удерживающее устройство достигло конца хода, когда оно перемещается из нерабочего положения в рабочее положение. Это издающее звук устройство может быть образовано бобышкой, предусмотренной на дне, по меньшей мере, одной канавки, образованной в поворотном кольце, и предназначенной для взаимодействия с выемкой, предусмотренной, по меньшей мере, в одном зубе узла для нанесения продукта, для указания на то, что удерживающее устройство достигло рабочего положения. В варианте выполнения, где удерживающее устройство имеет форму системы внутренняя/наружная резьба, издающее звук устройство может, как вариант, иметь форму бобышки, предусмотренной в основании резьбы закрывающего элемента и адаптированной для взаимодействия с выемкой, предусмотренной в резьбе горлышка контейнера, для указания на то, что удерживающее устройство достигло рабочего положения.
Согласно другой преимущественной конструкции изобретения система для упаковывания и нанесения продукта также содержит выталкивающий элемент, расположенный с возможностью перемещения внутри закрывающего элемента узла для нанесения продукта и имеющий поверхность, адаптированную для опирания на контейнер в осевом направлении, а также осевой ограничитель для взаимодействия с осевым ограничителем, предусмотренным в закрывающем элементе, с целью ограничения перемещения вышеуказанного выталкивающего элемента внутри вышеуказанного закрывающего элемента, при этом упругий элемент расположен между вышеуказанным выталкивающим элементом и вышеуказанным закрывающим элементом, и ход выталкивания вышеуказанного узла для нанесения продукта относительно вышеуказанного контейнера соответствует, по меньшей мере, осевому расстоянию между вышеуказанными ограничителями, когда удерживающее устройство находится в рабочем положении.
Изобретение также относится к использованию такой системы для упаковывания и нанесения продукта для нанесения косметического продукта на поверхность, например, кожи, губ, ногтей, и/или кератиновые структуры (ресниц, бровей, волос и т.д.).
Другие отличительные характеристики и преимущества изобретения станут понятными из приведенного ниже описания одного из вариантов его выполнения в виде неограничивающего примера со ссылкой на приложенные чертежи, на которых:
На фиг. 1 показана система для упаковывания и нанесения продукта согласно изобретению в разобранном состоянии, вид в перспективе;
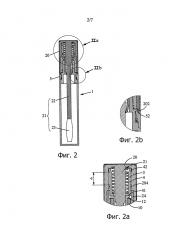
На фиг. 2 - система для упаковывания и нанесения продукта согласно изобретению, когда узел для нанесения продукта находится на контейнере в закрытом виде, вид в продольном разрезе;
На фиг. 2а - система для упаковывания и нанесения продукта, изображенная на фиг. 2, местный вид в увеличенном масштабе у выталкивающего элемента, где показан минимальный ход выталкивания вышеуказанного узла для нанесения продукта относительно вышеуказанного контейнера;
На фиг. 2b - система для упаковывания и нанесения продукта, изображенная на фиг.
2, местный вид в увеличенном масштабе у освобождающего устройства, где показан зуб узла для нанесения продукта, расположенный в канавке, образованной в освобождающем устройстве, при этом узел для нанесения продукта находится в закрытом положении на контейнере;
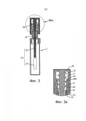
На фиг. 3 - система для упаковывания и нанесения продукта по изобретению, при этом узел для нанесения продукта находится в положении удаления относительно контейнера, вид в продольном разрезе;
На фиг. 3а - система для упаковывания и нанесения продукта, изображенная на фиг. 3, с выталкивающим элементом узла для нанесения продукта в удаленном положении относительно вышеуказанного контейнера, местный вид в увеличенном масштабе;
На фиг. 4 и 4а - то же, но узел для нанесения продукта вытолкнут из контейнера в направлении осевого хода, превышающего осевой ход, показанный на фиг. 3 и 3а, вид в продольном разрезе и местный вид в увеличенном масштабе, соответственно;
На фиг. 5 - система для упаковывания и нанесения продукта по изобретению с приводными элементами, предусмотренными на освобождающем устройстве, вид в перспективе;
На фиг. 5а и 5b - детали конструкции, изображенной на фиг. 5, где показан вариант выполнения издающего звук устройства, которое указывает на то, что удерживающее устройство достигло рабочего положения;
На фиг. 6 - система для упаковывания и нанесения продукта по изобретению с удерживающим устройством в виде конструкции байонетного соединения с защелкой, вид в перспективе;
На фиг. 7а-7d - последовательность удаления/вставления узла для нанесения продукта относительно контейнера системы для упаковывания и нанесения продукта по изобретению.
Для обозначения идентичных или схожих элементов на различных фигурах используются одинаковые ссылочные номера.
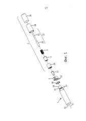
На фиг. 1 показан в перспективе в разобранном состоянии вариант выполнения системы для упаковывания и нанесения продукта по изобретению, в которой контейнер 1, содержащий продукт, подлежащий нанесению, предназначен для размещения узла 2 для нанесения продукта, и удерживающее устройство 15, 25, предусмотренное на двух этих элементах, обеспечивает их относительную фиксацию, когда вышеуказанное удерживающее устройство находится в рабочем положении.
Как можно видеть на фиг. 1, контейнер 1 имеет горлышко 10 и дно 11, и вышеуказанное горлышко имеет наружную резьбу 15, состоящую из двух с полувитков, предназначенных для взаимодействия с ответной внутренней резьбой 25, расположенной на вставке 24, соединенной с узлом 2 для нанесения продукта, когда удерживающее устройство находится в рабочем положении. Как будет подробно описано ниже, в частности, со ссылкой на фиг. 4 и 7а-7d, эта система наружная резьба/внутренняя резьба, образующая удерживающее устройство, является системой крепления «за четверть оборота», т.е. является системой, в которой относительное поворачивание элементов, на которых расположены наружная резьба и внутренняя резьба, в положение разъединения на угол, по существу, равный 90°, вынуждает удерживающее устройство переходить из рабочего положения в нерабочее положение.
Опять же со ссылкой на фиг. 1, узел 2 для нанесения продукта содержит закрывающий элемент 20, предназначенный для герметичного закрывания контейнера 1 посредством завертывания на горлышке 10, когда узел для нанесения продукта находится в закрытом положении, и аппликатор 21 продукта, образованный из палочки 22, продолжающейся вдоль продольной оси X от закрывающего элемента 20, и головки 23 аппликатора, расположенной на свободном конце палочки 22 и предназначенной для окунания в наносимый продукт, когда она вставлена в контейнер 1. Отжимной элемент 12, установленный внутри горлышка 10 контейнера и опирающийся на его верхнюю поверхность с помощью кольцевого выступа, предназначен для вытирания палочки 22 и отжима головки 23 аппликатора с целью удаления излишнего продукта, когда узел 2 для нанесения продукта извлекается из контейнера 1.
Закрывающий элемент 20 по усмотрению может иметь декоративную крышку 26.
Узел 2 для нанесения продукта также содержит упругий элемент в виде цилиндрической пружины 3, а также выталкивающий элемент в виде кольца 4, при этом оба элемента устанавливают минимальный осевой ход «е» выталкивания узла 2 для нанесения продукта относительно контейнера 1, когда удерживающее устройство переходит из рабочего положения в нерабочее положение, как будет подробно описано со ссылкой на фиг. 2, 2а, 3 и 3а.
Как можно видеть, в частности, на фиг. 2, упругий элемент 3 находится в положении с ограничением движения и сжат в осевом направлении X, когда узел для нанесения продукта находится в закрытом положении на контейнере, и удерживается в этом положении с помощью удерживающего устройства, находящегося в рабочем положении.
В частности, и как показано на фиг. 2а, упругий элемент 3 расположен внутри закрывающего элемента 20 узла 2 для нанесения продукта и продолжается вокруг палочки 22 между дном закрывающего элемента 20 и осевой опорной поверхностью, предусмотренной на выталкивающем элементе 4. Этот выталкивающий элемент 4 может перемещаться в осевом направлении X внутри закрывающего элемента 20 под воздействием усилия, прикладываемого пружиной 3, смещающей вышеуказанный выталкивающий элемент 4 от дна закрывающего элемента 20. Это перемещение в осевом направлении X ограничивается осевым ограничителем, образованным, например, приливом 204, вступающим внутрь от закрывающего элемента в радиальном направлении, как показано на фиг. 2а и 3а, и предназначенным для взаимодействия с осевым ограничителем, предусмотренным на выталкивающем элементе 4 и состоящим, например, из фланца 42, который продолжается наружу от выталкивающего элемента 4 в радиальном направлении.
Когда удерживающее устройство, которое удерживает на контейнере узел для нанесения продукта, находится в рабочем положении, осевая опорная поверхность 41 выталкивающего элемента 4 опирается на контейнер 1, или точнее, как показано на фиг. 2 и 2а, на верхнюю сторону отжимного элемента 12, соединенного с горлышком 10 контейнера 1. В этом положении упругий элемент 3 сжат в осевом направлении, и осевой ход выталкивания при выталкивании узла для нанесения продукта относительно контейнера, вызываемый разъединением удерживающего устройства, может быть определен как, по меньшей мере, равный осевому расстоянию «е» между осевыми ограничителями на закрывающем элементе 20 и выталкивающем элементе 4.
Фактически, на фиг. 3 и 3а ясно показано, что, когда узел для нанесения продукта находится на удалении относительно контейнера, и удерживающее устройство, которое удерживает узел для нанесения продукта на контейнере, находится в нерабочем положении, вышеуказанный узел для нанесения продукта больше не удерживается относительно вышеуказанного контейнера в осевом направлении вышеуказанным удерживающим устройством, и упругий элемент 3, по меньшей мере, частично ослабляет внутренние сжимающие напряжения, прижимается к выталкивающему элементу 4, который сам прижимается в осевом направлении к отжимному элементу 12, соединенному с горлышком 10 контейнера, и перемещает узел 2 для нанесения продукта в сторону от контейнера 1 посредством воздействия на дно закрывающего элемента 20 до тех пор, пока внутренний прилив 204, предусмотренный на закрывающем элементе 20, не придет в контакт в осевом направлении с наружным фланцем 42, предусмотренным на выталкивающем элементе 4.
В этом положении показанный, в частности, на фиг. 3а выталкивающий элемент 4 продолжает опираться на контейнер 1, и упругий элемент 3 препятствует возврату узла 2 для нанесения продукта внутрь контейнера 1 под действием его собственного веса.
Однако осевой ход выталкивания узла 2 для нанесения продукта относительно контейнера 1 может превышать расстояние между осевыми ограничителями, предусмотренными на закрывающем элементе 20 и выталкивающем элементе 4. Когда удерживающее устройство находится в нерабочем положении, только трение между палочкой 22 и отжимным элементом 12 затормаживает перемещение в осевом направлении узла 2 для нанесения продукта относительно контейнера 1 под действием растяжения упругого элемента 3. Свойства вышеуказанного упругого элемента 3, в частности, его жесткость, могут выбираться таким образом, чтобы узел для нанесения продукта выталкивался из контейнера 1 за пределы осевого расстояния между осевыми ограничителями, предусмотренными на закрывающем элементе 20 и выталкивающем элементе 4, при этом перемещение при выталкивании направлено против осевой составляющей силы трения, действующей между палочкой 22 и отжимным элементом 12, и постепенно тормозится вышеуказанным тормозным элементом. Возврат в осевом направлении узла 2 для нанесения продукта в контейнер 1 под действием его собственного веса будет блокироваться осевой составляющей силы статического трения, действующей между палочкой 22 и отжимным элементом 12 в конце хода выталкивания узла для нанесения продукта относительно контейнера 1.
В этом случае, как показано на фиг. 4 и 4а, когда узел для нанесения продукта находится в удаленном положении, т.е. после того, как он был вытолкнут в направлении осевого выталкивания к наружной стороне контейнера, выталкивающий элемент больше не примыкает по оси к контейнеру 1, и только статическое трение между палочкой 22 и отжимным элементом 12 препятствует возврату узла 2 для нанесения продукта внутрь контейнера 1 под действием его веса.
В любом случае свойства упругого элемента 3 будут выбираться таким образом, чтобы разъединение удерживающего устройства не вызывало полное выталкивание узла 2 для нанесения продукта из контейнера 1 и, в частности, так чтобы головка 23 аппликатора не могла проходить через отжимной элемент 12 под действием растяжения упругого элемента 3.
Как показано на фиг. 5, в частности, удерживающий элемент 15, 25 имеет форму системы крепления «за четверть оборота», содержащей наружную резьбу, образованную из двух полувитков, расположенных на горлышке контейнера 1, и предназначенных для взаимодействия с ответной внутренней резьбой 25, предусмотренной на вставке 24, соединенной с закрывающим элементом 20 узла 2 для нанесения продукта. Начиная с закрытого положения, показанного, к примеру, на фиг. 2, где аппликатор 21 вставлен внутрь контейнера 1, и закрывающий элемент 20 удерживается в осевом направлении относительно контейнера 1 с помощью удерживающего устройства 15, 25, разъединение вышеуказанного удерживающего устройства, означающее переход из рабочего положения в нерабочее положение, достигается, к примеру, за счет поворачивания узла 2 для нанесения продукта относительно контейнера в направлении разъединения на угол, по существу, равный четверти оборота, т.е., примерно 90°.
Когда пользователь хочет использовать узел для нанесения продукта с целью нанесения продукта на поверхность, пользователь зажимает контейнер, например, ладонью, и поворачивает узел для нанесения продукта относительно вышеуказанного контейнера 1 в направлении разъединения на угол примерно 90° вокруг продольной оси X, воздействуя на наружную поверхность закрывающего элемента, например, большим пальцем или указательным пальцем. Удерживающее устройство, состоящее из наружной резьбы 15 на горлышке контейнера и внутренней резьбы 25 на закрывающем элементе узла для нанесения продукта, переходит из рабочего положения в нерабочее положение, в котором наружная резьба 15 больше не взаимодействует с внутренней резьбой 25 для удерживания узла 2 для нанесения продукта в осевом направлении относительно контейнера 1. Этот переход удерживающего устройства в нерабочее положение вызывает растяжение упругого элемента 3, который, когда он прижимается к контейнеру, толкает дно закрывающего элемента 20 и перемещает узел 2 для нанесения продукта к наружной стороне контейнера в направлении осевого хода выталкивания. В конце хода выталкивания узел 2 для нанесения продукта находится в удаленном положении и может удерживаться пользователем с помощью закрывающего элемента, который образует захватный элемент, для полного удаления из контейнера и для нанесения продукта, находящегося на головке 23 аппликатора, на поверхность.
Для возврата узла 2 для нанесения продукта в закрытое положение на контейнере 1, когда он был полностью из него удален, пользователь захватывает закрывающий элемент 20, вставляет аппликатор 21, образованный из палочки 22 и головки 23 аппликатора, в контейнер 1 через горлышко 10 и отжимной элемент 12, и приводит опорную поверхность 41 выталкивающего элемента 4 в контакт с верхней стороной отжимного элемента 12. Продолжая перемещение в осевом направлении вставления узла 2 для нанесения продукта в контейнер, пружина 3 сжимается между осевой опорной поверхностью выталкивающего элемента 4 и дном закрывающего элемента 20. После того как, по существу, был достигнут конец хода вставления аппликатора 21 в контейнер 1, пользователь приводит внутреннюю резьбу 25, расположенную в закрывающем элементе 20, во взаимодействие с наружной резьбой, расположенной на горлышке 10 контейнера за счет относительного поворачивания двух этих элементов вокруг продольной оси X на угол примерно 90°, тем самым, переводя удерживающее устройство из нерабочего положения в рабочее положение, в котором узел 2 для нанесения продукта находится в закрытом положении на контейнере 1.
Согласно особо преимущественной конструкции настоящего изобретения контейнер 1 имеет освобождающее устройство, которое установлено отдельно от удерживающего устройства, имеет форму поворотного кольца 5, расположенного рядом с горлышком 10, и поворачивается вокруг продольной оси X между исходным положением и разъемным положением.
Угловое перемещение этого поворотного кольца 5 между исходным положением и разъемным положением ограничивается с помощью системы поворотных ограничителей, состоящих из двух радиальных выступов 14, расположенных на участке контейнера, который предназначен для размещения кольца 5, и предназначенных для перемещения во внутренних направляющих 54', предусмотренных в кольце 5, при этом вышеуказанное кольцо 5 смещается в исходное положение под действием смещающего элемента. Этот смещающий элемент имеет форму поворотной возвратной пружины 50, один свободный конец которой прикреплен к контейнеру 1, а другой свободный конец прикреплен к кольцу 5.
Как ясно показано на фиг. 5, это поворотное кольцо 5 содержит исполнительный элемент, состоящий из радиального выступа 51, который продолжается от наружной поверхности поворотного кольца 5 и на который пользователь может воздействовать для перемещения кольца 5 между исходным положением и разъемным положением.
Поворотное кольцо 5 также имеет две дугообразные канавки 52, образованные в верхней поверхности, обращенной к узлу 2 для нанесения продукта, когда последний находится в закрытом положении на контейнере 1. Каждая из этих канавок имеет торцевую сторону 53, образующую поворотный приводной элемент, который взаимодействует с соответствующей передней стороной 203, образованной на двух зубьях 202, расположенных на нижней поверхности закрывающего элемента 20, обращенной к кольцу 5.
Когда кольцо 5 перемещается между исходным положением и разъемным положением, взаимодействие торцевых сторон 53 канавок 52 и передних сторон 203 зубьев 202 обеспечивает поворачивание узла 2 для нанесения продукта относительно контейнера 1 в направлении разъединения удерживающего устройства 20 до тех пор, пока оно не перейдет в нерабочее положение, что вызывает расширение упругого элемента 3 и выталкивание устройства 2 для нанесения продукта относительно контейнера 1 в направлении удаленного положения.
Как ясно показано на фиг. 2b, когда узел 2 для нанесения продукта находится в закрытом положении на контейнере 1, удерживающее устройство находится в рабочем положении, а кольцо 5 в исходном положении, и зубья 202 узла 2 для нанесения продукта размещены в канавках 52, образованных в кольце 5, при этом соответствующие торцевые поверхности 203 вышеуказанных канавок 52 и передние стороны вышеуказанных зубьев 202 обращены друг к другу.
Преимущественно, система для упаковывания и нанесения продукта по изобретению может быть снабжена издающим звук устройством для указания на то, что удерживающее устройство достигло рабочего положения. В варианте выполнения, показанном на фиг. 5, 5а и 5b, это издающее звук устройство имеет форму бобышки 54, расположенной на дне, по меньшей мере, одной канавки 52 поворотного кольца 5 вблизи поворотной приводной торцевой стороны 53 и предназначенной для взаимодействия с выемкой 204, образованной, по меньшей мере, в одном зубе 202 закрывающего элемента 20 вблизи передней поверхности 203. Таким образом, когда узел 2 для нанесения продукта привертывается к контейнеру 1, зубья 202 закрывающего элемента 20 входят в канавки 52 поворотного кольца 5 и перемещаются в канавках поворотного кольца, которое находится в исходном положении, и когда узел 2 для нанесения продукта достигает конца перемещения после привертывания к контейнеру 1, выемка 204, предусмотренная, по меньшей мере, на одном зубе 202, взаимодействует с бобышкой 54, предусмотренной на дне, по меньшей мере, одной канавки 52, для образования звука или «щелчка», указывающего, что удерживающее устройство достигло рабочего положения, в котором узел 2 для нанесения продукта находится в закрытом положении на контейнере 1.
В непоказанном альтернативном варианте выполнения звукоиздающее устройство имеет форму бобышки, расположенной в основании внутренней резьбы 25 закрывающего элемента 20 и предназначенной для взаимодействия с вырезом, предусмотренным в наружной резьбе 15 горлышка 10 контейнера, с целью указания, что удерживающее устройство достигло рабочего положения.
Последовательность вставления/удаления узла 2 для нанесения продукта относительно контейнера 1 с использованием освобождающего средства 5 будет описано со ссылкой на фиг. 5 и 7а-7d.
Начиная с состояния, показанного на фиг. 7а, в котором узел 2 для нанесения продукта находится в закрытом положении на контейнере 1, удерживающее устройство 15, 25 находится в рабочем положении, и освобождающее устройство 5 находится в исходном положении, пользователь захватывает контейнер 1, например, ладонью, и перемещает поворотное кольцо 5 из исходного положения в разъемное положение с помощью исполнительного выступа 51, например, большим пальцем. Это обеспечивает поворачивание кольца 5 относительно контейнера 1 на угол 90° относительно продольной оси X.
Во время этого поворачивания торцевые поверхности 53 канавок 52 кольца 5 взаимодействуют с передними поверхностями 203 зубьев 202 узла 2 для нанесения продукта и вынуждают вышеуказанный узел для нанесения продукта поворачиваться относительно контейнера 1 до тех пор, пока внутренняя резьба 25 узла 2 для нанесения продукта, не выйдет из зацепления с наружной резьбой 15 контейнера 1.
Удерживающее устройство будет находиться в нерабочем положении, что вызывает растяжение упругого элемента 3 и выталкивание узла 2 для нанесения продукта в направлении наружной стороны контейнера 1, как показано на фиг. 7b.
Пользователь захватывает узел 2 для нанесения с помощью закрывающего элемента 20, например, другой рукой, и удаляет его из контейнера 1 для нанесения продута на поверхность; параллельно пользователь освобождает кольцо 5, которое затем возвращается в исходное положение пружиной 50, как показано на фиг. 7с.
Для закрывания системы упаковывания и нанесения продукта по изобретению и возврата узла 2 для нанесения продукта в закрытое положение на контейнере пользователь продолжает действия, как описано выше и показано на фиг. 7d, с зубьями 202 узла 2 для нанесения продукта, расположенными в канавках 52 кольца 5, когда узел 2 для нанесения продукта находится в закрытом положении на контейнере 1.
Освобождающее устройство образует дополнительное средство для открывания системы упаковывания и нанесения продукта. Фактически, открывание этой системы, которое соответствует перемещению узла для нанесения продукта между закрытым положением и положением удаления, может выполняться двумя способами, а именно, или посредством удерживания контейнера 1 и воздействия непосредственно на узел 2 для нанесения продук
 
                         
                            


