Штекерное соединение для соединения трубопроводов для жидкостей или газов, находящихся под давлением

Иллюстрации

Показать все

Изобретение касается штекерного соединения (1), включающего в себя первый штекерный соединитель (2), второй штекерный соединитель (7), который может вставляться в первый штекерный соединитель (2), и закрепленную на первом штекерном соединителе стопорную пружину (13), которая при вставленном втором штекерном соединителе (7) входит в зацепление в паз (21) второго штекерного соединителя (7). При этом существенно, что стопорная пружина (13) из блокированного положения, в котором эта стопорная пружина (13) блокирована в перемещении радиально наружу, может двигаться в разблокированное положение, в котором допускается перемещение стопорной пружины (13) радиально наружу, и что на первом штекерном соединителе (2) расположено выборочно активируемое разблокирующее устройство (33), при этом активированное разблокирующее устройство (33) удерживает стопорную пружину (13) в разблокированном положении. Кроме того, указан способ применения такого штекерного соединения (1). При этом создано штекерное соединение (1) или, соответственно, способ применения этого штекерного соединения (1), с помощью которого наиболее возможным надежным, простым и оптимальным по стоимости образом может гарантироваться возможность соединения друг с другом только обработанных надлежащим образом штекерных соединителей (2, 7). 3 н. и 10 з.п. ф-лы, 17 ил.

Реферат

Изобретение касается штекерного соединения для соединения трубопроводов для жидкостей или газов, находящихся под давлением, включающего в себя первый штекерный соединитель, имеющий сторону вставления и противоположную в осевом направлении сторону крепления, второй штекерный соединитель, имеющий сторону вставления и противоположную в осевом направлении сторону крепления, при этом второй штекерный соединитель своей стороной вставления может вставляться в первый штекерный соединитель через его сторону вставления, и закрепленную или, соответственно, установленную на первом штекерном соединителе стопорную пружину, которая в закрытом или, соответственно, активном положении на первом штекерном соединителе и при вставленном втором штекерном соединителе по меньшей мере одним фиксирующим участком входит в зацепление в паз, проходящий радиально по периметру в наружной стороне второго штекерного соединителя по меньшей мере в одном отдельном участке, так что отсоединение вставленного в первый штекерный соединитель второго штекерного соединителя невозможно, и при этом между стороной вставления и пазом второго штекерного соединителя, предпочтительно непосредственно перед пазом, выполнен проходящий радиально по периметру по меньшей мере в одном отдельном участке направляющий скос для указанного по меньшей мере одного фиксирующего участка стопорной пружины. Кроме того, указывается способ применения такого штекерного соединения.

В этой связи следует заметить, что в этом документе под «применением штекерного соединения» подразумевается всякое использование штекерного соединения после изготовления этого штекерного соединения, так что, в частности, соединение штекерного соединения или, соответственно, первого и второго штекерного соединителя этого штекерного соединения на их сторонах крепления с трубопроводами, соединяемыми посредством этого штекерного соединения, представляет собой одно из таких применений.

Из WO 2011/106805 A1 и DE 10 2008 027 204 A1 известны штекерные соединения, включающие в себя первый штекерный соединитель, имеющий стопорную пружину, и второй, вставляемый в первый штекерный соединитель, штекерный соединитель, имеющий соответствующий стопорной пружине, проходящий радиально по периметру паз, и способ применения таких штекерных соединений, при этом посредством удаляемого запирающего элемента или, соответственно, заполняющего элемента в области вставления первого штекерного соединителя можно препятствовать полному вставлению второго штекерного соединителя в первый штекерный соединитель. В WO 2011/106805 A1 описано также, что запирающий элемент предварительно располагается в области вставления первого штекерного соединителя, и что этот запирающий элемент удаляется только посредством устройства крепления в ходе успешного крепления первого штекерного соединителя на конце трубопровода.

Однако у этих систем штекерного соединения, в частности в связи с относительно мягкими запирающими элементами или, соответственно, заполняющими элементами, и/или вторыми штекерными соединителями, например, из полимерного материала, не гарантировано, что, прежде всего, при попытках вставления с высоким усилием, полному вставлению второго штекерного соединителя в первый штекерный соединитель препятствует имеющийся запирающий элемент или, соответственно, заполняющий элемент. Такому функциональному нарушению способствует также то, что предусмотрен только соответственно один отдельный запирающий элемент или, соответственно, один отдельный заполняющий элемент для первого штекерного соединителя.

Кроме того, необходимо отдельное предоставление и установка запирающего элемента или, соответственно, заполняющего элемента на первом штекерном соединителе, и следует по возможности препятствовать автоматическому или, соответственно, непреднамеренному отсоединению запирающего элемента или, соответственно, заполняющего элемента от первого штекерного соединителя. Кроме того, установка и позднейшее удаление запирающего элемента или, соответственно, заполняющего элемента приводит к необходимости значительной и трудоемкой реконструкции устройства для изготовления и устройства крепления первого штекерного соединителя.

В основе настоящего изобретения лежит задача создать штекерное соединение и способ применения такого штекерного соединения, с помощью которых наиболее возможным надежным, простым и оптимальным по стоимости образом может гарантироваться возможность соединения друг с другом только обработанных надлежащим образом штекерных соединителей.

Первая названная задача решается с помощью штекерного соединения вышеназванного рода, у которого стопорная пружина в закрытом положении на первом штекерном соединителе из блокированного положения, в котором указанный по меньшей мере один фиксирующий участок блокирован в перемещении радиально наружу относительно первого штекерного соединителя, может двигаться в разблокированное положение, в котором допускается перемещение указанного по меньшей мере одного фиксирующего участка радиально наружу, и у этого штекерного соединения на первом штекерном соединителе расположено выборочно активируемое разблокирующее устройство, при этом деактивированное разблокирующее устройство допускает нахождение стопорной пружины в блокированном положении, а активированное разблокирующее устройство удерживает стопорную пружину в разблокированном положении. Тем самым создано штекерное соединение, с помощью которого простым и надежным образом можно препятствовать соединению не обработанных надлежащим образом штекерных соединителей, так как в таком случае разблокирующее устройство стопорной пружины остается деактивированным, и блокирование перемещения указанного по меньшей мере одного фиксирующего участка стопорной пружины радиально наружу надежно препятствует вставлению второго штекерного соединителя в первый штекерный соединитель. При этом можно простым образом, в частности, препятствовать возможности соединения первых штекерных соединителей, которые на своей стороне крепления еще не были или, соответственно, были только недостаточно соединены или, соответственно, прижаты к трубопроводу, со вторым штекерным соединителем, так как разблокирующее устройство стопорной пружины активируется только во время или, соответственно, непосредственно после успешного процесса крепления, так что только тогда допустимо перемещение указанного по меньшей мере одного фиксирующего участка стопорной пружины радиально наружу. Особенно предпочтительно также, что при таком исполнении штекерного соединения не возникает дополнительных издержек при изготовлении, так как не требуются никакие дополнительные компоненты.

Очень предпочтительно в этой связи, если стопорная пружина расположена по существу с наружной стороны первого штекерного соединителя, и включает в себя по меньшей мере одну лапку, и эта лапка или, соответственно, по меньшей мере часть ее при закрытой стопорной пружине через прорезь, проходящую радиально по периметру в одном отдельном участке первого штекерного соединителя, вдается во внутреннюю область первого штекерного соединителя и образует указанный по меньшей мере один фиксирующий участок, причем эта прорезь в одной из своих двух концевых областей имеет отвернутую от стороны вставления первого штекерного соединителя выемку или, соответственно, расширение для помещения указанной по меньшей мере одной лапки стопорной пружины, и эта выемка распространяется меньшей чем по половине продольной протяженности прорези, и когда разблокирующее устройство расположено по существу с наружной стороны первого штекерного соединителя и включает в себя кольцо, обладающее возможностью вращательного перемещения по продольной протяженности прорези, и это кольцо в области выемки прорези имеет два, если смотреть в осевом направлении в направлении стороны крепления первого штекерного соединителя, различно углубленных участка предпочтительно с проходящим между ними скосом, причем при вращении кольца, либо сильнее углубленный участок может надвигаться на выемку, так чтобы выемка открывалась, и разблокирующее устройство деактивировалось, либо менее сильно углубленный участок может надвигаться на выемку, так чтобы выемка закрывалась, и разблокирующее устройство активировалось. Благодаря этому простым и оптимальным по стоимости образом создается штекерное соединение, у которого, в зависимости от ситуации, можно препятствовать или, соответственно, обеспечивать возможность вставления второго штекерного соединителя в первый штекерный соединитель. При этом с одной стороны, при деактивированном разблокирующем устройстве вследствие нахождения указанной по меньшей мере одной лапки стопорной пружины в выемке прорези перемещение фиксирующего участка стопорной пружины радиально наружу надежно предотвращается или, соответственно, становится невозможным, а с другой стороны, при активированном разблокирующем устройстве вследствие закрытия выемки прорези или, соответственно, выдвигания указанной по меньшей мере одной лапки стопорной пружины из выемки прорези надежно обеспечивается возможность перемещения фиксирующего участка стопорной пружины радиально наружу.

При этом предпочтительно, если несколько прорезей и стопорная пружина выполнены с несколькими соответствующими фиксирующими участками, в частности две противоположные прорези с зеркально расположенными выемками, а стопорная пружина с двумя лапками или, соответственно, фиксирующими участками. Благодаря такому многостороннему, в частности двухстороннему исполнению фиксирующих участков создано особенно устойчивое к механическим повреждениям, однако все еще простое и оптимальное по стоимости штекерное соединение, у которого при запертой стопорной пружине вставление второго штекерного соединителя надежно предотвращено.

Предпочтительно также, если каждая прорезь в первом штекерном соединителе в каждой из двух концевых областей имеет выемку, распространяющуюся меньше чем по половине продольной протяженности прорези, и обладающее возможностью вращательного перемещения кольцо в области каждой выемки имеет два, если смотреть в осевом направлении в направлении стороны крепления первого штекерного соединителя, различно углубленных участка предпочтительно с проходящим между ними скосом. Таким образом гарантируется особенно надежное запирание или, соответственно, блокировка стопорной пружины в отношении перемещения радиально наружу при деактивированном разблокирующем устройстве.

Особенно предпочтительно также, если участок первого штекерного соединителя, причем этот участок находится непосредственно рядом с прорезью в направлении стороны крепления первого штекерного соединителя, образован, в частности, многослойной листовой деталью. Таким образом создано штекерное соединение с очень высокой функциональной надежностью, так как участок первого штекерного соединителя, который при деактивированном разблокирующем устройстве препятствует перемещению указанной по меньшей мере одной лапки стопорной пружины радиально наружу, выполнен особенно устойчивым к механическим повреждениям. Этой высокой функциональной надежности или, соответственно, устойчивости к механическим повреждениям штекерного соединения способствует, в частности, также то, что стопорная пружина предпочтительно тоже изготовлена из металла.

Предпочтительно, если с наружной стороны второго штекерного соединителя выполнен по меньшей мере один направленный в осевом направлении выступ, причем этот выступ при вставлении второго штекерного соединителя в первый штекерный соединитель может вдвигаться по меньшей мере в один соответствующий, направленный в осевом направлении паз, имеющий торцевое отверстие на стороне вставления первого штекерного соединителя, когда разблокирующее устройство активировано, и что вдвигание указанного по меньшей мере одного выступа в указанный по меньшей мере один паз блокировано деактивированным разблокирующем устройством. Это способствует надежной блокировке штекерного соединения при деактивированном разблокирующем устройстве, так что вставление второго штекерного соединителя в первый штекерный соединитель невозможно.

Предпочтительно в этой связи, если разблокирующее устройство расположено по существу с наружной стороны первого штекерного соединителя и включает в себя кольцо, обладающее возможностью вращательного перемещения по наружному периметру первого штекерного соединителя, и это кольцо имеет первый пазовый участок, который при активированном разблокирующем устройстве направлен в радиальном направлении в одну линию со вторым пазовым участком в первом штекерном соединителе, и этот первый пазовый участок при деактивированном путем вращения кольца разблокирующем устройстве находится на расстоянии от второго пазового участка по наружному периметру первого штекерного соединителя. Таким образом, создан особенно простой и оптимальный по стоимости дополнительный механизм блокировки, который не требует дополнительных компонентов.

Предпочтительно также, если фиксирующий выступ разблокирующего устройства при деактивированном разблокирующем устройстве входит в зацепление в первый фиксирующий паз, а при активированном разблокирующем устройстве во второй фиксирующий паз, и если фиксирующий выступ, в частности, при приложении механического усилия может выдвигаться из соответствующего фиксирующего паза и вместе с разблокирующим устройством продолжать двигаться к соответственно другому фиксирующему пазу. Таким образом гарантировано, что разблокирующее устройство не будет автоматически или, соответственно, непреднамеренно двигаться из деактивированного положения в активированное положение или, соответственно, в обратном направлении.

Предпочтительно, кроме того, если стопорная пружина из закрытого или, соответственно, активного положения на первом штекерном соединителе может двигаться в раскрытое или, соответственно, неактивное положение на первом штекерном соединителе, и в этом раскрытом положении указанный по меньшей мере один фиксирующий участок стопорной пружины расположен вне паза с наружной стороны вставленного второго штекерного соединителя. Таким образом, создано штекерное соединение, у которого разделение первого и второго штекерного соединителя возможно особенно быстро и просто, в частности без помощи дополнительного инструмента.

Вторая названная задача изобретения решается с помощью способа применения штекерного соединения вышеназванного рода, при котором перед применением каждого первого штекерного соединителя стопорная пружина при известных условиях закрывается, а разблокирующее устройство деактивируется, вследствие чего допускается нахождение стопорной пружины в блокированном положении, и причем при попытке вставления второго штекерного соединителя стопорная пружина либо уже находится в блокированном положении, либо движется посредством направляющего скоса второго штекерного соединителя в блокированное положение, так что указанный по меньшей мере один фиксирующий участок стопорной пружины блокируется в перемещении радиально наружу относительно первого штекерного соединителя, и полное вставление второго штекерного соединителя в первый штекерный соединитель становится невозможным, и при этом способе во время или непосредственно после успешного крепления трубопровода к стороне крепления первого штекерного соединителя посредством устройства крепления разблокирующее устройство стопорной пружины активируется, вследствие чего стопорная пружина движется в разблокированное положение или, соответственно, удерживается там, и причем при попытке вставления второго штекерного соединителя указанный по меньшей мере один фиксирующий участок стопорной пружины посредством направляющего скоса второго штекерного соединителя движется относительно первого штекерного соединителя радиально наружу, и второй штекерный соединитель полностью вставляется в первый штекерный соединитель и посредством указанного по меньшей мере одного фиксирующего участка, который после этого может входить в зацепление в паз второго штекерного соединителя, фиксируется. Благодаря этому особенно простым и надежным образом предотвращается возможность соединения недостаточно обработанных штекерных соединителей в закрытое штекерное соединение, так как разблокирующее устройство стопорной пружины активируется только во время или непосредственно после успешного крепления трубопровода к стороне крепления первого штекерного соединителя посредством устройства крепления, и при этом становится возможным вставление второго штекерного соединителя в первый штекерный соединитель. Также при таком образе действий возникают только небольшие дополнительные издержки, так как в этом случае для процесса крепления трубопровода к стороне крепления первого штекерного соединителя посредством устройства крепления не нужны никакие трудоемкие фиксации, а возможна фиксация, интегрированная в стандартный процесс.

Предпочтительно, если перед применением каждого первого штекерного соединителя стопорная пружина при известных условиях закрывается, а разблокирующее устройство деактивируется, при этом при вращении кольца с наружной стороны первого штекерного соединителя соответственно сильнее углубленный участок кольца надвигается на соответствующую выемку прорези первого штекерного соединителя, вследствие чего указанная по меньшей мере одна выемка открывается, и допускается нахождение указанной по меньшей мере одной лапки стопорной пружины в указанной по меньшей мере одной выемке, и причем при попытке вставления второго штекерного соединителя указанная по меньшей мере одна лапка либо уже находится в указанной по меньшей мере одной выемке, либо вдвигается посредством направляющего скоса второго штекерного соединителя в указанную по меньшей мере одну выемку, так что указанная по меньшей мере одна лапка блокируется в перемещении радиально наружу относительно первого штекерного соединителя, и полное вставление второго штекерного соединителя в первый штекерный соединитель становится невозможным, и если во время или непосредственно после успешного крепления трубопровода к стороне крепления первого штекерного соединителя посредством устройства крепления разблокирующее устройство стопорной пружины активируется, при этом вследствие вращения кольца соответственно менее сильно углубленный участок кольца надвигается на соответствующую выемку прорези, вследствие чего указанная по меньшей мере одна выемка закрывается, и указанная по меньшей мере одна лапка предпочтительно по проходящему между сильнее углубленным участком и менее сильно углубленным участком скосу выдвигается из указанной по меньшей мере одной выемки, или указанная по меньшей мере одна лапка удерживается вне указанной по меньшей мере одной выемки, и причем при попытке вставления второго штекерного соединителя указанная по меньшей мере одна лапка посредством направляющего скоса второго штекерного соединителя движется радиально наружу относительно первого штекерного соединителя, и второй штекерный соединитель полностью вставляется в первый штекерный соединитель и посредством указанной по меньшей мере одной лапки, которая после этого может входить в зацепление в паз второго штекерного соединителя, фиксируется. Таким образом, гарантируется особенно простое, надежное и оптимальное по стоимости запирание или, соответственно, блокировка первого штекерного соединителя с помощью его стопорной пружины при не надлежащем соединении первого штекерного соединителя с трубопроводом.

Особенно предпочтительно в этой связи, если во время или непосредственно после успешного крепления трубопровода к стороне крепления первого штекерного соединителя выполняется активирование разблокирующего устройства устройством крепления трубопровода. Таким образом, достигается особенно высокая надежность, так как активирование разблокирующего устройства или, соответственно, деблокировка первого штекерного соединителя осуществляется непосредственно при процессе крепления трубопровода к стороне крепления первого штекерного соединителя и без другого промежуточного или, соответственно, дополнительного шага. При этом устройство крепления трубопровода предпочтительно на основании нескольких технологических параметров проверяет, смог ли процесс крепления выполниться успешно или нет, и при успешном завершении процесса крепления трубопровода автоматически деблокирует стопорную пружину первого штекерного соединителя. Также снижаются дополнительные издержки, так как устройство крепления трубопровода применяется также для деблокировки стопорной пружины первого штекерного соединителя.

Для лучшего понимания изобретения оно поясняется подробнее с помощью последующих фигур.

Показано соответственно в сильно упрощенном, схематичном изображении:

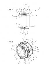
фиг. 1 - два разделенных штекерных соединителя одного штекерного соединения, имеющего стопорную пружину на первом штекерном соединителе в закрытом и блокированном положении, на виде в перспективе;

фиг. 2 - первый штекерный соединитель с фиг. 1, если смотреть со стороны вставления;

фиг. 3 - штекерное соединение с фиг. 1 на виде сбоку;

фиг. 4 - изображение сечения штекерного соединения с фиг. 3 по линии IV-IV;

фиг. 5 - два наиболее далеко вставленных друг в друга штекерных соединителя штекерного соединения в соответствии с фиг. 1, имеющего стопорную пружину на первом штекерном соединителе в закрытом и блокированном положении, на изображении сечения, как на фиг. 4;

фиг. 6 - два полностью вставленных друг в друга штекерных соединителя штекерного соединения в соответствии с фиг. 1, имеющего стопорную пружину на первом штекерном соединителе в закрытом и в удерживаемом там разблокирующим устройством, разблокированном положении, на виде в перспективе;

фиг. 7 - штекерное соединение с фиг. 6 на виде сбоку;

фиг. 8 - изображение сечения штекерного соединения с фиг. 7 по линии VIII-VIII;

фиг. 9 - первый штекерный соединитель, если смотреть со стороны вставления, и со стопорной пружиной на первом штекерном соединителе в открытом положении;

фиг. 10 - два разделенных штекерных соединителя другого варианта осуществления штекерного соединения, имеющего стопорную пружину на первом штекерном соединителе в закрытом и блокированном положении, на виде в перспективе;

фиг. 11 - первый штекерный соединитель с фиг. 10, если смотреть со стороны вставления;

фиг. 12 - штекерное соединение с фиг. 10 на виде сбоку;

фиг. 13 - изображение сечения штекерного соединения с фиг. 12 по линии XIII-XIII;

фиг. 14 - два наиболее далеко вставленных друг в друга штекерных соединителя другого варианта осуществления штекерного соединения в соответствии с фиг. 10, имеющего стопорную пружину на первом штекерном соединителе в закрытом и блокированном положении, на изображении сечения, как на фиг. 13;

фиг. 15 - два полностью вставленных друг в друга штекерных соединителя другого варианта осуществления штекерного соединения в соответствии с фиг. 10, имеющего стопорную пружину на первом штекерном соединителе в закрытом и в удерживаемом там разблокирующим устройством, разблокированном положении, на виде в перспективе;

фиг. 16 - штекерное соединение с фиг. 15 на виде сбоку;

фиг. 17 - изображение сечения штекерного соединения с фиг. 16 по линии XVII-XVII.

Вначале следует констатировать, что в различных описанных вариантах осуществления одинаковые части снабжаются одинаковыми ссылочными обозначениями или, соответственно, одинаковыми наименованиями конструктивных элементов, при этом содержащиеся во всем описании пояснения по смыслу могут переноситься на одинаковые части, снабженные одинаковыми ссылочными обозначениями или, соответственно, одинаковыми наименованиями конструктивных элементов. Также выбранные в описании данные положения, такие как, например, вверху, внизу, сбоку и т.д., относятся к непосредственно описанной и изображенной фигуре, и при изменении положения могут по смыслу переноситься на новое положение.

На фиг. 1-9 показан первый вариант осуществления штекерного соединения 1 для соединения трубопроводов для жидкостей или газов, находящихся под давлением, на разных видах и в различных состояниях.

Штекерное соединение 1 включает в себя первый штекерный соединитель 2, имеющий сторону 3 вставления и противоположную в осевом направлении сторону 4 крепления, при этом первый штекерный соединитель 2 своей стороной 4 крепления предпочтительно уплотненно соединен с гибким трубопроводом. Для этого концевой участок не изображенного гибкого трубопровода расположен между внутренними стенками 5 и наружными стенками 6 на стороне 4 крепления первого штекерного соединителя 2, см., например, фиг. 4, и с помощью не изображенного устройства крепления внутренние стенки 6 деформируются или, соответственно, прижимаются, проходя радиально по периметру, наружу в направлении гибкого трубопровода или, соответственно, наружных стенок 6, так чтобы создавалось уплотняющее соединение между первым штекерным соединителем 2 и концом гибкого трубопровода. Внутренние стенки 5 и наружные стенки 6 предпочтительно образуются цельной, фасонной металлической деталью, в частности из стального листа. Но в частности, для наружных стенок 6 применим также другой материал, такой как, например, полимерный материал.

Кроме того, штекерное соединение 1 включает в себя второй штекерный соединитель 7, имеющий сторону 8 вставления и противоположную в осевом направлении сторону 9 крепления, и этот второй штекерный соединитель 7 своей стороной 8 вставления может вставляться в первый штекерный соединитель 2 через его сторону 3 вставления. Для облегчения этого процесса вставления на стороне 8 вставления второго штекерного соединителя 7 с наружной стороны 10 второго штекерного соединителя 7 выполнен скос 11. Второй штекерный соединитель 7 своей стороной 9 крепления предпочтительно прикреплен к концу не изображенного, жесткого трубопровода или соединен с устройством, в которое должны впускаться находящиеся под давлением жидкости или газы или, соответственно, из которого должны выпускаться находящиеся под давлением жидкости или газы.

В этом месте следует заметить, что, хотя в показанных примерах осуществления штекерного соединения 1 изображаются исключительно штекерные соединители 2, 7 с круглыми формами поперечного сечения, сказанное относится также к штекерным соединениям 1 или, соответственно, штекерным соединителям 2, 7 с многоугольными, в частности прямоугольными или квадратными формами поперечного сечения.

Чтобы можно было фиксировать вставленный в первый штекерный соединитель 2 второй штекерный соединитель 7, так чтобы отсоединение вставленного второго штекерного соединителя 7 от первого штекерного соединителя 2 было невозможно, по существу с наружной стороны 12 первого штекерного соединителя 2 закреплена стопорная пружина 13, имеющая две лапки 14, 15 в соответствии с показанным примером осуществления. В показанном, например, на фиг. 1 закрытом положении стопорной пружины 13 обе лапки 14, 15 выдаются каждая через прорезь 16, 17, проходящую радиально по периметру в отдельном участке первого штекерного соединителя 2, во внутреннюю область 18 первого штекерного соединителя 2 и образуют два фиксирующих участка 19, 20. С наружной стороны 10 второго штекерного соединителя 7 выполнен радиально проходящий по периметру паз 21, который при полностью вставленном в первый штекерный соединитель 2 втором штекерном соединителе 7 лежит в одной плоскости с прорезями 16, 17 первого штекерного соединителя 2, так что фиксирующие участки 19, 20 закрытой стопорной пружины 13 сквозь прорези 16, 17 могут входить в зацепление в паз 21 второго штекерного соединителя 7, и поэтому отсоединение вставленного в первый штекерный соединитель 2 второго штекерного соединителя 7 невозможно.

Между стороной 8 вставления и пазом 21 второго штекерного соединителя 7 непосредственно перед пазом 21 выполнен проходящий радиально по периметру направляющий скос 22 для двух фиксирующих участков 19, 20 стопорной пружины 13, и этот направляющий скос 22 образует, в частности, боковую стенку паза 21, и этот направляющий скос 22 радиально раздвигает или, соответственно, разжимает два фиксирующих участка 19, 20 закрытой стопорной пружины 13 при вставлении второго штекерного соединителя 7 в первый штекерный соединитель 2, так что обеспечена возможность вставления второго штекерного соединителя 7 в первый штекерный соединитель 2. Однако не обязательно необходим направляющий скос 22. Функция разжимания фиксирующих участков 19, 20 закрытой стопорной пружины 13, например, при соответствующей адаптации размеров или, соответственно, диаметра штекерного соединения 1, может также выполняться скосом 11 на стороне 8 вставления второго штекерного соединителя 7.

На фиг. 9 изображена стопорная пружина 13, после того как она была передвинута из закрытого положения на первом штекерном соединителе 2 в раскрытое положение на первом штекерном соединителе 2. В соответствии с изображенным примером осуществления, каждая лапка 14, 15 стопорной пружины 13 на нижнем, открытом конце имеет отогнутый концевой участок 23, 24, и эти отогнутые концевые участки 23, 24 стопорятся в устройствах 25, 26 фиксации на первом штекерном соединителе 2 и удерживают стопорную пружину 13 в раскрытом положении. Стопорная пружина 13 может двигаться из закрытого или, соответственно, активного положения в раскрытое или, соответственно, неактивное положение или, соответственно, из раскрытого положения в закрытое положение предпочтительно по траектории, направленной радиально к первому штекерному соединителю 2. Существенно, чтобы лапки 14, 15 стопорной пружины 13 в раскрытом положении стопорной пружины 13 были раздвинуты, так чтобы лапки 14, 15 больше не вдавались через прорези 16, 17 во внутреннюю область 18 первого штекерного соединителя 2, и при этом фиксирующие участки 19, 20 стопорной пружины 13 при вставленном втором штекерном соединителе 7 больше не входили в зацепление в паз 21 с наружной стороны 10 второго штекерного соединителя 7.

Как лучше всего видно на фиг. 1, каждая из двух прорезей 16, 17 первого штекерного соединителя 12 в изображенном варианте осуществления в каждой из своих угловых областей 27, 27', 28, 28' имеет отвернутую от стороны 3 вставления первого штекерного соединителя 2 выемку 29, 29', 30, 30' или, соответственно, расширение для помещения соответствующей лапки 14, 15 стопорной пружины 13, при этом каждая выемка распространяется меньше чем по половине продольной протяженности соответствующей прорези 16, 17. Сама выемка 29, 29', 30, 30' лучше всего видна на фиг. 4.

Таким образом, лапки 14, 15 и вместе с тем стопорная пружина 13 могут или, соответственно, может двигаться из разблокированного положения, в котором данная лапка 14, 15 расположена в одну линию в соответствующей прорези 16, 17, и поэтому допускается перемещение соответствующего фиксирующего участка 19, 20 лапки 14 15 радиально наружу, путем перемещения в осевом направлении относительно первого штекерного соединителя 2 в блокированное положение, в котором данная лапка 14, 15 расположена в соответствующих двух выемках 29, 29', 30, 30', и поэтому соответствующий фиксирующий участок 19, 20 данной лапки 14 15 блокирован в перемещении радиально наружу. В блокированном положении стопорной пружины 13 выступающий участок 31, 32 первого штекерного соединителя 2 непосредственно рядом с каждой прорезью 16, 17 в направлении стороны 4 крепления первого штекерного соединителя блокирует перемещение соответствующего фиксирующего участка 19, 20 радиально наружу, так как лапки 14, 15 находятся в выемках 29, 29', 30, 30'.

По существу с наружной стороны 12 первого штекерного соединителя 2 расположено также подобное манжете разблокирующее устройство 33, включающее в себя кольцо 34, обладающее возможностью вращательного перемещения по продольной протяженности прорезей 16, 17. Кольцо 34 разблокирующего устройства 33 находится с наружной стороны 12 первого штекерного соединителя 2 над прорезами 16, 17 и в области каждой выемки 29, 29', 30, 30' прорезей 16, 17 имеет по два, если смотреть в осевом направлении в направлении стороны 4 крепления первого штекерного соединителя 2, различно углубленных участка 35, 36, 35', 36', 37, 38, 37', 38', при этом всегда между каждыми двумя находящимися рядом друг с другом участками 35, 36, 35', 36', 37, 38, 37', 38' выполнен проходящий между ними скос 39, 39', 40, 40'. Теперь при вращении кольца 34 в одном из двух возможных направлений вращения либо сильнее углубленный участок 35, 35', 37, 37' может надвигаться на соответствующую выемку 29, 29', 30, 30', так чтобы данная выемка 29, 29', 30, 30' открывалась и разблокирующее устройство 33 деактивировалось, либо менее сильно углубленный участок 36, 36', 38, 38' может надвигаться на соответствующую выемку 29, 29', 30, 30', так чтобы данная выемка 29, 29', 30, 30' закрывалась и разблокирующее устройство 33 активировалось. Различно углубленные участки 35, 35', 36, 36', 37, 37', 38, 38' кольца 34 и соответственно проходящий между ними скос 39, 39', 40, 40' лучше всего видны на фиг. 3 и 7. То есть выборочно активируемое разблокирующее устройство 33, включающее в себя кольцо 34, выполнено таким образом, что деактивированное разблокирующее устройство 33 допускает нахождение стопорной пружины 13 в блокированном положении, так как выемки 29, 29', 30, 30' открыты более сильно углубленными участками 35, 35', 37, 37' кольца 34, и что активированное разблокирующее устройство 33 удерживает стопорную пружину 13 в разблокированном положении, так как выемки 29, 29', 30, 30' закрыты менее сильно углубленными участками 36, 36', 38, 38' кольца 34.

В соответствии с показанными вариантами осуществления штекерного соединения 1, выступающие участки 31, 32 первого штекерного соединителя 2, причем эти участки 31, 32 находятся непосредственно рядом с прорезями 16, 17 в направлении стороны 4 крепления первого штекерного соединителя 2, образованы двухслойной листовой деталью. При этом участки 31, 32, которые препятствуют перемещению лапок 14, 15 стопорной пружины в блокированном положении радиально наружу, обладают повышенной прочностью или, соответственно, устойчивостью.

В соответствии с особенно целесообразным способом применения штекерного соединения 1 стопорная пружина 13 первого штекерного соединителя 2 перед применением первого штекерного соединителя 2, то есть, в частности, также перед креплением трубопровода к стороне 4 крепления первого штекерного соединителя 2, при известных условиях, то есть когда стопорная пружина 13 еще не находится в закрытом положении, закрывается, и разблокирующее устройство 33 деактивируется, если это уже не произошло. При особенно целесообразном образе действий закрытие стопорной пружины 13 или, соответственно, деактивирование разблокирующего устройства 33 выполняется или, соответственно, гарантируется уже при изготовлении первого штекерного соединителя 2.

При деактивировании разблокирующего устройства 33 допускается нахождение стопорной пружины 13 в блокированном положении, и поэтому при попытке вставления второго штекерного соединителя 7 стопорная пружина 13 либо уже находится в блокированном положении, либо стопорная пружина 13 посредством направляющего скоса 22 второго штекерного соединителя 7 движется в блокированное положение, вследствие чего фиксирующие участки 19, 20 стопорной пружины 13 блокируются в перемещении радиально наружу выступающими относительно первого штекерного соединителя 2 участками 31, 32 первого штекерного соединителя 2, и полное вставление второго штекерного соединителя 7 в первый штекерный соединитель 2 становится невозможным. В изображенном на фиг. 1-5 состоянии штекерного соединения 1 разблокирующее устройство 33 допускает нахождение стопорной пружины 13 в блокированном положении, и стопорная пружина 13 и находится в этом блокированном положении. На изображении сечения на фиг. 5 показано, как далеко второй штекерный соединитель 7 при запертой стопорной пружине 13 может вставляться в первый штекерный соединитель 2, пока запертая стопорная пру