Блок электрофотографического светочувствительного барабана
Иллюстрации
Показать всеДанное изобретение относится к блоку электрофотографического светочувствительного барабана, используемому для технологического картриджа, устанавливаемого с возможностью снятия в основной узел электрофотографического устройства формирования изображения. Заявленный блок электрофотографического светочувствительного барабана содержит: (i) цилиндр, имеющий светочувствительный слой на его внешней периферии, (ii) фланец барабана, установленный на продольной концевой части упомянутого цилиндра для удерживания внутри него соединительного элемента, который выполнен с возможностью поворота относительно оси упомянутого цилиндра, и (iii) стопорящую часть для предотвращения расцепления упомянутого соединительного элемента с упомянутым фланцем, причем упомянутая стопорящая часть является деформируемой радиально наружу от упомянутого фланца, чтобы позволить осуществить установку или снятие упомянутого соединительного элемента относительно упомянутого фланца. Технический результат заключается в разработке легко осуществимого способа снятия соединительного элемента, а также в разработке блока электрофотографического светочувствительного барабана, в котором снятие соединительного элемента является легко осуществимым, и в разработке блока электрофотографического светочувствительного барабана, в котором установка соединительного элемента является легко осуществимой. 7 з.п. ф-лы, 34 ил.
Реферат
Область техники, к которой относится изобретение
Данное изобретение относится к блоку электрофотографического светочувствительного барабана, используемому для технологического картриджа, устанавливаемого с возможностью снятия в основной узел электрофотографического устройства формирования изображения. При этом в данном изобретении технологический картридж содержит в качестве блока по меньшей мере один из барабанов электрофотографического светочувствительного элемента, проявочного средства в качестве средства обработки, приводимого в действие на барабане, очищающего средства и зарядного средства. И данный картридж устанавливается с возможностью снятия в основной узел электрофотографического устройства формирования изображения.
Кроме того, электрофотографическое устройство формирования изображения формирует изображение на материале для записи информации посредством процесса электрофотографического типа. Примерами электрофотографического устройства формирования изображения являются электрофотографический копировальный аппарат, электрофотографический принтер (принтер на светоизлучающих диодах (СИДах), лазерный принтер), устройство факсимильной связи, печатно-кодирующее устройство конторского типа и т.п.
Кроме того, основной узел электрофотографического устройства формирования изображения, за исключением технологического картриджа, является частью этого электрофотографического устройства формирования изображения.
Предшествующий уровень техники
В известном электрофотографическом устройстве формирования изображения, в котором используется электрофотографический процесс формирования изображения, барабан электрофотографического светочувствительного элемента и средства обработки, приводимые в действие на электрофотографическом барабане со светочувствительным поверхностным слоем, объединены в картридж в виде блока. И этот картридж устанавливается с возможностью снятия в основной узел электрофотографического устройства формирования изображения того типа, который предусматривает использование технологического картриджа.
В соответствии с этим типом технологического картриджа, техническое обслуживание электрофотографического устройства формирования изображения может проводить сам пользователь, не полагаясь на представителя обслуживающего персонала, и поэтому производительность технического обслуживания заметно повышается.
Кроме того, в электрофотографическом устройстве формирования изображения формирование изображения происходит на материале для записи информации с использованием проявителя. Проявитель, содержащийся во вмещающей проявитель части, потребляется, когда технологический картридж, имеющий проявочное средство, повторяет формирование изображения.
Желательны простые способы разборки и повторного изготовления, чтобы снова сделать полезными технологический картридж, из которого проявитель израсходован до такой степени, что формирование изображения, качество которого может удовлетворить пользователя, оказывается невозможным. Пример такого способа описан в патенте US № 6643482.
Желателен легко осуществимый способ сборки технологического картриджа.
Данное изобретение представляет собой дальнейшее развитие вышеописанного известного технического решения.
Раскрытие изобретения
Соответственно, главная задача данного изобретения состоит в том, чтобы разработать легко осуществимый способ снятия соединительного элемента.
Другая задача данного изобретения состоит в том, чтобы разработать блок электрофотографического светочувствительного барабана, в котором снятие соединительного элемента является легко осуществимым.
Дополнительная задача данного изобретения состоит в том, чтобы разработать блок электрофотографического светочувствительного барабана, в котором установка соединительного элемента является легко осуществимой.
В соответствии с одним аспектом данного изобретения, предложен Блок электрофотографического светочувствительного барабана, содержащий: (a) цилиндр, имеющий светочувствительный слой на его внешней периферии; и (b) фланец барабана, предусмотренный на одном конце упомянутого цилиндра, причем упомянутый фланец барабана включает в себя: (i) множество выступов, предусмотренных внутри упомянутого фланца барабана и выступающих радиально внутрь от фланца барабана, с зазором между упомянутыми выступами, диаметрально вокруг упомянутого фланца барабана; (ii) выемку, предусмотренную в положении, находящемся радиально снаружи от самого внутреннего участка упомянутых выступов.
Участок каждого выступа предпочтительно имеет нависающую часть.
Предпочтительно может быть сформирован другой зазор между регулирующими участками вдоль окружного направления упомянутого фланца барабана.
Предпочтительно множество таких выемок предусмотрено с промежутками в окружном направлении.
Упомянутый фланец барабана предпочтительно выполнен из смолы.
Упомянутый блок также может содержать зубчатую часть, предусмотренную вдоль наружной поверхности упомянутого фланца барабана, при этом выступы предусмотрены в том же положении, что и упомянутая зубчатая часть относительно продольного направления упомянутого цилиндра.
В соответствии со вторым аспектом данного изобретения, предложен способ снятия соединительного элемента, предназначенный для снятия с фланца барабана, установленного на электрофотографический светочувствительный барабан, соединительного элемента для передачи вращающей силы фланцу барабана, для вращения электрофотографического светочувствительного барабана, причем упомянутый способ включает:
(i) этап наклона, на котором наклоняют соединительный элемент относительно оси вращения фланца барабана, причем соединительный элемент включает в себя заднюю концевую часть, поддерживаемую в фланце барабана, который имеет сферическую часть и палец, проходящий насквозь через сферическую часть, и свободную концевую часть, которая имеет принимающую вращающую силу часть для восприятия вращающей силы;
(ii) этап вынужденного перемещения пальца, на котором толкают палец от одного конца к другому его концу, причем упомянутые один конец и другой конец пальца выступают наружу из сферической части в состоянии, в котором соединительный элемент наклонен на упомянутом этапе наклона, при этом фланец барабана имеет предотвращающую часть для предотвращения расцепления сферической части с фланцем барабана, и внешнюю часть, предусмотренную снаружи предотвращающей части в направлении оси вращения фланца;
(iii) этап продвижения пальца, на котором заставляют часть пальца, дополнительное выступание которой на конце обеспечено за счет упомянутого этапа вынужденного перемещения, продвигаться по упомянутой внешней части; и
(iv) этап снятия соединительного элемента, на котором снимают соединительный элемент с фланца барабана путем приложения силы к свободной концевой части соединительного элемента в направлении к центру шарнира, и который является частью продвижения пальца по внешней части.
Аспектом данной изобретения также является способ снятия соединительного элемента, предназначенный для снятия с фланца барабана, установленного на электрофотографический светочувствительный барабан, используемый с технологическим картриджем, устанавливаемым с возможностью снятия в основной узел электрофотографического устройства формирования изображения, соединительного элемента для восприятия вращающей силы, предназначенной для вращения электрофотографического светочувствительного барабана, от основного узла устройства в состоянии, в котором технологический картридж установлен в основной узел устройства, причем упомянутый способ включает: (i) этап наклона, на котором наклоняют соединительный элемент относительно оси вращения фланца барабана, причем соединительный элемент включает в себя воспринимающий вращающую силу элемент, имеющий в свободной концевой части воспринимающую вращающую силу часть для восприятия вращающей силы, сферическую часть, установленную на заднюю коневую часть воспринимающего вращающую силу элемента за счет проходящего насквозь пальца; (ii) этап вынужденного перемещения пальца, на котором толкают палец от одного конца к другому его концу, причем упомянутый один и другой концы пальца выступают из сферической части в состоянии, в котором соединительный элемент наклонен посредством упомянутого этапа наклона; при этом вдоль внутренней части фланца барабана предусмотрена регулирующая часть с зазором между сферической частью и регулирующей частью, имеются конфигурации, которые ближе к сферической поверхности свободной концевой части, чем плоскость, которая перпендикулярна продольному направлению электрофотографического светочувствительного барабана и которая проходит через центр сферической поверхности, и при этом упомянутая регулирующая часть включает в себя первую поверхность, проходящую от регулирующей части в направлении от соединительного элемента к свободной концевой части относительно продольного направления, и вторую поверхность, загнутую от первой поверхности, проходящей от регулирующей части в направлении от соединительного элемента к свободной концевой части относительно продольного направления; (iii) этап продвижения пальца, на котором заставляют часть пальца, дополнительное выступание которой на конце обеспечено за счет упомянутого этапа вынужденного перемещения, продвигаться по второй поверхности; и (iv) этап снятия соединительного элемента, на котором снимают соединительный элемент с фланца барабана путем приложения силы к свободной концевой части соединительного элемента в направлении к центру шарнира и который является частью продвижения пальца по второй поверхности.
В соответствии с другим аспектом данного изобретения, предложен способ снятия соединительного элемента, предназначенный для снятия с фланца барабана, установленного на электрофотографический светочувствительный барабан, используемый с технологическим картриджем, устанавливаемым с возможностью снятия в основной узел электрофотографического устройства формирования изображения, соединительного элемента для восприятия вращающей силы, предназначенной для вращения электрофотографического светочувствительного барабана, от основного узла устройства в состоянии, в котором технологический картридж установлен в основной узел устройства, причем соединительный элемент включает в себя воспринимающий вращающую силу элемент, имеющий в свободной концевой части воспринимающую вращающую силу часть для восприятия вращающей силы, полимерную сферическую часть, установленную на заднюю концевую часть воспринимающего вращающую силу элемента за счет проходящего насквозь пальца, при этом упомянутый соединительный элемент установлен на фланец барабана, установленный на один конец электрофотографического светочувствительного барабана, с помощью полимерной регулирующей части, которая предусмотрена внутри фланца барабана и которая выступает внутрь относительно радиального направления фланца барабана, с зазором между сферической частью и регулирующей частью, причем упомянутый способ предусматривает: (i) этап захватывания, на котором захватывают воспринимающий вращающую силу элемент соединительного элемента; (ii) этап снятия соединительного элемента, на котором снимают соединительный элемент – его полимерную сферическую часть – с полимерной регулирующей части, деформируя при этом по меньшей мере одну из полимерной регулирующей части и полимерной сферической части путем приложения силы к свободной концевой части соединительного элемента в состоянии, в котором воспринимающий вращающую силу элемент захватывают посредством упомянутого этапа захватывания.
В соответствии с еще одним аспектом данного изобретения предложен способ установки соединительного элемента, предназначенный для установки на фланец барабана, установленный на электрофотографический светочувствительный барабан, используемый с технологическим картриджем, устанавливаемым с возможностью снятия в основной узел электрофотографического устройства формирования изображения, соединительного элемента для восприятия вращающей силы, предназначенной для вращения электрофотографического светочувствительного барабана, от основного узла устройства в состоянии, в котором технологический картридж установлен в основной узел устройства, причем соединительный элемент включает в себя воспринимающий вращающую силу элемент, имеющий в свободной концевой части воспринимающую вращающую силу часть для восприятия вращающей силы, полимерную сферическую часть, установленную на заднюю концевую часть воспринимающего вращающую силу элемента за счет проходящего насквозь пальца, при этом упомянутый соединительный элемент установлен на фланец барабана, установленный на один конец электрофотографического светочувствительного барабана, с помощью полимерной регулирующей части, которая предусмотрена внутри фланца барабана и которая выступает внутрь относительно радиального направления фланца барабана, с зазором между сферической частью и регулирующей частью, при этом упомянутый способ включает: этап установки соединительного элемента, на котором устанавливают полимерную сферическую часть соединительного элемента в полимерную регулирующую часть, деформируя при этом по меньшей мере одну из полимерной регулирующей части и полимерной сферической части путем проталкивания ее продольно внутрь электрофотографического светочувствительного барабана.
В соответствии с дополнительным аспектом данного изобретения, предложен блок электрофотографического светочувствительного барабана, в который устанавливают соединительный элемент, причем упомянутый соединительный элемент включает в себя в свободной концевой части воспринимающий вращающую силу элемент для восприятия - от электрофотографического устройства формирования изображения – вращающей силы, предназначенной для вращения электрофотографического светочувствительного барабана, сферическую часть, установленную на заднюю концевую часть воспринимающего вращающую силу элемента за счет проходящего насквозь пальца, при этом упомянутый блок электрофотографического светочувствительного барабана содержит цилиндр, имеющий светочувствительный слой на его внешней периферии, и фланец барабана, предусмотренный на одном конце упомянутого цилиндра, причем упомянутый фланец барабана включает в себя: множество полимерных регулирующих частей, предусмотренных внутри упомянутого фланца барабана и выступающих радиально внутрь от фланца барабана, при этом упомянутые регулирующие части приводятся в действие для регулирования перемещения упомянутой сферической части в продольном направлении упомянутого блока барабана, когда в него устанавливают упомянутый соединительный элемент; выемку, предусмотренную в упомянутой регулирующей части в положении, находящемся радиально снаружи от упомянутого фланца барабана, для облегчения деформирования упомянутой регулирующей части радиально наружу от упомянутого фланца барабана; и множество воспринимающих вращающую силу частей, включающих в себя палец для восприятия вращающей силы, причем упомянутый палец предусмотрен между соседними из упомянутых регулирующих частей.
Эти и другие задачи, признаки и преимущества данного изобретения станут понятнее при рассмотрении нижеследующего описания предпочтительных вариантов осуществления данного изобретения совместно с прилагаемыми чертежами.
Краткое описание чертежей
На фиг.1 представлено сечение основного узла и технологический картридж устройства формирования изображения в варианте осуществления.
На фиг.2 представлено в увеличенном масштабе сечение картриджа.
На фиг.3 показано перспективное изображение, иллюстрирующее конструкцию рамы технологического картриджа.
На фиг.4 представлено перспективное изображение основного узла в состоянии, в котором открываемая и закрываемая дверца открыта.
На фиг.5 представлено перспективное изображение приводного вала основного узла.
На фиг.6 представлено перспективное изображение свободной концевой части соединительного элемента.
На фиг.7 представлена иллюстрация, демонстрирующая состояние, в котором соединительный элемент и приводной вал соединены друг с другом.
На фиг.8 представлено сечение, иллюстрирующее состояние, в котором соединительный элемент и приводной вал соединены друг с другом.
На фиг.9 представлено перспективное изображение воспринимающего вращающую силу элемента, который является частью соединительного элемента.
На фиг.10 представлено перспективное изображение сферической части, которая является составной частью соединительного элемента.
На фиг.11 представлено сечение соединительного элемента.
На фиг.12 представлено перспективное изображение соединительного элемента.
На фиг.13 представлена иллюстрация фланца барабана.
На фиг.14 представлено сечение, проведенное по линии S2-S2, показанной на фиг.13.
На фиг.15 представлено сечение, иллюстрирующее процесс, во время которого осуществляют сборку воспринимающего вращающую силу элемента во фланец барабана, в сечении вдоль линии Sl-Sl, показанной на фиг.13.
На фиг.16 представлено сечение, иллюстрирующее процесс, во время которого муфту крепят к фланцу барабана, в сечении вдоль линии Sl-Sl, показанной на фиг.13.
На фиг.17 представлено перспективное изображение блока, на виде с приводной стороны.
На фиг.18 представлено перспективное изображение блока, на виде с не приводной стороны.
На фиг.19 представлено перспективное изображение, иллюстрирующее процесс разборки блока светочувствительного элемента.
На фиг.20 представлено перспективное изображение, иллюстрирующее процесс разборки блока светочувствительного элемента.
На фиг.21 представлено перспективное изображение, иллюстрирующее процесс разборки блока светочувствительного элемента.
На фиг.22 представлено перспективное изображение, иллюстрирующее процесс разборки блока светочувствительного элемента.
На фиг.23 представлено сечение, иллюстрирующее способ снятия соединительного элемента непосредственно с блока барабана.
На фиг.24 представлен в увеличенном масштабе частый разрез части с проемом, показанной на фиг.23.
На фиг.25 представлено сечение, иллюстрирующее способ снятия соединительного элемента непосредственно с блока барабана.
На фиг.26 представлено сечение, иллюстрирующее способ снятия соединительного элемента непосредственно с блока барабана.
На фиг.27 представлено сечение, иллюстрирующее способ снятия соединительного элемента непосредственно с блока барабана.
На фиг.28 представлено перспективное изображение, которое является пространственной иллюстрацией состояния согласно фиг.27.
На фиг.29 представлено сечение, иллюстрирующее способ снятия соединительного элемента непосредственно с блока барабана.
На фиг.30 представлено сечение, иллюстрирующее способ снятия соединительного элемента непосредственно с блока барабана.
На фиг.31 представлено сечение, иллюстрирующее способ повторной сборки блока барабана.
На фиг.32 представлено сечение, иллюстрирующее способ повторной сборки блока барабана.
На фиг.33 представлено перспективное изображение, иллюстрирующее способ разборки блока барабана.
На фиг.34 представлено перспективное изображение, иллюстрирующее способ повторной сборки блока барабана.
Лучший способ осуществления изобретения
Со ссылками на прилагаемые чертежи будут описаны варианты осуществления данного изобретения. Функция, материал, конфигурация, позиционные взаимосвязи и т.п. элементов, описываемых ниже, не являются ограничивающими данное изобретение, если не оговорено иное. Что касается материала, конфигурации и т.п. элементов, описанных один раз, то они применимы и к последующим описаниям, если не оговорено иное.
Вариант осуществления
Общая компоновка
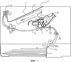
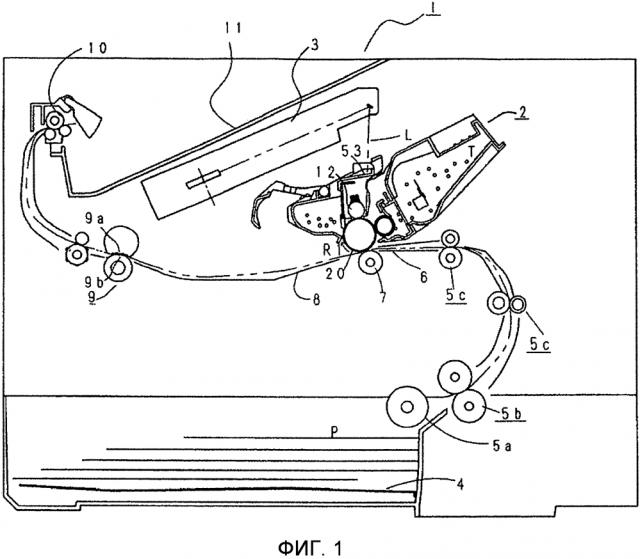
На фиг.1 представлено сечение основного узла 1 устройства формирования изображения (основного узла) и технологического картриджа 2 (картриджа) устройства формирования изображения в варианте осуществления данного изобретения. На фиг.2 представлено в увеличенном масштабе сечение картриджа 2. Теперь, со ссылками на фиг.1–2, будут описаны общая компоновка и процесс формирования изображения в устройстве формирования изображения в соответствии с данным вариантом осуществления.
Данное устройство формирования изображения представляет собой лазерный принтер, в котором используется метод электрофотографии, при этом картридж 2 устанавливают с возможностью снятия в основной узел 1. Когда картридж 2 устанавливают в основной узел 1, в верхней части картриджа 2 располагается экспонирующее устройство 3 (блок лазерного сканера). Нижняя часть картриджа 2 снабжена лотком 4 для листов, содержащим материал Р для записи информации (листовой материал), представляющий собой объект, на котором формируют изображение. Основной узел 1 снабжен предусмотренными вдоль направления подачи листового материала Р подбирающим валиком 5a, подающим валиком 5b, парой 5c подающих валиков, направляющей 6 переноса, зарядным валиком 7 переноса, подающей направляющей 8, фиксирующим устройством 9, парой 10 выпускных валиков, выпускным лотком 11 и т.д.
Процесс формирования изображения
Теперь будет описан основной принцип процесса формирования изображения. В ответ на сигнал начала печати, барабан 20 электрофотографического светочувствительного элемента (барабан) вращается в направлении, обозначенном стрелкой R1 с заданной окружной скоростью (технологической скоростью). С внешней поверхностью барабана 20 контактирует зарядный валик 12 (зарядное средство, средство обработки), на который подается напряжение смещения, и внешняя поверхность барабана 20 равномерно заряжается этим зарядным валиком 12.
Из экспонирующего устройства 3 выдается луч L лазера, модулированный соответственно последовательному электрическому цифровому сигналу пикселя информации изображения. Луч L лазера попадает внутрь картриджа 2 через экспозиционное окно 53 верхней поверхности картридж 2 для экспонирования внешней поверхности барабана 20, сканируемой этим лучом лазера. На внешней поверхности барабана 20 формируется электростатическое скрытое изображение, соответствующее информации изображения. Это электростатическое скрытое изображение визуализируется с получением изображения, проявленного тонером, с помощью проявителя Т (тонера) в блоке 40 проявочного устройства.
Зарядный валик 12 находится в контакте с барабаном 20 и осуществляет электрическую зарядку барабана 20. Зарядный валик 12 вращается барабаном 20. Блок 40 проявочного устройства подает тонер в зону проявки барабана 20 для проявки скрытого изображения, сформированного на барабане 20.
Блок 40 проявочного устройства подает тонер T, находящийся в камере 45 тонера, в камеру 44 подачи тонера за счет вращения перемешивающего элемента 43. Проявочный валик 41 (проявочное средство, средство обработки), который является несущим проявитель элементом, содержащим магнитный валик 41а (постоянный магнит), вращается, и на поверхности проявочного валика 41 формируется слой тонера, трибоэлектрически заряженный проявочным ножом 42. Тонер переносится на барабан 20 в соответствии со скрытым изображением, так что электростатическое скрытое изображение визуализируется с получением изображения, проявленного тонером. Проявочный нож 42 прикладывает трибоэлектрический заряд, регулируя количество тонера на периферийной поверхности проявочного валика 41.
С другой стороны и в соответствии с синхронизацией выдачи луча L лазера, листовой материал Р, содержащийся в нижней части основного узла 1, подается из лотка 4 для листов подбирающим валиком 5a, подающим валиком 5b и парой 5с подающих валиков. Листовой материал Р синхронизируется и подается в положение переноса между барабаном 20 и зарядным валиком 7 для переноса по направляющей 6 переноса. В положении переноса, изображение, проявленное тонером, последовательно переносится на листовой материал Р с барабана 20.
Листовой материал Р, на который перенесено изображение, проявленное тонером, отделяется от барабана 20 и подается к фиксирующему устройству 9 по подающей направляющей 8. Листовой материал P проходит через зону контакта, образованную между фиксирующим валиком 9a и прижимным валиком 9b, которые составляют фиксирующее устройство 9. Этот материал подвергается воздействию процесса фиксации посредством приложения давления и нагрева в зоне контакта, так что изображение, проявленное тонером, фиксируется на листовом материале Р. Листовой материал P, подвергшийся воздействию процесса фиксации изображения для изображения, проявленного тонером, подается к паре 10 выпускных валиков и выпускается в выпускной лоток 11.
С другой стороны, остаточный тонер на внешней поверхности барабана 20 удаляется очищающим ножом 52 (очищающим средством, средством обработки) после переноса, и барабан 20 используется для следующей операции формирования изображения, которая начинается вместе с операцией электрической зарядки. Израсходованный тонер, удаленный с барабана 20, хранится в камере 52а израсходованного тонера блока 50 светочувствительного элемента.
Зарядный валик 12, проявочный валик 41, очищающий нож 52 и т.п. являются средствами обработки, приводимыми в действие на барабане 20, соответственно.
Конструкция рамы технологического картриджа
На фиг.3 представлено перспективное изображение, иллюстрирующие конструкцию рамы картриджа 2.
Конструкция рамы картриджа 2 будет описана со ссылками на фиг.2 и фиг.3.
Как показано на фиг.2, барабан 20, зарядный валик 12 и очищающий нож 52 установлены на раму 51 барабана, составляя единый блок 50 светочувствительного барабана.
С другой стороны, блок 40 проявочного устройства образован камерой 45 тонера, которая содержит тонер, и вмещающей тонер камерой 40а, которая образует камеру 44 подачи тонера, и крышкой 40b.
Вмещающая тонер камера 40а и крышка 40b соединены в единое целое друг с другом с помощью такого средства, как сварка.
Как показано на фиг.3, свободный конец рычажной части 55а, выполненной на боковой крышке 55, предусмотренной на каждом конце относительно продольного направления (осевого направления проявочного валика 41) блока 40 проявочного устройства, снабжен круглым отверстием 55b под вращение, выполненное параллельным проявочному валику 41.
Рама 51 барабана имеет отверстие 51а для сцепления, предназначенное для приема элемента 54 соединения, соосного с отверстием 55b для вращения, когда рычажная часть 55а вставлена в заданном положении рамы 51 барабана.
Блок 50 светочувствительного элемента и блок 40 проявочного устройства соединены с возможностью поворота друг относительно друга с помощью элемента 54 соединения за счет вставления элемента 54 соединения сквозь оба отверстия - отверстия 55b для вращения и отверстие 51а для сцепления. При этом цилиндрическая пружина 46 сжатия, установленная на базовую часть рычажной части 55а, упирается в раму 51 барабана, отжимая блок 40 проявочного устройства книзу.
За счет этого, проявочный валик 41 (фиг.2) надежно прижимается к барабану 20.
На противоположные концы проявочного валика 41 установлены распорные элементы (не показаны), так что проявочный валик поддерживается с заданными интервалами от барабан 20.
Способ передачи вращающей силы на технологический картридж
На фиг.4 представлено перспективное изображение внутренней части основного узла с открытой дверцей 140 для картриджа (дверцей основного узла). Картридж 2 не установлен.
Теперь со ссылками на фиг.4 будет описан способ передачи вращающей силы на картридж 2.
Как показано на фиг.4, в основном узле 1 предусмотрена рельсовая направляющая 130 для установки и снятия картриджа, а картридж 2 устанавливают внутрь основного узла 1 по этой рельсовой направляющей 130.
В этом случае, приводной вал 100 основного узла 1 и соединительный элемент 150 (фиг.3) в качестве передающей вращающую силу части картриджа 2 соединяются друг с другом во взаимосвязи с операцией установки картриджа 2.
За счет этого, барабан 20 воспринимает от основного узла 1 вращающую силу для вращения.
1) Приводной вал 100
На фиг.5 представлено перспективное изображение приводного вала 100 со стороны основного узла.
Приводной вал 100 соединен с передаточным средством привода, таким, как не показанная зубчатая передача, предусмотренным в основном узле 1, с не показанным электродвигателем.
Свободная концевая часть 100a приводного вала 100 имеет по существу полусферическую форму и имеет передающие вращающую силу пальцы в качестве прикладывающих вращающую силу частей 100b.
2) Соединительный элемент
В состоянии, в котором картридж 2 установлен с возможностью снятия в основной узел 1, соединительный элемент 156 имеет функцию восприятия вращающей силы от основного узла для вращения барабана 20.
Как показано на фиг.11 и фиг.12, этот соединительный элемент 156 имеет воспринимающий вращающую силу элемент 150, который имеет в своей свободной концевой части воспринимающую вращающую силу часть 150е (150el-150e4) для восприятия вращающей силы.
Кроме того, он имеет сферическую часть 160 (сферический элемент), установленную за счет проходящего насквозь пальца 155 сквозь заднюю концевую часть воспринимающего вращающую силу элемента 150.
На фиг.6 представлено перспективное изображение воспринимающего вращающую силу элемента 150. Материал соединительного элемента 150 представляет собой полимерный материал, такой, как полиацетель, поликарбонат и полифениленсульфид (ППС) или аналогичный материал.
Вместе с тем, чтобы увеличить жесткость воспринимающего вращающую силу элемента 150, в полимерном материале возможно смешение стекловолокон, углеродных волокон и/или аналогичных волокон соответственно требуемой нагрузке в виде крутящего момента.
В случае, когда смешивают такой материал, можно увеличить жесткость воспринимающего вращающую силу элемента 150.
Жесткость можно дополнительно увеличить путем введения металла в полимерный материал, при этом весь воспринимающий вращающую силу элемент 150 можно изготовить из металла и т.п.
Свободный конец передающего вращающую силу элемента 150 снабжен множеством воспринимающих привод выступов 150d (150d1-150d4).
Кроме того, воспринимающий привод выступ 150d (150d1-150d4) снабжен воспринимающей вращающую силу частью 150e (150e1-150e4), наклоненную относительно оси L150 воспринимающего вращающую силу элемента 150.
Кроме того, внутри воспринимающего привод выступа 150d1-150d4 предусмотрена воронкообразная поверхность 150f.
3) Состояние соединения между приводным валом 100 муфтовым элементом 156
На фиг.7 представлена иллюстрация, демонстрирующая состояние, в котором воспринимающий вращающую силу элемент 150 соединительного элемента 156 и приводной вал 100 соединены друг с другом. На фиг.8 представлено сечение, иллюстрирующее состояние, в котором воспринимающий вращающую силу элемент 150 и приводной вал 100 соединены друг с другом.
Теперь со ссылками на фиг.7 и фиг.8 будет описано состояние соединения между приводным валом 100 и воспринимающим вращающую силу элементом 156.
Передающий вращающую силу палец 100b приводного вала 100 сцеплен с воспринимающей вращающую силу частью 150e (150e1-150e4).
Хотя это и не показано на фиг.7, передающий вращающую силу палец 100b на задней стороне также сцеплен с воспринимающей вращающую силу частью 150e.
Кроме того, свободная концевая часть 100а приводного вала 100 находится в контакте с выемкой 150f воспринимающего вращающую силу элемента 150. За счет вращения приводного вала 100, вращающая сила передается на воспринимающую вращающую силу часть 150e от передающего вращающую силу пальца 100b.
Кроме того, за счет наклона воспринимающей вращающую силу части 150e относительно оси L150 воспринимающего вращающую силу элемента 150, этот воспринимающий вращающую силу элемент 150 и приводной вал 100 притянуты друг к другу, а между свободной концевой частью 100а и выемкой 150f имеется гарантированный контакт, так что достигается гарантированная передача вращающей силы.
4) Соединительный элемент 156 и соединительная часть
На фиг.9 представлено перспективное изображение, иллюстрирующее воспринимающий вращающую силу элемент 150, а на фиг. 10 представлено перспективное изображение, иллюстрирующее сферическую часть 160.
На фиг.11 представлено сечение соединительного элемента 156, а на фиг.12 представлено перспективное изображение соединительного элемента 156.
Как показано на фиг.9, конец стороны, противоположной воспринимающей вращающую силу части 150е воспринимающего вращающую силу элемента 150 снабжен сквозным отверстием 150r.
Как показано на фиг.10, сферическая часть 160, соединенная с воспринимающим вращающую силу элементом 150, имеет по существу сферическую форму и снабжена воспринимающим вращающую силу элементом 150 и отверстием для принятия пальца 155, как будет описано ниже.
Отверстие 160a, закрытое на одном конце, принимает конец 150s воспринимающего вращающую силу элемента 150. Сквозное отверстие 160b – вместе с отверстием 160а - принимает палец 155, что будет описано ниже.
Как показано на фиг.11 и 12, воспринимающий вращающую силу элемент 150 вставлен в сферическую часть 160, а палец 155 вставляют в состоянии, в котором сквозное отверстие 150r и сквозное отверстие 160b выровнены друг с другом.
В этом варианте осуществления, воспринимающий вращающую силу элемент 150 и отверстие 160a сцеплены по скользящей посадке.
Палец 155 и сквозное отверстие 150r сцеплены по скользящей посадке.
Палец 155 и сквозное отверстие 160b сцеплены по прессовой посадке.
Соответственно, палец 155 и сферическая часть 160 соединены в единое целое.
Часть, обеспечиваемая соединением между воспринимающим вращающую силу элементом 150 и цилиндрической частью 160 представляет собой соединительный элемент 156.
Когда вращающая сила воспринимается от приводного вала 100, воспринимающий вращающую силу элемент поворачивается вокруг оси L150, а сквозное отверстие 150r сцепляется с пальцем 155.
Более конкретно, вращающая сила, передаваемая от основного узла 1, преобразуется в силу для вращения пальца 155 вокруг оси L150 вращения посредством воспринимающего вращающую силу элемента 150.
5) Передача вращающей силы на барабан 20 от соединительного элемента 156
На фиг.13 представлено изображение, иллюстрирующее фланец 151 барабана, а на фиг. 14 представлено сечение, проведенное вдоль линии S2-S2, показанной на фиг. 13.
На фиг.15 представлено сечение, проведенное вдоль линии S1-S1, показанной на фиг.13, иллюстрирующее процесс, во время которого осуществляют сборку воспринимающего вращающую силу элемента 150 во фланец 151. На фиг.16 представлено сечение, проведенное вдоль линии S1-S1, показанной на фиг.13, иллюстрирующее процесс, во время которого осуществляют крепление воспринимающего вращающую силу элемента 150 к фланцу 151.
На фиг.17 представлено перспективное изображение блока 21 электрофотографического светочувствительного барабана (блока барабана), на виде с приводной стороны (со стороны воспринимающего вращающую силу элемента 150).
На фиг.18 представлено схематическое перспективное изображение блока 21 барабана, на виде с не приводной стороны (продольно противоположной воспринимающему вращающую силу элемента 150).
Теперь со ссылками на фиг.13 и фиг.14 будет описан пример фланца 151 барабана (фланца), на который устанавливают воспринимающий вращающую силу элемент 150.
Фланец 151, на виде со стороны приводного вала 100, изображен на фиг.13.
Проем 151g (151g1-151g4), показанный на фиг.13, представляет собой паз, проходящий в направлении оси вращения фланца 151.
Когда воспринимающий вращающую элемент 150 устанавливают на фланец 151, палец 155 принимается любыми двумя из этих проемов 151g1-151g4.
Расположенная выше по часовой стрелке сторона проемов 151g1-151g4 снабжена передающей вращающую силу поверхностью (воспринимающей вращающую силу частью) 151h (151h1-151h4).
Когда вращающая сила передается на фланец 151 от пальца 155, этот палец 155 и передающая вращающую с



