Система и способ оптимальной настройки регулятора потока
Иллюстрации
Показать всеИзобретение относится к нефтегазовой отрасли и может быть применено для упрощения выбора оптимальных настроек регулятора потока для улучшения требуемой целевой функции в многозонной скважине с изоляцией зон. Сеть регуляторов потока содержится в сети заканчивания, расположенной вдоль изолированных зон скважины по меньшей мере одного бокового ствола многозонной скважины. Данные получают из забоя в многозонной скважине и обрабатывают на модулях процессорной системы, которые могут быть использованы в выбранных сочетаниях. Примеры таких модулей включают сетевые модули заканчивания, модули деконволюции, оптимизирующие модули и/или модули впуска-выпуска. Модули сконфигурированы для обработки собранных данных таким образом, чтобы способствовать регулированию настроек регулятора потока в сети регуляторов потока для улучшения требуемой целевой функции. Технический результат заключается в повышении эффективности системы и способа оптимальной настройки регулятора потока. 3 н. и 17 з.п. ф-лы, 8 ил.
Реферат
УРОВЕНЬ ТЕХНИКИ
[0001] Углеводородные текучие среды, такие как нефть и натуральный газ, добывают из подземных геологических формаций, которые называют пластами, посредством бурения скважины, проникающей в формацию, содержащий углеводород. После бурения ствола скважины могут быть установлены различные формы компонентов заканчивания скважины для управления и улучшения эффективности добычи различных текучих сред из пласта. Одним из таких устройств, которое может быть установлено, является регулятор потока.
РАСКРЫТИЕ ИЗОБРЕТЕНИЯ
[0002] В целом система и способ настройки регулятора потока предоставлены для использования в многозонной скважине, например, многоствольной скважине, в которой изоляция зон обеспечена, например, пакерами. Сеть регуляторов потока представлена в сети заканчивания, расположенной вдоль изолированных зон скважины бокового ствола или стволов многозонной скважины. Данные получают от отдельных скважинных датчиков (например, датчиков для считывания давления, температуры, расходов, положений, обнаружения воды/газа и/или других параметров), соответствующих регуляторам расхода в многозонной скважине. Данные могут быть обработаны на модулях процессорной системы /последовательности выполняемых действий, которые используют в выбранных сочетаниях. Примеры таких модулей включают сетевые модули заканчивания, модули деконволюции, оптимизирующие модули и/или модули впуска-выпуска. Модули сконфигурированы для обработки собранных данных таким способом, чтобы способствовать регулировке оптимальных настроек регулятора потока в сети регуляторов расхода. Настройки регулятора потока регулируют для улучшения требуемой целевой функции, например, максимизации добычи нефти и/или минимизации добычи воды и газа, многозонной скважины с применением ограничений на многоствольном/многозонном уровне, например, ограничений, относящихся к ограничениям снижения давления в пласте, температуре и давлению насыщения, выравнивания расхода и расхода.
[0003] Однако многие модификации возможны по существу без отклонения от сущности настоящего изобретения. Соответственно, следует понимать, что такие модификации включены в объем настоящего изобретения, описанного в формуле изобретения.
КРАТКОЕ ОПИСАНИЕ ЧЕРТЕЖЕЙ
[0004] Далее будут описаны частные варианты реализации настоящего изобретения со ссылкой на сопроводительные чертежи, на которых одинаковыми цифровыми обозначениями обозначены одинаковые элементы. Однако следует понимать, что сопроводительные чертежи изображают различные варианты реализации, описанные в настоящем описании, и не ограничивают объем различных способов, описанных в настоящем описании, и:
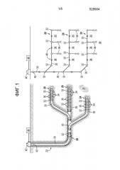
[0005] На фиг. 1 показан схематичный вид примера многозонной скважины, например, многоствольной скважины, и сопоставления заканчивания и сетевой модели заканчивания в соответствии с вариантом реализации изобретения;
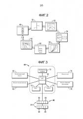
[0006] На фиг. 2 показан схематичный вид, изображающий пример последовательности выполняемых действий в системе настройки регулятора потока в соответствии с вариантом реализации изобретения;
[0007] На фиг. 3 показан схематичный вид системы обработки, которая может быть использована для обработки данных, полученных от датчиков в соответствии с модулями системы настройки регулятора потока многозонной скважины в соответствии с вариантом реализации изобретения;
[0008] На фиг. 4 показан графический пример вывода результатов деконволюции данных давления и расхода в соответствии с вариантом реализации изобретения;
[0009] На фиг. 5 показан графический пример вывода результатов в качестве сводных графиков, отображающих прорыв газа/воды в пласты скважины, в соответствии с вариантом реализации изобретения;
[0010] На фиг. 6 показан графический пример оптимизатора сети регулятор потока в соответствии с вариантом реализации изобретения;
[0011] На фиг. 7 показан схематичный вид графический пример соотношений впуска-выпуска в многозонной, многоствольной скважине в соответствии с вариантом реализации изобретения; и
[0012] На фиг. 8 показана блок-схема, отображающая пример процедуры настройки регулятора потока в многозонной скважине с разобщением пластов в соответствии с вариантом реализации изобретения.
ОСУЩЕСТВЛЕНИЕ ИЗОБРЕТЕНИЯ
[0013] В следующем описании многочисленные детали изложены для описания некоторых вариантов реализации настоящего изобретения. Однако специалистам в данной области техники будет понятно, что система и/или способ могут быть реализованы без этих деталей, и что существует возможность осуществления множества изменений и модификаций в описанных вариантах реализации.
[0014] Настоящее описание в общем относится к способу и системе для настройки регуляторов потока для улучшения производительности. Например, способ и система могут быть использованы в многозонной скважине с изоляцией зон для оптимизации требуемой целевой функции, например, улучшения потока нефти от многозонной скважины. Сеть регуляторов потока представлена в сети заканчивания, расположенной вдоль изолированных зон скважины бокового ствола или боковых стволов многозонной скважины. Данные получают от скважинных датчиков и обрабатывают на модулях процессорной системы. Примеры таких модулей включают сетевые модули заканчивания, модули деконволюции, оптимизирующие модули и/или модули впуска-выпуска, которые могут быть использованы вместе или в различных сочетаниях. Модули могут являться программными модулями, сконфигурированными для обработки собранных данных таким способом, чтобы способствовать регулировке настроек регулятора потока в сети регуляторов потока для улучшения требуемой целевой функции. Модули могут быть сконфигурированы для обработки собранных данных таким способом, чтобы способствовать регулировке оптимальных настроек регулятора потока в сети регуляторов расхода. В качестве примера, настройки регулятора потока отрегулированы для улучшения требуемой целевой функции, например, максимизацию добычи нефти и/или минимизацию добычи воды и газа, многозонной скважины с применением ограничений на многоствольном/многозонном многозонном уровне, например, ограничений, относящихся к ограничениям снижения давления в пласте, температуре и давлению насыщения, выравнивания расхода и расхода.
[0015] В качестве примера, система и способ могут быть использованы для настройки проходных сечений регуляторов потока для достижения оптимального пластового распределения производительности на основании данных скважинного датчика. Система и способ обеспечивают возможность улучшения обратной связи и оптимизации требуемой целевой функции по сравнению с известными способами с управлением данными без модели, которые основывались на трендинге данных для обеспечения малого времени отклика обратной связи к регуляторам расхода в качестве части организации производства и контроля. Варианты реализации настоящего изобретения включают использование аналитических инструментов моделирования скважины и встроенную последовательность выполняемых действий, которая может быть использована в процессе работы и в реальном времени для управления и оптимизации настроек регулятора потока.
[0016] В варианте реализации способа для оптимизации настроек регулятора потока способ включает применение деконволюции переменного отклика давления к непрерывным изменениям расхода пласта посредством приведения в действие регулятора потока. Способ также может включать преобразование производительности впуска-выпуска и справочный способ с использованием узлового анализа ствола скважины и заканчивания скважины, калиброванного результатами деконволюции. Дополнительно, способ может включать способ оптимизации, устанавливающий места расположения регулятора потока в пределах указанных ограничений для оптимизации, например, максимизации, данной целевой функции. Способ может также быть использован для идентификации прорыва газа и/или воды посредством применения данных датчика, например, данных давление-объем-температура (PVT), к кривым засорения регулятора потока.
[0017] Деконволюция является способом, используемым для оценки пласта посредством испытания переменным давлением, а оптимизация производительности впуска-выпуска была задействована для оснащений одного пласта. Однако настоящее изобретение предлагает простой графический интерфейс, отображающий взаимозависимость расходов пластов и рабочего давления при добавлении потока через больше, чем один регулятор потока, или больше, чем одну скважину, в этот же путь потока ствола скважины. Способ оптимизации может использовать подходящий алгоритм оптимизации, такой как алгоритм оптимизации, содержащийся в программном обеспечении оптимизации смешанного целочисленного нелинейного программирования, производимом компанией «Schlumberger». Алгоритм оптимизации использован в сочетании с программным обеспечением узлового анализа, таким как программное обеспечение «Pipesim», производимое компанией «Schlumberger», или другие подходящие программы, например, «Eclipse» - модель численного моделирования, также производимая компанией «Schlumberger». Дополнительно, настоящий способ способствует идентификации прорыва газа и/или воды посредством использования кривых засорения, созданных (ΔP как функция от Q) с использованием механической модели засорения для частных характеристик давление-объем-температура (PVT) текучей среды и изменяющимся соотношениям газ-нефть (GOR)/содержание воды. Данные (ΔP как функция от Q), полученные от регуляторов потока в режиме реального времени могут быть наложены на набор теоретических кривых для идентификации прорыва газ и/или воды в количественном соотношении.
[0018] В некоторых вариантах реализации настройки регулятора потока управляют посредством способа, выведенного из архитектуры, основанной на модели, и последовательности выполняемых действий. Этот способ использует параметры ствола скважины, пласта и текучей среды, включая, например, глубины, внутренние диаметры труб заканчивания, установленное оборудование для заканчивания, характеристики пласта, данные давление-объем-температура, и/или другие параметры.
[0019] В целом со ссылкой на фиг. 1, простая модель сети, отображающая оснащение 20 скважины, например, оснащение многоствольной скважины, расположенная в многозонной скважине 22, например, многоствольной скважине, содержащей несколько изолированных зон, может быть сконфигурирована с использованием подходящего промышленного программного обеспечения, выполненного с возможностью осуществления вычислений потока текучей среды, например, «Pipesim», «Eclipse» или «Petrel», производимые компанией «Schlumberger». На левой стороне фиг. 1 изображен пример заканчивания 20 действующей многоствольной скважины и многозонной/многоствольной скважины 22, а на правой стороне фигуры изображена соответствующая модель сети. Следует отметить, что многопластовая скважина 22 может содержать один боковой ствол с несколькими пластами скважины или множество боковых стволов с несколькими пластами скважины. Одинаковые элементы на изображении оснащении действующей многоствольной скважины и на модели сети заканчивания обозначены одинаковыми цифровыми обозначениями.
[0020] В примере, изображенном на фиг. 1, многопластовая скважина 22 содержит многоствольную скважину, содержащую боковые стволы 24, 26 и 28. Однако скважина может содержать другие количества и конфигурации боковых стволов, а изображенный вариант реализации предоставлен в качестве примера для способствования пояснению способа настройки регулятора потока. Оснащение 20 скважины содержит секции труб 30, проходящие между различными компонентами заканчивания и/или через них, включая пакеры 32, разобщающие соответствующие пласты 34 скважины. Дополнительно, оснащение 20 скважины содержит множество регуляторов 36 расхода, управляющих потоками текучей среды и расходами текучей среды из различных соответствующих пластов 34 скважины в оснащение 20 многоствольной скважины.
[0021] Например, текучая среда скважины может протекать из окружающей формации 38, например, формации, содержащей углеводородные текучие среды, и в оснащение 20 скважины через регуляторы 36 расхода на соответствующем пласте 34 скважины. Текучая среда смешивается после протекания через регуляторы 36 расхода, а поток смешанной текучей среды направлен вверх через секции 30 труб к оборудованию 40 устья скважины для сбора. Оборудование 40 устья скважины или другое оборудование, расположенное на поверхности, также может содержать оборудование 42 для регулирования потока, например, клапан или другой тип запирающего поток устройства, для управления расходами и давлениями. Как более подробно описано далее, система 44 управления также может работать в сочетании с системой 46 датчиков для получения и обработки данных таким способом, чтобы способствовать улучшению настройки регуляторов 36 расхода для оптимизации, например, максимизации, требуемой целевой функции общего заканчивания 20 скважины.
[0022] Модель сети, изображенная на правой стороне фиг. 1, сконфигурирована для отображения различных компонентов заканчивания 20 многоствольной скважины, включая, например, внутренний и наружный диаметры секций 30 труб, перфорации в обсаженной скважине, значения глубины компонентов, например, глубины регуляторов расхода, количество и расположение боковых стволов, пластов скважины, характеристики пласта, параметры текучей среды и типы оборудования для заканчивания, например, типы регуляторов расхода. Модель сети, например, программный модуль узлового анализа, такой как «Pipesim», или численная модель, такая как «Eclipse» или «Petrel», может использовать существующие данные, относящиеся к статическим параметрам ствола скважины (например, значения внутреннего диаметра, наружного диаметра и глубины), которые обычно остаются неизменными на протяжении срока эксплуатации скважины. Дополнительно, модель может использовать переменные данные, которые регулярно обновляют. Данные могут быть обновлены эпизодически или в реальном времени. Примеры обновленных переменных данных включают изменения в давлениях, составах текучей среды (например, увеличение соотношения газ-нефть (GOR), содержания воды и/или другие составные изменения текучей среды) и изменения в расположениях регулятора потока, т.е. настройки, за которыми наблюдают через скважинные датчики системы 46 датчиков. Скважинные датчики могут включать датчики, составляющими часть регуляторов расхода, и датчики, например, датчики давления и температуры, расположенные отдельно в различных пластах скважины и/или на других участках скважины.
[0023] Модель сети использует последовательность выполняемых действий, осуществляющую анализ данных и интегрирующую правильные вводы характеристик пласта, давлений, данных текучей среды и/или других данных в модель. Модель сети затем обновляют/калибруют для осуществления сценариев оптимизации и для подтверждения результатов для осуществления указанных сценариев оптимизации. После внедрения настроек регулятора потока на основании подтвержденных сценариев оптимизации, модель сети может быть непрерывно повторно калибрована, что эффективно продолжает цикл оптимизации.
[0024] В целом со ссылкой на фиг. 2, графическое отображение предоставлено для иллюстрации примера архитектуры, основанной на модели, и интеграции последовательности выполняемых действий. Архитектура, основанная на модели, и интеграция последовательности выполняемых действий создает цикл, способствующий оптимизации настройки регулятора потока во время эксплуатации многозонной скважины, например, многоствольной скважины, содержащей несколько пластов. В этом примере, получено схематическое или другое изображение заканчивания 20 действующей многоствольной скважины, как указано на блоке 48. На основании архитектуры заканчивания действующей многоствольной скважины, создают модель сети, как указано на блоке 50. Множество различных данных, как описано ранее, может быть собрано посредством системы 46 датчиков и обработано посредством модели сети, как указано на блоке 52.
[0025] В этом примере анализ данных затем проводят посредством деконволюции данных, как указано на блоке 54. Данные также анализируют для определения прорыва газа и/или воды, как указано на блоке 56. Процесс оптимизации, например, алгоритм оптимизации, затем применяют к данным для определения оптимизированных сценариев для данной целевой функции, например, максимизации добычи скважины, уменьшения содержания воды, управления газом или другой целевой функции, как указано на блоке 58. Результаты затем могут быть выведены, например, нанесены на чертеж, относительно кривых впуска-выпуска для оценки потока, как указано на блоке 60. В качестве примера оценка потока может являться идентификацией перекрестных перетоков между зонами скважины. Результаты оценки потока используют для подтверждения или регулировки настроек регуляторов 36 расхода, а затем процесс/цикл может быть повторен для обеспечения непрерывной оптимизации для требуемой целевой функции или функций.
[0026] Соответственно, на примере, изображенном на фиг. 2, в общем изображена общая последовательность выполняемых действий для достижения оптимальных настроек регуляторов 36 расхода в оснащении 20 скважины. Характеристики заканчивания скважины преобразовывают в модель сети ствола скважины, а данные, доступные от различных датчиков системы 46 датчиков, анализируют для получения характеристик пласта и характеристик, относящихся к текучей среде. Модель сети обновляют последними результатами, полученными от датчиков для оптимизации настроек сечения регулятора потока на основании требуемой целевой функции. Результаты затем выводят, например, наносят на чертеж, относительно кривых впуска-выпуска для оценки потока, например, идентификации межзонного перетока, и эти обновленные настройки могут быть применены на месте расположения скважины.
[0027] Применение модели сети и обработка данных могут быть осуществлены на системе 44 управления. В качестве примера система 44 управления может являться системой на основе процессора, такой как компьютерная система, получающей данные от датчиков и обрабатывающей эти данные посредством программных модулей в соответствии с параметрами, предоставленными моделью сети. Программный модуль или модули могут быть реализованы в программном продукте, таком как «Avocet», программный продукт технологических операций, производимый компанией «Schlumberger». На фиг. 3 изображен пример системы 44 управления на основе процессора, который может содержать систему сбора данных и управления в реальном времени, такую как стимулированную программным продуктом «Avocet». В этом примере система 44 может содержать процессор 62, выполненный в форме центрального процессора (CPU). Процессор 62 функционально выполнен с возможностью приема и обработки данных, полученных от датчиков 64 системы 46 датчиков. В качестве примера датчики 64 могут содержать датчики 66 регулятора потока, установленные на регуляторах 36 расхода или возле них для наблюдения за настройками регулятора потока (например, проходные сечения клапана), расходами через регуляторы расхода и/или другими параметрами регуляторов потока (например, параметры давления, температуры и идентификация фазы текучей среды). Датчики 64 также могут содержать различные другие датчики 68, например, датчики давления, датчики температуры, датчики потока и/или другие датчики, расположенные на различных местах расположения в боковых стволах 24, 26, 28 и/или других местах расположения вдоль многоствольной скважины 22.
[0028] В примере, изображенном на фиг. 3, процессор 62 может использовать систему для сбора и управления в режиме реального времени, например, «Avocet», а также может быть функционально соединен с запоминающим устройством 70, устройством 72 ввода и устройством 74 вывода. Запоминающее устройство 70 может быть использовано для хранения различных типов данных, таких как данные, собранные и обновленные через датчики 64. Устройство 72 ввода может содержать различные устройства, такие как клавиатура, мышь, блок распознавания речи, сенсорный экран, другие устройства ввода или сочетания таких устройств. Устройство 74 вывода может содержать визуальное и/или аудио устройство вывода, такое как компьютерный дисплей, монитор или другое устройство отображения, содержащее графический пользовательский интерфейс. Дополнительно, обработка может быть осуществлена одним устройством или несколькими устройствами локально, на удаленном участке или с некоторыми локальными устройствами и другими устройствами, расположенными удаленно, например, система сервер/клиент.
[0029] Основанная на процессоре система 44 управления выполнена с возможностью работы с различными модулями, например, программными модулями, для реализации способа настройка регулятора потока. Например, система сбора данных и управления в реальном времен/процессор 62 может быть использован в сочетании с модулем 76 сети, содержащим модель сети ствола скважины, например, «Pipesim», отображающую различные компоненты заканчивания 20 многоствольной скважины. Дополнительно, система 44 управления может содержать модуль 78 деконволюции; а процессор 62 может работать в сочетании с программным модулем деконволюции для применения деконволюции переменных откликов давления к непрерывным изменениям расхода пласта посредством приведения в действие регуляторов 36 расхода. Модуль 78 деконволюции может использовать стандартный/многоскважинный алгоритм деконволюции для обработки данных.
[0030] В качестве другого примера оптимизирующий модуль 80, например, алгоритм оптимизации, может быть использован в сочетании с процессором 62 для оптимизации данной целевой функции на основании данных, полученных от датчиков 64. Модуль 82 впуска-выпуска также может быть использован с процессором 62 для обеспечения преобразования производительности и справочного способа с использованием узлового анализа заканчивания 20 многоствольной скважины и скважины 22. Модули 76, 78, 80, 82 являются примерами различных программных продуктов, которые могут быть использованы на системе 44 управления для осуществления процедуры настройки регулятора потока, описанной в настоящем описании. Различные необработанные данные, анализы, обновленные данные, результаты моделирования и/или другие типы необработанных и обработанных данных могут храниться в запоминающем устройстве 70 и оцениваться посредством подходящего модуля.
[0031] В целом со ссылкой на фиг. 4 предоставлено дальнейшее описания модуля 78 деконволюции. При предоставлении датчиками 64 данных, например данных расхода и давления, во время управления проходными сечениями регулятора 66 расхода, обеспечивается осуществление деконволюции данных множества расходов посредстом модуля 78. Деконволюция данных является процессом для управления данными, известным специалистам в данной области техники как анализ с использованием переменного давления. В этом примере деконволюцию данных осуществляют для оценки параметров призабойной зоны, таких как эффективная глубина проникновения, коэффициент проницаемости, производительность и/или другие требуемые параметры. Подвергнутые обратной деконволюции данные затем вводят в модель скважины, например, обработанную в соответствии с модулем 76 сети скважины, для точности и оптимизации. Фиг. 4 изображает примеры различных графиков, относящихся к деконволюции данных, которые могут быть выведены для просмотра на устройство 74 вывода или другое подходяще устройство. Изображенные примеры содержат график 84 двойного логарифма деконволюции данных, полулогарифмический график 86 данных и график 88 данных истории. Различные другие графики или форматы отображения данных могут быть использованы для отображения данных, подвергнутых обратной деконволюции.
[0032] В целом со ссылкой на фиг. 5, предоставлено графическое отображение сводных графиков для прорыва газа/воды для нескольких различных соотношений газ-нефть (GOR). Графическое отображение представляет общий расход как функция от Δ давления для различных соотношений газ-нефть (GOR) для каждого регулятора 36 расхода, и эти графики могут быть образованы через модуль 76 сети скважины. В целом, добыча газа и воды является нежелательной в скважинах добычи нефти. Регуляторы 36 расхода могут быть использованы для управления добычей газа/воды при внедрении подходящих настроек регулятора потока. Для способствования выбору частной настройки регулятора потока, обеспечивается изначальная идентификация регуляторов 36 расхода, производящих нетребуемую фазу текучей среды. Так как регуляторы потока ограничены управлением давлением и проходным сечением, и часто выполнены без возможности непосредственного удаления наличия газа или воды, система 44 управления может быть использована для осуществления последовательности выполняемых действий, количественно идентифицирующей наличие воды и/или газа и способствующей оптимизации настроек клапана для уменьшения этих нетребуемых фаз текучей среды.
[0033] Регуляторы 36 расхода могут являться типовым клапаном дроссельного типа/клапаном Вентури или другим подходящим регулятором потока, для которого кривые ΔP как функция от расхода (Q) могут быть образованы при различных содержаниях газа/воды и при различных настройках регулятора потока, т.е. различных позициях засорения. Модель сети, как отображено на правой стороне фиг. 1, и как реализовано посредством программного модуля 76 сети, может быть сконфигурирована для принятия во внимание характеристик давление-объем-температура (PVT) текучей среды. Изменения в плотности текучей среды обычно отражаются в падениях давления и изменениях расхода относительно соответствующего регулятора 36 расхода. Действующие измерения расходов и ΔP (изменения давления) регулятора потока, полученные от многоствольной скважины 22, могут быть наложены на сводный график, созданный моделью регулятора потока.
[0034] Графики, изображенные на графике по фиг. 5, изображают измеренные данные как функцию от данных модели, и изменение кривых. При выравнивании точек измеренных данных с данными модели, может быть создана количественная оценка содержания газа/воды. Оценка может быть дополнительно использована в качестве ввода в модель сети скважины для оптимизации настройки регулятора потока.
[0035] В целом со ссылкой на фиг. 6, предоставлено дальнейшее описание оптимизирующего модуля 80. Оптимизация регулятора потока вызывает трудности вследствие динамических эффектов гидросистемы ствола скважины при изменении одной настройки регулятора потока на частную настройку/положение относительно других регуляторов расхода. Однако оптимизирующий модуль 80 предлагает решение оптимизации, которое может быть использовано с моделью сети калиброванного ствола скважины, реализованной в модуле 76 сети. Оптимизирующий модуль 80 может использовать различные алгоритмы или модели оптимизации, используемые для регулирования настроек регулятора потока таким образом, чтобы оптимизировать требуемую целевую функцию. Примером оптимизатора, который может быть использован в оптимизирующем модуле 80, является оптимизатор «MINLP», производимый компанией «Schlumberger» и который может быть использован в сочетании с модулем сети, использующим программное обеспечение узлового анализа, такое как «Pipesim», или программное обеспечение численного моделирования, такое как «Eclipse», также производимое компанией «Schlumberger».
[0036] Оптимизирующий модуль 80 может быть сконфигурирован для создания градиентов кривых на основании производительности каждого пласта 34 скважины на каждом соответствующем регуляторе 36 расхода при различных настройках регулятора потока, представленных в модели сети, как изображено на фиг. 6. В этом примере оптимизирующий модуль 80 использует ограничения ствола скважины, например, проходные сечения регулятора потока и внутренние диаметры, многоствольный/многопластовые расходы и данные давления для обеспечения целевой функции, например, максимальной производительности скважины или минимальных расходов воды/газа. На основании обработки данных оптимизацией, оптимизирующий модуль 80 выводит настройки регулятора потока на основании калиброванной модели. Настройки регулятора потока передают далее к модулю 82 впуска-выпуска для анализа соотношения впуска-выпуска и для подтверждения настроек регулятора потока, выведенных оптимизирующим модулем 80.
[0037] Понимание соотношений кривых впуска и выпуска в скважине с несколькими регуляторами 36 расхода способствует идентификации межзонного перетока между пластами скважины, и это способствует оптимизации производительности скважины. Межзонный переток в многоствольных скважинах непросто идентифицировать или оценить просто посредством одних данных давления, так как он имеет относительную зависимость в различных пластах скважины и настройках регуляторов расхода, которые являются по существу динамическими. Способ последовательности выполняемых действий, описанный в настоящем описании, использует кривые впуска-выпуска, созданные моделью, на каждом пласте 34 скважины, соответствующем данному регулятору 36 расхода. Модуль 82 впуска-выпуска обеспечивает возможность установку узла узлового анализа, который может быть использован для объединения расходов пластов.
[0038] Так как несколько регуляторов 36 образуют одну кривую впуска для заканчивания многосегментной/многозонной скважины, настоящий способ использует модуль 82 впуска-выпуска для образования совокупной кривой впуска для данного бокового ствола боковых стволов 24, 26, 28. Боковой ствол содержит несколько пластовых притоков. Совокупная кривая впуска достигается посредством суммирования расходов отдельных регуляторов 36 расхода для данного перепада давления из модели. На совокупную кривую впуска затем накладывают моделированной кривой выпуска при выбранном давлении устья для получения рабочей точки узлового анализа, как изображено графически на фиг. 7. Графическое изображение на фиг. 7 наносит объемный расход на чертеж относительно давления на выходе для трех регуляторов расхода, как показано линиями 90 графика. График также предоставляет совокупную кривую 92 впуска, а также совокупные кривые 94 выпуска, измеренные на соединении бокового ствола. Совокупные кривые 94 выпуска отображают реальные данные потока и изменения в этих данных в результате подавления потока посредством, например, изменения в давлении устья посредством регулирования оборудования 42 для регулирования потока. Две кривые 94 выпуска изображают смещение, образованное в результате подавления потока на поверхности, при этом кривая 92 впуска подвергается воздействию при изменении/сбросе скважинных регуляторов 36 расхода.
[0039] Рабочая точка узлового анализа обеспечивает точную оценку давления потока в трубе ранее каждого регулятора 36 расхода в технологической цепочке, а также соответствующих расходов. Если значение точки совокупного узлового давления превышает впускное давление отдельного регулятора потока, это явление означает межзонный переток между пластами скважины. Модель впуска-выпуска модуля 82 способствует реконструкции кривых впуска-выпуска при каждом выполнении процедура/программы оптимизации.
[0040] Графическое отображение рабочей точки узлового анализа обеспечивает визуализацию манометрическое давление ранее отдельного регулятора 36 расхода в технологической цепочке относительно итогового расхода в режиме реального времени. В некоторых вариантах реализации регуляторы 36 расхода оснащены трубкой Вентури для измерения расхода через отдельный клапан. Хотя расходы измеряют непосредственно через расчет трубки Вентури в варианте реализации типа Вентури, направление потока не указано. Однако этот способ прогнозирования таких расходов способствует калибровочным расчетам ниже диапазона чувствительности трубки Вентури и идентификации межзонных перетоков.
[0041] В зависимости от применения, оснащение 20 многозонной/многоствольной скважины может быть выполнено в различных конфигурациях регуляторов 36 расхода, пакеров 32, труб 30 и других компонентов в различных боковых стволах. Дополнительно, система 44 управления, процессор 62 и программные модули, например, модуль 76 сети, модуль 78 деконволюции, оптимизирующий модуль 80 и модуль 82 впуска-выпуска может использовать различные модели, программы и/или алгоритмы для осуществления анализа требуемых данных и обработки для способствования выбору настроек регулятора потока для улучшения требуемой целевой функции.
[0042] На фиг. 8 пример процедуры настройки регулятора потока в многоствольной скважине с изоляцией зон представлен в форме блок-схемы. Изначально, данные давления и температуры, данные о положении/настройках регуляторов расхода, и данные расхода могут быть получены от скважинных датчиков 64, как указано на блоке 100. Дополнительно, структура заканчивания 20 многоствольной скважины может быть определена посредством, например, получения схематического вида заканчивания скважины, на котором изображена конфигурация регуляторов 36 расхода, как указано на блоке 102.
[0043] Деконволюцию применяют к данным, указанным в блоке 100, например, применяют к данным давления и данным расхода, посредством модуля 78 деконволюции для получения характеристик пласта, например, коэффициента проницаемости, эффективной глубины проникновения и производительности, как указано в блоке 104. Дополнительно, данные из блока 100 могут быть использованы для идентификации прорыва газа/воды и для получения количественных значений, относящихся к соотношению газ-нефть и содержания воды, как указано в блоке 106, и как описано ранее со ссылкой на фиг. 5. Данные, полученные и/или обработанные в блоках 100, 102, 104, 106, подают к модулю 76 сети, как указано в блоке 108. Модуль 76 сети использует данные для создания и/или обновления модели заканчивания сети с данными, полученными о настройках регулятора потока, трубах, параметрах пласта и других параметрах. Модель заканчивания сети калибруют до последних доступных данных, относящиеся, например, к расходам, давлениям, настройкам регулятора потока, например, проходные сечения регулятора потока и другие данные, как указано на блоке 110.
[0044] После калибрования модели заканчивания сети последними доступными данными, модель запускают на оптимизирующем модуле 80, как указано на блоке 112. Оптимизирующий модуль 80 может использовать алгоритм оптимизации для требуемой целевой функции, например, максимального расхода нефти или минимальной добычи воды/газа, при этом поддерживая переменную управления в качестве постоянного отверстия проходного сечения, проходящего через регуляторы 36 расхода. Результаты оптимизации нанесены на чертеж в соотношении впуска-выпуска через модуль 82 впуска-выпуска для получения совмещенных расходов и давлений при поиске указателей межзонного перетока между пластами 34 скважины, как указано на блоке 114.
[0045] При обнаружении межзонного перетока (см. на блоке 116 с вопросом), процедура сконфигурирована для повторения обработки на оптимизирующем модуле 80 четырех других выбранных настроек регуляторов 36 расхода. Результаты снова наносят на чертеж для соотношения впуска-выпуска для получения совмещенных расходов и давлений при поиске межпластового перетока. При отсутствии межзонного перетока на блоке 116, оптимизированные настройки регулятора потока применяют на месте расположения скважины на действующем оснащении 20 многоствольной скважины, как указано на блоке 118. Процесс затем повторяют посредством возвращения к блоку 100, как указано в блок-схеме по фиг. 8. Таким образом, процедура может проходить в непрерывном цикле для непрерывного улучшения требуемой целевой функции или функций посредством непрерывной оптимизации настроек регулятора потока.
[0046] Настройки регулятора потока могут быть настроены повторно на основании эпизодической обработки данных или обработки данных в режиме реального времени. Процедура для настройки регулятора потока может быть приспособлена ко многим типам заканчивания многозонной/многоствольной скважины, содержащей отдельны
 
                         
                            


