Панель охранного ограждения и охранное ограждение

Иллюстрации

Показать все

Настоящее изобретение относится к панели охранного ограждения. Технический результат изобретения заключается в том, чтобы предложить альтернативную, более прочную вариацию панели защитного ограждения, которую можно изготовить из меньшего количества материала для обеспечения такого же уровня защиты. Технический результат достигается за счет того, что проволоки из первого комплекта параллельных проволок расположены с другой стороны второго комплекта параллельных проволок и с зазором относительно остальных проволок из первого комплекта, при этом проволоки из первого комплекта пересекаются с проволоками из второго комплекта и приварены к ним в местах пересечений. Настоящее изобретение также относится к охранному ограждению, содержащему подобную панель охранного ограждения. 2 н. и 9 з.п. ф-лы, 3 ил.

Реферат

Настоящее изобретение относится к панели охранного ограждения, содержащей первый комплект проволок, проходящих, по существу, параллельно друг другу, и второй комплект проволок, проходящих, по существу, параллельно друг другу, в которой проволоки из первого комплекта и второго комплекта пересекаются и приварены друг к другу в местах их пересечения. Помимо этого настоящее изобретение относится к охранному ограждению, содержащему такую панель.

В данной патентной заявке под термином «проволока» понимается удлиненный или прутообразный элемент.

Под термином «сварка» понимается любая операция или обработка, как с использованием дополнительных сварочных материалов, клеевых материалов или продукции, так и без их использования и сопровождаемая как путем (локального) нагрева соединяемых деталей, так и без их нагрева, в результате чего создается долговечное соединение без использования внешних соединительных средств, по существу, с функцией механического соединения.

Ограждения, рассмотренные в EP 2194216 A1 и DE 10201025513 A1, не являются охранными ограждениями такого типа, к которому относится настоящее изобретение, поскольку они, по большому счету, не позволяют предотвращать проникновение посторонних лиц.

Зажимы ограждения из EP 2194216 A1 можно легко сломать, проволоку панелей ограждения данного ограждения можно легко разрезать, а человек может легко перелезть через подобное ограждение, поэтому ограждение, рассматриваемое в указанном документе, не обеспечивает надежной защиты от проникновения посторонних лиц.

Поскольку панели ограждения, рассматриваемые в DE 10201025513 A1, можно легко сцепить между собой, то их можно так же легко вновь расцепить друг от друга, поэтому посторонние могут легко преодолеть данное ограждение.

Охранные ограждения с панелями, на которые направлено настоящее изобретение, обычно возводятся вокруг охраняемых зданий или участков. Поэтому подобные ограждения возводятся, например, вокруг военных объектов, ядерных объектов, аэропортов и т.п. Данные охранные ограждения предназначены для защиты от проникновения посторонних в данные здания или на участки, обеспечивая при этом достаточный обзор через данные ограждения. Подобные ограждения, в целом, не позволяют в течение определенного периода времени посторонним лицам перелезать или проходить через ограждение при помощи простого ручного инструмента. Подобное ограждение также, в целом, оборудуется системой обнаружения, которая подает сигнал тревоги при попытке прохода или перелезания через данное ограждение. Как вариант или как дополнение, сотрудники охраны осматривают ограждение и могут обнаружить подобные попытки проникновения через ограждение. Поэтому указанный период времени предпочтительно соответствует периоду, в течение которого сотрудники охраны могут прибыть на место.

Проволочные панели с перпендикулярно пересекающимися проволоками и соответствующим размером ячеек в настоящее время широко используются в качестве охранных ограждений данного типа и описаны, например, в GB 2480913 A, US 2011/0062404 A1 и ZA 2005/08877. При их использовании монтаж охранных ограждений осуществляется на столбы при помощи соответствующих крепежных средств. После монтажа проволочных панелей зазор между, по существу, горизонтально расположенными проволоками меньше, чем между, по существу, вертикально расположенными проволоками.

В ZA 2006/09593 рассмотрена одна из вариаций подобных проволочных панелей, в которой первый комплект и второй комплект проволок пересекаются не перпендикулярно.

Помимо этого заявитель по настоящей патентной заявке разработал усиленную вариацию подобных панелей охранного ограждения, предлагаемую на рынке под названием «Securifor 3D». Дополнительная прочность в данном случае достигается за счет трехмерного сгибания панелей охранного ограждения. Проволоки одного из комплектов имеют локальные изгибы в одинаковых местах. На уровне данного изгиба проволоки из другого комплекта не проходят в одной и той же плоскости с проволоками, расположенными рядом с данным изгибом.

Цель настоящего изобретения заключается в том, чтобы предложить альтернативную, более прочную вариацию панели защитного ограждения, которую можно изготовить из меньшего количества материала для обеспечения такого же уровня защиты.

Данная цель изобретения достигается за счет использования панели охранного ограждения, содержащей первый комплект проволок, проходящих, по существу, параллельно друг другу, и второй комплект проволок, проходящих, по существу, параллельно друг другу, в которой проволоки из первого комплекта и проволоки из второго комплекта пересекаются и в местах их пересечений сварены между собой и в которой часть проволок из первого комплекта расположена с другой стороны проволок второго комплекта по сравнению с остальными проволоками из первого комплекта, а данная часть проволок, при виде в продольном направлении проволок из второго комплекта, расположена с определенным зазором от остальных проволок первого комплекта.

При использовании такого же количества проволок, что и в проволочной панели из известного уровня техники, более прочную панель по изобретению удается получить за счет систематического расположения проволок из первого комплекта попеременно с одной и с другой стороны проволок второго комплекта. Проволоки из второго комплекта предпочтительно соприкасаются лишь с проволоками из первого комплекта. Проволоки из первого комплекта могут соприкасаться с другими элементами, такими как, например, проволоки из дополнительного комплекта проволок.

Каждая проволока из данной части первого комплекта, которая находится с другой стороны второго комплекта, расположена, при виде в продольном направлении проволок из второго комплекта, с определенным зазором от остальных проволок первого комплекта.

Поэтому из такого же количества материала можно получить более прочные панели, которые после их монтажа на столбы позволяют сделать ограждение более прочным. В результате ограждения, содержащие панели по изобретению и оборудованные системой обнаружения, основанной на обнаружении движения данных панелей, выдают меньше ложных сигналов тревоги, например, вследствие колебаний панели на ветру или сидения птиц на панели.

Если требуется получить ограждение, функционирующее столь же успешно, как и ограждения из известного уровня техники, то этого можно достичь при меньшем количестве материала.

Поскольку часть проволоки панели ограждения по изобретению находится с задней стороны возведенного ограждения, то проволоку ограждения, находящуюся сзади, будет сложнее разрезать или сломать с передней стороны при помощи обычного ручного инструмента.

По одному из более конкретных вариантов осуществления проволоки из второго комплекта в данном случае проходят в одной плоскости. В данном случае часть проволок из первого комплекта проходит в первой плоскости, с одной стороны плоскости второго комплекта проволок, тогда как остальные проволоки из первого комплекта проходят во второй плоскости, с другой стороны плоскости второго комплекта проволок. В данном случае указанные панели расположены параллельно.

В подобной проволочной панели по изобретению угол, под которым проволоки из первого комплекта пересекаются с проволоками из второго комплекта, предпочтительно составляет почти 90°. Как вариант, проволоки также могут быть расположены под наклоном от 25 до 60°, в данном случае предпочтительно под наклоном примерно в 45°.

Второй комплект проволок панели охранного ограждения по настоящему изобретению, после монтажа панели, предпочтительно проходит, по существу, вертикально.

Первый комплект проволок, после монтажа панели, предпочтительно проходит, по существу, горизонтально.

По одному из наиболее предпочтительных вариантов осуществления проволочной панели по настоящему изобретению проволоки из первого комплекта расположены попеременно с обеих сторон второго комплекта проволок. Каждая из первых проволок меняет сторону. Это позволяет получить исключительно прочную панель.

Проволоки проволочной панели по настоящему изобретению предпочтительно имеют, по существу, круглое сечение. Другие виды сечения допустимы, но менее предпочтительны. Проволоки также предпочтительно имеют диаметр от 2 до 8 мм, таким образом, чтобы их трудно было разрезать. В этой связи проволоки предпочтительно изготовлены из стали, в этом случае предел прочности на разрыв стальной проволоки наиболее предпочтительно составляет от 400 до 700 Н/мм2.

Проволоки из первого комплекта, при виде в продольном направлении проволок из второго комплекта, предпочтительно расположены с взаимным зазором от 10 до 15 мм. Более предпочтительно величина данного зазора составляет примерно 13 мм.

При подобном зазоре большинству людей будет крайне сложно вставить пальцы руки или ноги между горизонтальными проволоками, что затруднит влезание на проволочную панель данного типа. Это также затруднит помещение ручного инструмента, такого как, например, кусачки для проволоки, между проволоками, расположенными с подобным зазором.

Проволоки из второго комплекта, при виде в продольном направлении проволок из первого комплекта, предпочтительно расположены с взаимным зазором от 60 до 140 мм, более предпочтительно с зазором от 80 до 120 мм. Еще более предпочтительно величина подобного зазора составляет примерно 102 мм.

Предпочтительно зазор между проволоками из первого комплекта выбирают таким образом, чтобы не допустить помещения между ними пальцев рук, пальцев ног или посторонних предметов, тогда как зазор между проволоками второго комплекта выбирают таким образом, чтобы обеспечить конечную требуемую прочность проволочной панели, после того как известны параметры проволок первого комплекта.

В одной из наиболее прочных вариаций панели охранного ограждения по настоящему изобретению проволоки из второго комплекта, при виде из одного и того же положения в их продольном направлении, имеют одинаковый изгиб. В этом случае подобная панель охранного ограждения, точно так же как и Securifor 3D, имеет трехмерный изгиб.

Цель настоящего изобретения также достигается при помощи охранного ограждения, содержащего столб и панель охранного ограждения по изобретению, закрепленную на столбе.

Далее настоящее изобретение будет рассмотрено более подробно, со ссылкой на последующее подробное описание отдельных предпочтительных вариантов осуществления панели охранного ограждения и охранного ограждения по настоящему изобретению. Цель данного описания заключается исключительно в том, чтобы представить иллюстративные примеры и показать дополнительные преимущества и особенности данной панели ограждения и ограждения, поэтому его не следует рассматривать в качестве ограничения области применения изобретения или патентных прав, заявленных в формуле изобретения.

В данном подробном описании используются ссылочные позиции для ссылки на прилагаемые чертежи, где:

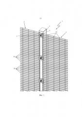
на фигуре 1, на виде в перспективе, показан фрагмент одного из вариантов осуществления охранного ограждения по настоящему изобретению, содержащего панель охранного ограждения по первому варианту осуществления настоящего изобретения;

на фиг. 2, на виде сбоку, показан фрагмент панели охранного ограждения по первому варианту осуществления настоящего изобретения;

на фиг. 3, на виде сбоку, показан фрагмент панели охранного ограждения по второму варианту осуществления настоящего изобретения.

На фигурах 1 и 2 изображена панель (2) охранного ограждения по первому варианту осуществления настоящего изобретения.

На фиг. 3 изображена панель (2) охранного ограждения по второму варианту осуществления настоящего изобретения.

Оба варианта осуществления содержат первый комплект (2а, 2b) проволок, которые после монтажа расположены горизонтально, и второй комплект (2c) проволок, которые после монтажа расположены вертикально.

Проволоки из первого комплекта (2а, 2b) по первому варианту осуществления расположены попеременно (при виде на фиг. 1), с передней стороны (2а) и с задней стороны (2b) проволок из второго комплекта (2c), а в местах их пересечений с проволоками из второго комплекта (2c) они приварены к данным проволокам из второго комплекта (2c).

Проволоки из первого комплекта (2а, 2b) по второму варианту осуществления расположены попеременно, по 10 штук, с передней стороны (2а) и с задней стороны (2b) проволок из второго комплекта (2c), а в местах их пересечений с проволоками из второго комплекта (2c) они приварены к данным проволокам из второго комплекта (2c).

Сварка проволок (2а, 2c) между собой может быть осуществлена, например, при помощи автоматической сварки. По предпочтительному варианту осуществления проволоки (2а, 2c) сварены между собой при помощи процесса дуговой сварки вольфрамовым электродом в среде инертного газа, без добавления сварного материала, сварной шов формируется за счет расплавления материала проволок (2а, 2b, 2c). Менее предпочтительно также можно использовать процесс сварки плавящимся электродом в среде инертного газа, при котором шов получают за счет использования сварного материала в расплавленном состоянии. Как один из возможных вариантов можно использовать контактную сварку сопротивлением.

Провода (2а, 2b, 2c) изготовлены из стали с низким содержанием углерода. Предел прочности на разрыв у данной стальной проволоки (2а, 2b, 2c) составляет от 400 до 700 Н/мм2. Проволока (2а, 2b, 2c) по обоим вариантам осуществления имеет круглое сечение с диаметром от 2 до 8 мм, поэтому ее трудно разрезать.

В проволочных панелях (2) можно использовать проволоку без покрытия и без обработки, между тем проволоку также можно предварительно гальванизировать. На проволочные панели (2), содержащие проволоку (2а, 2b, 2c) без покрытия, и гальванизированные проволочные панели (2) впоследствии можно наносить пластиковое покрытие, предпочтительно из полиэфира или ПВХ.

Предпочтительно зазор между горизонтальными проволоками (2а, 2b) выбирают таким образом, чтобы не допустить помещения между ними пальцев рук, пальцев ног или посторонних предметов, тогда как зазор между вертикальными проволоками (2c) выбирают таким образом, чтобы обеспечить конечную требуемую прочность проволочной панели (2), после того как известны параметры горизонтальных проволок (2а, 2b).

Размеры ячеек, наиболее часто встречаемые в аналогичных панелях охранных ограждений из известного уровня техники, с горизонтальными и вертикальными проволоками, в настоящее время составляют 12.7 мм (между горизонтальными проволоками) на 76.2 мм (между вертикальными проволоками). Для получения прочной панели, состоящей из одинаковых проволок (2а, 2b, 2c), размер ячеек проволочной панели (2) по первому варианту осуществления, по фигурам 1 и 2, может составлять 12.7 мм (между горизонтальными проволоками) на 101.6 мм (между вертикальными проволоками). Это позволяет добиться снижения веса на 2.5%.

При столь же крупных ячейках панель по настоящему изобретению становится более чем в два раза прочней по сравнению с большинством аналогичных охранных ограждений из известного уровня техники.

Возможно неограниченно широкое число вариаций панелей (2) охранных ограждений по изобретению. В подобных вариациях, например, можно использовать дополнительные торцевые усилительные элементы, рассмотренные, например, в US 2011/0062404 A1. В вариациях, например, также можно использовать дополнительные элементы, рассмотренные, например, в GB 2480913 A. Кроме этого в вариациях можно использовать третий комплект проволок, проходящих параллельно, которые пересекают первый комплект проволок и соединены с ним на уровне точек пересечения. Подобный третий комплект проволок в данном случае, например, может находиться с одной стороны панели и соединяться с той частью проволок из первого комплекта, которые находятся с той же стороны второго комплекта проволок. Помимо этого допустимы, например, вариации, в которых проволоки пересекаются под разными углами, как это рассмотрено, например, в ZA 2006/09593 и т.п.

На фиг. 1 проволочные панели (2) по первому варианту осуществления закреплены к столбам (3) ограждения при помощи соответствующих зажимов (4) и болтов (5) для получения охранного ограждения (1) по настоящему изобретению. В данном случае столбы (3) ограждения, например, могут быть установлены в бетон, залитый в землю, либо могут быть заанкерированы к основанию.

Также допустимо неограниченно широкое число вариаций охранных ограждений (1), содержащих панели (2) охранных ограждений по настоящему изобретению. Так можно использовать альтернативные зажимы (5), либо использовать альтернативные столбы (4) ограждений, либо крепить болтами панели (2) охранных ограждений и т.п. к подобным столбам (3) ограждений без непрерывных пластин, которые по меньшей мере частично закрывают соответствующую сторону столбов (3) ограждений и т.п.

1. Панель охранного ограждения, содержащая первый комплект (2а, 2b) проволок, расположенных, по существу, параллельно друг другу, и второй комплект (2с) проволок, расположенных, по существу, параллельно друг другу, так, что проволоки первого комплекта (2а, 2b) и проволоки второго комплекта (2с) пересекаются и в местах их пересечений сварены между собой, характеризующаяся тем, что части (2а) проволок и части (2b) проволок первого комплекта (2а, 2b) расположены по разные стороны относительно проволок (2с) второго комплекта, при этом в продольном направлении проволок (2с) часть (2а) проволок расположена со сдвигом относительно части (2b) проволок.

2. Панель (2) по п. 1, характеризующаяся тем, что второй комплект (2с) проволок после монтажа панели расположен, по существу, вертикально.

3. Панель (2) по п. 1 или 2, характеризующаяся тем, что первый комплект (2а, 2b) проволок после монтажа панели расположен, по существу, горизонтально.

4. Панель (2) по п. 1 или 2, характеризующаяся тем, что проволоки из первого комплекта (2а, 2b) расположены попеременно с обеих сторон второго комплекта (2с) проволок.

5. Панель (2) по п. 1 или 2, характеризующаяся тем, что проволоки (2а, 2b, 2с) имеют, по существу, круглое сечение.

6. Панель по п. 5, характеризующаяся тем, что проволоки (2а, 2b, 2с) имеют диаметр от 2 до 8 мм.

7. Панель (2) по п. 1 или 2, характеризующаяся тем, что проволоки (2а, 2b, 2с) изготовлены из стали.

8. Панель (2) по п. 1 или 2, характеризующаяся тем, что проволоки из первого комплекта (2а, 2b) в продольном направлении проволок из второго комплекта (2с) расположены с взаимным зазором от 10 до 15 мм.

9. Панель (2) по п. 1 или 2, характеризующаяся тем, что проволоки из второго комплекта (2с) в продольном направлении проволок из первого комплекта (2а, 2b) расположены с взаимным зазором от 60 до 140 мм.

10. Панель (2) по п. 1 или 2, характеризующаяся тем, что проволоки второго комплекта (2с) при виде из одного и того же положения в их продольном направлении имеют одинаковый изгиб.

11. Охранное ограждение (1), содержащее столб (3) и панель (2) охранного ограждения по одному из предыдущих пунктов, закрепленную к указанному столбу (3).