Блок вентиляторного теплообменника и кондиционер воздуха, содержащий такой блок

Иллюстрации

Показать все

Настоящее изобретение относится к блоку вентиляторного теплообменника (фанкойлу) и кондиционеру воздуха. Он содержит вентиляторную секцию с расположенным на ней первым монтажным отделом; радиаторную секцию, расположенную на первой стороне вентиляторной секции, и оборудованную вторым монтажным отделом на своей первой стороне и третьим монтажным отделом на своей второй стороне; решетку, расположенную на второй сторона радиаторной секции и оборудованную четвертым монтажным отделом на своей первой стороне, причем радиаторная секция может устанавливаться либо в первую позицию, в которой первая сторона радиаторной секции обращена к вентиляторной секции, а второй и третий монтажные отделы соединены с первым и четвертым монтажными отделами; либо во вторую позицию, в которой вторая сторона радиаторной секции обращена к вентиляторной секции, а третий и второй монтажные отделы соединены с первым и четвертым монтажными отделами. При этом первый монтажный отдел имеет такую же конструкцию, как и четвертый монтажный отдел, а второй монтажный отдел имеет такую же конструкцию, как и третий монтажный отдел. Это позволяет упростить монтаж заявленного блока и кондиционера, его содержащего. 2 н. и 7 з.п. ф-лы, 2 ил.

Реферат

ОБЛАСТЬ ИЗОБРЕТЕНИЯ

Настоящее изобретение относится к области холодильного оборудования, а конкретнее к блоку вентиляторного теплообменника (известному в технике так же как «фанкойл») и кондиционеру воздуха, содержащему такой блок вентиляторного теплообменника.

ИЗВЕСТНЫЙ УРОВЕНЬ ТЕХНИКИ

Блок вентиляторного теплообменника в известных технических решениях можно приблизительно разделить на вентиляторную часть (включая вентилятор, двигатель, промежуточную перегородку и виброгаситель, и радиаторную часть (включая радиатор, левую и правую боковые пластины и дренажный поддон). В процессе установки необходимо выбрать левую соединительную трубку или правую соединительную трубку в соответствии с пространством в комнате и устройством трубопровода холодильной системы. Испаритель и поддон радиаторной секции нужно вновь монтировать на установку после отсоединения и переворачивания в том случае, если левая и правая соединительная трубки меняются местами, так что это достаточно трудоемкая операция.

КРАТКОЕ ОПИСАНИЕ ИЗОБРЕТЕНИЯ

Настоящее изобретение ставит целью решить, по крайней мере, одну из технических проблем, описанных выше, по крайней мере в некоторой степени.

Для этого в настоящем изобретении предлагается блок вентиляторного теплообменника несложной конструкции, который легко монтировать и демонтировать.

В настоящем изобретении также предлагается кондиционер воздуха, включающий вышеуказанный блок вентиляторного теплообменника.

Блок вентиляторного теплообменника согласно конкретным примерам первого аспекта настоящего изобретения включает вентиляторную секцию с расположенным на ней первым монтажным отделом; радиаторную секцию, расположенную на первой стороне вентиляторной секции с расположенным на ней вторым монтажным отделом на ее первой стороне и третьим монтажным отделом на ее второй стороне; решетку, расположенную на второй стороне радиаторной секции, с четвертым монтажным отделом на ее первой стороне, причем радиаторная секция может устанавливаться, с возможностью смены позиций, либо в первую позицию, в которой первая сторона радиаторной секции обращена к вентиляторной секции, а второй и третий монтажные отделы соединены, с возможностью разъединения, с первым и четвертым монтажными отделами соответственно; либо во вторую позицию, в которой вторая сторона радиаторной секции обращена к вентиляторной секции, а третий и второй монтажные отделы соединены, с возможностью разъединения, с первым и четвертым монтажными отделами соответственно.

При наличии блока вентиляторного теплообменника согласно конкретным примерам осуществления настоящего изобретения, ввиду того, что радиаторная секция может устанавливаться как в первой, так и во второй позиции, и может соединяться, с возможностью разъединения, с вентиляторной секцией, а также решеткой, расположенных с двух сторон радиаторной секции при помощи второго монтажного отдела или третьего монтажного отдела, в зависимости от того, находится ли радиаторная секция в первой позиции или во второй позиции, когда меняется соединение труб на двух сторонах радиаторной секции, нет необходимости заново монтировать испаритель и поддон радиаторной секции на установку после демонтажа и смены местами соединений, и таким образом, блок вентиляторного теплообменника обладает такими характеристиками, как простота конструкции, легкость монтажа и демонтажа, улучшенная эффективность блока, высокая степень стандартизации и универсальная применимость.

Кроме этого, блок вентиляторного теплообменника согласно конкретным примерам осуществления настоящего изобретения также имеет следующие технические признаки.

В некоторых примерах осуществления настоящего изобретения, первый монтажный отдел имеет одинаковую конструкцию с четвертым монтажным отделом, а второй монтажный отдел имеет одинаковую конструкцию с третьим монтажным отделом.

В некоторых примерах осуществления настоящего изобретения, второй монтажный отдел и третий монтажный отдел расположены симметрично относительно оси симметрии радиаторной секции.

В некоторых примерах осуществления настоящего изобретения, первый монтажный отдел расположен на поверхности стенки первой стороны вентиляторной секции, обращенной к решетке, четвертый монтажный отдел располагается на поверхности стенки четвертой стороны решетки, обращенной к вентиляторной секции, первый и четвертый монтажные отделы выполнены в виде монтажных перемычек, расположенных на поверхностях стенок первой и четвертой сторон, соответственно.

В некоторых примерах осуществления настоящего изобретения, второй монтажный отдел располагается на поверхности стенки второй стороны радиаторной секции, обращенной к поверхности стенки одной из либо первой, либо четвертой стороны, третий монтажный отдел располагается на поверхности стенки третьей стороны радиаторной секции, обращенной к другим поверхностям одной из либо первой, либо четвертой стороны, второй и третий монтажные отделы исполнены в виде консолей, выступающих из поверхностей стенок второй и третьей сторон, соответственно, причем эти консоли соединены, с возможностью разъединения, с монтажными перемычками.

В некоторых примерах осуществления настоящего изобретения консоли соединены с монтажными перемычками при помощи винтов.

В некоторых примерах осуществления настоящего изобретения консоли соединены с монтажными перемычками на защелках.

В некоторых примерах осуществления настоящего изобретения, монтажные перемычки выступают вдоль окружности поверхностей стенок первой и четвертой сторон и соединяются с внешними периферийными частями консолей, соответственно.

В некоторых примерах осуществления настоящего изобретения, первый монтажный отдел встроен в вентиляторную секцию, второй и третий монтажные отделы встроены в радиаторную секцию, а четвертый монтажный отдел встроен в решетку.

Кондиционер воздуха согласно конкретным примерам второго аспекта настоящего изобретения включает блок вентиляторного теплообменника, как и в примерах первого аспекта настоящего изобретения.

Дополнительные аспекты и преимущества примеров осуществления настоящего изобретения будут представлены частью в нижеследующем описании или могут быть поняты из практики в соответствии с конкретными примерами осуществления настоящего изобретения.

КРАТКОЕ ОПИСАНИЕ ЧЕРТЕЖЕЙ

Упомянутые и другие аспекты и преимущества различных вариантов осуществления настоящего изобретения станут очевидными и более понятными из нижеследующих описаний, включая ссылки на чертежи,

где Фиг. 1 является схематическим изображением блока вентиляторного теплообменника согласно одному из вариантов осуществления настоящего изобретения;

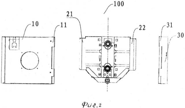
Фиг. 2 является видом сбоку блока вентиляторного теплообменника согласно одному из вариантов осуществления настоящего изобретения.

ПОДРОБНОЕ ОПИСАНИЕ ИЗОБРЕТЕНИЯ

Варианты осуществления настоящего изобретения будут подробно описаны ниже, примеры вариантов осуществления показаны на сопроводительных чертежах, где одинаковые или подобные элементы и элементы с одинаковыми или подобными функциями обозначаются подобными номерами позиций по всему описанию. Варианты осуществления, описанные в настоящем документе со ссылкой на чертежи, являются поясняющими, иллюстративными, используются для общего понимания настоящего изобретения и не должны толковаться как ограничивающие настоящее изобретение.

Сначала, со ссылками на чертежи, будет подробно описан блок вентиляторного теплообменника 100 согласно конкретным примерам осуществления настоящего изобретения.

Как показано на Фиг. 1 и Фиг. 2, блок вентиляторного теплообменника 100 согласно конкретным примерам осуществления настоящего изобретения включает вентиляторную секцию 10, радиаторную секцию 20 и решетку 30.

Первый монтажный отдел 11 располагается на вентиляторной секции 10, радиаторная секция 20 располагается на первой стороне вентиляторной секции 10, второй монтажный отдел 21 располагается на первой стороне радиаторной секции 20, третий монтажный отдел 22 располагается на второй стороне радиаторной секции 20, решетка 30 располагается на второй стороне радиаторной секции 20, четвертый монтажный отдел 31 располагается на первой стороне решетки 30.

Радиаторная секция 20 может устанавливаться как в первой позиции, в которой первая сторона радиаторной секции 20 обращена к вентиляторной секции 10, а второй монтажный отдел 21 и третий монтажный отдел 22 соединены, с возможностью разъединения, с первым монтажным отделом 11 и четвертым монтажным отделом 31, соответственно; так и во второй позиции, в которой вторая сторона радиаторной секции 20 обращена к вентиляторной секции 10, а третий монтажный отдел 22 и второй монтажный отдел 21 соединены, с возможностью разъединения, с первым монтажным отделом 11 и четвертым монтажным отделом 31, соответственно.

Другими словами, блок вентиляторного теплообменника 100 согласно конкретным примерам осуществления настоящего изобретения в основном состоит из вентиляторной секции 10, радиаторной секции 20 и решетки 30, причем радиаторная секция 20 располагается между вентиляторной секцией 10 и решеткой 30, две стороны радиаторной секции 20 соединены с вентиляторной секцией 10 и решеткой 30, соответственно, и они могут быть перевернуты таким образом, чтобы соединяться с вентиляторной секцией 10 и решеткой 30, соответственно, в зависимости от требований при установке.

В частности, первый монтажный отдел 11 располагается на вентиляторной секции 10, второй монтажный отдел 21 и третий монтажный отдел 22 располагаются на левой и правой сторонах радиаторной секции 20, соответственно, и четвертый монтажный отдел 31 располагается на решетке 30. Первый монтажный отдел 11 может быть соединен, с возможностью разъединения, со вторым монтажным отделом 21 или третьим монтажным отделом 22; соответственно, четвертый монтажный отдел 31 может быть соединен, с возможностью разъединения, с третьим монтажным отделом 22 или вторым монтажным отделом 21.

Следует отметить, что радиаторная секция 20 в основном состоит из радиатора (змеевика), левой боковой пластины, правой боковой пластины, верхней закрывающей пластины и дренажного поддона для воды, причем радиатор имеет вход и выход, которые должны соединяться с трубопроводом, когда блок вентиляторного теплообменника 100 устанавливается на здании. Иногда необходимо поменять местами вход и выход радиаторной секции 20 с одного конца на другой конец радиаторной секции 20, чтобы соединить их с трубопроводом, который может иметь разную конфигурацию, в зависимости от конструкции различных зданий. Однако, ввиду того, что радиаторная секция в известном уровне техники, в сборе с решеткой и вентиляторной секцией, расположенных с двух сторон радиаторной секции, не может быть перевернута целиком, то, как правило, требуется вновь монтировать испаритель и дренажный поддон радиаторной секции после их отсоединения и переворачивания, а данная операция является достаточно трудоемкой.

Однако, при наличии блока вентиляторного теплообменника 100 согласно конкретным примерам настоящего изобретения, ввиду того, что радиаторная секция 20 оборудована вторым монтажным отделом 21 и третьим монтажным отделом 22, которые могут быть совмещены с вентиляторной секцией 10 и решеткой 30, расположенных с двух сторон радиаторной секции 20, когда требуется поменять позицию радиаторной секции 20, требуется только перевернуть радиаторную секцию 20 целиком, без необходимости демонтажа испарителя и дренажного поддона, а второй монтажный отдел 21 и третий монтажный отдел 22, расположенные на радиаторной секции 20, тем не менее, могут быть соединены с вентиляторной секцией 10 и решеткой 30, размещенных с двух сторон радиаторной секции 20, соответственно, что значительно упрощает процесс сборки.

Первая позиция, как она понимается в настоящем описании, это позиция, в которой вход и выход радиаторной секции 20 обращены к одному концу радиаторной секции 20, далее второй монтажный отдел 21 на радиаторной секции 20 соединяется с первым монтажным отделом 11, а третий монтажный отдел 22 соединяется с четвертым монтажным отделом 31. Вторая позиция, как она понимается в настоящем описании, это позиция, в которой вход и выход радиаторной секции 20 должны быть обращены к другому концу радиаторной секции 20, т.е. два конца радиаторной секции 20 меняются местами целиком, далее второй монтажный отдел 21 на радиаторной секции 20 соединяется с четвертым монтажным отделом 31, а третий монтажный отдел 22 соединяется с первым монтажным отделом 11.

Таким образом, при наличии блока вентиляторного теплообменника 100 согласно конкретным примерам осуществления настоящего изобретения, ввиду того, что радиаторная секция 20 может устанавливаться как в первой, так и во второй позиции, и может соединяться, с возможностью разъединения, с вентиляторной секцией 10 и решеткой 30, расположенных с двух сторон радиаторной секции 20 посредством второго монтажного отдела 21 и третьего монтажного отдела 22, в зависимости от того, находится ли радиаторная секция 20 в первой позиции или во второй позиции, когда меняется соединение труб на двух сторонах радиаторной секции 20, нет необходимости заново монтировать испаритель и дренажный поддон радиаторной секции 20 на установку после демонтажа и переворачивания, и таким образом, блок вентиляторного теплообменника 100 обладает такими характеристиками, как простота конструкции, легкость монтажа и демонтажа, улучшенная эффективность, высокая степень стандартизации и универсальная применимость.

В некоторых примерах осуществления настоящего изобретения, первый монтажный отдел 11 имеет ту же структуру, что и четвертый монтажный отдел 31, а второй монтажный отдел 21 имеет ту же структуру, что и третий монтажный отдел 22. Предпочтительно, второй монтажный отдел 21 и третий монтажный отдел 22 расположены симметрично относительно оси симметрии радиаторной секции 20.

То есть второй монтажный отдел 21 и третий монтажный отдел 22 с двух сторон радиаторной секции 20 обладают взаимно симметричной структурой компоновки, тогда как первый монтажный отдел 11 на вентиляторной секции 10 и четвертый монтажный отдел 31 на решетке 30 имеют одинаковую структуру компоновки, а стороны входа и выхода воздушного потока радиаторной секции 20 могут иметь абсолютно одинаковую структуру, и таким образом, стороны радиаторной секции 20 могут также соединены, с возможностью разъединения, с вентиляторной секцией 10 и решеткой 30 после того, как радиаторная секция 20 будет перевернута.

Таким образом, блок вентиляторного теплообменника 100 обладает более простой и целесообразной структурой, более удобной технологией изготовления и может в некоторой степени уменьшить себестоимость производства.

Следует отметить, что второй монтажный отдел 21 и третий монтажный отдел 22 согласно конкретным примерам осуществления настоящего изобретения могут иметь отличающуюся друг от друга конструкцию, при условии, что они могут, несмотря на это, удобно соединяться, с возможностью разъединения, с первым монтажным отделом 11 и четвертым монтажным отделом 31, расположенными с двух сторон радиаторной секции 20, после того, как второй монтажный отдел 21 и третий монтажный отдел 22 поменяются местами друг с другом.

Компоновочные структуры вентиляторной секции 10, радиаторной секции 20 и решетки 30 могут в разумной степени подстраиваться к конкретным условиям. Как вариант, в некоторых примерах осуществления настоящего изобретения, первый монтажный отдел 11 располагается на поверхности стенки первой стороны вентиляторной секции 10, обращенной к решетке 30, четвертый монтажный отдел 31 располагается на поверхности стенки четвертой стороны решетки 30, обращенной к вентиляторной секции 10, первый монтажный отдел 11 и четвертый монтажный отделы 31 исполнены как монтажные перемычки, расположенные на поверхности стенки первой стороны и поверхности стенки четвертой стороны, соответственно.

Предпочтительно, второй монтажный отдел 21 располагается на поверхности стенки второй стороны радиаторной секции 20, обращенной либо к поверхности стенки первой стороны, либо поверхности стенки четвертой стороны, третий монтажный отдел 22 располагается на поверхности стенки третьей стороны радиаторной секции 20, обращенной к другой из поверхности стенки первой стороны, либо поверхности стенки четвертой стороны, второй монтажный отдел 21 и третий монтажный отдел 22 исполнены в виде консолей, выступающих из поверхности стенки второй стороны и третьей стороны, соответственно, а консоли соединены, с возможностью разъединения, с монтажными перемычками.

В некоторых примерах осуществления настоящего изобретения, консоли соединены с монтажными перемычками посредством винтовых соединений. В других примерах осуществления настоящего изобретения, консоли соединены с монтажными перемычками соединениями на защелках.

Также, монтажные перемычки выступают вдоль окружности поверхностей стенок первой и четвертой сторон и соединяются с внешними периферийными частями консолей, соответственно.

Когда левая и правая соединительные трубки радиаторной секции 20, имеющей такую структуру, меняются местами, смену левого и правого соединительных устройств радиаторной секции 20 можно осуществить отсоединением радиаторной секции 20 от вентиляторной секции 10 и разворотом радиаторной секции 20 в целом, с последующей установкой радиаторной секции 20 и вентиляторной секции 10 посредством винтовых соединений.

Таким образом, в процессе сборки блока вентиляторного теплообменника 100 такой структуры, смена левого и правого соединительных устройств радиаторной секции 20 может быть осуществлена почти без демонтажа каких-либо компонентов, и такой блок вентиляторного теплообменника 100 удобен и эффективен в установке и переналадке, к большому удовлетворению клиентов.

В некоторых примерах осуществления настоящего изобретения, первый монтажный отдел 11 встроен в вентиляторную секцию 10, второй монтажный отдел 21 и третий монтажный отдел 22 встроены в радиаторную секцию 20, а четвертый монтажный отдел 31 встроен в решетку 30.

То есть, эти монтажные устройства на вентиляторной секции 10, радиаторной секции 20 и решетке 30 встроены в соответствующие основные компоненты. Таким образом, блок вентиляторного теплообменника 100 такой конструкции не только обладает цельной стабильной структурой, но и прост в изготовлении и имеет низкую себестоимость.

Кондиционер воздуха согласно конкретным примерам осуществления настоящего изобретения включает блок вентиляторного теплообменника 100 согласно вышеприведенным примерам осуществления настоящего изобретения. Так как блок вентиляторного теплообменника 100 согласно вышеприведенным примерам осуществления настоящего изобретения обладает техническими преимуществами, описанными выше в настоящем описании, кондиционер воздуха согласно конкретным примерам осуществления настоящего изобретения также обладает соответствующими техническими преимуществами, т.е. простотой и эффективностью процесса сборки и монтажа, высокой степенью стандартизации и технологичности.

Другие компоненты и операции кондиционера воздуха согласно конкретным примерам осуществления настоящего изобретения хорошо известны специалистам данной области техники и не описываются подробно в настоящем описании.

В описании изобретения, если не указано иное, относительные термины, такие как «центральный», «продольный», «боковой», «ширина», «длина», «толщина», «вверх», «вниз», «передний», «задний», «левый», «правый», «вертикальный», «горизонтальный», «верх», «низ», «внутренний», «внешний», «по часовой стрелке» и «против часовой стрелки» должны толковаться, как относящиеся к ориентации, которая описывается в данном конкретном случае или как показано на обсуждаемых чертежах. Эти относительные термины используются только для удобства описания, не подразумевают и не указывают на то, что устройство или какой-либо его элемент должны иметь ту или иную конкретную ориентацию, быть спроектированными или работать с определенной ориентацией и таким образом не должны толковаться как ограничивающие настоящее изобретение.

Кроме этого, такие термины, как «первый» и «второй», используются здесь для целей описания, и в намерение авторов не входит предположение или указание на относительную важность признака или же составление определенной нумерации описываемых технических признаков. Таким образом, признак, определяемый как «первый» или «второй», может включать, явно или подразумеваемо, одну или несколько таких характеристик. В описании настоящего изобретения, «несколько» означает два или более двух, если не указано иное.

Следует иметь в виду, что в описании настоящего изобретения, если не указано иное, термины «установленный», «соединенный», «соединяющий» и «закрепленный», а также их варианты и вариации используются в широком смысле и могут быть, например, фиксированными соединениями, разъединяемыми соединениями или внутренними/встроенными соединениями; включают механические и электрические соединения, прямые и непрямые соединения через промежуточные конструкции или внутренние сочленения двух элементов, которые могут быть поняты специалистом в данной области техники в зависимости от конкретной ситуации.

В описании настоящего изобретения, если не указано иное, конструкция, при которой первый признак находится «на» или «ниже» второго признака, может включать пример осуществления настоящего изобретения, в котором первый признак находится в прямом контакте со вторым признаком, и может также включать пример осуществления настоящего изобретения, в котором первый признак и второй признак не находятся в прямом контакте друг с другом, но контактируют через дополнительный признак, находящийся между ними. Кроме этого, случай, когда первый признак «на», «выше» или «сверху» второго признака, может включать пример осуществления, в котором первый признак расположен под прямым или косым углом «на», «выше» или «сверху» второго признака, или просто означает, что первый признак расположен на высоте выше, чем второй признак; тогда как случай, когда первый признак находится «ниже», «под» или «снизу» второго признака, может включать пример осуществления, в котором первый признак расположен под прямым или косым углом «ниже», «под» или «снизу» второго признака , или просто означает, что первый признак расположен на высоте ниже, чем второй признак.

Ссылки на протяжении настоящего описания изобретения на «вариант осуществления», «некоторые варианты осуществления», «один вариант осуществления», «другой пример», «пример», «конкретный пример» или «некоторые примеры» означают, что тот или иной конкретный признак, структура, материал или характеристика, описанные в связи с вариантом осуществления или примером, включены как минимум в один вариант осуществления или пример настоящего изобретения. Таким образом, пояснительные фразы в описании изобретения не обязательно относятся к одному и тому же варианту осуществления или примеру настоящего изобретения. Кроме того, конкретные признаки, структуры, материалы или характеристики могут комбинироваться любым подходящим способом в одном или нескольких вариантах осуществления или примерах.

Хотя были представлены и описаны поясняющие примеры настоящего изобретения, следует понимать, что варианты осуществления, описанные выше, носят лишь пояснительный и иллюстративный характер, и их не следует толковать как ограничивающие настоящее изобретение; более того, специалистами в представленные варианты осуществления могут вноситься изменения, модификации и альтернативы, без изменения духа, принципов и объема притязаний настоящего изобретения.

1. Блок вентиляторного теплообменника, содержащий:

вентиляторную секцию, оборудованную расположенным на ней первым монтажным отделом;

радиаторную секцию, расположенную на первой стороне вентиляторной секции и оборудованную вторым монтажным отделом на своей первой стороне и третьим монтажным отделом на своей второй стороне;

решетку, расположенную на второй стороне радиаторной секции и оборудованную четвертым монтажным отделом на своей первой стороне,

причем радиаторная секция может устанавливаться с возможностью смены позиций либо в первую позицию, в которой первая сторона радиаторной секции обращена к вентиляторной секции, а второй и третий монтажные отделы соединены с возможностью разъединения с первым и четвертым монтажными отделами соответственно, либо во вторую позицию, в которой вторая сторона радиаторной секции обращена к вентиляторной секции, а третий и второй монтажные отделы соединены с возможностью разъединения с первым и четвертым монтажными отделами соответственно; и первый монтажный отдел имеет такую же конструкцию, как и четвертый монтажный отдел, а второй монтажный отдел имеет такую же конструкцию, как и третий монтажный отдел.

2. Блок вентиляторного теплообменника по п. 1, в котором второй монтажный отдел и третий монтажный отдел расположены симметрично относительно оси симметрии радиаторной секции.

3. Блок вентиляторного теплообменника по п. 1, в котором первый монтажный отдел располагается на поверхности стенки первой стороны вентиляторной секции, обращенной к решетке, четвертый монтажный отдел располагается на поверхности стенки четвертой стороны решетки, обращенной к вентиляторной секции, первый и четвертый монтажные отделы исполнены в виде монтажных перемычек, расположенных на поверхности стенок первой и четвертой сторон соответственно.

4. Блок вентиляторного теплообменника по п. 3, в котором второй монтажный отдел располагается на поверхности стенки второй стороны радиаторной секции, обращенной к одной из поверхностей стенок либо первой, либо четвертой стороны, третий монтажный отдел располагается на поверхности стенки третьей стороны радиаторной секции, обращенной к одной из двух других поверхностей стенок либо первой, либо четвертой стороны, второй и третий монтажные отделы исполнены в виде консолей, выступающих из поверхностей стенок второй и третьей сторон соответственно, и консоли соединены с возможностью разъединения с монтажными перемычками.

5. Блок вентиляторного теплообменника по п. 4, в котором консоли соединены с монтажными перемычками посредством винтовых соединений.

6. Блок вентиляторного теплообменника по п. 4, в котором консоли соединены с монтажными перемычками посредством соединений на защелках.

7. Блок вентиляторного теплообменника по п. 4, в котором монтажные перемычки выступают вдоль окружности поверхностей стенок первой и четвертой сторон и соединяются с внешними периферийными частями консолей соответственно.

8. Блок вентиляторного теплообменника согласно любому из пп. 1-7, в котором первый монтажный отдел встроен в вентиляторную секцию, второй и третий монтажные отделы встроены в радиаторную секцию, а четвертый монтажный отдел встроен в решетку.

9. Кондиционер воздуха, содержащий блок вентиляторного теплообменника согласно любому из пп. 1-8.