Солнечный вегетарий

Иллюстрации

Показать все

Изобретение относится к теплоэнергетике в сельском хозяйстве и может быть использовано в системах отопления теплицы и отопления блока переработки продукции при теплице. Солнечный вегетарий содержит прямоугольную теплицу с плоской крышей, систему перфорированных труб 10, уложенных в грунт теплицы и соединенных поперечной трубой-коллектором, подключенной к вертикальной трубе вентиляции с заслонками. Другие концы перфорированных труб выведены во внутрь теплицы. Вегетарий имеет печь-стену с аккумулирующими тепловую энергию колпаками. Теплица выполнена из двух частей 1, 2 и блока 3 переработки продукции, отделенного от них печной стеной, калориферов нижнего 5 и верхнего 9 яруса печи. Калориферы нижнего 5 яруса оснащены дверками-задвижками 6, 11 и 7 и соединены с перфорированными трубами, создающими микроклимат и орошение в теплице. Калориферы верхнего 9 яруса печи с дверками 8 и фрамугами 12 соединены с системой вентиляции, а аккумулирующие колпаки - с каждой из частей теплицы. При таком выполнении повышается эффективность использования энергетических ресурсов на отопление, вентиляцию и на внутрипочвенное орошение в любой период года. 2 ил.

Реферат

Изобретение относится к теплоэнергетике в сельском хозяйстве и может быть использовано в системах отопления теплицы и смежного блока (помещения) для переработки продукции и размещения различных агротехнических технологий. Изобретение предназначается для круглогодичного использования на большей средней части территории нашей страны, включая северные территории, с минимальным использованием в печи местных топливных ресурсов.

Известна установка для отопления теплицы по патенту РФ №2087094, МПК A01G 9/24, автора Кудинова А.А.

Установка содержит: котел 1, систему 2 обогрева шатра теплицы, подключенную к котлу, контактный утилизатор 3 теплоты продуктов сгорания, систему 4 подпочвенного обогрева теплицы, бак-аккумулятор 5, воздушный декарбонизатор 6 с патрубком 7 отвода выпара, соединенным трубопроводом с всасывающим коробом дутьевого вентилятора котла, систему 8 газораспределения теплицы. Система 8 газораспределения теплицы соединена через фильтр 9 трубопроводом 10 с каналом 11 отвода продуктов сгорания в атмосферу и дополнительно трубопроводом 12 с генератором 13 углекислого газа. Подача в топку увлажненного дутьевого воздуха уменьшает выход оксидов азота, увеличивает срок службы высоконапряженных элементов топки и влагосодержание уходящих из котла 1 дымовых газов, тем самым повышается теплопроизводительность контактного утилизатора 3. Требуемое дополнительное количество углекислого газа подается в систему 8 газораспределения теплицы по трубопроводу 12 от генератора 13 углекислого газа. Часть продуктов сгорания по трубопроводу 10 через фильтр 9 подается в систему 8. В периоды, когда в теплицу нет необходимости подавать углекислый газ, продукты сгорания полностью отводятся в атмосферу по каналу 11.

Недостатками установки для отопления теплицы являются энергозависимость от внешнего электроснабжения и наличие дополнительного сложного оборудования: котел, бак с декарбонизатором, контактный утилизатор теплоты продуктов сгорания, генератор углекислого газа. Энергозависимы сложные системы циркуляции: теплоносителя для обогрева шатра, подпочвенного обогрева теплицы, подачи подогретого и насыщенного водяными парами воздуха после декарбонизатора через патрубок отвода выпара во всасывающий короб дутьевого вентилятора котла, а также газораспределения теплицы. Кроме того, системы циркуляции имеют насосы, дымососы дутья и тяги, другое оборудование, которое требует квалифицированного обслуживания. Выход из строя некоторого оборудования, системы циркуляции или отключение электричества может привести к остановке установки и заморозки растений, а неисправности системы дымоудаления к аварии котла.

Известна также система энергоснабжения и внутрипочвенного орошения теплицы по патенту РФ №2474108, МПК A01G 9/24, авторов: Васильев Алексей Михайлович (RU), Денисов Владимир Викторович (RU).

Система включает циркуляционный отопительный контур, снабженный водонагревательным котлом (1) с термогенераторным модулем (22), подводящим трубопроводом (2), центробежным насосом (3), отводящим трубопроводом (4), наземными пластинчатыми радиаторами (5), подпочвенной отопительной частью (6), водоподающим трубопроводом (7) с запорным краном (8), водоподающей расширительной емкостью (9) с запорным краном (10), соединенной с гибким распределительным шлангом (11), снабженным запорным краном (12), индивидуальными подключениями (13) с запорными кранами (14) и внутрипочвенными увлажнителями (15), перфорированными в нижней части (16), устройство отвода продуктов сгорания топлива в атмосферу (17), устройство газораспределения (18), оснащенное запорным краном (19), фильтром (20) и дефлекторами (21), электрические проводы (23) и аккумуляторные батареи (24).

Недостатком системы энергоснабжения и внутрипочвенного орошения теплицы является также ее сложность. Отопление обеспечивается большим количеством оборудования, арматуры, приборов, трубопроводов, радиаторов, увлажнителей, а также наличием котла, насоса и емкостью. Управление устройствами газораспределения, фильтрами, дефлекторами и электрическими модулями, срок эксплуатации которых ограничен, требует, кроме того, квалифицированного обслуживания. Данная система требует большого количества электроэнергии и трудозатрат на обслуживание. Термогенераторный модуль с аккумуляторными батареями небольшой мощности не обеспечивает работу всей системы энергоснабжения при отключении электричества, что может привести к утрате посадок. Система не обеспечивает эффективного охлаждения теплицы днем и отопления ночью. Не решается вопрос эффективной вентиляции теплицы без потери полезных газов и применения электричества. Наличие энергозависимого энергоснабжения может привести к полной потере урожая при отключении электроэнергии.

Наиболее близким техническим решением является устройство солнечного вегетария А.В. Иванова, описанного в книге «Солнечный вегетарий», авторы А. Иванько, А. Калиниченко, Н. Шмат. Киев, 1996 г., стр. 11, рис. 6).

Система воздушного аккумулирования тепла в грунте с принудительной вентиляцией, рис. 6 на стр. 11, содержит прямоугольную теплицу с плоской крышей, располагающейся строго с севера на юг под уклоном в 15-20 градусов. Крыша и три стены вегетария (боковые и южная торцевая) покрыты светопрозрачным материалом, а северная стена капитальная. Для достижения максимального эффекта северная стена красится в белый цвет или покрывается зеркальной фольгой. Грядки внутри теплицы располагаются террасами, нисходящими от севера к югу. Между грядами обустраиваются проходы. Солнечный поток отражается от крыши и стен прямостоящей конструкции, обогревая теплицу и землю в ней.

Для создания оптимальной внутренней температуры и необходимого микроклимата, а также орошения почвы, используются следующие технические системы.

Под плодородный слой почвы закладывается специальная система перфорированных труб, которые соединяются с вертикальными каналами в стене, в которых создается тяга за счет электрических вентиляторов. Горячий и влажный воздух теплицы засасывается в трубы под землей, где конденсируется в воду для поливки. Воздух обогревает почву и охлажденный выходит обратно в теплицу, снижая там температуру. Вентилятор кроме внутренней циркуляции воздуха может выпускать, то есть вентилировать, воздух наружу при переключении шиберов в период летнего перегрева.

Недостатки устройства солнечного вегетария В.А. Иванова, описанного в книге «Солнечный вегетарий», авторы А. Иванько, А. Калиниченко, Н. Шмат. Киев, 1996 г., стр. 11, рис. 6, следующие:

- Нет надежных эффективных источников энергетической независимости, обеспечивающих безопасность работы вегетария в зимнее время.

- Отсутствует возможность аккумулировать тепло внутри теплицы с использованием дешевого местного топлива.

- Циркуляция воздуха производится за счет дорогостоящего электричества при практически круглосуточной работе вентиляторов.

- Одноконтурная циркуляция воздуха на вентиляцию уносит углекислый газ, часть азота и влаги, необходимые для питания растений.

- Отсутствует отапливаемое помещение для переработки на месте продукции и размещения различных агротехнических технологий.

- Сложно найти правильно ориентированный участок на склоне в 15-20° в естественном состоянии. Искусственный насыпной склон требует больших земельных работ по его созданию, уплотнению, выполнению вертикальной планировки участка и водоотвода дождевых вод. Имеются проблемы при выполнении строительно-монтажных работ на склоне, что также существенно удорожает строительство вегетария.

Задачей предлагаемого изобретения является устранение вышеуказанных недостатков, экономия и повышение эффективности использования энергетических ресурсов на отопление, вентиляцию и на внутрипочвенное орошение. Автономное энергоснабжение теплицы обеспечивается в любой период года. Регулирование всех технологических процессов в теплице осуществляется без использования электроэнергии. В предлагаемом вегетарии уменьшаются затраты на переработку продукции. Возможно использование различных агротехнических технологий в отапливаемом помещении и, как следствие, уменьшается себестоимость продукции.

Технические преимущества по сравнению с прототипом достигаются тем, что вегетарий имеет печь-стену, с аккумулирующими тепловую энергию колпаками. Предоставляется возможность создания множества печей различной мощности, размеров и функционального назначения, с различным количеством аккумулирующих колпаков. Колпак может быть любой формы и объема. Это позволило разделить теплицу на два объема и обеспечить в каждой из них необходимый микроклимат, вентиляцию, внутрипочвенное орошение и газообмен, в том числе за счет перераспределения потоков движения газов в разные колпаки.

Технические преимущества достигаются тем, что солнечный вегетарий, содержащий прямоугольную теплицу с плоской крышей, систему перфорированных труб, уложенных в грунт теплицы и соединенных поперечной трубой-коллектором, подключенной к вертикальной трубе вентиляции с заслонками, причем другие концы перфорированных труб выведены во внутрь теплицы, отличается тем, что вегетарий имеет печь-стену с аккумулирующими тепловую энергию колпаками, при этом теплица выполнена из двух частей и блока переработки продукции, отделенного от них печной стеной, калориферов нижнего и верхнего яруса печи, причем калориферы нижнего яруса оснащены дверками-задвижками и соединены с перфорированными трубами, создающими микроклимат и орошение в теплице, калориферы верхнего яруса печи с дверками и фрамугами соединены с системой вентиляции, а аккумулирующие колпаки - с каждой из частей теплицы.

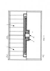
На Фиг. 1 и 2 представлена схема солнечного вегетария. На Фиг. 1 изображен разрез Б-Б, показанный на Фиг. 2, на Фиг. 2 показан разрез А-А, изображенный на Фиг. 1

Солнечный вегетарий в системе СДГ, показанный на Фиг. 1 и 2, состоит из: теплицы, разделенной на две части 1 и 2, блока переработки продукции и размещения различных агротехнических технологий 3, печи-стены 4, калорифера нижнего яруса 5 с дверками 6, 11, с задвижками 7 для обеспечения внутренней и внешней циркуляции воздуха в теплице, калорифера верхнего яруса 9 с дверками 8 с фрамугой 12, задвижкой 15 для вентиляции теплицы, перфорированных труб 10 для циркуляции воздуха с целью нагрева и орошения подпочвенного слоя земли.

Вегетарий работает следующим образом.

Стена калориферов 5 и 9 нагревается в летний период солнечной энергией. Стена передает в теплицу лучевое, конвективное тепло и нагревает воздух в калориферах. То же происходит, если в холодный период года использовать топливо в топке 12 печи-стены 4. Если зажечь топливо, печь нагревает воздух в калорифере 5, который нагревает стену калорифера, а стена передает в теплицу лучевое и конвективное тепло. Для циркуляции воздуха через перфорированные трубы 10 открываются дверки 6. В калорифере 5 возникает естественная тяга, без использования вентиляторов, за счет нагрева в нем воздуха солнечной энергией летом и от печи зимой, которая протягивает через трубы горячий и влажный воздух теплицы. Влага конденсируется в трубах 10 и орошает почву. Таким образом, происходит внутренняя циркуляция воздуха в теплице, причем углекислый газ, часть азота и влаги - главное питание растений - остаются в теплице. Охлажденный и осушенный воздух возвращается в теплицу. При открытии дверцы 11 в нижней зоне теплицы возникает внутренняя циркуляция, происходит перемешивание воздуха в теплице и уменьшается поток воздуха через перфорированные трубы для нагрева и орошения. Для создания или изменения требуемого микроклимата и орошения почвы в разных частях теплицы 1 и 2 в печи-стене изменяются пути движения газов за счет открытия или закрытия задвижек. Большее или меньшее количество газов направляется в колпаки печи (теплоотдающие поверхности) - левый или правый. Вентиляция теплицы выполняется путем открытия фрамуги 12, дверки 8 и задвижки 15, показанных на Фиг. 2. Углекислый газ в 1,5 раза тяжелее воздуха и находится в нижней зоне теплицы, а теплообмен проходит в верхней зоне теплицы, поэтому углекислый газ, часть азота и влаги - главное питание растений - остаются в теплице.

Солнечный вегетарий, содержащий прямоугольную теплицу с плоской крышей, систему перфорированных труб, уложенных в грунт теплицы и соединенных поперечной трубой-коллектором, подключенной к вертикальной трубе вентиляции с заслонками, причем другие концы перфорированных труб выведены во внутрь теплицы, отличающийся тем, что вегетарий имеет печь-стену с аккумулирующими тепловую энергию колпаками, при этом теплица выполнена из двух частей и блока переработки продукции, отделенного от них печной стеной, калориферов нижнего и верхнего яруса печи, причем калориферы нижнего яруса оснащены дверками-задвижками и соединены с перфорированными трубами, создающими микроклимат и орошение в теплице, калориферы верхнего яруса печи с дверками и фрамугами соединены с системой вентиляции, а аккумулирующие колпаки - с каждой из частей теплицы.