Устройство и способы защиты на входе преобразователей мощности

Иллюстрации

Показать все

Изобретение относится к области электротехники и может быть использовано для защиты преобразователей мощности таких, как преобразователи постоянного тока в постоянный, преобразователи переменного тока в постоянный, преобразователи постоянного напряжения в переменное, преобразователи мощности в частотно-регулируемом электроприводе и другие аналогичные преобразователи. Техническим результатом является обеспечение защиты преобразователя мощности при катастрофических внутренних отказах таких, как чрезмерная потеря мощности, чрезмерные уровни реактивного входного тока, образование электрической дуги и т.д. Устройство и способы защиты на входе преобразователей мощности предусматривают преобразователь мощности, включающий в себя вывод входного сигнала, первый выходной сигнал на первом выводе выходного сигнала и контроллер. Контроллер выполнен с возможностью переключения первого выходного сигнала с первого значения на второе значение, измерения напряжения на выводе входного сигнала в зависимости от времени, установки флага на первое значение флага, если измеренное напряжение падает ниже заданного значения в пределах первого заданного интервала времени после переключения первого выходного сигнала с первого значения на второе значение, в других случаях установки флага на второе значение флага и сохранения флага в памяти. Выполнены также многочисленные другие аспекты. 2 н. и 22 з.п. ф-лы, 3 ил.

Реферат

ОБЛАСТЬ ТЕХНИКИ

Настоящее изобретение относится к преобразователям мощности. Более конкретно, данное изобретение относится к устройству и способам защиты на входе преобразователей мощности, таких как преобразователи постоянного тока в постоянный, преобразователи переменного тока в постоянный, преобразователи постоянного напряжения в переменное, частотно-регулируемые электроприводы и другие аналогичные преобразователи мощности.

СУЩНОСТЬ ИЗОБРЕТЕНИЯ

В первом аспекте изобретения выполнен преобразователь мощности, включающий в себя вывод входного сигнала, первый выходной сигнал на первом выводе выходного сигнала и контроллер. Контроллер выполнен с возможностью: (a) переключения первого выходного сигнала с первого значения на второе значение, (b) измерения напряжения на выводе входного сигнала в зависимости от времени, (c) установки флага на первое значение флага, если измеренное напряжение падает ниже заданного значения в пределах первого заданного интервала времени после переключения первого выходного сигнала с первого значения на второе значение, (d) установки флага на второе значение флага, если измеренное напряжение не падает ниже заданного значения в пределах первого заданного интервала времени после переключения первого выходного сигнала с первого значения на второе значение, и (e) сохранения флага в памяти.

Во втором аспекте изобретения выполнен способ работы преобразователя мощности, причем преобразователь мощности включает в себя вывод входного сигнала, первый вывод выходного сигнала и второй вывод выходного сигнала. Способ включает в себя этапы, на которых: (a) обеспечивают первый выходной сигнал на первом выводе выходного сигнала, (b) переключают первый выходной сигнал с первого значения на второе значение, измеряют напряжение на выводе входного сигнала в зависимости от времени, (c) устанавливают флаг на первое значение флага, если измеренное напряжение падает ниже заданного значения в пределах первого заданного интервала времени после переключения первого выходного сигнала с первого значения на второе значение, (d) устанавливают флаг на второе значение флага, если измеренное напряжение не падает ниже заданного значения в пределах первого заданного интервала времени после переключения первого выходного сигнала с первого значения на второе значение, и (e) сохраняют флаг в памяти.

Другие признаки и аспекты настоящего изобретения станут более очевидными из последующего подробного описания, прилагаемой формулы изобретения и сопроводительных чертежей.

КРАТКОЕ ОПИСАНИЕ ЧЕРТЕЖЕЙ

Признаки настоящего изобретения можно лучше понять из последующего подробного описания, рассматриваемого совместно со следующими чертежами, на которых одинаковые ссылочные позиции обозначают одинаковые элементы на всем протяжении описания и на которых:

фиг. 1 - блок-схема системы, включающей в себя примерный вариант осуществления преобразователя мощности в соответствии с настоящим изобретением;

фиг. 2 - блок-схема последовательности операций примерного процесса тестирования в соответствии с настоящим изобретением; и

фиг. 3 - блок-схема последовательности операций примерного процесса отказа электропривода в соответствии с настоящим изобретением.

ПОДРОБНОЕ ОПИСАНИЕ ИЗОБРЕТЕНИЯ

Преобразователь мощности, такой как преобразователь постоянного тока в постоянный, преобразователь переменного тока в постоянный, преобразователь постоянного напряжения в переменное, частотно-регулируемый электропривод ("VFD") или другие аналогичные преобразователи мощности, как правило, устанавливается с устройством защиты на входе (например, с автоматическим выключателем), предназначенным для прерывания или отключения питания от преобразователя мощности при определенных условиях (например, короткое замыкание, перегрузка по току и т.д.). Некоторые устройства защиты на входе включают в себя управляющий вход, который может быть соединен с электрическим управляющим сигналом для размыкания устройства защиты на входе и отключения питания от защищенной схемы даже в том случае, если не возникла ситуация, такая как короткое замыкание или перегрузка по току.

Таким образом, некоторые преобразователи мощности предусматривают выход управляющего сигнала, который предназначен для подачи на управляющий вход устройства защиты на входе и который может запускаться в случае выполнения заданного условия в преобразователе мощности. Например, в VFD заданное условие может представлять собой катастрофический внутренний отказ, такой как чрезмерные потери мощности в VFD, чрезмерный уровень реактивного входного тока в VFD, образование электрической дуги в VFD и т.д.

К сожалению, некоторые установщики могут неправильно установить устройство защиты в VFD. Например, неопытный установщик может не установить какое-либо устройство защиты на входе, может установить неправильный тип устройства защиты на входе, которое не включает в себя управляющий вход, или может не подсоединить выход управляющего сигнала VFD к управляющему входу устройства защиты на входе.

Кроме того, даже в том случае, если устройство защиты на входе первоначально установлено правильно, в результате дальнейшего вмешательства выход управляющего сигнала VFD может стать отсоединенным от управляющего входа устройства защиты на входе. При таких обстоятельствах VFD не сможет управлять устройством защиты на входе и, таким образом, не сможет отключить VFD от источника электропитания.

Для того чтобы преодолеть эти проблемы, системы и способы в соответствии с настоящим изобретением предусматривают VFD, который включает в себя функцию тестирования защиты на входе и функцию отказа электропривода. Функция тестирования защиты на входе, которую может инициировать пользователь в любое время, выполняет тестирование на размыкание устройства защиты на входе для отключения питания от VFD. Флаг запрета запуска электропривода ("DRI") устанавливается на основании результатов тестирования (например, прохождение - FALSE и отказ - TRUE) и сохраняется в энергонезависимой памяти. VFD дается разрешение на запуск только в том случае, если сохраненное значение флага DRI представляет собой FALSE, и не дается разрешение для запуска, если сохраненное значение флага DRI - TRUE. В этом отношении VFD может функционировать только в случае, если VFD способен разомкнуть устройство защиты на входе для отключения питания VFD.

Функцию отказа электропривода можно инициировать при выполнении заданного условия в VFD (например, катастрофический внутренний отказ в VFD, такой как чрезмерные потери мощности, чрезмерный уровень реактивного входного тока, образование внутренней электрической дуги или некоторое другое условие). Функция отказа электропривода также выполняет тестирование, описанное выше, для размыкания устройства защиты на входе для отключения питания от VFD и также сохраняет флаг DRI в памяти. Дополнительно, в случае неудачного тестирования VFD может разомкнуть устройство защиты на входе, расположенное выше по входу, для отключения питания VFD.

Для простоты, в оставшемся тексте будет представлено описание изобретенных способов и устройство, использующее преобразователь мощности VFD. Однако специалистам в данной области будет понятно, что изобретенные способы и устройство можно использовать с другими преобразователями мощности, такими как преобразователи постоянного тока в постоянный, преобразователи переменного тока в постоянный, преобразователи постоянного напряжения в переменное или другие аналогичные преобразователи мощности.

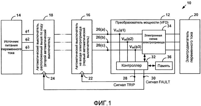
Обратимся теперь к фиг. 1, на которой показана примерная система, которая включает в себя VFD в соответствии с настоящим изобретением. В частности, система 10 включает в себя VFD 12, источник 14 электропитания переменного тока, первый автоматический выключатель 16, второй автоматический выключатель 18 и электродвигатель 20 переменного тока. Специалистам в данной области техники будет понятно, что система 10 может включать в себя компоненты, которые отличаются от или дополняют компоненты, иллюстрированные на фиг. 1.

Источник 14 электропитания переменного тока может представлять собой вторичный источник питания, генератор или другой аналогичный источник питания переменного тока. В иллюстрированном варианте осуществления источник 14 электропитания переменного тока обеспечивает трехфазное (ϕ1-ϕ3) питание. Специалистам в данной области техники будет понятно, что источник 14 электропитания переменного тока альтернативно может обеспечить питание с помощью одной, двух или более трех фаз.

Каждый из первого автоматического выключателя 16 и второго автоматического выключателя 18 может включать в себя размыкающий механизм, который размыкает электрические контакты (не показаны) в ответ на отказ, такой как перегрузка по току или кроткое замыкание, чтобы остановить протекание тока в VFD 12 и электродвигателе 20 переменного тока. Дополнительно, первый автоматический выключатель 16 включает в себя вывод 22 управляющего входа, выполненный с возможностью заставлять размыкающий механизм размыкать электрические контакты в первом автоматическом выключателе 16, когда электрический сигнал на выводе 22 управляющего входа переключается с первого значения (например, 0 В или "ВЫКЛ") на второе значение (например, 5 В или "ВКЛ"). Аналогичным образом, второй автоматический выключатель 18 включает в себя вывод 24 управляющего входа, выполненный с возможностью заставлять размыкающий механизм размыкать электрические контакты во втором автоматическом выключателе 18, когда электрический сигнал на выводе 24 управляющего входа переключается с первого значения на второе значение.

Например, каждый из первого автоматического выключателя 16 и второго автоматического выключателя 18 может представлять собой автоматический выключатель вакуумного типа GMSG, производимый компанией Siemens Industry, Inc., Wendell, NC (Сименс Индастри Инк., Уэндел, НС). Специалистам в данной области техники будет понятно, что можно использовать и другие автоматические выключатели и что первый автоматический выключатель 16 и второй автоматический выключатель 18 могут оба представлять собой автоматический выключатель одного типа или могут представлять собой автоматические выключатели различных типов. Дополнительно, специалистам в данной области техники будет понятно, что первый автоматический выключатель 16 и/или второй автоматический выключатель 18 альтернативно могут представлять собой контактор, который используется для переключения мощности ВКЛ и ВЫКЛ в VFD 12.

Первый автоматический выключатель 16, как правило, располагается рядом с VFD 12 и может обычно упоминаться как "автоматический выключатель на входе электропривода". Соответственно, первый автоматический выключатель 16 будет также упоминаться в данном документе как автоматический выключатель 16 на входе электропривода. Специалистам в данной области техники будет понятно, что первый автоматический выключатель 16 может находиться отдельно от VFD 12 (как показано на фиг. 1) или может быть включен как часть VFD 12.

Второй автоматический выключатель 18, как правило, располагается выше "по ходу" от автоматического выключателя 16 на входе электропривода и VFD 12 и может обычно упоминаться как "автоматический выключатель, расположенный выше по ходу". Соответственно, второй автоматический выключатель 18 будет также упоминаться в данном документе как автоматический выключатель 18, расположенный выше по ходу. Второй автоматический выключатель 18, как правило, может обеспечивать защиту многочисленных цепей, помимо цепи, включающей в себя автоматический выключатель 16 на входе электропривода и VFD 12.

VFD 12 включает в себя входные выводы 26(a)-26(c), соединенные с выходными выводами первого автоматического выключателя 16 электропривода, первого выходного вывода 28, обеспечивающего подачу выходного сигнал TRIP, который подается на вывод 22 управляющего входа первого автоматического выключателя 16, и второго выходного вывода 30, обеспечивающего подачу выходного сигнала FAULT, который подается на вывод 24 управляющего входа второго автоматического выключателя 18. Дополнительно, VFD 12 включает в себя контроллер 32, электронную схему 34 электропривода и память 36. Контроллер 32 соединен с входными выводами 26(a)-26(c), первым выходным выводом 28, вторым выходным выводом 30, электронной схемой 34 электропривода и памятью 36. Специалистам в данной области техники будет понятно, что VFD 12 может включать в себя компоненты, которые отличаются от или дополняют компоненты, иллюстрированные на фиг. 1.

Контроллер 32 может представлять собой контроллер микропроцессора, программируемый логический контроллер, главный компьютер, персональный компьютер, карманный компьютер или другой аналогичный процессор, который можно использовать для управления работой электронной схемы 34 электропривода. Электронная схема 34 электропривода может включать в себя традиционные электронные схемы VFD, которые преобразуют входной сигнал переменного тока на входных выводах 26(a)-26(c) в выходной сигнал переменного тока, подаваемый в электродвигатель 20 переменного тока. Память 36 может представлять собой энергонезависимую память, такую как память на основе магнитного диска, память на основе оптического диска, жесткий диск, гибкий диск, флэш-память или другая аналогичная память.

В соответствии с настоящим изобретением контроллер 32 включает в себя процесс тестирования защиты на входе и процесс отказа электропривода. Процесс тестирования защиты на входе, который пользователь VFD 12 может инициировать в любое время, выполняет тестирование на размыкание первого автоматического выключателя 16 для отключения питания от VFD 12. В случае успешного тестирования контроллер 32 устанавливает значение флага DRI на FALSE. Однако, в случае неудачного тестирования, контроллер 32 устанавливает значение флага DRI на TRUE. Флаг DRI хранится в памяти 36. VFD 12 дается разрешение на запуск в случае, если DRI = FALSE, указывающий на то, что VFD 12 может разомкнуть первый автоматический выключатель 16. Если DRI = TRUE, контроллер 32 не разрешит VFD 12 запуститься.

Процесс отказа электропривода может быть инициирован контроллером 32 при выполнении заданного условия (например, катастрофический внутренний отказ, такой как чрезмерные потери мощности в VFD 12, чрезмерный уровень реактивного входного тока в VFD 12, образование электрической дуги внутри VFD или некоторое другое условие) для размыкания автоматического выключателя 16 на входе электропривода, чтобы отключить питание от VFD 12. Процесс отказа электропривода также выполняет процесс тестирования, описанный выше, для размыкания первого автоматического выключателя 16 для отключения питания от VFD 12, и также сохраняет флаг DRI в памяти 36. Дополнительно, как описано более подробно ниже, в случае неудачного тестирования контроллер 32 может разомкнуть второй автоматический выключатель 18, чтобы отключить питание от первого автоматического выключателя 16 и VFD 12.

Со ссылкой на фиг. 1 и 2 описан примерный процесс 40 тестирования в соответствии с настоящим изобретением. Процесс 40 тестирования может инициировать пользователь путем подачи команды тестирования в контроллер 32, например, с помощью аппаратного и/или программного переключателя или с помощью другого аналогичного способа. На этапе 42, в ответ на команду тестирования, контроллер 32 переключает сигнал TRIP на первом выходном выводе 28 с первого значения, такого как ВЫКЛ (например, 0 В), на второе значение, такое как ВКЛ (например, 5 В). Сигнал TRIP подается на управляющий вывод 22 первого автоматического выключателя 16, и, таким образом, когда сигнал TRIP переключается с ВЫКЛ на ВКЛ, первый автоматический выключатель 16 должен разомкнуться, чтобы отключить питание от VFD 16.

Чтобы определить, разомкнут ли первый автоматический выключатель 16, на этапе 44 контроллер 32 контролирует входные напряжения VIN(ϕ1), VΙΝ(ϕ2) и VIN(ϕ3) на входных выводах 26(a), 26(b) и 26(c), соответственно, в зависимости от времени. Если сигнал TRIP правильно подсоединен к управляющему выводу 22 первого автоматического выключателя 16 и если первый автоматический выключатель 16 работает нормально, каждое из входных напряжений VIN(ϕ1), VΙΝ(ϕ2) и VIN(ϕ3) должно уменьшиться до 0 В в пределах относительно короткого интервала времени после переключения сигнала TRIP с ВЫКЛ на ВКЛ.

Таким образом, на этапе 46 контроллер 32 определяет, меньше или равно каждое из входных напряжений VIN(ϕ1), VΙΝ(ϕ2) и VIN(ϕ3) заданному значению VMIN в пределах первого заданного интервала времени TMAX после переключения сигнала TRIP с ВЫКЛ на ВКЛ. Заданное значение VMIN может находиться между приблизительно 15 В и приблизительно 0 В или может принимать некоторое другое значение, которое можно использовать для того, чтобы определить, что первый автоматический выключатель 16 отключил питание от VFD 12. Первый заданный интервал времени TMAX может находиться между приблизительно 1 секундой и приблизительно 1 микросекундой или в некотором другом интервале времени для первого автоматического выключателя 16, чтобы отключить питание от VFD 12 после переключения сигнала TRIP с ВЫКЛ на ВКЛ.

Если каждое из входных напряжений VIN(ϕ1), VΙΝ(ϕ2) и VIN(ϕ3) меньше или равно заданному значению VMIN в пределах первого заданного интервала времени TMAX после переключения сигнала TRIP с ВЫКЛ на ВКЛ, процесс переходит на этап 48 и контроллер 32 устанавливает значение флага DRI на FALSE. На этапе 50 контроллер 32 сохраняет флаг DRI в памяти 36. На этапе 52 контроллер 32 опционально может отображать сообщение пользователю, указывая на то, что проводилось тестирование. Процесс 40 затем заканчивается при входных напряжениях VIN(ϕ1), VΙΝ(ϕ2) и VIN(ϕ3), каждое из которых меньше или равно заданному значению VMIN, и при значении флага DRI=FALSE, которое сохраняется в памяти 36. В результате, контроллер 32 не предотвращает запуск VFD 12 на основании результатов тестирования защиты на входе.

Обратимся теперь к этапу 46, на котором, если контроллер 32 определяет, что одно или более из входных напряжений VIN(ϕ1), VΙΝ(ϕ2) и VIN(ϕ3) не меньше или равно заданному значению VMIN в пределах первого заданного интервала времени TMAX после переключения сигнала TRIP с ВЫКЛ на ВКЛ, процесс переходит на этап 54 и контроллер 32 устанавливает значение флага DRI на TRUE. На этапе 50 контроллер 32 сохраняет флаг DRI в памяти 36. На этапе 56 контроллер 32 опционально может отображать сообщение пользователю, указывая, что тестирование закончилось неудачно. Процесс 40 затем заканчивается при значении флага DRI=TRUE, которое сохраняется в памяти 36. В результате, контроллер 32 предотвращает запуск VFD 12 на основании результатов тестирования защиты на входе.

В примерном процессе 40, описанном выше, контроллер 32 контролирует каждое из входных напряжений VIN(ϕ1), VΙΝ(ϕ2) и VIN(ϕ3), чтобы определить, меньше или равны все три входных напряжения заданному значению VMIN в пределах первого заданного интервала времени TMAX после переключения сигнала TRIP с ВЫКЛ на ВКЛ. Специалистам в данной области техники будет понятно, что контроллер 32 альтернативно может контролировать меньше, чем все входные напряжения VIN(ϕ1), VΙΝ(ϕ2) и VIN(ϕ3).

Например, на этапе 44 контроллер 32 может контролировать входное напряжение VΙΝ(ϕ2), и на этапе 46 контроллер 32 альтернативно может определить, меньше или равно входное напряжение VΙΝ(ϕ2) заданному значению VMIN в пределах первого заданного интервала времени TMAX после переключения сигнала TRIP с ВЫКЛ на ВКЛ, и может установить значение флага DRI, соответственно. Можно также использовать и другие варианты.

Со ссылкой на фиг. 1 и 3 описан примерный процесс 60 отказа электропривода в соответствии с настоящим изобретением. Процесс 60 отказа электропривода может быть инициирован контроллером 32 при выполнении заданного условия (например, катастрофический внутренний отказ, такой как чрезмерные потери мощности в VFD 12, чрезмерный уровень реактивного входного тока в VFD 12, образование электрической дуги внутри VFD 12 или некоторое другое условие).

На этапе 62, в ответ на команду отказа электропривода, контроллер 32 переключает сигнал TRIP на первом выходном выводе 28 с первого значения, такого как ВЫКЛ (например, 0 В), на второе значение, такое как ВКЛ (например, 5 В). Когда сигнал TRIP переключается с ВЫКЛ на ВКЛ, первый автоматический выключатель 16 должен разомкнуться, чтобы отключить питание от VFD 16.

Чтобы определить, был ли разомкнут первый автоматический выключатель 16, на этапе 64 контроллер 32 контролирует входные напряжения VIN(ϕ1), VΙΝ(ϕ2) и VIN(ϕ3) на входных выводах 26(a), 26(b) и 26(c), соответственно, в зависимости от времени. Если вывод сигнала TRIP правильно подсоединен к управляющему выводу 22 первого автоматического выключателя 16 и если первый автоматический выключатель 16 работает нормально, каждое из входных напряжений VIN(ϕ1), VΙΝ(ϕ2) и VIN(ϕ3) должно уменьшиться до 0 В в течение относительно короткого периода времени после переключения сигнала TRIP с ВЫКЛ на ВКЛ.

Таким образом, на этапе 66 контроллер 32 определяет, меньше или равно каждое из входных напряжений VIN(ϕ1), VΙΝ(ϕ2) и VIN(ϕ3) заданному значению VMIN в пределах первого заданного интервала времени TMAX после переключения сигнала TRIP с ВЫКЛ на ВКЛ. Если каждое из входных напряжений VIN(ϕ1), VΙΝ(ϕ2) и VIN(ϕ3) меньше или равно заданному значению VMIN в пределах первого заданного интервала времени TMAX после переключения сигнала TRIP с ВЫКЛ на ВКЛ, процесс переходит на этап 68 и контроллер 32 устанавливает значение флага DRI на FALSE. На этапе 70 контроллер 32 сохраняет флаг DRI в памяти 36. Затем процесс 60 заканчивается при входных напряжениях VIN(ϕ1), VΙΝ(ϕ2) и VIN(ϕ3), каждое из которых меньше или равно заданному значению VMIN, и при значении флага DRI=FALSE, которое сохраняется в памяти 36.

Обращаясь снова к этапу 66, если контроллер 32 определяет, что одно или более из входных напряжений VIN(ϕ1), VΙΝ(ϕ2) и VIN(ϕ3) не меньше или равно заданному значению VMIN в пределах первого заданного интервала времени TMAX после переключения сигнала TRIP с ВЫКЛ на ВКЛ, процесс переходит на этап 72 и контроллер 32 устанавливает значение флага DRI на TRUE. На этапе 74 контроллер 32 сохраняет флаг DRI в памяти 36.

В некоторых случаях автоматический выключатель 16 на входе электропривода может быть не способен отключить питание VFD 12 в пределах TMAX, но может быть способен сделать это в пределах более продолжительного интервала времени. Соответственно, на этапе 76 контроллер 32 продолжает контролировать входные напряжения VIN(ϕ1), VΙΝ(ϕ2) и VIN(ϕ3) на входных выводах 26(a), 26(b) и 26(c), соответственно, в зависимости от времени и определяет, меньше или равно каждое из входных напряжений VIN(ϕ1), VΙΝ(ϕ2) и VIN(ϕ3) заданному значению VMIN в пределах второго заданного времени TFLT после переключения сигнала TRIP с ВЫКЛ на ВКЛ. Второй заданный интервал времени TFLT может находиться между приблизительно 1 секундой и приблизительно 5 секундами или в некотором другом интервале времени, более продолжительном, чем TMAX. Если это так, то процесс 60 заканчивается при входных напряжениях VIN(ϕ1), VΙΝ(ϕ2) и VIN(ϕ3), каждое из которых меньше или равно заданному значению VMIN, и при значении флага DRI=TRUE, которое сохраняется в памяти 36.

Однако, если на этапе 76 контроллер 32 определяет, что одно или более из входных напряжений VIN(ϕ1), VΙΝ(ϕ2) и VIN(ϕ3) не меньше или равно заданному значению VMIN в пределах второго заданного интервала времени TFLT после переключения сигнала TRIP с ВЫКЛ на ВКЛ, процесс переходит на этап 78 и контроллер 32 переключает сигнал FAULT на втором выходном выводе 30 с первого значения, такого как ВЫКЛ (например, 0 В), на второе значение, такое как ВКЛ (например, 5 В), который заставляет второй автоматический выключатель 18 разомкнуться, чтобы отключить питание в первом автоматическом выключателе 16 и VFD 12.

В связи с этим, если первый автоматический выключатель 16 не способен отключить питание в VFD 12 в течение более продолжительного интервала времени TFLT, то это может указывать на серьезные проблемы с безопасностью. В результате, контроллер 32 размыкает второй автоматический выключатель 18, чтобы предотвратить серьезную аварию или повреждение. Дополнительно, на этапе 80 контроллер 32 выдает предупреждение о "повреждении размыкания автоматического выключателя из-за отказа электропривода", чтобы указать причину отказа. Затем процесс 60 заканчивается при значении флага DRI=TRUE, которое сохраняется в памяти 36.

В примерном процессе 60, описанном выше, контроллер 32 контролирует каждое из входных напряжений VIN(ϕ1), VΙΝ(ϕ2) и VIN(ϕ3) и определяет, меньше или равно каждое из входных напряжений заданному значению VMIN в пределах первого заданного интервала времени TMAX после переключения сигнала TRIP с ВЫКЛ на ВКЛ. Специалистам в данной области техники будет понятно, что функции отказа электропривода в соответствии с настоящим изобретением альтернативно можно контролировать меньше, чем все входные напряжения VIN(ϕ1), VΙΝ(ϕ2) и VIN(ϕ3). Например, на этапе 64 контроллер 32 альтернативно может контролировать входные напряжения VIN(ϕ1) и VIN(ϕ3), и на этапе 66 контроллер 32 альтернативно может определить, меньше или равно каждое из входных напряжений VΙΝ(ϕ1) и VΙΝ(ϕ3) заданному значению VMIN в пределах первого заданного интервала времени TMAX после переключения сигнала TRIP с ВЫКЛ на ВКЛ, и может установить значение флага DRI, соответственно. Тот же самый альтернативный пример относится к этапу 76. Можно также использовать другие варианты.

Вышеизложенные описание и чертежи иллюстрируют только принципы настоящего изобретения, и специалисты в данной области техники могут сделать различные модификации без отклонения от объема и сущности настоящего изобретения.

1. Преобразователь мощности, содержащий:

вывод входного сигнала;

первый выходной сигнал на первом выводе выходного сигнала; и

контроллер, выполненный с возможностью:

переключения первого выходного сигнала с первого значения на второе значение;

измерения напряжения на выводе входного сигнала в зависимости от времени;

установки флага на первое значение флага, если измеренное напряжение падает ниже заданного значения в пределах первого заданного интервала времени после переключения первого выходного сигнала с первого значения на второе значение;

установки флага на второе значение флага, если измеренное напряжение не падает ниже заданного значения в пределах первого заданного интервала времени после переключения первого выходного сигнала с первого значения на второе значение; и

сохранения флага в памяти.

2. Преобразователь мощности по п. 1, в котором:

вывод входного сигнала соединен с выводом выходного сигнала первого автоматического выключателя;

первый вывод выходного сигнала соединен с входом управления первого автоматического выключателя; и

первый автоматический выключатель выполнен с возможностью размыкания при переключении первого выходного сигнала с первого значения на второе значение.

3. Преобразователь мощности по п. 1, в котором:

вывод входного сигнала соединен с выводами многофазных входных сигналов; и

контроллер выполнен с возможностью измерения напряжения на каждой фазе входного сигнала в зависимости от времени.

4. Преобразователь мощности по п. 3, в котором контроллер выполнен с возможностью:

устанавливать флаг на первое значение, если измеренное напряжение каждой фазы многофазного входного сигнала падает ниже заданного значения в пределах первого заданного интервала времени после переключения первого выходного сигнала с первого значения на второе значение; и

установки флага на второе значение, если измеренное напряжение любой фазы многофазного входного сигнала не падает ниже заданного значения в пределах первого заданного интервала времени после переключения первого выходного сигнала с первого значения на второе значение.

5. Преобразователь мощности по п. 1, в котором заданное значение находится между приблизительно 15 В и приблизительно 0 В.

6. Преобразователь мощности по п. 1, в котором первый заданный интервал времени находится между приблизительно 1 секундой и приблизительно 1 микросекундой.

7. Преобразователь мощности по п. 1, в котором преобразователь мощности блокируется от запуска, если флаг имеет первое значение флага, и не блокируется от запуска, если флаг имеет второе значение флага.

8. Преобразователь мощности по п. 1, в котором контроллер переключает первый выходной сигнал с первого значения на второе значение в ответ на команду тестирования или отказ электропривода.

9. Преобразователь мощности по п. 1, дополнительно содержащий второй выходной сигнал на втором выводе выходного сигнала, в котором контроллер дополнительно выполнен с возможностью переключения второго выходного сигнала с первого значения на второе значение, если измеренное напряжение не падает ниже заданного значения в пределах второго заданного интервала времени после переключения первого выходного сигнала с первого значения на второе значение.

10. Преобразователь мощности по п. 9, в котором:

вывод входного сигнала соединен с выводом выходного сигнала второго автоматического выключателя;

второй вывод выходного сигнала соединен с входом управления второго автоматического выключателя; и

второй автоматический выключатель выполнен с возможностью размыкания при переключении второго выходного сигнала с первого значения на второе значение.

11. Преобразователь мощности по п. 9, в котором второй заданный интервал времени находится между приблизительно 1 секундой и приблизительно 5 секундами.

12. Преобразователь мощности по п. 1, в котором преобразователь мощности содержит один или более из преобразователя постоянного тока в постоянный, преобразователя переменного тока в постоянный, преобразователя постоянного напряжения в переменное и частотно-регулируемого электропривода ("VFD").

13. Способ работы преобразователя мощности, содержащего вывод входного сигнала, первый вывод выходного сигнала и второй вывод выходного сигнала, причем способ содержит этапы, на которых:

обеспечивают первый выходной сигнал на первом выводе выходного сигнала;

переключают первый выходной сигнал с первого значения на второе значение;

измеряют напряжение на выводе входного сигнала в зависимости от времени;

устанавливают флаг на первое значение флага, если измеренное напряжение падает ниже заданного значения в пределах первого заданного интервала времени после переключения первого выходного сигнала с первого значения на второе значение;

устанавливают флаг на второе значение флага, если измеренное напряжение не падает ниже заданного значения в пределах первого заданного интервала времени после переключения первого выходного сигнала с первого значения на второе значение; и

сохраняют флаг в памяти.

14. Способ по п. 13, дополнительно содержащий этапы, на которых:

соединяют вывод входного сигнала с выводом входного сигнала первого автоматического выключателя; и

соединяют первый вывод выходного сигнала с управляющим входом первого автоматического выключателя,

где первый автоматический выключатель выполнен с возможностью размыкания при переключении первого выходного сигнала с первого значения на второе значение.

15. Способ по п. 13, дополнительно содержащий этап, на котором соединяют вывод входного сигнала с многофазным входным сигналом, где измерение напряжения содержит измерение напряжения на каждой фазе входного сигнала в зависимости от времени.

16. Способ по п. 15, дополнительно содержащий этапы, на которых:

устанавливают флаг на первое значение, если измеренное напряжение каждой фазы многофазного входного сигнала падает ниже заданного значения в пределах первого заданного интервала времени после переключения первого выходного сигнала с первого значения на второе значение; и

устанавливают флаг на второе значение, если измеренное напряжение любой фазы многофазного входного сигнала не падает ниже заданного значения в пределах первого заданного интервала времени после переключения первого выходного сигнала с первого значения на второе значение.

17. Способ по п. 13, в котором заданное значение находится между приблизительно 15 В и приблизительно 0 В.

18. Способ по п. 13, в котором первый заданный интервал времени находится между приблизительно 1 секундой и приблизительно 1 микросекундой.

19. Способ по п. 13, в котором преобразователь мощности блокируется от запуска, если флаг имеет первое значение флага, и не блокируется от запуска, если флаг имеет второе значение флага.

20. Способ по п. 13, дополнительно содержащий переключение первого выходного сигнала с первого значения на второе значение в ответ на команду тестирования или отказ электропривода.

21. Способ по п. 13, дополнительно содержащий этапы, на которых:

подают второй выходной сигнал на второй вывод выходного сигнала; и

переключают второй выходной сигнал с первого значения на второе значение, если измеренное напряжение не падает ниже заданного значения в пределах второго заданного интервала времени после переключения первого выходного сигнала с первого значения на второе значение.

22. Способ по п. 21, дополнительно содержащий этапы, на которых:

соединяют вывод входного сигнала с входным сигналом второго автоматического выключателя; и

соединяют второй вывод выходного сигнала с управляющим входом второго автоматического выключателя,

где второй автоматический выключатель выполнен с возможностью размыкания при переключении второго выходного сигнала с первого значения на второе значение.

23. Способ по п. 21, в котором второй заданный интервал времени находится между приблизительно 1 секундой и приблизительно 5 секундами.

24. Способ по п. 13, в котором преобразователь мощности содержит один или более из преобразователя постоянного тока в постоянный, преобразователя переменного тока в постоянный, преобразователя постоянного напряжения в переменное и частотно-регулируемого электропривода ("VFD").