Предохранительное приспособление от выжимания для рельсового транспортного средства

Иллюстрации

Показать все

Изобретение относится к рельсовым транспортным средствам, в частности к предохранительным приспособлениям от выжимания. Предохранительное приспособление от выжимания для рельсового транспортного средства с буфером, опорой для которого служит соединенный с рамой рельсового транспортного средства элемент для поглощения энергии. На элементе для поглощения энергии, на его обращенном от рамы транспортного средства конце, закреплен несущий элемент, который на своем выступающем в вертикальном направлении от буфера конце поддерживает предохранительное устройство от выжимания. Горизонтально ориентированный упор расположен таким образом, что от него предохранительный элемент от выжимания предохранительного устройства, в случае столкновения во взаимодействии с передней частью рельсового транспортного средства, устанавливается в простирающееся наружу над буфером положение предохранения от выжимания. Достигается повышение надежности предохранительного приспособления. 13 з.п. ф-лы, 20 ил.

Реферат

Изобретение относится к предохранительному приспособлению от выжимания для рельсового транспортного средства с, по меньшей мере, буфером, опорой для которого служит соединенный с рамой рельсового транспортного средства элемент для поглощения энергии.

Предохранительное приспособление от выжимания этого вида приведено в документе DE 100200848247 В3. Известное предохранительное приспособление от выжимания имеет простирающиеся в продольном направлении образованного локомотивом рельсового транспортного средства несущие элементы, которые через поперечную балку соединены друг с другом. Несущие элементы расположены с возможностью перемещения по направляющим выше буферов на раме локомотива соответственно ходовой тележки и простираются вплоть до концевой области упругого пути буферной тарелки; на конце несущих элементов имеются вспомогательные опоры, с которыми в случае столкновения взаимодействует прочная структура встречающегося рельсового транспортного средства. Известное предохранительное приспособление требует специальной конструкции рельсового транспортного средства соответственно локомотива и отсюда не пригодно для того, чтобы стать дополнительным оборудованием.

Из документа ЕР 2003868 В1 известно предохранительное приспособление от выжимания в форме так называемого предохранительного устройства от режима за пределами амортизации, в котором для каждого из буферов на концах рельсового транспортного средства предусмотрено воронкообразное чашевидное устройство из жесткого материала, которое, выходя за рамки соответствующего буфера, закреплено на раме транспортного средства. Известное предохранительное устройства от режима за пределами амортизации имеет предпочтительно два участка чашевидного устройства, которые образованы в виде выступающих кулачков. В случае столкновения буфер транспортного средства с противной стороны въезжает внутрь воронкообразного чашевидного устройства, вследствие чего предотвращается выжимание буфера. Если встречаются два защищенных одинаковым способом буфера, то не исключено, что одно из обоих чашевидных устройств неизбежно, что обусловлено формой, вызовет ограниченное выжимание и вследствие этого сход с рельсов одного из обоих рельсовых транспортных средств.

Из документа DE 102006050028 A1 известно предохранительное приспособление от выжимания для рельсовых транспортных средств, в котором рельсовые транспортные средства на передней части транспортного средства имеют выступающие фасонные детали. Они в случае столкновения двух рельсовых транспортных средств создают геометрическое замыкание между соударяющимися друг с другом передними частями транспортных средств. При этом на каждой передней части транспортного средства предусмотрена решетка из открытых в направлении движения ячеек из ровных металлических листов, точки перекрещивания которых представляют места с более высокой жесткостью и перемычки которого представляют места с более низкой жесткостью в продольном направлении. При столкновении передняя часть одного рельсового транспортного средства входит в переднюю часть другого рельсового транспортного средства, вследствие чего происходит зацепление как в вертикальном, так и в горизонтальном направлении. Это предохранительное приспособление от выжимания не функционирует, если сталкивающиеся транспортные средства оснащены неодинаковыми предохранительными приспособлениями от выжимания и, таким образом, не может применяться в интероперабельном коммерческом сообщении.

В основе изобретения лежит задача предложения предохранительного приспособления от выжимания однажды приведенного вида, которое может быть изготовлено благоприятно в экономическом отношении, надежно предотвращает выжимание, а также может быть просто установлено дополнительно.

Для решения этой задачи в предохранительном приспособлении приведенного выше вида в соответствии с изобретением на элементе для поглощения энергии на его обращенном от рамы транспортного средства конце закреплен несущий элемент, который на своем выступающем в вертикальном направлении от буфера конце поддерживает предохранительное устройство от выжимания, и предусмотрен горизонтально ориентированный упор таким образом, что от него предохранительный элемент от выжимания предохранительного устройства от выжимания в случае столкновения во взаимодействии с передней частью рельсового транспортного средства может устанавливаться в простирающееся наружу над буфером положение предохранения от выжимания.

Существенное преимущество предложенного в соответствии с изобретением предохранительного приспособления от выжимания заключается в том, что оно может быть изготовлено сравнительно благоприятно в экономическом отношении, так как состоит главным образом только из несущего элемента с предохранительным устройством от выжимания и упора и, таким образом, в своих основных составных частях может изготавливаться серийно, установка на рельсовом транспортном средстве относительно проста. Другое преимущество предложенного в соответствии с изобретением предохранительного приспособления от выжимания видится в том, что оно может дополнительно просто устанавливаться на рельсовых транспортных средствах, так как установка несущего элемента с предохранительным устройством от выжимания может осуществляться на свободном конце элемента для поглощения энергии и крепление упора на раме транспортного средства. Поэтому не должно предприниматься какого-либо достойного внимания вмешательства в рельсовое транспортное средство, соответственно его переднюю часть.

В предложенном в соответствии с изобретением предохранительном приспособлении от выжимания упор может быть расположен различным образом. Может быть предпочтительным, когда упор закреплен в области передней части рельсового транспортного средства. Для этого не нужно никаких трудоемких дополнительных работ на рельсовом транспортном средстве, так как упор без затруднений может устанавливаться на передней части транспортного средства.

Но также возможно крепление упора на предохранительном элементе от выжимания. В этом случае предложенное в соответствии с изобретением предохранительное приспособление от выжимания предварительно может изготавливаться вместе с упором и при этом нужно заботиться только о том, чтобы для упора на рельсовом транспортном средстве, соответственно раме транспортного средства, была предусмотрена подходящая механически прочная область.

В части установки упора и предохранительного устройства от выжимания в отношении элемента для поглощения энергии, соответственно буфера рельсового транспортного средства, имеются различные возможности. Чтобы в случае столкновения предотвратить выжимание транспортного средства с противной стороны, упор и предохранительное устройство от выжимания расположены выше элемента для поглощения энергии.

Чтобы в случае столкновения предотвратить выжимание собственного транспортного средства, упор и предохранительное устройство от выжимания расположены ниже элемента для поглощения энергии.

Чтобы в случае столкновения предотвратить выжимание транспортного средства с противной стороны и собственного транспортного средства предохранительные устройства от выжимания расположены как выше, так и ниже элемента для поглощения энергии.

Предохранительный элемент от выжимания в предложенном в соответствии с изобретением предохранительном приспособлении от выжимания может быть образован различным способом. Предпочтительный вариант исполнения видится в том, что предохранительный элемент от выжимания представлен шибером, который с возможностью перемещения по горизонтали закреплен в направляющей предохранительного устройства от выжимания и на своем обращенном к упору конце выступает из направляющей. Преимущество этого исполнения предохранительного элемента от выжимания видится в том, что он может быть выполнен функционально надежным и сравнительно просто.

Для повышения надежности предложенного в соответствии с изобретением предохранительного приспособления от выжимания шибер против непроизвольного смещения зафиксирован в рабочем начальном положении, к примеру, с помощью соединения с запрограммированным разрушением между шибером и направляющей. Только если от упора на шибер будет действовать горизонтальное усилие, как оно имеет место в случае столкновения, разрушится соединение с запрограммированным разрушением, и шибер от упора вернется в положение предохранения от выжимания. Нежелательное смещение шибера во время нормальной работы предотвращается с помощью соединения с запрограммированным разрушением.

Другое функциональное улучшение может достигаться, когда шибер предохранительного устройства от выжимания на своем обращенном от упора конце снабжен дополнительным горизонтальным ребром. Это способствует тому, что в случае столкновения собственное транспортное средство может дополнительно «сцепиться» с соответственно оформленной передней стороной транспортного средства с противной стороны.

Для повышения надежности предложенного в соответствии с изобретением предохранительного приспособления от выжимания с помощью фиксации предохранительного элемента от выжимания в положении предохранения от выжимания в случае столкновения предпочтительным является вариант исполнения, при котором предохранительный элемент от выжимания представлен элементом шибера, который через место запрограммированного разрушения с продольным смещением соединен с лежащей с продольным смещением по отношению к упору деталью шибера, и деталь шибера через другое место запрограммированного разрушения соединена с направляющей, причем одно место запрограммированного разрушения между деталью шибера и элементом шибера более прочное, чем другое место запрограммированного разрушения между деталью шибера и направляющей. В этом случае обеспечено, что с одной стороны в случае столкновения предотвращается выжимание и с другой стороны при нормальной работе предотвращается непроизвольное смещение в рабочее начальное положение.

В части варианта исполнения элемента шибера и детали шибера существуют различные возможности. Так в качестве предпочтительного рассматривается, когда элемент шибера и деталь шибера по всей своей длине образованы соответственно остающимися равной толщины. Преимуществом этого варианта осуществления является то, что наряду с вышеупоминавшейся надежностью имеет место простая реализуемость изготовления элемента шибера и детали шибера.

Альтернативой описанного выше осуществления может быть образование детали шибера клиновидной формы, расширяющейся по направлению к упору, и снабжение элемента шибера расширением в противоположном направлении. В этом случае элемент шибера и деталь шибера при взаимодействии образуют клиновидное соединение, с помощью которого в направляющей осуществляется фиксация с геометрическим замыканием, как только будет достигнуто положение предохранения от выжимания. С помощью этой фиксации элемент шибера зафиксирован в положении предохранения от выжимания против смещения вследствие воздействия возможно возникающих горизонтальных обусловленных столкновением сил.

Независимо от того, является ли предохранительный элемент от выжимания шибером или деталью шибера, в предложенном в соответствии с изобретением предохранительном приспособлении в качестве предпочтительного видится, когда шибер или элемент шибера на своем обращенном от упора конце снабжен выступом.

В другой форме осуществления предложенного в соответствии с изобретением предохранительного приспособления от выжимания предохранительное устройство от выжимания образовано в виде поворотной скобы, которая со своим плечом скобы установлена с возможностью поворота на лежащем ниже элемента для поглощения энергии шарнирно-поворотном устройстве несущего элемента и на лежащем выше элемента для поглощения энергии конце несущего элемента выполнена таким образом, что его плечо скобы в случае столкновения с помощью упора на рельсовом транспортном средстве может поворачиваться и фиксироваться в положении предохранения от выжимания. Существенное преимущество этой формы осуществления видится в том, что она надежно предотвращает выжимание, а также может просто устанавливаться дополнительно.

Изобретение поясняется чертежами, на которых представлено следующее:

фиг. 1-3 – первый пример осуществления предложенного в соответствии с изобретением предохранительного приспособления от выжимания с расположенным выше элемента для поглощения энергии шибером в его различных положениях во время различных стадий столкновения,

фиг. 4 – другой пример осуществления предложенного в соответствии с изобретением предохранительного приспособления от выжимания с упором у шибера,

фиг. 5 – следующий пример осуществления предложенного в соответствии с изобретением предохранительного приспособления от выжимания с дополнительным горизонтальным ребром на обращенном от упора конце шибера,

фиг. 6-8 – пример осуществления предложенного в соответствии с изобретением предохранительного приспособления от выжимания с расположенным ниже элемента для поглощения энергии шибером во время различных стадий столкновения,

фиг. 9-12 – еще один пример осуществления предложенного в соответствии с изобретением предохранительного приспособления от выжимания с деталью шибера и элементом шибера с остающейся равной толщиной,

фиг. 13-16 – пример осуществления с клиновидным элементом шибера и клиновидной деталью шибера,

фиг.17-19 – пример осуществления с поворотной скобой в качестве предохранительного элемента от выжимания, и

фиг. 20 – пример осуществления с оснащением поворотной скобой, с дополнительным горизонтальным ребром на обращенном от упора конце поворотной скобы.

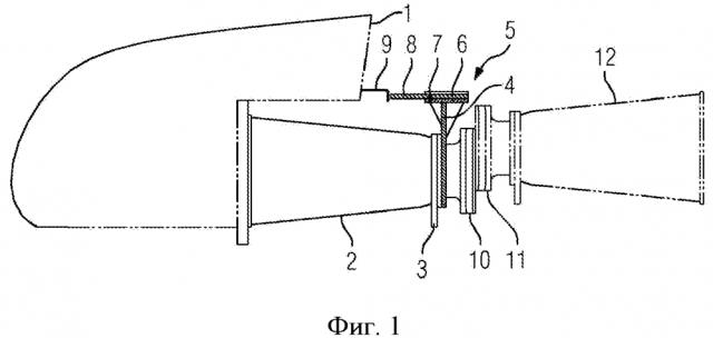
Фиг. 1-3, на которых совпадающие элементы снабжены одними и теми же ссылочными позициями, схематично показывают раму 1 подробно не изображенного рельсового транспортного средства. На раме 1 транспортного средства установлен элемент 2 для поглощения энергии, который на своем обращенном от рамы 1 транспортного средства конце 3 имеет несущий элемент 4. Несущий элемент 4 поддерживает предохранительное устройство 5 от выжимания, которое имеет направляющую 6, в которой с помощью соединения 7 с запрограммированным разрушением установлен шибер 8. Шибер 8 со своим левым на фиг. 1-3 концом лежит непосредственно перед или у упора 9, который закреплен на раме 1 транспортного средства.

Далее на фиг. 1-3 можно увидеть, что в элементе 2 для поглощения энергии известным способом закреплен буфер 10, против которого в случае столкновения будет находиться буфер 11 транспортного средства с противной стороны. Этот буфер 11 также установлен или закреплен непосредственно в транспортном средстве с противной стороны в элементе 12 для поглощения энергии.

Фиг. 1 показывает состояние, в котором буфера 10 и 11 двух рельсовых транспортных средств находятся друг у друга со смещением по высоте, как имеет место при нормальной стыковке рельсовых транспортных средств в эксплуатации.

Если, как это показано на фиг. 2, в случае столкновения рельсовое транспортное средство с рамой 1 транспортного средства и буфером 10 прижимается к буферу 11 транспортному средству с противной стороны, тогда сначала сплющивается элемент 2 для поглощения энергии и вследствие этого укорачивается в своей длине; одновременно упор 9 перемещается к шиберу 8 предохранительного устройства 5 от выжимания, причем соединение 7 с запрограммированным разрушением разъединяется и шибер 8 перемещается в направлении стрелки 13,. при этом шибер 8 приводится в положение предохранения от выжимания, которое задано с помощью того, что шибер 8 сдвигается над буфером 11 транспортного средства с противной стороны и таким образом препятствует выжиманию буфера 11 и соединенного с ним транспортного средства с противной стороны.

В примере осуществления предложенного в соответствие с изобретением предохранительного приспособления согласно фиг. 4 применено предохранительное устройство 20 от выжимания, которое опять же имеет шибер 21 в направляющей 22. Шибер 21 опять же с помощью места 23 запрограммированного разрушения соединено с направляющей. В отличие от примера осуществления согласно фиг. 1-3 в этом примере осуществления упор 24 здесь установлен на шибере 21 и в случае столкновения прижимается к торцевой области 25 рамы 26 не показанного дальше и здесь рельсового транспортного средства.

Принцип действия этого предохранительного устройства от выжимания соответствует в остальном точно тому, как он подробно описывался с помощью фиг. 1-3, так что во избежание повторений здесь не делается детального относящегося к этому описания.

Это действительно также для примера осуществления согласно фиг. 5, который только тем отличается от примера осуществления согласно фиг. 4, что на шибере 27 находится дополнительное ребро 28, с которым не показанным способом шибер 27 может дополнительно «сцепляться» с соответственно оформленной передней частью транспортного устройства с противоположной стороны.

Пример осуществления согласно фиг. 6-8 в значительной мере соответствует примеру осуществления согласно фиг. 1-3 с тем различием, что здесь предохранительное устройство 30 находится в вертикальном направлении ниже элемента 31 для поглощения энергии соответственно буфера 32; точно также здесь упор 33 установлен в другой, нижней области на раме 34 транспортного средства. На фиг. 6 предохранительное приспособление от выжимания изображено находящимся в нормальном состоянии.

Фиг. 7 и 8 показывают различные состояния в случае столкновения, причем состояния согласно фиг. 7 и 8 в смысловом отношении соответствуют состояниям согласно фиг. 2 и 3.

Изображенный на фиг. 9-12 в различных состояниях пример осуществления предложенного в соответствии с изобретением предохранительного приспособления от выжимания имеет предохранительное устройство 40 от выжимания, которому опять же опорой служит несущий элемент 41. Несущий элемент 41 с одной стороны установлен на обращенном от рамы 42 транспортного средства конце 43 элемента 44 для поглощения энергии.

Предохранительное устройство 40 от выжимания имеет здесь в качестве предохранительного элемента от выжимания элемент 45 шибера, который установлен в направляющей 46. Элемент 45 шибера – смотрите к тому же также увеличенное изображение предохранительного устройства 40 от выжимания согласно фиг. 10 – с помощью места 47 запрограммированного разрушения с продольным смещением соединен с деталью 48 шибера, которая со своей стороны с помощью другого места 49 запрограммированного разрушения закреплена в направляющей 46. Деталь 48 шибера со своим левым на фиг. 9-12 концом лежит непосредственно у или прилегает к упору 50, который закреплен на раме 42 транспортного средства. Деталь 48 шибера образована местами клиновидной, в соответствии с элементом 45 шибера. Буфер 51 подпружиненно закреплен в элементе 44 для поглощения энергии.

Если происходит столкновение с имеющим конструкцию согласно фиг. 9 транспортным средством с противной стороны с буфером 52, то в этом случае и здесь опять же сначала происходит сплющивание элемента 44 для поглощения энергии, причем укорачивается расстояние несущего элемента 41 до рамы 42 транспортного средства; вследствие этого упором 50 оказывается нажим на деталь 48 шибера при разъединении другого места 49 запрограммированного разрушения в направлении стрелки 53 и при этом увлекается элемент 45 шибера. Он при этом смещается в положение предохранения от выжимания над буфером 52 и своим выступом 55 захватывает сзади буфер 52 непоказанного в остальном транспортного средства с противной стороны (см. фиг. 10 и 12) и в этом положении стопорится своим упором 54 (на фиг. 12 стопорение осуществляется упором 50 – прим. перевод.).

В дальнейшем ходе предполагаемого столкновения (см. фиг. 12) – как показывает фиг. 11 – элемент 44 для поглощения энергии еще больше сплющивается. При этом деталь 48 шибера с помощью упора 50 при разъединении в месте 47 запрограммированного разрушения смещается дальше в направлении стрелки 53, пока деталь 48 шибера вместе с элементом 45 шибера не будет зажата в направляющей 46. Место 47 запрограммированного разрушения образовано более прочным, чем место 49 запрограммированного разрушения.

В дальнейшем ходе предполагаемого столкновения происходит пластическая деформация упора 50 или его поломка. Элемент 45 шибера со своим выступом 55 препятствует выжиманию транспортного средства с противной стороны и находится в направляющей с фиксацией от обратного смещения в последствие действия возможно возникающих горизонтальных обусловленных столкновением сил.

В показанном на фиг. 13-16 примере осуществления предложенного в соответствии с изобретением предохранительного приспособления от выжимания отличие от примера осуществления согласно фиг. 9-12 заключается в том, что элемент 60 шибера образован здесь клиновидным с увеличением своей толщины в направлении прочь от упора 61 и через место 62 запрограммированного разрушения прочно соединен с деталью 63 шибера. Эта деталь 63 шибера точно также образована клиновидной, но с уменьшением своей толщины в направлении прочь от упора 61 и через другое место 64 запрограммированного разрушения соединено с направляющей.

Если происходит столкновение, то сплющивается элемент 67 поглощения энергии и при этом упор 61 прижимается к детали 63 шибера. При этом разъединяется первое место 64 запрограммированного разрушения, так как оно менее прочное, чем другое место 62 запрограммированного разрушения. Элемент 60 шибера со своим выступом 69 смещается до упора 70 и смещается над буфером 68 дальше непоказанного транспортного средства с противной стороны (см. при этом, в частности, фиг. 14, которая показывает предохранительное приспособление 66 от выжимания в увеличенном виде).

Фиг. 15 позволяет видеть, что элемент 67 для поглощения энергии при столкновении сплющивается еще дальше. При этом при разъединении места 62 запрограммированного разрушения упором 61 деталь 63 шибера смещается дальше в направлении стрелки 71, пока она вместе с элементом 60 не будет зажата в направляющей 65. Элемент 67 для поглощения энергии в дальнейшем ходе предполагаемого столкновения, как показано на фиг. 16, сплющивается дальше. При этом упор 61 пластически деформируется или ломается. Элемент 60 шибера со своим выступом 69 препятствует выжиманию транспортного средства с противной стороны и зафиксирован в направляющей 65 от обратного перемещения в результате действия возможно возникающих горизонтальных обусловленных столкновением сил.

Фиг. 17-19 показывают другой пример осуществления предложенного в соответствии с изобретением предохранительного приспособления от выжимания в его различных положениях во время столкновения.

При этом фиг. 17 показывает начальное положение – то есть перед столкновением – предохранительного приспособления от выжимания, которое здесь содержит предохранительное устройство 80 от выжимания, которое опять же установлено на обращенной от рамы 81 транспортного устройства стороне 82 элемента 83 для поглощения энергии. Конкретно на этом конце элемента 83 для поглощения энергии установлен несущий элемент 84, который ниже элемента для поглощения энергии имеет шарнирно-отклоняющее устройство 85, с помощью которого с возможностью поворота установлена поворотная скоба 86. На несущем элементе 84 выше элемента 83 для поглощения энергии образован клин 87 для запирания, который с упругостью на изгиб соединен с этим несущим элементом 84. Напротив поворотной скобы 86 находится упор 88, который закреплен на раме 81 транспортного средства.

Как показывает фиг. 18, в случае столкновения имеет место сплющивание элемента 83 для поглощения энергии, в результате чего упор 66 движется к поворотной скобе 86 и поворачивает ее в шарнирно-отклоняющем устройстве 85 в положение предохранения от выжимания до упора 91 в клине 87 для запирания. При этом плечо рычага с клином 87 для запирания несущего элемента 84 упруго прижимается вверх и запирает поворотную скобу 86, как только на упоре 91 достигнуто положение предохранения от выжимания. В положении предохранения от выжимания поворотная скоба 86 со своим плечом 89 скобы позиционируется над буфером 90 дальше непоказанного транспортного средства с противной стороны.

Фиг. 19 показывает, что в дальнейшем ходе предполагаемого столкновения элемент 83 для поглощения энергии еще дальше сплющивается. При этом упор 88 пластически деформируется или ломается. Поворотная скоба 86 со своим плечом 89 скобы предотвращает выжимание транспортного средства с противной стороны и с помощью клина 87 для запирания зафиксирована в своем положении предохранения от выжимания против обратного смещения.

Показанное на фиг. 20 предохранительное приспособление от выжимания отличается от изображенного на фиг. 17-19 предохранительного приспособления от выжимания тем, что на поворотной скобе 100 предусмотрено дополнительная горизонтальная ребристость, с которой предотвращается вертикальное отклонение при столкновении с конструктивно идентичным транспортным средством или транспортным средством с соответственно оформленной передней частью транспортного средства.

1. Предохранительное приспособление от выжимания для рельсового транспортного средства с, по меньшей мере, буфером (10), опорой для которого служит соединенный с рамой (1) рельсового транспортного средства элемент (2) для поглощения энергии, отличающееся тем, что на элементе (2) для поглощения энергии на его обращенном от рамы (1) транспортного средства конце закреплен несущий элемент (4), который на своем выступающем в вертикальном направлении от буфера (10) конце поддерживает предохранительное устройство от выжимания, а горизонтально ориентированный упор (9) расположен таким образом, что от него предохранительный элемент (8) от выжимания предохранительного устройства (5) от выжимания в случае столкновения во взаимодействии с передней частью рельсового транспортного средства устанавливается в простирающееся наружу над буфером (10) положение предохранения от выжимания.

2. Приспособление по п. 1, отличающееся тем, что упор (9) закреплен в области передней части рельсового транспортного средства.

3. Приспособление по п. 1, отличающееся тем, упор (24) закреплен на предохранительном элементе (21) от выжимания.

4. Приспособление по любому из пп. 1-3, отличающееся тем, что упор (9) и предохранительное устройство (5) от выжимания расположены выше элемента (2) для поглощения энергии.

5. Приспособление по любому из пп. 1-3, отличающееся тем, что упор (33) и предохранительное устройство (30) от выжимания расположены ниже элемента (31) для поглощения энергии.

6. Приспособление по любому из пп. 1-3, отличающееся тем, что предохранительный элемент от выжимания выполнен в виде шибера (8), который закреплен в направляющей (6) предохранительного устройства (5) от выжимания с возможностью горизонтального перемещения и на своем обращенном к упору (9) конце выступает из направляющей (6).

7. Приспособление по п. 6, отличающееся тем, что шибер (8) зафиксирован от непроизвольного перемещения в рабочем начальном положении.

8. Приспособление по п. 6, отличающееся тем, что шибер (8) установлен в направляющей (6) с помощью соединения (7) с запрограммированным разрушением.

9. Приспособление по п. 6, отличающееся тем, что шибер (8) на своем обращенном от упора конце оснащен горизонтальным ребром (28).

10. Приспособление по любому из пп. 1-3, отличающееся тем, что предохранительный элемент от выжимания выполнен в виде элемента (45) шибера, который через место (47) запрограммированного разрушения с продольным смещением соединен с лежащей напротив упора (50) деталью (48) шибера и деталь (48) шибера через другое место запрограммированного разрушения соединена с направляющей (46), причем одно место (47) запрограммированного разрушения выполнено более прочным, чем другое место (49) запрограммированного разрушения.

11. Приспособление по п. 10, отличающееся тем, что элемент (45) шибера и деталь (48) шибера по их длине образованы с остающейся равной толщиной и местами образованы корреспондирующим образом клиновидно.

12. Приспособление по п. 10, отличающееся тем, что деталь (63) шибера образована расширяющейся клиновидно к упору (61) и элемент (60) шибера образован со встречным расширением.

13. Приспособление по п. 6, отличающееся тем, что шибер или элемент (45; 60) шибера на своем обращенном от упора конце оснащен выступом (55; 69).

14. Приспособление по п. 4, отличающееся тем, что предохранительное устройство (80) от выжимания содержит поворотную скобу (86), которая со своим плечом (89) скобы установлена с возможностью поворота на шарнирно-отклоняющем устройстве несущего элемента (84), лежащем ниже элемента (83) для поглощения энергии и на лежащем выше элемента (83) для поглощения конце несущего элемента (84) заделана таким образом, что ее другое плечо (86) скобы с помощью упора (88) на рельсовом транспортном средства в случае столкновения устанавливается в положение предохранения от выжимания.