Пружинный блок матраца с регулируемой жесткостью

Иллюстрации

Показать все

Изобретение относится к легкой промышленности, в частности к производству мебели, предназначено для удовлетворения жизненных потребностей человека и может быть использовано при изготовлении пружинных блоков матрацев. Техническим результатом является обеспечение возможности регулирования жесткости пружинного блока матраца. Пружинный блок матраца с регулируемой жесткостью содержит два блока цилиндрических пружин в чехлах с различной жесткостью. Верхний блок пружин расположен на основании, в котором соосно пружинам выполнены сквозные отверстия, диаметры которых меньше диаметров пружин. Под основанием верхнего блока пружин расположен нижний блок пружин, который расположен на площадке. Площадка выполнена с возможностью вертикального перемещения. Пружины нижнего блока расположены на площадке соосно отверстиям основания верхнего блока пружин. Диаметры пружин нижнего блока меньше диаметров отверстий. Длина пружин нижнего блока больше длины пружин верхнего блока как минимум на высоту отверстий основания верхнего блока пружин. Пружины нижнего блока выполнены с возможностью вертикального перемещения внутри отверстий основания и пружин верхнего блока, а нижний блок пружин состоит из двух независимых секций - левой и правой. 5 з.п. ф-лы, 4 ил.

Реферат

Изобретение относится к легкой промышленности, в частности к производству мебели, предназначено для удовлетворения жизненных потребностей человека и может быть использовано при изготовлении пружинных блоков матрацев [А47С 27/04].

Известен ГНЕЗДОВОЙ ПРУЖИННЫЙ МАТРАС, СПОСОБ И УСТРОЙСТВО ДЛЯ ЕГО ИЗГОТОВЛЕНИЯ [патент РФ на изобретение №2433774], содержащий множество соединенных друг с другом бок о бок рядов, каждый из которых содержит множество сплошных оболочек, и при этом каждая оболочка содержит цилиндрическую пружину. По меньшей мере, одна из оболочек в, по меньшей мере, одном ряду содержит множество растягиваемых отверстий (далее прорезей) внутрь оболочки, и, по меньшей мере, несколько из растягиваемых прорезей смещены относительно друг друга в продольном направлении пружины.

Недостатком аналога является фиксированная жесткость пружинного блока, которая определяется жесткостью используемых пружин, при этом для удовлетворения потребителей производитель изготавливает однотипные пружинные модули с пружинами разной жесткости.

Также из уровня техники известны конструкции пружинных блоков матрацев [патенты Китая №№KR 20140120104 KR 200462261], которые содержат две секции цилиндрических пружин с чехлами с различной жесткостью, которые расположены одна над другой.

Недостатком данных аналогов также является фиксированная жесткость пружинного блока матраца.

Также из уровня техники известен пружинный модуль матраца [патент США №US 2011191962], который содержит несколько секций пружин с чехлами, которые расположены с чередованием - секция пружин с меньшей жесткостью, секция пружин с большей жесткостью и так далее.

Данное решение обеспечивает наличие зон на спальном месте матраса с различной жесткостью, но недостатком данного аналога также является фиксированная жесткость указанных зон.

Наиболее близким по технической сущности является МАТРАС С РАЗЛИЧНОЙ ЖЕСТКОСТЬЮ И СПОСОБ ИЗГОТОВЛЕНИЯ ТАКОГО МАТРАСА [патент РФ на изобретение №2135061], содержащий два блока цилиндрических пружин в чехлах с различной жесткостью, при этом первый блок пружин с одной жесткостью расположен слева, а другой блок пружин расположен справа.

Применение в прототипе двух блоков пружин различной жесткости обеспечивает на спальных местах двух зон с разной заданной жесткостью, но при этом недостатком данной конструкции является фиксированная жесткость указанных зон.

Техническим результатом изобретения является обеспечение возможности регулирования жесткости пружинного блока матраца.

Указанный технический результат достигается за счет того, что пружинный блок матраца с регулируемой жесткостью, содержащий два блока цилиндрических пружин в чехлах с различной жесткостью, отличающийся тем, что верхний блок пружин расположен на основании, в котором соосно пружинам выполнены сквозные отверстия, диаметры которых меньше диаметров пружин, под основанием верхнего блока пружин расположен нижний блок пружин, который расположен на площадке, при этом площадка выполнена с возможностью вертикального перемещения, пружины нижнего блока расположены на площадке соосно отверстиям основания верхнего блока пружин, диаметры пружин нижнего блока меньше диаметров отверстий, при этом длина указанных пружин больше длины пружин верхнего блока как минимум на высоту отверстий основания верхнего блока пружин.

В частности, пружины нижнего блока выполнены с возможностью вертикального перемещения внутри отверстий основания и пружин верхнего блока.

В частности, в пружинах нижнего блока установлены дополнительные пружины другой жесткости меньшего диаметра и меньшей длины.

В частности, нижний блок пружин состоит из двух независимых секций - левой и правой.

В частности, нижний блок пружин состоит из трех независимых секций - для головы и плечевого пояса, для спины и поясничного отдела, а также для ног.

В частности, площадки пружин нижнего блока имеют независимые приводы.

В частности, привод площадки пружин нижнего блока выполнен в виде механического, или электрического, или пневматического, или гидравлического.

В частности, органы управления приводами расположены сбоку от пружинного блока матраца.

Краткое описание изобретения.

На фиг. 1 показан пружинный блок матраца с минимальной жесткостью.

На фиг. 2 показан пружинный блок матраца со средней жесткостью.

На фиг. 3 показан пружинный блок матраца с максимальной жесткостью.

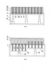
На фиг. 4 показан вариант исполнения пружинного блока матраца, у которого нижний блок пружин состоит из двух независимых секций.

На фигурах обозначено: 1 - корпус, 2 - основание верхнего блока пружин, 3 - отверстия, 4 - цилиндрические пружины верхнего блока, 5 - чехлы пружин верхнего блока, 6 - обшивочный материал, 7 - площадка нижнего блока пружин, 8 - пневматические приводы, 9 - цилиндрические пружины нижнего блока, 10 - чехлы пружин нижнего блока, 11 - площадка левой секции пружин нижнего блока, 12 - площадка правой секции пружин нижнего блока, 13 - пневматический привод левой секции пружин нижнего блока, 14 - пневматический привод правой секции пружин нижнего блока.

Осуществление изобретения

Пружинный блок матраца с регулируемой жесткостью содержит корпус 1, в верхней части которого расположено основание 2 верхнего блока пружин. В основании 2 выполнены отверстия 3, соосно которым на основании 2 установлены цилиндрические пружины 4 верхнего блока. На пружины 4 надеты чехлы 5, при этом при этом верхний пружинный блок покрыт обшивочным материалом 6. Внутри корпуса 1 расположена площадка 7 нижнего блока пружин, которая установлена на пневматических приводах 8. На площадке 7 соосно отверстиям 3 установлены пружины 9 нижнего блока в чехлах 10. Один из вариантов реализации изобретения содержит площадку 11 левой секции пружин нижнего блока, которая установлена на пневматическом приводе 13, и площадку 12 правой секции пружин нижнего блока, которая установлена на пневматическом приводе 14.

Группы пружин 4 и 9 имеют различную жесткость.

Пружинный блок матраца с регулируемой жесткостью используют следующим образом.

Для изменения жесткости пружинного блока матраца с органа управления (на чертежах не указан) пневматических приводов 8 задают вертикальное положение площадки 7, при этом приводы 8 вертикально перемещают площадку 7 на нужную высоту, которая в обобщенных случаях может быть расположена в нижнем положении (см. Фиг. 1), в среднем положении (см. Фиг. 2) и верхнем положении (см. Фиг. 3). Каждое из указанных положений характеризуется индивидуальной жесткостью пружинного блока, так для нижнего положения площадки жесткость пружинного блока определяется жесткостью пружин 4, для среднего положения площадки 7 жесткость пружинного блока при прогибе на половину длины пружин 4 определяется жесткостью указанных пружин, при дальнейшем прогибе жесткость пружинного модуля слагается из жесткости пружин 4 и пружин 9, в верхнем положении площадки 7 жесткость пружинного модуля определяется совокупной жесткостью пружин 4 и пружин 9.

В одном из вариантов реализации данного изобретения нижний блок пружин 9 выполняют в виде двух секций (см. Фиг. 4) - левой с площадкой 13 и пневматическим приводом 14, а также правой с площадкой 12 и пневматическим приводом 14, при этом указанная конструкция обеспечивает раздельное регулирование жесткости для спальных мест двухспальной кровати, что обеспечит комфортный отдых двух людей с разными предпочтениями относительно жесткости матраца.

Также данное изобретение позволяет выполнять нижний блок пружин в виде трех независимых секций для головы и плечевого пояса, для спины и поясничного отдела, а также для ног, при этом задание требуемой жесткости для каждой зоны спального места обеспечит комфортный отдых и здоровый сон потребителя.

Технический результат изобретения - обеспечение регулирования жесткости пружинного блока матраца достигается за счет того, что верхний блок пружин 4 расположен на основании 2, в котором соосно пружинам 4 выполнены сквозные отверстия 3, диаметры которых меньше диаметров пружин 4, под основанием 2 верхнего блока пружин 4 расположен нижний блок пружин 9, который расположен на площадке 7, при этом площадка выполнена с возможностью вертикального перемещения, пружины 9 нижнего блока расположены на площадке 7 соосно отверстиям 3 основания 2 верхнего блока пружин 4, диаметры пружин 9 нижнего блока меньше диаметров отверстий 3, при этом длина пружин 9 больше длины пружин 4 верхнего блока как минимум на высоту отверстий 3 основания 2 верхнего блока пружин 4.

1. Пружинный блок матраца с регулируемой жесткостью, содержащий два блока цилиндрических пружин в чехлах с различной жесткостью, отличающийся тем, что верхний блок пружин расположен на основании, в котором соосно пружинам выполнены сквозные отверстия, диаметры которых меньше диаметров пружин, под основанием верхнего блока пружин расположен нижний блок пружин, который расположен на площадке, при этом площадка выполнена с возможностью вертикального перемещения, пружины нижнего блока расположены на площадке соосно отверстиям основания верхнего блока пружин, диаметры пружин нижнего блока меньше диаметров отверстий, при этом длина указанных пружин больше длины пружин верхнего блока как минимум на высоту отверстий основания верхнего блока пружин, причем пружины нижнего блока выполнены с возможностью вертикального перемещения внутри отверстий основания и пружин верхнего блока, а нижний блок пружин состоит из двух независимых секций - левой и правой.

2. Пружинный блок по п. 1, отличающийся тем, что в пружинах нижнего блока установлены дополнительные пружины другой жесткости меньшего диаметра и меньшей длины.

3. Пружинный блок по п. 1, отличающийся тем, что нижний блок пружин состоит из трех независимых секций - для головы и плечевого пояса, для спины и поясничного отдела, а также для ног.

4. Пружинный блок по пп. 1, 3, отличающийся тем, что площадки пружин нижнего блока имеют независимые приводы.

5. Пружинный блок по п. 4, отличающийся тем, что привод площадки пружин нижнего блока выполнен в виде механического, или электрического, или пневматического, или гидравлического.

6. Пружинный блок по п. 5, отличающийся тем, что органы управления приводами расположены сбоку от пружинного блока матраца.