Однофазный сварочный аппарат
Иллюстрации
Показать всеИзобретение относится к сварочному оборудованию. Сварочный аппарат содержит основной трансформатор, первый и второй выпрямительные мосты, при этом он снабжен феррорезонансным стабилизатором напряжения. Основной трансформатор имеет однослойную первичную обмотку, расположенную на одном стержне магнитопровода, и расположенные на втором его стержне вторичную обмотку и поверх нее - дополнительную обмотку, которая выполнена однослойной с числом витков, равным числу витков первичной обмотки, и с намоткой, выполненной встречно и разнонаправлено по отношению к намотке первичной обмотки, а поверх первичной и дополнительной обмоток выполнены контактные дорожки для взаимодействия с коммутатором, установленным с возможностью плавного регулирования тока. Использование изобретения позволяет повысить стабильность зажигания и горения дуги, расширить диапазон регулирования тока сварки. 3 ил.
Реферат
Изобретение относится к электротехнике, в частности к переносным источникам тока сварочной дуги, и может быть использовано во всех отраслях народного хозяйства при ремонте, санитарно-технических монтажных работах на строительстве и в быту для ручной дуговой сварки.
Известно выпрямительное устройство для ручной дуговой сварки, по А.С. 126967, имеющее жесткую внешнюю характеристику и стабилизирующий дроссель в сварочной цепи, в котором применен вспомогательный маломощный выпрямитель, сфазированный с основным выпрямителем и подключенный параллельно последнему. Вспомогательный выпрямитель имеет падающую внешнюю характеристику, а напряжение холостого хода составляет 60-70 В, ток короткого замыкания равен 25 А.
Недостатками данного устройства является наличие металлоемкого трехфазного трансформатора, и металлоемкого стабилизирующего дросселя, а также низкое напряжение 70 В зажигания дуги.
В качестве прототипа выбрано изобретение однофазный сварочный аппарат по патенту RU 2095212, содержащий трансформатор с первичной обмоткой, первой вторичной обмоткой, связанной через выпрямительный мост с массой и электродом, второй вторичной обмоткой, связанной через конденсатор со вторым выпрямительным мостом, выход которого соединен параллельно с выходом первого выпрямительного моста, согласно изобретению снабжен третьей вторичной обмоткой, соединенной с введенным третьим выпрямительным мостом, выход которого соединен параллельно с выходами первого и второго выпрямительных мостов, причем индуктивность рассеяния третьей вторичной обмотки превышает индуктивность рассеяния второй вторичной обмотки, а первый выпрямительный мост выполнен тиристорным.
К недостаткам прототипа относятся снижение коэффициента формы сетевого напряжения из-за включения тиристоров не в нулевую фазу сети (режим отсечки) и, как следствие, увеличение уровня электрических и акустических помех, при этом требуется блок для дискретного управления тиристорами, наличие конденсатора большой емкости (1000 мкФ), низкое напряжение поджига дуги - 75 вольт (оно ограничено рабочим напряжением примененного конденсатора), нестабильная работа сварочного аппарата при пониженной сети и зависимость величины сдвига фазы на конденсаторе от величины тока дуги и, как следствие, отсутствие сдвига фазы в режиме холостого хода и сложность конструкции.
Задачей технического решения является улучшение условия поджига дуги и повышение стабильности горения дуги при пониженной сети, расширение диапазона регулирования тока сварки при плавном (аналоговом) изменении амплитуды без ее искажения, уменьшение, электрических и акустических помех, затратных средств и упрощение конструкции.
Поставленная задача решается благодаря тому, что в однофазном сварочном аппарате, содержащем основной трансформатор, подключенный одним из концов первичной обмотки к первому сетевому контакту, а вторичной обмоткой - к входу первого выпрямительного моста, и второй выпрямительный мост, причем выходы выпрямительных мостов соединены друг с другом и с выходными клеммами для подключения сварочной нагрузки, предусмотрены следующие отличия. Введен феррорезонансный стабилизатор напряжения, выходная обмотка трансформатора которого соединена с входом второго выпрямительного моста, один из концов входной обмотки трансформатора феррорезонансного стабилизатора через конденсатор, а другой конец напрямую соединены с сетевыми контактами, при этом основной трансформатор имеет однослойную первичную обмотку, расположенную на одном стержне магнитопровода, и расположенные на втором его стержне вторичную обмотку и поверх нее - дополнительную обмотку, которая выполнена однослойной с числом витков, равным числу витков первичной обмотки, и с намоткой, выполненной встречно и разнонаправлено по отношению к намотке первичной обмотки, причем один из концов дополнительной обмотки подключен ко второму сетевому контакту, а поверх первичной и дополнительной обмоток введены контактные дорожки для взаимодействия с коммутатором, установленным с возможностью плавного регулирования тока за счет синхронного изменения числа задействованных витков первичной и дополнительной обмоток, при этом мощность трансформатора феррорезонансного стабилизатора составляет одну десятую от мощности основного трансформатора, а величина емкости конденсатора феррорезонансного стабилизатора составляет 14 мкФ на каждые сто ватт мощности его трансформатора.
Техническое решение позволяет улучшить условия поджига дуги, повысить стабильность горения дуги при пониженной сети, расширить диапазон регулирования тока сварки при плавном (аналоговом) изменении амплитуды без ее искажения, уменьшить, электрические и акустические помехи, затратные средства и упростить конструкцию.
Техническая сущность предложенного технического решения поясняются чертежами, на которых:
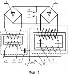
Фиг. 1 - принципиальная схема предлагаемого сварочного аппарата;
Фиг. 2 - Эпюры напряжений;
Фиг. 3 - Эпюры токов.
Предлагаемый однофазный сварочный аппарат содержит основной трансформатор 1, первый выпрямительный мост 2 и второй выпрямительный мост 3, при этом основной трансформатор 1 имеет однослойную первичную обмотку, расположенную на одном стержне магнитопровода, и расположенные на втором его стержне вторичную обмотку и поверх нее - дополнительную обмотку, которая выполнена однослойной с числом витков, равным числу витков первичной обмотки, и с намоткой, выполненной встречно и разнонаправлено по отношению к намотке первичной обмотки, а также введен феррорезонансный стабилизатор напряжения 4, выходная обмотка основного трансформатора 1 соединена с входами первого выпрямительного моста 2, выходная обмотка трансформатора 5 феррорезонансного стабилизатора 4 соединена с входами второго выпрямительного моста 3, минусовые выходы мостов 2 и 3 соединены с первой выходной клеммой 6, положительные выходы выпрямительных мостов 2 и 3 соединены со второй выходной клеммой 7, а к выходным клеммам 6 и 7 подсоединяется нагрузка в виде держателя электрода и изделия (на схеме условно не показаны), первый вход входной обмотки трансформатора 5 стабилизатора соединен с первым входом конденсатора 8, входящим в состав феррорезонансного стабилизатора, второй вход конденсатора 8 соединен с первым входом первичной обмотки основного трансформатора 1 и первым сетевым входом 9, второй вход трансформатора 5 стабилизатора соединен со вторым входом первичной обмотки основного трансформатора 1 и вторым сетевым входом 10. Мощность трансформатора 5 феррорезонансного стабилизатора составляет одну десятую от мощности основного трансформатора 1. Величина емкости конденсатора 8, феррорезонансного стабилизатора 4 определяется мощностью трансформатора 5 стабилизатора и составляет 14 мкФ на каждые сто ватт.
Предлагаемый сварочный аппарат работает следующим образом. При подаче переменного напряжения на входы 9, 10, в режиме холостого хода (в предположении, что выходы выпрямительных мостов 2 и 3 разобщены), на выходе первого выпрямительного моста 2 присутствует выпрямленное пульсирующее напряжение амплитудой 47 вольт, см. фиг. 2, эпюра 11, а на выходе второго выпрямительного моста 3 - пульсирующее выпрямленное напряжение амплитудой 90 вольт, сдвинутое по фазе на +90°, см. эпюру 12. На эпюре 13 представлена форма напряжения на выходных клеммах 6 и 7 согласно схеме на фиг. 1. На эпюре 13 отсутствуют нулевые участки напряжений, из-за постоянной составляющей, равной примерно 40 вольт. Во время работы предлагаемого сварочного аппарата на нагрузку, в режиме горения дуги, в выходной цепи первого выпрямительного моста 2 течет основной, выпрямленный пульсирующий ток, см. фиг. 3, эпюра 14, в выходной цепи второго выпрямительного моста 3 течет выпрямленный, дежурный, пульсирующий ток, сдвинутый по фазе на +90° относительно основного тока, соответствующий эпюре 15, с уплощенной верхушкой, за счет действия стабилизирующего эффекта феррорезонансного стабилизатора 4. Эпюра 16 отображает ток в цепи нагрузки, на которой отсутствуют провалы тока до нуля. Фазы отставания напряжений и токов, на втором выпрямительном мосту 3, всегда одинаковы и равны +90°. Плавная регулировка величины сварочного тока осуществляется с помощью передвижения коммутатора 17, см. фиг. 1. Левое положение коммутатора, согласно схеме, соответствует минимальному сварочному току, правое положение (пунктирное изображение) коммутатора соответствует максимальному сварочному току.
Ток дежурной дуги все время остается постоянным и не регулируется. Надежная работа предлагаемого устройства осуществляется от 160 до 260 вольт подводимого напряжения. Длина дуги на разрыв составляет 50 мм. В качестве трансформатора 5 в феррорезонансном стабилизаторе 4 применяется трансформатор с жесткими внешними характеристиками, это обосновано тем, что феррорезонансный стабилизатор не боится коротких замыканий. Действительно, при замыкании выходной обмотки трансформатора 4 индуктивное сопротивление входной обмотки становится равным нулю и конденсатор 8 через активное сопротивление входной обмотки шунтирует сетевые входы 9 и 10, при этом ток в цепи конденсатора 8 уменьшается в два-три раза.
Технико-экономическое обоснование: улучшение условия поджига дуги и повышение стабильности горения дуги при пониженной сети, расширение диапазона регулирования тока сварки при плавном (аналоговом) изменении амплитуды без ее искажения, уменьшение, электрических и акустических помех, затратных средств и упрощение конструкции.
Натурный образец предлагаемого сварочного аппарата имел следующие параметры: мощность основного сварочного трансформатора 1 составляла 3 кВт, напряжение холостого хода 47 В, ток сварочной основной дуги 100 А, мощность трансформатора 4 стабилизатора 300 Вт, ток на входе 1,5 А, напряжение холостого хода 90 В, емкость конденсатора 8 равна 40 мкФ, ток дежурной дуги 10 А. Напряжение на выходных клеммах 6 и 7 в режиме горения дуги 27 В, при диаметре сварочного электрода 3,2 мм. Из приведенных характеристик видно, что емкость конденсатора 8, в предлагаемом устройстве, в 25 раз меньше, чем в аналоге. Экспериментально установлено, что чем тоньше электрод, тем лучше поджигается дуга и тем стабильней она (дуга) горит. Это очень ценное свойство для сварочных аппаратов, оно основано на том, что сдвиг фаз, напряжений и токов на выходе феррорезонансного стабилизатора напряжений 4 в предлагаемом устройстве всегда одинаков и постоянен и не зависит от основного сварочного тока.
Однофазный сварочный аппарат, содержащий основной трансформатор, подключенный одним из концов первичной обмотки к первому сетевому контакту, а вторичной обмоткой - к входу первого выпрямительного моста, и второй выпрямительный мост, причем выходы выпрямительных мостов соединены друг с другом и с выходными клеммами для подключения сварочной нагрузки, отличающийся тем, что он снабжен феррорезонансным стабилизатором напряжения, выходная обмотка трансформатора которого соединена с входом второго выпрямительного моста, один из концов входной обмотки трансформатора феррорезонансного стабилизатора через конденсатор, а другой конец напрямую соединены с сетевыми контактами, при этом основной трансформатор имеет однослойную первичную обмотку, расположенную на одном стержне магнитопровода, и расположенные на втором его стержне вторичную обмотку и поверх нее - дополнительную обмотку, которая выполнена однослойной с числом витков, равным числу витков первичной обмотки, и с намоткой, выполненной встречно и разнонаправлено по отношению к намотке первичной обмотки, причем один из концов дополнительной обмотки подключен ко второму сетевому контакту, а поверх первичной и дополнительной обмоток выполнены контактные дорожки для взаимодействия с коммутатором, установленным с возможностью плавного регулирования тока за счет синхронного изменения числа задействованных витков первичной и дополнительной обмоток, при этом мощность трансформатора феррорезонансного стабилизатора составляет одну десятую от мощности основного трансформатора, а величина емкости конденсатора феррорезонансного стабилизатора составляет 14 мкФ на каждые сто ватт мощности его трансформатора.



