Аппаратура контроллера, система и/или способ для регулирования давления в системе управления текучей средой
Иллюстрации
Показать всеСистема управления текучей средой содержит корпус с входным каналом, находящимся в гидравлическом сообщении с выходным каналом. Положение дроссельного поршня в корпусе управляет потоком текучей среды от входного канала к выходному каналу. Контроллер, присоединенный к корпусу, имеет исполнительный привод, соединенный с рычажным механизмом, который соединен с дроссельным поршнем. Используя исполнительный привод и рычажный механизм, контроллер позиционирует дроссельный поршень в корпусе, чтобы управлять потоком текучей среды от входного канала к выходному каналу. Технический результат заключается в повышении эффективности управления текучей средой. 3 н. и 17 з.п. ф-лы, 6 ил.
Реферат
Эта заявка заявляет приоритет по предварительной заявке на патент США № 61/900523, поданной 6 ноября 2013 года, описание которой включено в данный документ посредством ссылки.
УРОВЕНЬ ТЕХНИКИ
Настоящее изобретение в общем относится к регулированию рабочих давлений внутри подземных стволов скважины и в частности к устройству контроллера, системе и/или способу для регулирования рабочих давлений, применяющим контроллер на основе дроссельного поршня с механическим рычажным механизмом в системе управления текучей средой.
Многие применения включают регулирование обратного давления текучей среды, проходящей в системе. Например, при бурении нефтяных скважин бурильная труба, как правило, подвешена в стволе скважины с долотом на своей нижней части. При вращении долота буровая текучая среда, такая как буровой раствор, циркулирует в направлении вниз через внутреннее пространство бурильной колонны и через долото. Буровая текучая среда циркулирует из затрубного пространства ствола скважины на поверхность. Циркуляция этой текучей среды поддерживается с целью удаления бурового шлама из ствола скважины для охлаждения долота и для поддержания гидростатического давления в стволе скважины для контроля пластовых газов и предотвращения нерегулированных выбросов, и подобного. В тех случаях, когда веса бурового раствора не достаточно для поддержания забойного давления в скважине, для компенсации недостатка гидростатического напора с целью поддержания скважины под контролем к буровому раствору на поверхности прикладывают дополнительное обратное давление. Таким образом, в некоторых случаях, в линию обратного потока для буровой текучей среды устанавливают устройство регулирования обратного давления. Устройства регулирования обратного давления также применяются для контроля резких повышений давления в системе, вызванных проникновением соленой воды или пластовых газов в буровую текучую среду, что может вести к состоянию нерегулируемого выброса.
Например, в публикации патента США 2008/0149182 A1 на имя правополучателя настоящей заявки, которая полностью включена в данный документ посредством ссылки, описан линейный двигатель, который приводит в движение гидравлическую систему для регулирования дросселя, чтобы создавать усилие выравнивания давления. Также описана типичная скважина для нефтяного и/или газового бурения. Чтобы регулировать рабочие давления внутри скважины в пределах допустимых диапазонов, применяется дроссель для перепускания текучих материалов под давлением из затрубного пространства в резервуар для бурового раствора регулируемым образом, чтобы тем самым создавать обратное давление внутри ствола скважины. В некоторых скважинных системах, чтобы в пределах допустимых диапазонов поддерживать определенные рабочие давления внутри скважины, дросселем вручную управляет оператор. Оператор вручную поддерживает рабочие давления в заданных допустимых пределах за счет ручной регулировки дросселя.
Кроме того, поддержание оптимального обратного давления буровой текучей среды осложняется изменениями определенных характеристик буровой текучей среды при прохождении буровой текучей среды через устройство регулирования обратного давления. Например, за счет внедрения обломков пород или пластовых газов изменяется плотность текучей среды, и/или изменяется температура и объем текучей среды, входящей в устройство регулирования. Поэтому требуемое обратное давление не будет достигнуто, пока не будут произведены соответствующие изменения в дросселировании буровой текучей среды в ответ на эти измененные условия.
ОПИСАНИЕ ГРАФИЧЕСКИХ МАТЕРИАЛОВ
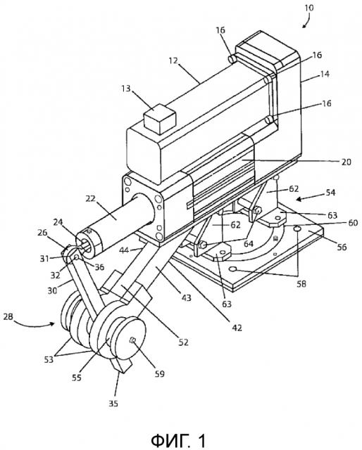
На Фиг. 1 изображен вид в перспективе контроллера дроссельной системы в соответствии с вариантами реализации изобретения, описанными в данном документе.
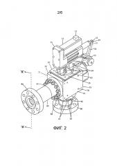
На Фиг. 2 изображен вид в перспективе контроллера дроссельной системы в соответствии с вариантами реализации изобретения, описанными в данном документе, установленного на систему управления текучей средой.
На Фиг. 3 изображен вид сбоку контроллера дроссельной системы в первом положении в соответствии с вариантами реализации изобретения, описанными в данном документе, установленного на систему управления текучей средой.
На Фиг. 4 изображен вид сбоку контроллера дроссельной системы во втором положении в соответствии с вариантами реализации изобретения, описанными в данном документе, установленного на систему управления текучей средой.
На Фиг. 5 изображен поперечный разрез системы управления текучей средой, выполненный по линии V-V, проиллюстрированной на Фиг. 2.
На Фиг. 6 изображен поперечный разрез обведенной кругом части “A” системы управления текучей средой, проиллюстрированной на Фиг. 5.
ПОДРОБНОЕ ОПИСАНИЕ СУЩНОСТИ ИЗОБРЕТЕНИЯ
В одном аспекте варианты реализации изобретения, описанные в данном документе, относятся к применению контроллера системы, устройства и способа для регулирования рабочих давлений внутри системы управления текучей средой. Этот контроллер может применять исполнительный привод для управления механическим рычажным механизмом для регулирования положения дроссельного поршня внутри системы управления текучей средой.
Обратимся к Фиг. 1, на которой изображен контроллер 10 в соответствии с вариантами реализации изобретения, описанными в данном документе. Контроллер 10 может применяться для приведения в действие и/или регулирования системы 40 управления текучей средой, как это проиллюстрировано на Фиг. 2-6. Контроллер 10 может иметь сервомотор 12, который может приводиться в действие с помощью электричества. Таким образом, сервомотор 12 может иметь соединитель 13 для подключения проводки для электропитания и/или регулирования сервомотора 12.
Сервомотор 12 может быть соединен с коробкой передач 14 с помощью крепежных элементов 16, таких как, например, болты, винты и/или подобные элементы. Коробка передач 14 также может быть соединена с исполнительным приводом 20. В одном варианте реализации изобретения исполнительный привод 20 может представлять собой, например, электрический винтовой привод. Привод 20 может иметь нажимную трубу 22, которая может приводиться в движение за счет шариковой винтовой пары (не показана), расположенной внутри исполнительного привода 20. В одном варианте реализации изобретения принцип работы и/или конструкция шариковой винтовой пары может предотвращать обратный ход нажимной трубы 22 исполнительного привода 20.
Исполнительный привод 20 может иметь наконечник 24, выходящий из нажимной трубы 22. В одном варианте реализации изобретения наконечник 24 может иметь проушину, наконечник с наружной резьбой, наконечник с серьгой, регулируемый соединительный элемент и/или тому подобное. Как проиллюстрировано на Фиг. 1-4, наконечник 24 может иметь сферическую проушину 26, которая может допускать незначительное смещение между нагрузкой и исполнительным приводом 20. Такое смещение может быть радиальным и/или угловым. В сферической проушине 26 может быть использован подшипник (не показан).
Как проиллюстрировано на Фиг. 1-4, рычажный механизм 28 может соединять исполнительный привод 20 с системой 40 управления текучей средой. Рычажный механизм 28 может соединять сферическую проушину 26 на наконечнике 24 исполнительного привода 20 с приводным рычагом 30. Приводной рычаг 30 может иметь первый конец 31 с вырезанной частью 32 на первом конце 31. Вырезанная часть 32 приводного рычага 30 может образовывать ушки 33 на первом конце 31 приводного рычага 30 по обе стороны вырезанной части 32. Отверстие 34 может проходить через ушки 33. Вырезанная часть 32 может быть выполнена такого размера, что будет вмещать и/или принимать в себя сферическую проушину 26 на наконечнике 24 исполнительного привода 20.
Приводной рычаг 30 может быть соединен со сферической проушиной 26 на наконечнике 24 исполнительного привода 20 посредством первого соединительного элемента 36, такого как штифт, шпилька, болт, винт и/или тому подобного. Первый соединительный элемент 36 может проходить через отверстие 34 в каждом из ушек 33, которые могут быть расположены на первом конце 31 приводного рычага 30. Первый соединительный элемент 36 может удерживать первый конец 31 приводного рычага 30 соединенным со сферической проушиной 26 на наконечнике 24 исполнительного привода 20.
Приводной рычаг 30 может иметь второй конец 35, который может быть соединен посредством второго соединительного элемента 37 с соединительным штоком 41 системы 40 управления текучей средой. Второй соединительный элемент 37 может представлять собой штифт, шпильку, болт, винт и/или тому подобное. Второй соединительный элемент 37 может проходить через отверстие 39 во втором конце 35 приводного рычага 30. Второй соединительный элемент 37 может проходить через отверстие 45 в соединительном штоке 41. Второй соединительный элемент 37 может удерживать второй конец 35 приводного рычага 30 соединенным с соединительным штоком 41 системы 40 управления текучей средой.
Рычажный механизм 28 может иметь поворотный рычаг 42, который может иметь первую сторону 43 и вторую сторону 44. Вторая сторона 44 может быть расположена напротив первой стороны 43. Первая сторона 43 и вторая сторона 44 могут определять ширину поворотного рычага 42. Поворотный рычаг 42 может быть соединен с плитой 46, которая может быть соединена с приводом 20 и/или коробкой передач 14.
Поворотный рычаг 42 может иметь первую часть 48 и вторую часть 50. Первая часть 48 поворотного рычага 42 может быть соединена с плитой 46. Вторая часть 50 может быть расположена под углом относительно первой части 48. Вторая часть 50 может иметь конец 52. Серьги 53 могут быть соединены с концом 52 второй части 50 поворотного рычага 42. Серьги 53 могут быть соединены с первой стороной 43 и второй стороной 44 поворотного рычага 42. Оси 55 могут проходить через серьги 53. Оси 55 могут соединяться с приводным рычагом 30 в точке вращения 57, которая может быть расположена на приводном рычаге 30. Точка вращения 57 может совпадать с осью точки установки осей 55 на приводной рычаг 30, как проиллюстрировано на Фиг. 4. Оси 55 могут иметь подшипники (не показаны) для облегчения поворота осей 55 в серьгах 53. Оси 55 могут иметь масленку 59 для введения смазки и/или других смазочных материалов для смазывания и/или облегчения поворота осей 55 в серьгах 53.
Контроллер 10 может иметь установочную платформу 54 с поворотной плитой 61. Поворотная плита 61 может иметь установочную плиту 56 и поворотную часть 60. Установочная плита 56 может иметь установочные отверстия 58. Поворотная часть 60 может быть круглой. Поворотная часть 60 может поворачиваться относительно установочной плиты 56, чтобы обеспечивать возможность поворота контроллера 10 относительно системы 40 управления текучей средой.
Установочная платформа 54 может иметь установочные проушины 62, которые могут быть соединены с фланцем 63. Установочные проушины 62 могут быть перпендикулярными фланцу 63. Фланец 63 может соединяться с поворотной частью 60. Установочные проушины 62 могут быть разнесены на расстояние, по существу равное ширине поворотного рычага 42. Установочные проушины 62 могут быть соединены с первой частью 48 поворотного рычага 42. Установочные проушины 62 могут быть соединены с первой стороной 43 и/или второй стороной 44 первой части 48 поворотного рычага 42. Установочные проушины 62 могут быть соединены с поворотным рычагом 42, например, с помощью болтов 64.
Как проиллюстрировано на Фиг. 2-4, контроллер 10 может быть установлен на систему 40 управления текучей средой. В одном варианте реализации изобретения система 40 управления текучей средой может иметь корпус 70, который в целом может иметь кубическую форму. Корпус 70 может иметь верхнюю поверхность 72, первую боковую поверхность 74 и/или вторую боковую поверхность 76. Верхняя поверхность 72, первая боковая поверхность 74 и/или вторая боковая поверхность 76 могут иметь установочные отверстия 78, которые могут совпадать с установочными отверстиями 58 в плите 56 основания установочной платформы 54 контроллера 10.
Таким образом, контроллер 10 может быть установлен на одну из верхней поверхности 72, первой боковой поверхности 74 и/или второй боковой поверхности 76. Контроллер 10 может быть установлен по желанию в зависимости от установки. Несмотря на то, что на Фиг. 2-4 проиллюстрирован контроллер 10, установленный на верхнюю поверхность 72 системы 40 управления текучей средой; тем не менее система 40 управления текучей средой может быть установлена и/или прикреплена в конкретной ориентации, в которой контроллер 10 может быть установлен на первой боковой поверхности 74 и/или второй боковой поверхности 76. Таким образом, при таком расположении доступ для оператора и/или доступ для технического обслуживания к контроллеру 10 и/или системе 40 управления текучей средой может быть улучшен.
В одном варианте реализации изобретения система 40 управления текучей средой может иметь стравливающий клапан 79, который может быть расположен на верхней поверхности 72 корпуса 70 системы 40 управления текучей средой. Как проиллюстрировано, установочные проушины 62 могут поднимать контроллер 10 на определенное расстояние над системой 40 управления текучей средой. Таким образом, установочные проушины 62 могут обеспечивать просвет для обеспечения доступа к стравливающему клапану 79, когда контроллер 10 может быть прикреплен к верхней поверхности 72 корпуса 70 системы 40 управления текучей средой.
Обратимся к Фиг. 3-6, на которых проиллюстрирована система 40 управления текучей средой в соответствии с вариантами реализации изобретения. Корпус 70 системы 40 управления текучей средой может иметь первый конец 71 и второй конец 73. Второй конец 73 может быть расположен в положении напротив первого конца 71. Корпус 70 также может иметь нижнюю поверхность 75, которая может быть расположена напротив верхней поверхности 72 корпуса 70. Таким образом, нижняя поверхность 75 может быть перпендикулярной первому концу 71 и/или второму концу 73 корпуса 70.
Выходная переходная катушка 80 может быть прикреплена к первому концу 71 корпуса 70 с помощью болтов 81 и гаек 83. Выходная переходная катушка 80 в целом может иметь цилиндрическую форму. Болты 81 и гайки 83 могут располагаться так, чтобы крепить цилиндрическую выходную переходную катушку 80 к первому концу 71 корпуса 70. Выходная переходная катушка 80 может иметь выходной конец 82. Система 40 управления текучей средой может иметь осевое отверстие 85, которое может проходить от выходного конца 82 через всю длину выходной переходной катушки 80.
Износоустойчивые втулки 87 могут быть расположены в осевом отверстии 85 выходной переходной катушки 80. Износоустойчивые втулки 87 могут представлять собой цилиндрические гильзы. В одном варианте реализации изобретения износоустойчивые втулки 87 могут быть твердосплавными и могут быть расположены в осевом отверстии 85, которое может располагаться ниже по потоку от пересечения осевого отверстия 85 с входным каналом 92. Износоустойчивые втулки 87 могут удерживаться в осевом отверстии 85 выходной переходной катушки 80 с помощью уплотняющего кольца 88. Износоустойчивые втулки 87 могут образовывать выходной канал 89 в осевом отверстии 85 корпуса 70, проходящий от пересечения осевого отверстия 85 и входного канала 92 до выходного конца 82 осевого отверстия 85.
Дроссельное седло 99 может быть расположено в корпусе 70 и может быть расположено внутри осевого отверстия 85, которое может быть расположено выше по потоку от износоустойчивых втулок 87. В одном варианте реализации изобретения дроссельное седло 99 может быть твердосплавным. Уплотнительные кольца 91 могут проходить в пазах 94, выполненных в наружной поверхности дроссельного седла 99. Уплотнительные кольца 91 могут соприкасаться с соответствующей частью внутренней поверхности корпуса 70. Дроссельное седло 99 может удерживаться в корпусе 70 с помощью уплотнительных колец 91.
Входная переходная катушка 90 может быть прикреплена к нижней поверхности 75 корпуса 70 с помощью болтов 81 и гаек 83. Входная переходная катушка 90 в целом может иметь цилиндрическую форму. Болты 81 и гайки 83 могут располагаться так, чтобы крепить цилиндрическую входную переходную катушку 90 к нижней поверхности 75 корпуса 70. Входная переходная катушка 90 может иметь входной канал 92, который может проходить в корпус 70 через входной конец 93 входной переходной катушки 90. Входной канал 92 может пересекаться с осевым отверстием 85.
Соединительные фланцы 86 могут быть расположены на выходном конце 82 осевого отверстия 85 и на входном конце 93 входной переходной катушки 90. Соединительные фланцы 86 выходного конца 82 и входного конца 93 входной переходной катушки 90 могут быть соответственно соединены с соответствующими линиями потока. Буровая и/или пластовая текучая среда из скважины может входить во входную переходную катушку 90, может проходить через корпус 70 и может, как правило, выходить из выходного конца 82 осевого отверстия 85 для рециркуляции.
Ко второму концу 73 корпуса 70 в положении, противоположном выходному концу 82 осевого отверстия 85, может быть прикреплена крышка 110. Крышка 110 может иметь цилиндрическую часть 112, которая может проходить в осевое отверстие 85 корпуса 70. Крышка 110 может быть закреплена с помощью гайки 114 и/или стопорного кольца 116. Гайка 114 может иметь внутреннюю резьбу 118 для вхождения в зацепление с наружной резьбой 120, выполненной на корпусе 70 на втором конце 73 корпуса 70.
Крышка 110 может иметь осевое отверстие 122. Соединительный шток 41 может быть установлен в осевом отверстии 122, которое может проходить через крышку 110. Соединительный шток 41 может скользить в осевом отверстии 122 крышки 110. В одном варианте реализации изобретения соединительный шток 41 может иметь длинный стержень 130 и/или короткий стержень 132. Уплотнительное кольцо 135 может проходить в пазе 136, который может быть выполнен во внутренней поверхности крышки 110, которая может образовывать осевое отверстие 122. Уплотнительное кольцо 135 может соприкасаться с наружной поверхностью длинного стержня 130 соединительного штока 41, во время того, как соединительный шток 41 может скользить в осевом отверстии 122 крышки 110.
Длинный стержень 130 соединительного штока 41 может иметь часть 138 первого конца и часть 139 второго конца. Часть 139 второго конца может быть расположена в положении, противоположном части 138 первого конца. Часть 139 второго конца может иметь часть 140 уменьшенного диаметра. Часть 139 второго конца также может иметь центральное отверстие 141. Часть 139 второго конца соединительного штока 41 может проходить внутрь осевого отверстия 85. Часть 138 первого конца длинного стержня 130 соединительного штока 41 может выступать наружу из крышки 110.
Как проиллюстрировано на Фиг. 5, часть 138 первого конца длинного стержня 130 соединительного штока 41 может выступать наружу из крышки 110 таким образом, что может быть доступно отверстие 45 для соединения с рычажным механизмом 28. Таким образом, отверстие 45 может быть расположено так, что второй соединительный элемент 37 может проходить через отверстие 39 во втором конце 35 приводного рычага 30 и также может проходить через отверстие 45 в соединительном штоке 41. Таким образом, второй соединительный элемент 37 может закрепляться, чтобы удерживать второй конец 35 приводного рычага 30 соединенным с соединительным штоком 41 системы 40 управления текучей средой.
В одном варианте реализации изобретения длинный стержень 130 соединительного штока 41 может быть соединен с коротким стержнем 132. Короткий стержень 132 может иметь наружную резьбу 134. Длинный стержень 130 может иметь соответствующую внутреннюю резьбу 136, которая может быть выполнена в центральном отверстии 141, которое может быть расположено в части 139 второго конца длинного стержня 130. Наружная резьба 134 короткого стержня 132 может ввинчиваться во внутреннюю резьбу 136 длинного стержня 130 с образованием резьбового соединения между коротким стержнем 132 и длинным стержнем 130.
Дроссельный поршень 100 может быть установлен на соединительный шток 41. В одном варианте реализации изобретения дроссельный поршень 100 может быть твердосплавным. Дроссельный поршень 100 в целом может иметь цилиндрическую форму. Дроссельный поршень 100 может иметь первый конец 101 и второй конец 102. Второй конец 102 может быть расположен в положении напротив первого конца 101. Первый конец 101 и/или второй конец 102 может иметь часть 103 уменьшенного диаметра. Дроссельный поршень 100 может иметь центральные отверстия 105, которые могут быть расположены в первом конце 101 и во втором конце 102 дроссельного поршня 100.
Как проиллюстрировано на Фиг. 5 и 6, центральное отверстие 105, которое может быть расположено в первом конце 101 дроссельного поршня 100, может иметь такой размер и/или расположение, чтобы принимать в себя часть 140 уменьшенного диаметра длинного стержня 130 соединительного штока 41. Первый конец 101 дроссельного поршня 100 может упираться в часть 139 второго конца длинного стержня 130 соединительного штока 41. Короткий стержень 132 соединительного штока 41 может размещаться в центральном отверстии 105 во втором конце 102 дроссельного поршня 100. Наружная резьба 134 короткого стержня 132 может ввинчиваться во внутреннюю резьбу 136 длинного стержня 130 с образованием резьбового соединения между коротким стержнем 132 и длинным стержнем 130. Таким образом, дроссельный поршень 100 может быть соединен с соединительным штоком 41.
Дроссельный поршень 100 может быть расположен в осевом отверстии 85, при этом первый конец 101 упирается в длинный стержень 130 соединительного штока 41. При работе дроссельный поршень 100 может проходить в пересечение осевого отверстия 85 с входным каналом 92 для управления текучей средой из входного канала 92 в осевое отверстие 85.
В одном варианте реализации изобретения часть 103 уменьшенного диаметра на первом конце 101 дроссельного поршня 100 может соприкасаться и/или сопрягаться с дроссельным седлом 99 для управления текучей средой из входного канала 92 в осевое отверстие 85. Таким образом, дроссельный поршень 100 в сочетании с дроссельным седлом 99 может формировать уплотнение для замедления и/или предотвращения потока текучей среды из входного канала 92 в осевое отверстие 85.
Держатель 150 дроссельного узла может быть соединен с цилиндрической частью 95 крышки 110, проходящей в осевое отверстие 85 корпуса 70. Держатель 150 дроссельного узла может выполнять роль неподвижного защитного элемента для дроссельного поршня 100. Держатель 150 дроссельного узла может иметь резьбу 151, которая может быть расположена в части 152 уменьшенного диаметра. Резьба 151 может входить в зацепление с резьбой 153, которая может быть выполнена в цилиндрической части 95 крышки 110. Установочные винты 155 могут входить в зацепление с частью 152 уменьшенного диаметра держателя 150 дроссельного узла. Таким образом, держатель 150 дроссельного узла может быть прикреплен к цилиндрической части 95 крышки 110. Держатель 150 дроссельного узла может оставаться в неподвижном положении во время работы системы 40 управления текучей средой.
Уплотнительное кольцо 160 может проходить в паз 161, который может быть выполнен в осевом отверстии 162 во внутренней поверхности держателя 150 дроссельного узла. Уплотнительное кольцо 160 может соприкасаться с наружной поверхностью длинного стержня 130 соединительного штока 41, во время того, как соединительный шток 41 может скользить в осевом отверстии 162 держателя 150 дроссельного узла. Подобным образом, уплотнительное кольцо 164 может проходить в пазе 165, выполненном во внутренней поверхности держателя 150 дроссельного узла, и может соприкасаться с соответствующей наружной поверхностью дроссельного поршня 100.
Кроме того, держатель 150 дроссельного узла может иметь уплотнения 170, которые могут быть расположены в части 152 уменьшенного диаметра держателя 150 дроссельного узла. Уплотнения 170 могут соприкасаться с наружной поверхностью длинного стержня 130 соединительного штока 41. Уплотнения 170 также могут быть расположены на наружной поверхности держателя 150 дроссельного узла и могут соприкасаться с осевым отверстием 85 корпуса 70. В одном варианте реализации изобретения уплотнения 170 могут представлять собой подпружиненные уплотнения.
В одном варианте реализации изобретения положение дроссельного поршня 100 внутри системы 40 управления текучей средой может регулироваться за счет соединения контроллера 10 с соединительным штоком 41. С этой целью контроллер 10 может быть соединен с дроссельным поршнем 100 через соединительный шток 41. Контроллер 10 может регулировать положение дроссельного поршня 100, чтобы регулировать давление, например, в процессе бурения. В отличие от регулирования гидравлического давления контролируемой текучей среды, контроллер 10 может быть прямо или непрямо соединен с соединительным штоком 41. Контроллер 10 может быть применен для регулирования усилия, прикладываемого к дроссельному поршню 100, чтобы отказаться от промежуточной гидравлической системы. Контроллер 10 может применять регулирование силы тока для прямого создания требуемого усилия.
В одном варианте реализации изобретения сервомотор 12, который может действовать через коробку передач 14, может обеспечивать приложение исполнительным приводом 20 контроллера 10 усилия для перемещения дроссельного поршня 100 в закрытое положение. Усилие может прикладываться к соединительному штоку 41 через рычажный механизм 28. Контроллер 10 может изменять ток, чтобы создавать требуемое усилие посредством рычажного механизма 28.
В некоторых вариантах реализации изобретения контроллер 10 может включать в себя систему управления, которая может применять пропорциональные, интегральные и/или дифференциальные (ПИД) функции управления заданным значением регулируемой величины для достижения регулирования давления в кольцевом пространстве между обсадной и бурильной колоннами при поддержании давления вблизи заданного пользователем значения регулируемой величины. ПИД-управление может быть применено для установки выходного значения на основании давления заданного значения и может также изменять выходное значение для поддержания более жесткого контроля заданного значения регулируемой величины.
Как проиллюстрировано на Фиг. 3 и 4, контроллер 10 может быть непрямо соединен с соединительным штоком 41 с использованием рычажного механизма 28. В проиллюстрированном варианте реализации изобретения приводной рычаг 30 с точкой вращения 57 могут действовать в качестве рычага. Точка вращения 57 может совпадать с точкой установки осей 55 на приводной рычаг 30. Применение рычажного механизма 28 может давать механический выигрыш между контроллером 10 и соединительным штоком 41 за счет увеличения усилия, которое может обеспечиваться контроллером 10 через рычажный механизм 28.
В одном варианте реализации изобретения способ приведения в действие контроллера 10 может помещать дроссельный поршень 100 в любое положение между полностью закрытым положением и полностью открытым положением. На Фиг. 3 изображен дроссельный поршень 100 в полностью закрытом положении в системе 40 управления текучей средой. На Фиг. 4-6 изображен дроссельный поршень 100 в полностью открытом положении в системе 40 управления текучей средой.
Обратимся к Фиг. 4, на которой проиллюстрировано полностью открытое положение дроссельного поршня 100. Нажимная труба 22 контроллера 10 может быть втянута в полностью открытое положение дроссельного поршня 100. Нажимная труба 22 может обеспечивать поворот приводного рычага 30 вокруг точки вращения 57 таким образом, что первый конец 31 приводного рычага может быть перемещен в направлении к исполнительному приводу 20. Таким образом, второй конец 35 приводного рычага 30 может быть перемещен в направлении от крышки 110 системы 40 управления текучей средой.
Как подробно проиллюстрировано на Фиг. 5 и 6, положение дроссельного поршня 100 внутри корпуса 70 системы 40 управления текучей средой может быть полностью открытым, когда рычажный механизм 28 может быть ориентирован так, как проиллюстрировано на Фиг. 3. В полностью открытом положении, проиллюстрированном на Фиг. 4-6, буровая текучая среда, например, может проходить во входной конец 93 входной переходной катушки 90 и через входной канал 92. Буровая текучая среда затем может проходить мимо держателя 150 дроссельного узла и полностью открытого дроссельного поршня 100, проходя в осевое отверстие 85, и может выходить из выходного конца 82 осевого отверстия 85 выходной переходной катушки 80 для рециркуляции.
Обратимся к Фиг. 3, на которой проиллюстрировано полностью закрытое положение дроссельного поршня 100. Нажимная труба 22 контроллера 10 может быть полностью выдвинута в полностью закрытое положение дроссельного поршня 100. Нажимная труба 22 может обеспечивать поворот приводного рычага 30 вокруг точки вращения 57 таким образом, что первый конец 31 приводного рычага 30 может быть перемещен в направлении от конца исполнительного привода 20. Таким образом, второй конец 35 приводного рычага 30 может быть перемещен в направлении к крышке 110 системы 40 управления текучей средой.
Как проиллюстрировано на Фиг. 3, соединительный шток 41 может быть полностью вставлен в осевое отверстие 122 крышки 110, при этом дроссельный поршень 100 пребывает в полностью закрытом положении. Как проиллюстрировано на Фиг. 5 и 6, дроссельный поршень 100 может проходить в пересечение осевого отверстия 85 с входным каналом 92 для управления текучей средой из входного канала 92 в осевое отверстие 85.
В одном варианте реализации изобретения часть 103 уменьшенного диаметра первого конца 101 дроссельного поршня 100 может соприкасаться и/или сопрягаться с дроссельным седлом 99 для управления текучей средой из входного канала 92 в осевое отверстие 85. Таким образом, дроссельный поршень 100 в сочетании с дроссельным седлом 99 может формировать уплотнение для замедления и/или предотвращения потока текучей среды из входного канала 92 в осевое отверстие 85.
Система 40 управления текучей средой может иметь корпус 70 с входным каналом 92, находящимся в гидравлическом сообщении с выходным каналом 89. Положение дроссельного поршня 100 в корпусе 70 может регулировать поток текучей среды из входного канала 92 в выходной канал 89. Контроллер 10 может быть соединен с корпусом 70. Контроллер 10 может иметь исполнительный привод 20, соединенный с рычажным механизмом 28. Рычажный механизм 28 может быть соединен с дроссельным поршнем 100. Контроллер 10 может быть выполнен с возможностью установки положения дроссельного поршня 100 в корпусе 70 с применением исполнительного привода 20 и рычажного механизма 28.
Несмотря на то, что предшествующее описание было описано в данном документе со ссылкой на конкретные средства, материалы и варианты реализации изобретения, оно не должно быть ограничено описанными в данном документе деталями; наоборот, оно распространяется на все функционально эквивалентные структуры, способы и применения, такие, которые попадают в объем прилагаемой формулы изобретения.
1. Система управления текучей средой, содержащая:
корпус, имеющий входной канал и выходной канал, имеющий осевое отверстие;
дроссельный поршень в корпусе, при этом дроссельный поршень выполнен с возможностью перемещения в корпусе для управления потоком текучей среды из входного канала в выходной канал;
контроллер, соединенный с корпусом, при этом контроллер содержит исполнительный привод; и
рычажный механизм, соединяющий исполнительный привод с дроссельным поршнем, причем контроллер выполнен с возможностью позиционирования дроссельного поршня в корпусе, используя исполнительный привод.
2. Система управления текучей средой по п.1, отличающаяся тем, что контроллер регулирует усилие, приложенное к дроссельному поршню.
3. Система управления текучей средой по п.1, отличающаяся тем, что рычажный механизм имеет шарнир.
4. Система управления текучей средой по п.1, дополнительно содержащая: шток, соединяющий рычажный механизм с дроссельным поршнем, при этом шток выполнен с возможностью перемещения дроссельного поршня в корпусе.
5. Система управления текучей средой по п.1, дополнительно содержащая:
рычаг, содержащий точку вращения, которая соединена с контроллером, при этом рычажный механизм поворачивается вокруг точки вращения на рычаге.
6. Система управления текучей средой по п.1, отличающаяся тем, что контроллер имеет мотор, приводящий в действие исполнительный привод.
7. Система управления текучей средой по п.1, дополнительно содержащая:
поворотную плиту, прикрепленную между контроллером и корпусом.
8. Система управления текучей средой по п.1, дополнительно содержащая:
нажимную трубу в исполнительном приводе, при этом исполнительный привод перемещает нажимную трубу для задействования рычажного механизма.
9. Система управления текучей средой по п.1, дополнительно содержащая:
дроссельное седло в осевом отверстии, при этом дроссельный поршень сопряжен с дроссельным седлом с образованием уплотнения.
10. Система управления текучей средой по п.1, дополнительно содержащая:
шток, соединяющий исполнительный привод с рычажным механизмом.
11. Устройство для управления текучей средой, содержащее:
мотор;
коробку передач, соединенную с мотором;
исполнительный привод, соединенный с коробкой передач, при этом мотор находится в сцеплении с коробкой передач для приведения в действие исполнительного привода;
нажимную трубу, расположенную в исполнительном приводе, при этом исполнительный привод перемещает нажимную трубу; и
рычажный механизм, содержащий поворотный рычаг, соединенный с исполнительным приводом, при этом исполнительный привод задействует рычажный механизм посредством перемещения нажимной трубы в линейном направлении, при этом рычажный механизм поворачивается вокруг поворотного рычага.
12. Устройство по п.11, дополнительно содержащее:
установочную плиту, имеющую поворотную часть, соединенную с поворотным рычагом.
13. Устройство по п.11, отличающееся тем, что контроллер применяет регулирование силы тока для создания усилия.
14. Устройство по п.11, дополнительно содержащее:
поворотную плиту, соединенную с исполнительным приводом.
15. Устройство по п.11, отличающееся тем, что исполнительный привод выдвигается для перемещения рычажного механизма в первом направлении и втягивается для перемещения рычажного механизма во втором направлении.
16. Устройство по п.11, отличающееся тем, что рычажный механизм увеличивает усилие, создаваемое контроллером.
17. Устройство по п.11, дополнительно содержащее:
наконечник, соединяющий исполнительный привод с рычажным механизмом, при этом наконечник обеспечивает возможность относительного перемещения между исполнительным приводом и рычажным механизмом.
18. Способ управления текучей средой, в котором осуществляют:
позиционирование дроссельного поршня в корпусе, содержащем входное отверстие и выходное отверстие, при этом дроссельный поршень размещается в позиции между входным отверстием и выходным отверстием, и при этом, дополнительно, текучая среда перетекает из входного отверстия к выходному отверстию;
присоединение рычажного механизма, имеющего шарнир, к дроссельному поршню; и
задействование рычажного механизма посредством усилия, создаваемого мотором, при этом рычажный механизм поворачивается вокруг шарнира для регулировки положения дроссельного поршня в корпусе, и при этом, дополнительно, рычажный механизм увеличивает усилие, создаваемое мотором.
19. Способ по п.18, в котором дополнительно осуществляют приведение исполнительного привода в действие посредством мотора, при этом исполнительный привод выдвигается и втягивается для перемещения рычажного механизма.
20. Способ по п.18, в котором дополнительно размещают мотор и рычажный механизм на корпусе.
 
                         
                            


