Стратиграфическая и структурная интерпретация наклонных и горизонтальных стволов скважин
Иллюстрации
Показать всеИзобретение относится к способам обработки данных инклинометрии. Сущность: получают по меньшей мере данные одной инклинометрии от скважины. Определяют поверхность отсчета. Вычисляют истинную стратиграфическую мощность в трех измерениях с использованием наименьшего расстояния в трех измерениях между поверхностью отсчета и какой-либо точкой вдоль траектории скважины, описываемой измерением формации. Создают разрезы вдоль проектируемой траектории скважины и трехмерные стратиграфические и структурные модели с использованием вычисленной истинной стратиграфической мощности в трех измерениях. Технический результат: стратиграфическое и структурное моделирование ствола скважины. 3 н. и 17 з.п. ф-лы, 51 ил.
Реферат
ПЕРЕКРЕСТНЫЕ ССЫЛКИ НА РОДСТВЕННЫЕ ЗАЯВКИ
[0001] Настоящая заявка притязает на приоритет согласно предварительной заявке США № 61/901 761, поданной 08.11. 2013, которая включена в настоящий документ посредством ссылки в полном объеме.
УРОВЕНЬ ТЕХНИКИ
[0002] В операциях бурения стволы скважин создают в подповерхностных горных формациях с целями, которые включают извлечение природных ресурсов из подземных источников. В некоторых установках способы бурения могут изменяться для создания наклонных стволов скважин, чтобы размещать скважину в конкретном районе или между стратиграфическими пластами и другими особенностями строения, имеющимися в формации. При направленном бурении, например, ствол скважины может вначале иметь вертикальную траекторию, а на последующей глубине траектория ствола скважины может быть отклонена с использованием одного или более типов инструментов и процедур направленного бурения.
[0003] Наклонные и горизонтальные скважины, полученные путем направленного бурения, могут быть полезны в ряде вариантов применения для совершенствования разработки нетрадиционных коллекторов, особенно в сочетании с усовершенствованными способами добычи нефти, такими как гидравлический разрыв. Однако структурная интерпретация наклонных и горизонтальных скважин может вызывать затруднения в неоднородных формациях, содержащих различные стратиграфические составы, напластования, и ориентацию слоя, поскольку скважина может проходить через тот же стратиграфический пласт несколько раз, создавая трудности в выравнивании и корреляции профилей измерения в данных, полученных из формации.
[0004] Соответствующее получение характеристик формации с использованием данных, созданных с помощью различных скважинных инструментов, является важным фактором в направлении размещения скважины в данной зоне, представляющей интерес. Выбранная траектория скважины для направленного бурения может быть заранее определена в некоторых случаях на основе интерпретации трехмерной геометрии стратиграфического напластования подземных формаций, перед началом операций бурения. В других способах бурения, таких как каротаж в процессе бурения (logging-while-drilling, LWD) и направленное бурение, получение характеристик формации может происходить во время разработки скважины или вскоре после нее, путем использования инструментов, встроенных в оборудование низа бурильной колонны или параллельно бурильной колонне. В некоторых сценариях LWD может иметь преимущества, особенно когда существует опасение, что свойства формации будут изменены при вторжении скважинных флюидов или там, где применение спускаемых на кабеле инструментов может быть затруднено.
СУЩНОСТЬ ИЗОБРЕТЕНИЯ
[0005] Данный раздел описания приведен для представления выбора принципов, которые дополнительно раскрыты в представленном ниже подробном описании. Данное краткое изложение не предназначено для идентификации основных или существенных отличий заявленного изобретения, а также не предназначено для использования в качестве средства, ограничивающего объем заявленного изобретения.
[0006] В одном варианте осуществления раскрыт способ стратиграфического и структурного моделирования скважины. Способ включает а себя: получение по меньшей мере данных одной инклинометрии от скважины; определение поверхности отсчета; вычисление истинной стратиграфической мощности в трех измерениях, используя наименьшее расстояние в трех измерениях между поверхностью отсчета и какой-либо точкой вдоль траектории скважины, описываемой при измерении формации; и создание разрезов вдоль проектируемой траектории и трехмерных стратиграфических и структурных моделей с использованием вычисленной истинной стратиграфической мощности в трех измерениях.
[0007] В другом варианте осуществления раскрыт способ, включающий в себя получение по меньшей мере данных одной инклинометрии от скважины; определение поверхности отсчета в подземной формации; вычисление истинной стратиграфической мощности в трех измерениях с использованием наименьшего расстояния в трех измерениях между поверхностью отсчета и какой-либо точкой вдоль траектории скважины, описываемой по меньшей мере данными одной инклинометрии; создание трехмерной стратиграфической и структурной модели с использованием вычисленной истинной стратиграфической мощности в трех измерениях; определение того, соответствует ли созданная трехмерная модель траектории скважины, описываемой по меньшей мере данными одной инклинометрии; и, если соответствие является неудовлетворительным, определение новой поверхности отсчета и повторение этапов (c) и (d) для создания последующей трехмерной стратиграфической и структурной модели.
[0008] В других вариантах осуществления раскрыт способ, включающий в себя получение по меньшей мере данных одной инклинометрии от скважины; получение по меньшей мере одного измерения формации; и определение поверхности отсчета с использованием по меньшей мере одного измерения формации. Способ, кроме того, включает в себя выполнение этапов вычисления истинной стратиграфической мощности в трех измерениях с использованием наименьшего расстояния а трех измерениях между поверхностью отсчета и какой-либо точкой вдоль траектории скважины, описываемой по меньшей мере данными одной инклинометрии; создание трехмерной стратиграфической и структурной модели с использованием вычисленной истинной стратиграфической мощности в трех измерениях; и определение того, соответствует ли созданная трехмерная модель траектории скважины, описываемой по меньшей мере данными одного одиночного каротажного измерения канала.
[0009] Другие аспекты и преимущества настоящего изобретения будут очевидны из следующего описания и прилагаемых пунктов формулы.
КРАТКОЕ ОПИСАНИЕ ЧЕРТЕЖЕЙ
[0010] Настоящее изобретение далее описано подробно со ссылкой на указанное множество чертежей в качестве примера, не имеющего ограничительного характера для предмета изобретения, в котором одинаковыми ссылочными номерами обозначены аналогичные детали на нескольких видах чертежей.
[0011] На фиг. 1 приведена иллюстрация сегмента ствола скважины, иллюстрирующая измеренную глубину (measured depth, MD) и истинную глубину по вертикали (true vertical depth, TVD);
[0012] На фиг. 2 проиллюстрирован поперечный разрез измерения толщины в наклонной скважине, проникающей по падению пласта через наклонный стратиграфический пласт;
[0013] На фиг. 3 проиллюстрирован вид поперечного разреза измерения толщины в наклонной скважине, проникающей по подъему пласта через наклонный стратиграфический пласт;
[0014] На фиг. 4 показаны параметры трехмерной системы координат в соответствии с раскрытыми здесь вариантами осуществления;
[0015] На фиг. 5 показано сравнение измерений в вертикальной и наклонной скважинах, проходящих через многослойную формацию, в соответствии с раскрытыми здесь вариантами осуществления.
[0016] На фиг. 6 показано сравнение стратиграфического профиля и образцов каротажа скважины между вертикальной и наклонной скважинами в соответствии с раскрытыми здесь вариантами осуществления;
[0017] На фиг. 7 показана диаграмма гамма-каротажа, отображенная в TVD в горизонтальной скважине, пробуренной в падающих пластах, в соответствии с раскрытыми здесь вариантами осуществления;
[0018] На фиг. 8 показан вид поперечного разреза нормального сброса, имеющего следствием недостающий интервал каротажа, в соответствии с раскрытыми здесь вариантами осуществления;
[0019] На фиг. 9 показан вид поперечного разреза обратного сброса, имеющего следствием повторяющиеся интервалы каротажа, в соответствии с раскрытыми здесь вариантами осуществления;
[0020] На фиг. 10 показан вид поперечного разреза корреляции вертикальной скважины с наклонной скважиной для нахождения глубины и определения количества недостающих участков для сброса в вертикальной скважине в соответствии с раскрытыми здесь вариантами осуществления;
[0021] На фиг. 11 показан способ вычисления TST3D из сравнения и поверхностью отсчета в соответствии с раскрытыми здесь вариантами осуществления;
[0022] На фиг. 12 показан вариант осуществления вычисления TST3D, примененного к виду поперечного разреза скважины, который прорезает нормальный сброс, в соответствии с раскрытыми здесь вариантами осуществления;
[0023] На фиг. 13 показан вариант осуществления вычисления TST3D вдоль скважины, которая прорезает обратный сброс, в соответствии с раскрытыми здесь вариантами осуществления;
[0024] На фиг. 14 приведена структурная схема, иллюстрирующая вариант осуществления вычисления TST3D, в соответствии с раскрытыми здесь вариантами осуществления;
[0025] На фиг. 15 показана контурная поверхность отсчета, созданная с использованием верхних границ вертикальных скважин, в соответствии с раскрытыми здесь вариантами осуществления;
[0026] На фиг. 16 показана траектория скважины, отображаемая в TVD в сравнении с THL и TST3D в сравнении с THL, в соответствии с раскрытыми здесь вариантами осуществления;
[0027] На фиг. 17 показан разрез вдоль проектируемой траектории гамма-каротажа в соответствии с раскрытыми здесь вариантами осуществления;
[0028] На фиг. 18 показана выборка стратиграфических контрольных точек, извлеченных из разреза вдоль проектируемой траектории, в соответствии с раскрытыми здесь вариантами осуществления;
[0029] На фиг. 19 показано изображение диаграммы гамма-каротажа как функции TST3D в соответствии с раскрытыми здесь вариантами осуществления. С конкретной ссылкой на фиг. 19, черная кривая представляет нисходящую кривую гамма-каротажа, а пунктирная кривая представляет восходящую кривую гамма-каротажа. Сравните их с фиг. 7, аналогичной диаграммой каротажа, которая использует точку отсчета глубины TVD;
[0030] На фиг. 20 показаны панели диаграммы гамма-каротажа как функция TST3D от наклонной скважины, в соответствии с раскрытыми здесь вариантами осуществления. Стрелками указано, является ли участок скважины восходящим или нисходящим относительно проверенного стратиграфического напластования;
[0031] На фиг. 21 показан недостающий стратиграфический разрез, идентифицированный по панелям диаграммы гамма-каротажа с использованием TST3D, в соответствии с раскрытыми здесь вариантами осуществления;
[0032] На фиг. 22 показано определение местоположения сброса, прорезаемого стволом скважины, путем сравнения TVD с THL и TST3D с THL, в соответствии с раскрытыми здесь вариантами осуществления;
[0033] На фиг. 23 показан стратиграфический профиль с идентифицированным сбросом с использованием панелей диаграммы гамма-каротажа из TST3D, в соответствии с раскрытыми здесь вариантами осуществления;
[0034] На фиг. 24 показан поперечный разрез горизонтальных скважин, изученных с помощью азимутального инструмента, в соответствии с раскрытыми здесь вариантами осуществления;
[0035] На фиг. 25 приведены измерения изображения скважины в соответствии с раскрытыми здесь вариантами осуществления;
[0036] На фиг. 26 и 26A приведена схематическая диаграмма, иллюстрирующая наблюдаемый положительный фазовый сдвиг между ориентированными вверх и вниз диаграммами гамма-каротажа в скважине, проходящей через стратиграфический разрез, в соответствии с раскрытыми здесь вариантами осуществления;
[0037] На фиг. 27 и 27A приведена схематическая диаграмма, иллюстрирующая наблюдаемый отрицательный фазовый сдвиг между ориентированными вверх и вниз диаграммами гамма-каротажа в скважине, проходящей через стратиграфический разрез, в соответствии с раскрытыми здесь вариантами осуществления;
[0038] На фиг. 28 и 28A приведена схематическая диаграмма одновременного сдвига базовой линии между ориентированными вверх и вниз диаграммами гамма-каротажа, в соответствии с раскрытыми здесь вариантами осуществления;
[0039] На фиг. 29 приведена иллюстрация уточненной трехмерной структурной поверхности, созданной вследствие сброса, в соответствии с раскрытыми здесь вариантами осуществления;
[0040] На фиг. 30.1 и 30.2 показана обновленная структурная модель и повторно вычисленные панели TST3D для диаграмм гамма-каротажа, в соответствии с раскрытыми здесь вариантами осуществления;
[0041] На фиг. 31.1-31.3 приведены иллюстрации одной фазы автоматизированного процесса с использованием TST3D для определения ствола скважины, в соответствии с раскрытыми здесь вариантами осуществления;
[0042] На фиг. 32 приведена иллюстрация сравнения панелей диаграммы гамма-каротажа из скважинных измерений TST3D, в соответствии с раскрытыми здесь вариантами осуществления;
[0043] На фиг. 33.1 и 33.2 изображена выборка маркеров поверхности с приведенной к прямоугольной форме диаграммой гамма-каротажа, в соответствии с раскрытыми здесь вариантами осуществления;
[0044] На фиг. 34 приведена иллюстрация исходной модели распределения гамма-лучей, созданной с использованием приведенной к прямоугольной форме диаграммы гамма-каротажа от вертикальной направляющей скважины, в соответствии с раскрытыми здесь вариантами осуществления;
[0045] На фиг. 35 приведен вид в перспективе, иллюстрирующий комплексную траекторию скважины и начальную наклонную поверхность отсчета, в соответствии с раскрытыми здесь вариантами осуществления;
[0046] На фиг. 36 приведен вид в перспективе, иллюстрирующий связь между истинным углом падения пласта и наблюдаемым углом падения пласта вдоль произвольного вертикального участка, в соответствии с раскрытыми здесь вариантами осуществления;
[0047] На фиг. 37.1-37.3 изображен ряд графиков, полученных от первой итерации автоматизированного процесса интерпретации, в соответствии с раскрытыми здесь вариантами осуществления;
[0048] На фиг. 38 проиллюстрировано изображение разделенных панелей TST3D, созданных по измерениям методом гамма-каротажа и опережающие данные каротажа в соответствии с раскрытыми здесь вариантами осуществления;
[0049] На фиг. 39.1-39.3 изображен ряд графиков, изображающих результаты промежуточного этапа в аппроксимации выбранного разреза вдоль проектируемой траектории гамма-каротажа с использованием данных, выведенных из полученных при прямом моделировании диаграмм гамма-каротажа, в соответствии с раскрытыми здесь вариантами осуществления;
[0050] На фиг. 40 проиллюстрировано изображение разделенных панелей TST3D, созданных из последовательных итераций автоматизированного процесса интерпретации, в соответствии с раскрытыми здесь вариантами осуществления;
[0051] На фиг. 41 приведен вид в перспективе, иллюстрирующий операцию изгиба на поверхности отсчета в соответствии с раскрытыми здесь вариантами осуществления;
[0052] На фиг. 42.1-42.3 изображен ряд графиков, описывающих обновленные модели разреза вдоль проектируемой траектории гамма-каротажа после итерации автоматизированного процесса интерпретации, в соответствии с раскрытыми здесь вариантами осуществления;
[0053] На фиг. 43 проиллюстрировано изображение разделенных панелей TST3D, созданных из последовательных итераций автоматизированного процесса интерпретации, в соответствии с раскрытыми здесь вариантами осуществления;
[0054] На фиг. 44.1-44.3 изображен ряд графиков, описывающих обновленные модели разреза вдоль проектируемой траектории гамма-каротажа после последовательной итерации автоматизированного процесса интерпретации, в соответствии с раскрытыми здесь вариантами осуществления;
[0055] На фиг. 45 проиллюстрировано изображение разделенных панелей TST3D, созданных из последовательных итераций автоматизированного процесса интерпретации, в соответствии с раскрытыми здесь вариантами осуществления;
[0056] На фиг. 46 приведена схема дерева операций, используемого для сохранения оптимальных данных операции в ходе автоматизированного процесса интерпретации, в соответствии с раскрытыми здесь вариантами осуществления;
[0057] На фиг. 47 приведена иллюстрация создания вертикальной псевдонаправляющей скважины с использованием TST3D на основе траектории наклонной скважины и данной поверхности отсчета в соответствии с вариантами осуществления;
[0058] На фиг. 48.1-48.3 изображен ряд графиков, описывающих обновленные модели разреза вдоль проектируемой траектории гамма-каротажа после итераций автоматизированного процесса интерпретации, в соответствии с раскрытыми здесь вариантами осуществления;
[0059] На фиг. 49.1-49.3 изображен ряд графиков, описывающих заключительные обновленные модели разреза вдоль проектируемой траектории гамма-каротажа после итераций автоматизированного процесса интерпретации, в соответствии с раскрытыми здесь вариантами осуществления;
[0060] На фиг. 50A и 50B приведена структурная схема автоматизированного процесса TST3D в соответствии с раскрытыми здесь вариантами осуществления; и
[0061] На фиг. 51 приведена структурная интерполяция для множества наклонных скважин в соответствии с раскрытыми здесь вариантами осуществления.
ОСУЩЕСТВЛЕНИЕ ИЗОБРЕТЕНИЯ
[0062] Показанные в настоящем документе особенности приведены в качестве примера и с целью только иллюстративного описания примеров раскрытия объекта изобретения и представлены для представления того, что считается наиболее полезным и легко понятным описанием принципов и концептуальных аспектов объекта изобретения. В этом отношении, не делается никаких попыток показать структурные детали более полно, чем это необходимо описание вместе с чертежами делает очевидным специалистам в данной области то, как несколько форм объекта изобретения могут быть осуществлены на практике. Кроме того, одинаковыми ссылочными символами и обозначениями на различных чертежах показаны одинаковые элементы.
[0063] Хотя большая часть используемых в настоящем документе терминов будет понятна специалистам в данной области, предлагаются следующие определения, чтобы помочь пониманию настоящего изобретения. Однако должно быть понятно, что, если термин не определен явным образом, его следует интерпретировать как принятое в настоящее время значение, признаваемое специалистами в данной области.
[0064] Используемый здесь термин «истинная мощность пласта (по вертикали)» (true vertical thickness, TVT) представляет собой толщину интервала залегающего пласта напластованной горной породы, измеренную в вертикальном направлении (т. е., в направлении центра Земли). В вертикальной скважине фактическая мощность, измеренная методом каротажа скважинным инструментом, представляет собой TVT.
[0065] Истинная стратиграфическая мощность (true stratigraphic thickness, TST) представляет собой толщину пласта или массы породы после корректировки для структурного падения стратиграфических пластов и отклонения проникающей скважины относительно залегания. В горизонтальных пластах (тех, которые имеют нулевое падение пласта), TST равна TVT.
[0066] Измеренная глубина (measured depth, MD) представляет собой глубину, зарегистрированную по длине ствола скважины. Это измерение отличается от TVT скважины во всех вертикальных скважинах.
[0067] Измеренная толщина каротажа (measured log thickness, MLT) представляет собой выходные данные каротажа от скважинного инструмента, причем данные каротажа могут быть получены из измерений, включающих в себя электрические свойства (удельное сопротивление и проводимость при различных частотах), акустические свойства, активные и пассивные ядерные измерения, такие как гамма-каротаж, линейные и угловые измерения в стволе скважины, отбор проб пластового флюида, измерение пластового давления, спускаемые на кабеле колонковые буры, исследование бурового шлама, и т. п., как функция длины скважины. В случае скважин направленного бурения толщина MLT может быть больше или меньше, чем TVT, поскольку угол отклонения ствола скважины увеличивает или уменьшает длину траектории через залегающий пласт.
[0068] Истинная глубинная мощность по вертикали (true vertical depth thickness, TVDT) представляет собой полное расстояние по вертикали (total vertical distance, TVD) между точками MLT вдоль скважины.
[0069] Истинная длина по горизонтали (true horizontal length, THL) представляет собой полное горизонтальное смещение ствола скважины в определенном интервале.
[0070] В вариантах осуществления, направленных на морские операции, истинная глубина по вертикали от уровня моря (true vertical depth subsea, TVDSS) может быть использована для определения глубины скважины, причем TVDSS определяют, как расстояние по вертикали от точки в скважине до точки среднего уровня моря на поверхности. В таких случаях, TVD может быть рассчитана как TVDSS плюс расстояние от уровня моря до вкладыша под ведущую бурильную трубу (kelly bushing, KB).
[0071] «Залегающие пласты», «залегание», «пласты», «стратиграфические пласты», и варианты данных фраз представляют собой пласты отложений или осадочных горных пород, также описываемые в данной отрасли как пласт для одиночных слоев или пласты для множества слоев. Залегающий пласт представляет собой наименьший стратиграфический блок, который может быть толщиной сантиметр или более, и может быть отличим от соседних пластов.
[0072] Угол падения залегания (θ, theta) используется в настоящем документе для описания угла от плоскостного компонента, такого как слои отложений или осадочных пород, залежи, и пласты, и горизонтальной плоскости.
[0073] Угол отклонения ствола скважины (ϕ, фи) используют в настоящем документе для описания угла отклонения ствола скважины от определенной вертикальной плоскости.
[0074] Используемый здесь термин «поверхность отсчета», описывает трехмерную поверхность отсчета, используемую для вычисления истинной стратиграфической мощности в соответствии с списанными здесь способами. В одном или более вариантов осуществления поверхность отсчета может включать в себя стратиграфические особенности, такие как кривые или сбросы.
[0075] В ходе операций сооружения и заканчивания скважины интерпретация каротажной диаграммы может найти применение при определении стратиграфического положения и поперечного размещения в многоуровневых пластах формации. Кроме того, в способе бурения в режиме реального времени, таком как направленное бурение, информация, полученная относительно формации и получения характеристик глубины может служить ориентиром выбора ручных или автоматических сигналов управления к оборудованию низа бурильной колонны для руководства скважинной траекторией бурового долота. Кроме того, способы в соответствии с настоящим изобретением могут также включать в себя наблюдения и измерения реакции оборудования низа бурильной колонны после подачи команды направленного бурения для проверки того, соблюдает ли ствол скважины надлежащую или расчетную траекторию.
[0076] Способы в соответствии с настоящим изобретением могут быть использованы в операциях горизонтального и направленного бурения, и могут использовать различные геологические, петрофизические и сейсмические данные, включая кривую гамма-каротажа. Описанные в настоящем документе операции бурения могут включать в себя бурение скважин для добычи нефти или природного газа, водозаборных скважин или любого другого типа подповерхностного бурения скважины.
[0077] В одном или более вариантов осуществления способы в соответствии с настоящим изобретением могут использовать способы получения характеристик формации, которые могут включать в себя определение истинной стратиграфической мощности в трех измерениях (TST3D) из данных, полученных из скважинного каротажа и других структурных данных, полученных во время вертикального, горизонтального или наклонного бурения для создания трехмерных стратиграфических и структурных моделей. В некоторых вариантах осуществления TST3D может быть рассчитана по определенной поверхности отсчета, которая может быть или не быть нарушенной сбросом. Предлагаемое вычисление TST3D может быть использовано в некоторых вариантах осуществления как структура отсчета глубины, которая является аналогом полной глубины по вертикали (total vertical depth, TVD) и измеренной глубины (measured depth, MD), для корреляции кривых каротажа в горизонтальных скважинах. Например, TST3D может позволить идентификацию сбросов, прорезаемых наклонными или горизонтальными стволами скважин по сравнению с каротажными измерениями из TST3D в сравнении с MD или THL в некоторых вариантах осуществления.
[0078] ГЛУБИНА СКВАЖИНЫ
[0079] Глубина скважины является одним из ряда измерений, которые могут быть определены при получении каротажных диаграмм. Конкретно в отношении фиг. 1, измеренная глубина (measured depth, MD) представляет собой глубину, зарегистрированную по длине ствола скважины. Истинная глубина по вертикали (true vertical depth, TVD) представляет собой расстояние по вертикали от точки в скважине до точки на поверхности, например, отметка вкладыша под ведущую бурильную трубу на полу буровой вышки. Данная иллюстрация также показывает, что MD наклонной скважины может отличаться от TVD, поскольку отклонения ствола скважины могут увеличивать MD по сравнению с TVD.
[0080] МОЩНОСТЬ
[0081] Мощность слоя горной породы может быть измерена в соответствии с настоящим изобретением посредством ряда способов, включающих, помимо прочего: истинную стратиграфическую мощность (true stratigraphic thickness, TST), толщину слоя горной породы, измеренную перпендикулярно к залеганию пласта; истинную мощность пласта (по вертикали) (true vertical thickness, TVT), определенную как толщина, измеренная по вертикали в точке; измеренную толщину каротажа (measured log thickness, MLT), измеренную как толщина данного интервала, измеренная вдоль самой траектории скважины; истинную глубинную мощность по вертикали (true vertical depth thickness, TVDT), определяемую как MLT между двумя конкретными точками в наклонной скважине, как измеренная в TVD.
[0082] Данная концепция проиллюстрирована на фиг. 2 и 3 для наклонных скважин, имеющих различные ориентации. Конкретно в отношении фиг. 2, наклонная скважина показана проходящей через стратиграфический пласт, в котором TVDT больше, чем TVT, и где ствол скважины пересекает пласт, имеющий угол падения θ и угол отклонения ствола скважины ϕ. Другой возможный сценарий показан на фиг. 3, на которой TVDT меньше, чем TVT. Однако существуют другие сценарии, например, в случае, в котором TST равна TVT для вертикальной скважины, которая прорезает горизонтальный пласт. Как показано в указанных примерах, TST часто меньше или равна TVT и MLT.
[0083] ВЫЧИСЛЕНИЕ ИСТИННОЙ СТРАТИГРАФИЧЕСКОЙ МОЩНОСТИ
[0084] В отличие от TVD и MLT, которые могут зависеть от траектории скважины и ориентации плоскости залегания, TST может быть использована для измерения характерной мощности пласта формации, независимо от того, как скважина внедряется в формацию. Связь между MLT и TVT может быть описана в некоторых вариантах осуществления уравнением (1):
TVT=MLT[cos(ϕ) – (sin(ϕ) cos(α) tan(θ))] (1)
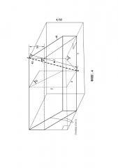
где MLT – измеренная толщина каротажа, TVT – истинная мощность пласта (по вертикали), θ – угол падения пласта, α – разность между азимутом скважины и азимутом падения пласта, и ϕ – угол отклонения ствола скважины.
[0085] Конкретно в отношении фиг. 4, параметры, используемые в уравнении (1) проиллюстрированы в ортогональной трехмерной системе координат, обозначенной осями X, Y и Z. Выделенный пласт представляет собой прямоугольный параллелепипед 40, разделенный темно-серыми границами пласта и имеющий угол падения θ от горизонтали. Скважина 42 представлена жирной пунктирной черной линией, которая входит в формацию в местоположении A и выходит в местоположении B. Скважина (черный) проникает в падающий пласт (серый) в трехмерном пространстве. TVT определяют из измеренной толщины каротажа (measured log thickness, MLT). Три угла, θ, ϕ, и α, используют, как показано в уравнении (1) для вычисления истинной мощности пласта (по вертикали). Следует заметить, что MLT на фиг. 4 зависит от траектории скважины, независимо от ориентации плоскости залегания. Для преобразования MLT в TVT необходим коэффициент коррекции, который может быть предусмотрен в некоторых вариантах осуществления в уравнениях, таких как уравнение 1. В вариантах осуществления, использующих уравнение 1, уравнение можно упростить по нескольким сценариям. Например, в горизонтальных пластах (θ=0), или скважине, параллельной направлению простирания пласта (α=0), TVT=MDT•cos(ϕ), где MDT – измеренная глубинная толщина; следовательно, коэффициент коррекции связан с отклонением скважины. Для вертикальной скважины (ϕ=0), TVT равна MLT, независимо от ориентации пласта. После вычисления TVT истинная стратиграфическая мощность в некоторых вариантах осуществления может быть выведена с использованием уравнения 2, приведенного ниже.
TST=TVT cos (θ) (2)
[0086] TST – характерная величина, определяемая мощностью пласта, независимо от ориентации пласта и траектории скважины. Однако вычисление TST для подповерхностного геологического пласта из скважинных измерений может потребовать учета пространственной геометрической связи между траекторией скважины и стратиграфическим пластом. Другим соображением является то, что уравнение 1 и уравнение 2 формулы TST предполагает плоскую поверхность залегания. Для не плоской поверхности использование любого уравнения может вносить погрешность, и может потребоваться больше пространственных данных, которые могут включать вычисление истинной стратиграфической мощности в трех измерениях (TST3D).
[0087] КОРРЕЛЯЦИЯ КАРОТАЖНОЙ ДИАГРАММЫ
[0088] В некоторых вариантах осуществления кривые каротажной диаграммы могут быть использованы для очерчивания границ подповерхностных слоев горных пород, чтобы подготовить структурные карты, трехмерные модели и поперечные разрезы. Это может включать в себя корреляцию каротажной диаграммы, вид распознавания образов. Корреляцию определяют как составление карт структурных или стратиграфических блоков, которые эквивалентны по времени, возрасту или стратиграфическому положению. Конкретно в отношении фиг. 5, показан вариант осуществления, в котором идентифицированы три пласта горной породы с использованием гамма-каротажа (gamma ray, (GR) logs) в вертикальной скважине 52 и наклонной скважине 54. Профиль диаграммы GR в наклонной скважине 54 является растянутым (представленном в более длинном интервале) по сравнению с каротажной кривой в вертикальной скважине 52.
[0089] Хотя в варианте осуществления на фиг. 5 показаны каротажные диаграммы, в принципе, могут быть использованы какие-либо измерения, которые получены от скважины известными в данной отрасли способами, измеряющими характерные свойства формации, которые могут быть интерпретированы как литологические или осадочные фации. Например, другие способы, подходящие для измерения свойств формации, включают в себя кабельный каротаж, измерения в процессе бурения, каротаж в процессе бурения и т. п.
[0090] В дополнение к определению различных пластов, образцы каротажных диаграмм также могут быть использованы для определения характера или состава стратиграфических пластов, например, наличия песчаных или сланцевых пачек в стратиграфической колонке. Например, в некоторых вариантах осуществления вертикальная последовательность стратиграфических пластов в каротажной диаграмме может быть использована для идентификации соответствующих стратиграфических блоков. Следует также заметить, что образцы каротажных диаграмм от наклонной скважины 54 являются растянутыми, поскольку MLT больше, чем MD по сравнению с вертикальной скважиной. Однако TST и угол падения пласта может изменяться или не изменяться между скважинами.
[0091] Интерпретация каротажа в процессе бурения (Logging-While-Drilling, LWD) в горизонтальных скважинах
[0092] Применение LWD в горизонтальных скважинах может учитывать ряд факторов, в том числе: размещение скважины, оценка формации в режиме реального времени, стратиграфическая и структурная интерпретация, вычисление профиля скважины, геомеханический анализ и оптимизация заканчивания. Кроме того, каротажные диаграммы скважины и измерения формации, полученные посредством LWD или других способов каротажа, в некоторых вариантах осуществления могут быть использованы с данными инклинометрии для создания стратиграфических и структурных моделей. Однако интерпретация каротажной диаграммы может быть трудной, когда наклонная скважина внедряется в ту же плоскость залегания несколько раз, например, когда отклонение скважины изменяется в соответствии с падением пласта.
[0093] Конкретно в отношении фиг. 6, показано сравнение гипотетических профилей диаграммы GR от вертикальной скважины 62 и наклонной скважины 64. Соответствующие изображения 62 и 64 каротажной диаграммы, указанные скобками, показаны в MD. Следует заметить, что профиль GR в точке Q в пласте песчаника (светло-серый) является растянутым зеркальным отображением профиля GR в точке P. Вертикальная скважина 62, проходящая через целевой коллектор (светло-серый) связана с двумя сланцевыми пластами (темно-серый). Горизонтальная скважина 64, проходящая через первый сланцевый пласт, целевой коллектор, почти достигает основания второго сланцевого пласта, затем идет вдоль пласта на короткое расстояние перед тем как снова подниматься вверх, прорезая пласт песчаника, и, наконец, выходит к верхней границе первого сланцевого пласта. Следует заметить, что образец каротажной диаграммы вокруг цели Q, видимой в GR 2, является растянутым зеркальным отображением профиля, наблюдаемого в GR 1, когда скважина пересекает цель P в вертикальной скважине.
[0094] Когда стратиграфический профиль коллектора неизвестен, и имеются только каротажные диаграммы и данные инклинометрии, часто сомнительна возможность корреляции границ пласта в скважинах с использованием изображений каротажной диаграммы в истинной глубине по вертикали (true vertical depth, TVD). Например, тот же образец каротажной диаграммы может происходить от других стратиграфических пластов, или скважина может прорезать тот же пласт множество раз. Единственных решений, возможно, трудно достичь, особенно в не отличающихся межпластовых алевролитовых песчаниках, плотных карбонатных породах и сланцах.
[0095] Конкретно в отношении фиг. 7, отображены данные каротажа, в которых TVD получена в падающих пластах от наклонной скважины, которая проникает вниз, а затем вверх относительно истинной глубины по вертикали. Траектория скважины в данном случае имеет как нисходящий участок (пунктирная кривая), так и восходящий участок (черная кривая) в показателях TVD. Поскольку скважина прорезает как нижний стратиграфический разрез, так и затем верхний стратиграфический разрез, наблюдается пересечение в профиле диаграммы GR, поскольку TVD не представляет TST. Пунктирная кривая представляет нисходящую GR, а черная кривая представляет восходящую диаграмму GR.
[0096] Вследствие падения пласта, каротажные диаграммы в нисходящем (пунктирном) участке скважины не совпадают с каротажными диаграммами в восходящем (черном) участке скважины. Эти две кривые могут изредка полностью перекрываться, если изучаемый подповерхностный коллектор имеет нулевое падение и плоские поверхности с постоянной толщиной. Изображение TVD может исключать некоторые из растяжений, видимых на фиг. 6, но существует сдвиг пиков каротажа вследствие падения пласта.
[0097] В одном или более вариантов осуществления улучшенное выравнивание может быть достигнуто, если диаграмма GR отображается, используя TST, а не TVD. Путем корректировки диаграммы GR до соответствия TST, точки в скважине выравнивают в том же стратиграфическом положении. Например, как показано на фиг . 6, почти идентичные показания GR будут встречаться в точках P и Q. В некоторых вариантах осуществления диаграмма, отображаемая в TST, может также исключать растяжение и искажение, создавая восходящую и нисходящую диаграммы, которые более точно совпадают, в отличие от появляющихся, как зеркальные, изображений при отображении, в зависимости от TVD.
[0098] Недостающие и повторяющиеся участки, вызываемые сбросами
[0099] В одном или более вариантов осуществления корреляция диаграммы может быть проведена, если образец диаграммы, видимый в одной скважине, также наблюдается в других скважинах. Корреляция каротажной диаграммы может представлять полезную информацию относительно подповерхностного стратиграфического и структурного геологического строения. Например, путем сопоставления характеристик между диаграммами каротажа, может быть выполнена точная интерполяция для промежуточных подповерхностных областей. В ситуациях, в которых отдельные пласты могут быть коррелированы по нескольким скважинам, может также существовать возможност
 
                         
                            


