Бритвенный прибор с активируемым вручную дозированием жидкости

Иллюстрации

Показать все

Изобретение относится к области средств индивидуального ухода, в частности к бритвенным приборам. Бритвенный прибор с дозированием текучего вещества во время бритья включает ручку, картридж бритвенного прибора и дозирующий текучее вещество элемент, присоединенный к картриджу. Ручка включает полость для вмещения текучего вещества и активируемый вручную дозатор для перемещения текучего вещества из полости через канал соединительного элемента к отверстию на проксимальном конце ручки. Картридж бритвенного прибора включает конструкцию для присоединения картриджа и проход. Проход выполнен протяженным от задней поверхности до передней поверхности корпуса. Дозирующий текучее вещество элемент расположен в конструкции для присоединения картриджа. Он включает сужающийся канал, связанный по текучей среде с каналом соединительного элемента и проходом в корпусе. Техническим результатом изобретения является улучшение качества бритья. 16 з.п. ф-лы, 14 ил.

Реферат

ОБЛАСТЬ ТЕХНИКИ

Настоящее изобретение относится к бритвенному прибору с активируемым вручную дозированием жидкости.

УРОВЕНЬ ТЕХНИКИ

Настоящее изобретение относится к области влажного бритья, представляющего собой процесс, в ходе которого бритвенный прибор с одним или более заточенными лезвиями перемещают вдоль кожи для срезания волос. Во время влажного бритья пользователь обычно наносит средство для обработки кожи, например, мыло для бритья, крем для бритья, гель для бритья, увлажняющую пену для бритья и т.д., с помощью кисточки или вручную перед перемещением бритвенного прибора вдоль поверхности кожи. Большинство потребителей находят этот вид подготовки довольно неудобным вследствие потребности в нескольких устройствах для бритья, например, в бритвенном приборе для влажного бритья и продукте для подготовки кожи, а также вследствие нежелательной необходимости в нескольких этапах нанесения в процессе влажного бритья. Этот многоэтапный процесс также приводит к увеличению общей длительности процедуры бритья, что нежелательно для стандартных утренних гигиенических процедур потребителя. Однако, иногда может быть желательным нанесение на кожу других видов текучих веществ перед бритьем, в течение него или после него. Было обнаружено, что для мужчин, которые бреют волосы на лице, особенно важно обеспечить некоторую подготовку перед бритьем для должного увлажнения грубых волос на лице с целью более легкого и тщательного бритья.

В прошлом существовало множество конфигураций изделий для влажного бритья, которые включали систему подачи средства для бритья в процессе бритья, например смазывающего текучего вещества из резервуара, заключенного в конструкции бритвенного прибора в виде полой ручки бритвенного прибора, или даже из резервуара в виде аэрозольного баллона, выполняющего функцию ручки, в место дозирования вблизи головки бритвенного прибора. Некоторые более современные бритвенные приборы для влажного бритья содержат подвижно закрепленные картриджи, в частности, с возможностью поворота относительно конструкций ручек, к которым они прикреплены перманентно, в случае одноразовых безопасных бритвенных приборов, которые предполагают выбрасывание при затуплении лезвия или лезвий, или съемным образом для обеспечения замены лезвийного блока, применительно к конструкции ручки, предполагающей многократное использование. Приведенный в качестве примера бритвенный прибор данного типа описан в патенте США №6,789,321 или патенте США №7,127,817. Многие из данных типов бритвенных приборов, обладающие функцией подачи жидкости на поверхность кожи, к сожалению, сталкиваются с множеством проблем. Например, внутренние устройства бритвенных приборов, как правило, нерентабельны с позиции крупносерийного производства. Кроме того, существуют проблемы с рабочими характеристиками и безопасностью, постоянно возникающие вследствие роста микробов внутри резервуара из-за продолжительного воздействия воздуха на часть оставшейся жидкости. Воздействие воздуха на жидкость может зачастую вызывать забивание жидкостью внутренних компонентов бритвенного прибора, что в результате влечет за собой поломку бритвенного прибора.

Хоть и известно, что бритвенные приборы с дозированием жидкости имеют определенные недостатки, существует необходимость в бритвенном приборе, выполненном с возможностью дозирования жидкости во время бритья, который бы являлся экономически целесообразным и надежным. В частности, существует необходимость в бритвенном приборе для влажного бритья с дозированием жидкости, выполненном с возможностью дозирования композиции во время бритья в тот момент времени, когда это является наиболее необходимым для кожи, который бы преодолел вышеуказанные проблемы, связанные с забиванием и ростом микробов.

СУЩНОСТЬ ИЗОБРЕТЕНИЯ

Согласно одному аспекту настоящее изобретение относится к бритвенному прибору для влажного бритья с дозированием текучего вещества во время бритья. Бритвенный прибор для влажного бритья содержит ручку и картридж бритвенного прибора, включающий корпус с проходом, конструкцию для присоединения картриджа и дозирующий текучее вещество элемент, расположенный в элементе для присоединения картриджа. Ручка имеет длину, протяженную от проксимального конца до дистального конца. Ручка включает полость для вмещения резервуара для текучего вещества, расположенного в ручке вблизи дистального конца, соединительный элемент, расположенный на проксимальном конце, и активируемый вручную дозатор, расположенный вдоль длины ручки между резервуаром и соединительным элементом.

Соединительный элемент содержит впускной конец соединительного элемента, имеющий отверстие, и выпускной конец соединительного элемента, имеющий отверстие, причем между ними проходит канал соединительного элемента. Канал соединительного элемента имеет сужающееся поперечное сечение, так что поперечное сечение канала соединительного элемента уменьшается от отверстия впускного конца до отверстия выпускного конца. Альтернативно, соединительный элемент содержит Y-образный канал, причем впускной конец соединительного элемента содержит одно отверстие, а выпускной конец соединительного элемента содержит два отверстия, при этом между ними проходит Y-образный канал соединительного элемента. В этом воплощении канал соединительного элемента содержит канал впускного конца, ведущий к двум каналам выпускного конца. Канал впускного конца и два канала выпускного конца имеют сужающиеся поперечные сечения, так что поперечные сечения каждого из каналов уменьшаются в направлении потока.

Картридж бритвенного прибора включает корпус, содержащий верхнюю часть, нижнюю часть, переднюю поверхность и заднюю поверхность, и конструкцию для присоединения картриджа, прикрепленную к задней поверхности корпуса. По меньшей мере одно лезвие расположено между верхней частью и нижней частью корпуса, и проход, расположенный между верхней частью и нижней частью, выполнен протяженным от задней поверхности до передней поверхности. Картридж бритвенного прибора присоединен с возможностью поворота к конструкции для присоединения картриджа и может быть присоединен с возможностью отсоединения к конструкции для присоединения. Кроме того, картридж бритвенного прибора может включать защитный элемент, а также эластомерный элемент, расположенный на защитном элементе.

Дозирующий текучее вещество элемент присоединен к конструкции для присоединения картриджа. Дозирующий текучее вещество элемент включает по меньшей мере один, предпочтительно два канала, причем каждый канал содержит отверстие дозирующего текучее вещество элемента на впускном конце дозирующего текучее вещество элемента и два отверстия дозирующего текучее вещество элемента на выпускном конце дозирующего текучее вещество элемента. Каналы дозирующего текучее вещество элемента сужаются от впускных концов дозирующего текучее вещество элемента до выпускных концов дозирующего текучее вещество элемента, так что поперечные сечения каналов уменьшаются от отверстий впускного конца до отверстий выпускного конца. Отверстия выпускного конца дозирующего текучее вещество элемента выполнены протяженными до прохода в корпусе или близко к нему, обеспечивая непосредственный контакт с кожей пользователя во время бритья. Дозирующий текучее вещество элемент связан по текучей среде с резервуаром и дозатором посредством соединительного элемента при стыковке конструкции для присоединения картриджа с проксимальным концом ручки.

Между отверстиями выпускного конца соединительного элемента и отверстиями впускного конца дозирующего элемента может быть расположено полое пространство или полость для обеспечения конфигурации соединительного элемента, характеризующейся одним сужающимся каналом. Полое пространство или полость могут быть выполнены как часть конструкции для присоединения картриджа. В конфигурации соединительного элемента, включающей Y-образный канал, два выпускных конца канала соединительного элемента могут непосредственно взаимодействовать с отверстиями впускного конца дозирующего текучее вещество элемента.

В другом воплощении картридж бритвенного прибора включает корпус, накладку и по меньшей мере одно лезвие, закрепленное на корпусе. Лезвие имеет кромку лезвия перед накладкой. Защитный элемент расположен перед лезвием. В защитном элементе образован продолговатый вырез или канавка, общая ширина которой, протяженная параллельно лезвию, составляет от 70% до 100% общей ширины защитного элемента. Продолговатый вырез связан по текучей среде с отверстием выпускного конца дозирующего текучее вещество элемента посредством проходов в корпусе картриджа и может быть заполнен текучим веществом, подаваемым из резервуара.

Для обеспечения прохождения текучего вещества во всем диапазоне поворота картриджа, отверстия выпускного конца дозирующего текучее вещество элемента выполнены расширяющимися. Наружные поверхности дозирующего текучее вещество элемента, расположенные вблизи отверстий выпускного конца, вогнуты в направлении отверстия, при этом внутренние поверхности отверстий образуют скошенный край. Расширяющиеся отверстия взаимодействуют с проходами в корпусе. Продолговатый вырез или канавка в защитном элементе, которая связана по текучей среде с проходами, может обеспечивать равномерное распределение текучего вещества вдоль длины лезвий. Микрогребни в защитном элементе между канавкой и лезвиями могут равномерно распределять текучее вещество вдоль ширины лезвия.

Дозатор расположен между резервуаром и соединительным элементом. Дозатор может содержать упругую трубку, расположенную между первым и вторым соединителями. Первый и второй соединители содержат первый и второй клапаны соответственно. Первый соединитель крепится к резервуару, а второй соединитель крепится к отверстию соединительного элемента. Упругая трубка характеризуется нейтральным положением, в котором оба клапана закрыты, и вторым положением, в котором один клапан открыт, а один клапан закрыт.

Текучее вещество хранится в резервуаре, расположенном в полости на дистальном конце ручки напротив соединительного элемента. Резервуар является сменным и содержит наружный контейнер, окружающий сжимаемый внутренний контейнер, и включает выпускное отверстие для текучего вещества, выполненное с возможностью обеспечения выпуска текучего вещества как из сжимаемого резервуара, так и из контейнера. Отверстие, расположенное в наружном контейнере, выполнено с возможностью обеспечения впуска и выпуска воздуха из контейнера. Выпускное отверстие для текучего вещества связано по текучей среде с дозатором, который выкачивает текучее вещество из сжимаемого резервуара. Выпускное отверстие для текучего вещества может включать хрупкое уплотнение, через которое проходит прокалывающий элемент, расположенный на конце первого соединителя, во время соединения резервуара с дозатором. Резервуар может быть расположен на дистальном конце ручки и может содержать открытый для обзора контейнер или флакон. Альтернативно, резервуар может быть закрыт крышкой.

Другие особенности и преимущества изобретения станут очевидными из описания и чертежей, а также из пунктов формулы изобретения.

КРАТКОЕ ОПИСАНИЕ ЧЕРТЕЖЕЙ

Фиг. 1 - вид сбоку бритвенного прибора для влажного бритья согласно настоящему изобретению.

Фиг. 2 - вид снизу бритвенного прибора для влажного бритья согласно настоящему изобретению.

Фиг. 3 - вид сверху бритвенного прибора для влажного бритья согласно настоящему изобретению.

Фиг. 4A - вид сверху конструкции для присоединения картриджа бритвенного прибора согласно настоящему изобретению.

Фиг. 4B - вид сзади конструкции для присоединения картриджа бритвенного прибора согласно настоящему изобретению.

Фиг. 4C - вид спереди конструкции для присоединения картриджа бритвенного прибора согласно настоящему изобретению.

Фиг. 5 - вид в перспективе в разрезе картриджа бритвенного прибора для влажного бритья, показанного на фиг. 1-3.

Фиг. 6A и 6B - виды в перспективе соединительного элемента бритвенного прибора для влажного бритья, показанного на фиг. 1-3.

Фиг. 7 - вид в перспективе альтернативного воплощения соединительного элемента, показанного на фиг. 6A и 6B.

Фиг. 8 - вид в поперечном сечении дозатора бритвенного прибора для влажного бритья, показанного на фиг. 1-3.

Фиг. 9 - вид в поперечном сечении дозатора, показанного на фиг. 8.

Фиг. 10 - вид сбоку резервуара бритвенного прибора для влажного бритья, показанного на фиг. 1-3.

Фиг. 11 - вид в перспективе упаковки, включающей сменные картриджи бритвенного прибора и сменные резервуары для текучего вещества согласно настоящему изобретению.

ПОДРОБНОЕ ОПИСАНИЕ ИЗОБРЕТЕНИЯ

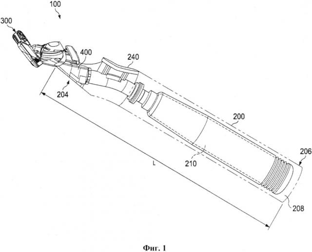
На фиг. 1-3 показан бритвенный прибор (100) для влажного бритья с дозированием жидкости, предназначенный для дозирования текучего вещества во время бритья, который включает ручку (200) и картридж (300) бритвенного прибора. Ручка (200) имеет длину (L), протяженную от проксимального конца (204) до дистального конца (206). Ручка также включает полость (208) для вмещения резервуара (230), расположенного в ручке (200), и активируемый вручную дозатор (240), расположенный вдоль длины (L) ручки (200). Узел (240) дозатора выполнен с возможностью перемещения текучего вещества из резервуара (230) в соединительный элемент (400), расположенный на проксимальном конце (204) ручки (200).

Как показано на фиг. 1-3, картридж (300) бритвенного прибора включает корпус (302), имеющий верхнюю часть (304), нижнюю часть (306), переднюю поверхность (308) и заднюю поверхность (310). Между верхней частью (304) и нижней частью (306) расположено по меньшей мере одно лезвие (314). Картридж (300) бритвенного прибора может также включать множество лезвий. Например, в патенте США №7,168,173 в сущности описан бритвенный прибор Fusion®, коммерчески доступный от Gillette, включающий картридж бритвенного прибора с множеством лезвий. Кроме того, проход (316) расположен между верхней частью (304) и нижней частью (306) таким образом, что проход (316) характеризуется протяженностью от задней поверхности (310) до передней поверхности (308). В одном воплощении корпус (302) может также содержать зажимы, которые используются для удерживания и сохранения устойчивости лезвий перед использованием бритвенного прибора, в течение него и после него.

Картридж (300) прикреплен к задней поверхности (310) корпуса (302) посредством конструкции (312) для присоединения картриджа. Конструкция (312) для присоединения картриджа включает два фиксатора (336), выполненные удлиненными для обеспечения поддержки корпуса (302) с возможностью поворота. Картридж выполнен с возможностью поворота относительно заданной оси, расположенной под поверхностью (330) защитного элемента. (Проходы 316а и 316b предпочтительно расположены на оси поворота, подробно описанной ниже, или вблизи нее).

Картридж (300) бритвенного прибора также может включать защитный элемент (330) и/или смазывающую полоску 332 на передней поверхности (308), расположенную между верхней частью (304) и нижней частью (306) корпуса (302). Защитный элемент (330) используется для растягивания поверхности кожи непосредственно перед контактом с лезвием или первым лезвием (если присутствует более одного лезвия). Защитный элемент (330) обычно может содержать эластомерный элемент для обеспечения комфортного для пользователя контакта. В патенте США №7,168,173 описан подходящий картридж бритвенного прибора и эластомерный материал без проходов. Эластомерный материал может быть выбран в соответствии с требованиями. Как правило, используемый эластомерный материал представляет собой блок-сополимер (или другие подходящие материалы), например, характеризующийся твердостью в диапазоне от 28 до 60 единиц по Шору по шкале А.

Картридж бритвенного прибора также может включать микрогребень (333), показанный на фиг. 5 и описанный в патенте США №8,209,867. Микрогребень (333) включает множество выступов, образующих множество открытых щелей, протяженных в сущности перпендикулярно кромке лезвия. Открытые щели имеют минимальный размер для обеспечения свободного прохождения волос к кромке лезвия и максимальный размер, предотвращающий попадание кожи между щелями. Микрогребни расположены между кромкой лезвия и проходами (316а и 316b) в корпусе и служат в качестве каналов для потока, обеспечивающих равномерное распределение текучего вещества перед кромкой лезвия.

Смазывающая полоска, с другой стороны, обеспечивает дополнительную обработку кожи после контакта текучего вещества с кожей. Смазывающая полоска может содержать те же компоненты для обработки кожи, которые присутствуют в текучем веществе, или дополнительные компоненты для обработки кожи. Подходящие смазывающие полоски описаны в патентах США №: 7,069,658, 6,944,952, 6,594,904, 6,182,365, D424J45, 6,185,822, 6,298,558 и 5,113,585. Смазывающая полоска может быть расположена в любом месте на картридже и содержать электролит, который выделяется на кожу, что дополнительно способствует распределению сгущенных/взвешенных полимерных ингредиентов. Электролит может представлять собой заряженные полимеры, соли, поверхностно-активные вещества или их смеси.

Конструкция (312) для присоединения картриджа может быть разъемным образом прикреплена к ручке (200), как описано в патентах США №D533,684, 5,918,369 и 7,168,173. Такая расстыковка указанных двух компонентов обеспечивает возможность замены картриджей бритвенного прибора, поскольку продолжительное использование таких картриджей приводит к затуплению лезвия. Таким образом, такие картриджи являются сменными и одноразовыми по желанию пользователя.

Картридж 300 бритвенного прибора содержит ось поворота, относительно которой корпус 302 картриджа прикреплен к конструкции (312) для присоединения картриджа. В одном воплощении один или более проходов 316а и 316b в передней поверхности 308 картриджа расположены на оси поворота или вблизи нее. Один или более проходов обеспечивают выдачу текучего вещества непосредственно на кожу на заданной оси поворота или вблизи нее. Неограничивающие примеры устройств, имеющих аналогичное расположение мест выпуска текучего вещества, можно найти в патенте США №6,789,321. В одном воплощении устройство содержит множество отверстий, причем одно или более из указанного множества отверстий расположено на оси поворота или вблизи нее. Одно или более отверстий может в сущности образовывать линию, протяженную вдоль части указанной оси поворота. Устройство может также содержать только одно отверстие, имеющее в целом продолговатую форму, расширяющуюся в направлении боковых концов картриджа бритвенного прибора, выполненное протяженным вдоль части оси поворота. Обеспечение одного или более отверстий, расположенных вдоль части оси поворота для любого дозируемого текучего вещества, приводит к большей вероятности образования тонкой, но широкой полоски текучего вещества. В настоящем документе представлены неограничивающие примеры подходящих отверстий, при этом они также могут быть найдены в опубликованной заявке на патент США №20110219621 A1.

ДОЗИРУЮЩИЙ ТЕКУЧЕЕ ВЕЩЕСТВО ЭЛЕМЕНТ

Картридж бритвенного прибора, показанный на фиг. 4A-4C, содержит дозирующий текучее вещество элемент (318), прикрепленный к конструкции (312) для присоединения картриджа. Дозирующий текучее вещество элемент (318) включает два канала (320а и 320b) дозирующего элемента с двумя отверстиями 322а и 322b впускного конца дозирующего элемента и двумя отверстиями 326а и 326b выпускного конца дозирующего элемента. Два отверстия 322а и 322b впускного конца дозирующего текучее вещество находятся в связи по текучей среде с отверстием (отверстиями) выпускного конца соединительного элемента, когда конструкция для присоединения картриджа соединена с проксимальным концом ручки, и два отверстия (326а и 326b) выпускного конца дозирующего элемента находятся в связи по текучей среде с проходами 316а и 316b в корпусе 302. Каналы (320а и 320b) дозирующего элемента сужаются от отверстий (322а и 322b) впускного конца дозирующего элемента к отверстиям 326а и 326b выпускного конца дозирующего элемента, так что поперечные сечения каналов (320а и 320b) дозирующего элемента уменьшаются от двух отверстий (322а и 322b) впускного конца дозирующего элемента до двух отверстий (326а и 326b) выпускного конца дозирующего элемента. Поперечные сечения каналов (320а и 320b) дозирующего элемента могут равномерно уменьшаться от отверстий (322а и 322b) впускного конца до отверстий (326а и 326b) выпускного конца. Поперечные сечения могут уменьшаться в горизонтальном направлении Н, вертикальном направлении V или обоих направлениях. Например, поперечные сечения каналов (320а и 320b) для дозирующего элемента 318 в конструкции (312) для присоединения, показанной на фиг. 4B и 4C, уменьшаются как в горизонтальном Н, так и в вертикальном направлениях V. После установления сообщения между отверстиями 322а и 322b впускного конца дозирующего текучее вещество элемента и отверстием (отверстиями) выпускного конца соединительного элемента, дозирующий текучее вещество элемент (318) находится в связи по текучей среде с дозатором (240), и вследствие активации дозатора (240) текучее вещество перемещается из резервуара (230) в полость (208) через проходы (316) к передней поверхности (308) корпуса (302) или близко к ней.

Если происходит забивание каналов (320а) и (320b) и/или картриджа (300) бритвенного прибора, или возникает иная проблема, например, затупление лезвий, пользователь может просто заменить картридж (300) и соответствующий дозирующий текучее вещество элемент (318). Дозирующий текучее вещество элемент (318) может быть выполнен за единое целое с конструкцией (312) для присоединения картриджа. Например, дозирующий текучее вещество элемент (318) может быть сформован и/или выполнен в виде одного узла с конструкцией (312) для присоединения картриджа.

Дозирующий конец (328) дозирующего элемента (318) выполнен протяженным до проходов 316а и 316b в корпусе (302) или близко к ним. На частичном виде корпуса 302 картриджа и дозирующего конца 328 дозирующего текучее вещество элемента 318, показанном на фиг. 5, дозирующий конец (328) стыкуется с возможностью зацепления с картриджем (300) бритвенного прибора в проходе (316b). Для предотвращения вытекания текучего вещества, когда бритвенный прибор (100) не используется, любое или все отверстия (например, 322а, 322b, 326а и 326b) могут содержать обратный клапан, например, щелевой клапан, клапан типа «утиный нос» или другие подходящие клапаны.

Как показано на фиг. 5, дозирующий текучее вещество элемент (318) содержит отверстия (326а, 326b) выпускного конца на дозирующем конце (328), причем картридж (300) бритвенного прибора включает проходы (316а, 316b). Отверстия (326а и 326b) выпускного конца в дозирующем конце (328) дозирующего текучее вещество элемента (318) могут быть коническими. Как показано, края отверстий (326а и 326b) выпускного конца расположены под углом относительно отверстий для обеспечения полного диапазона поворота картриджа 300 бритвенного прибора. В этом воплощении дозирующий конец (328) выступает наружу и выполнен протяженным во множество проходов (316а, 316b) к передней поверхности (308) или близко к ней. После установления сообщения между отверстиями (322а и 322b) впускного конца дозирующего текучее вещество элемента (318) и каналом (425) соединительного элемента, дозирующий текучее вещество элемент (318) находится в связи по текучей среде с дозатором (240). Вследствие активации дозатора (240) текучее вещество (210) перемещается из резервуара (230) через проходы (316а, 316b) к передней поверхности (308) корпуса (302) или близко к ней.

СОЕДИНИТЕЛЬНЫЙ ЭЛЕМЕНТ

Соединительный элемент 400, показанный на фиг. 6A и 6B, содержит впускной конец 420 соединительного элемента, содержащий отверстие 410, и выпускной конец (450) соединительного элемента, содержащий отверстие (440), причем между ними проходит канал 425 соединительного элемента. Канал 425 соединительного элемента имеет сужающееся поперечное сечение, причем поперечное сечение канала соединительного элемента сужается от отверстия 410 впускного конца до отверстия 440 выпускного конца. Уменьшение поперечного сечения относится к уменьшению площади по мере прохождения канала от отверстия 410 впускного конца до отверстия 440 выпускного конца вдоль канала. В соединительном элементе, показанном на фиг. 6A и 6B, поперечные сечения могут уменьшаться в горизонтальном направлении Н, вертикальном направлении V или обоих направлениях. Например, поперечное сечение канала (425) для соединительного элемента (400), показанного на фиг. 6A и 6B, уменьшается в вертикальном направлении V.

Для обеспечения визуальной индикации течения текучего вещества через бритвенный прибор в сборе, соединительный элемент 400 может включать прозрачное или полупрозрачное окно, обеспечивающее визуальную индикацию течения текучего вещества через соединительный элемент 400. Прозрачное или полупрозрачное окно может быть расположено на любой части соединительного элемента, которая открыта для обзора. Как показано на фиг. 2 и фиг. 6B, нижняя часть 460 соединительного элемента 400 может содержать прозрачное или полупрозрачное окно, открытое для обзора на нижней части бритвенного прибора (100) для влажного бритья с дозированием жидкости.

Как показано на фиг. 7, соединительный элемент 500 может содержать два отверстия 540а и 540b выпускного конца соединительного элемента, которые сообщаются с одним отверстием 510 впускного конца соединительного элемента, причем между ними проходит Y-образный канал. Y-образный канал содержит канал 520 впускного конца, ведущий к двум каналам 530а и 530b выпускного конца. Канал 520 впускного конца и два канала 530а и 530b выпускного конца имеют сужающиеся поперечные сечения, так что поперечные сечения каждого из каналов уменьшаются в направлении потока. Как было описано ранее, уменьшение поперечного сечения относится к уменьшению площади по мере прохождения канала от отверстия 510 впускного конца до отверстия 540 выпускного конца вдоль канала. Поперечные сечения могут уменьшаться в горизонтальном направлении, вертикальном направлении или обоих направлениях. В соединительном элементе, показанном на фиг. 7, поперечное сечение канала 520 впускного конца соединительного элемента уменьшается в вертикальном направлении V, причем два канала 530а и 530b выпускного конца соединительного элемента уменьшаются в горизонтальном Н и вертикальном V направлениях.

Сужающиеся каналы как в соединительном элементе, так и в дозирующем элементе, предпочтительно плавно сужаются, то есть они сужаются постепенно, в отличие от сужения прерывистым, ступенчатым образом вдоль канала. В результате этого обеспечивается равномерное поле течения текучего вещества, характеризующееся минимальным падением давления вдоль канала в направлении потока, при этом максимальное падение давления присутствует вблизи отверстий выпускного конца дозирующего элемента. Это способствует предотвращению накапливания веществ в местах наиболее вероятного возникновения забивания. Равномерное поле течения текучего вещества также характеризуется постоянным увеличением скорости, в результате чего образуются зоны течения или рециркуляции вдоль канала, что снижает забивание и предотвращает накапливание бактерий путем обеспечения выведения первым текучего вещества, которое первым поступило. В дополнение, вследствие равномерного поля течения текучего вещества снижается величина усилия, необходимого для активации дозатора, в результате чего требуется небольшое усилие, оказываемое на активатор (кнопку), для дозирования текучего вещества во время использования, а также снижается необходимость в заполнении дозатора.

ДОЗАТОР

Дозатор для бритвенного прибора с дозированием жидкости согласно настоящему изобретению представляет собой активируемый вручную дозатор, выполненный с возможностью переноса текучего вещества путем нажимания на активатор или кнопку несколько раз. Общий вид такого узла 240 дозатора показан на фиг. 8. Узел 240 дозатора включает гибкую трубку 248, расположенную между первым соединителем 242 и вторым соединителем 244, причем между ними расположен активатор (кнопка) 260. Первый клапан 250 расположен в первом соединителе 242 и второй клапан 252 расположен во втором соединителе 244. Первый соединитель 243 для обеспечения связи по текучей среде включает кончик 243, выполненный с возможностью прокалывания хрупкого уплотнения 232 в отверстии 232 резервуара 230 для текучего вещества для обеспечения связи по текучей среде между дозатором 240 и резервуаром 230 для текучего вещества. Внешняя стенка 245 первого соединителя 242 для обеспечения связи по текучей среде может быть герметична относительно внутренней стенки 234 резервуара 230 для текучего вещества для предотвращения протекания текучего вещества в полость 208 ручки 200. Соответственно, текучее вещество направляется в отверстие 246 первого соединителя 242 для обеспечения связи по текучей среде, связанного по текучей среде с узлом 240 дозатора. По продолговатой упругой трубке 248 перекачивается текучее вещество из резервуара 230 для текучего вещества через клапаны 250 и 252 в соединительный элемент 400.

Активатор 260 (например, кнопка) способствует перекачиванию текучего вещества из резервуара 230 для текучего вещества в соединительный элемент 400. Например, активатор 260 может сжимать упругую эластомерную трубку 248 для открытия второго клапана 252 и выпускания заданной дозы текучего вещества в соединительный элемент 400. Активатор 260 может быть отпущен для возврата упругой эластомерной трубки 248 в свое несжатое состояние. Когда упругая эластомерная трубка 248 возвращается в свое несжатое состояние, второй клапан 252 закрывается для предотвращения обратного потока текучего вещества и соответствующего загрязнения, связанного с ним, причем первый клапан 250 открывается, обеспечивая возможность заполнения упругой эластомерной трубки 248 текучим веществом для следующего выпуска посредством активатора 260. Это повторяющийся процесс, который подробно описан ниже.

Как показано на фиг. 8, второй соединитель 244 соединен с соединительным элементом 400 и находится в гидравлической связи с ним. Например, первый конец 272 второго соединителя 244 может быть установлен прессовой посадкой в отверстие 410 впускного конца соединительного элемента 400. Второй соединитель 244 содержит второй конец 274 с отверстием 276, имеющим соответствующие размеры для вмещения второго клапана 252. Второй конец 274 второго соединителя 244 соединен с дозатором 240 и находится в гидравлической связи с ним. Продолговатая упругая трубка 248 содержит второй конец 264, соединенный со вторым концом 274 второго соединителя 244. Второй соединитель 244 включает заплечик 256 для предотвращения прохождения первого конца 272 второго соединителя 244 слишком далеко в отверстие 410 впускного конца соединительного элемента 400. Упругая трубка 248 содержит первый конец 262, соединенный с первым соединителем 242 и находящийся в гидравлической связи с ним. Первый соединитель 242 может быть полужестким и содержать второй конец 282, установленный прессовой посадкой в первый конец 262 упругой трубки 248. Второй конец 282 первого соединителя 242 содержит отверстие 286, протяженное через первый соединитель 242. Отверстие 286 имеет соответствующие размеры для вмещения первого клапана 250 (например, клапана типа «утиный нос»). Первый соединитель 242 может содержать первый конец 280, установленный прессовой посадкой в отверстие 232 резервуара 230. Первый конец 280 первого соединителя 242 включает кончик 243 для прокалывания хрупкого уплотнения 238 в отверстии 232 резервуара. Первый соединитель 242 включает заплечик 266 для предотвращения прохождения первого конца 280 первого соединителя 242 слишком далеко в отверстие 232 резервуара и прохождения второго конца 282 слишком далеко в упругую трубку 248.

Клапаны 250 и 252 могут представлять собой клапаны одностороннего действия (например, обратные клапаны, откидные клапаны и запорные клапаны), которые соединены последовательно. Примеры используемых обратных клапанов включают кроме прочих шаровые обратные клапаны, поворотные обратные клапаны или обратные клапаны с наклонным седлом, обратные стопорные клапаны, подъемные обратные клапаны и клапаны типа "утиный нос". Размещение клапанов 250 и 252 в первом и втором соединителях 242, 244 экономит пространство, а также способствует предотвращению смещения клапанов 250 и 252 из их положения.

В определенных воплощениях активатор 260 может непосредственно контактировать и сжимать упругую трубку 248. На фиг. 9 показан вид в поперечном сечении активатора 260 для дозатора 240 согласно настоящему изобретению. Нижняя часть 266 активатора 260 может иметь такую форму, чтобы соответствовать внутреннему контуру полости 208 ручки, причем она оптимальным образом изогнута от задней части к передней для сведения к минимуму напряжений, воздействующих на упругую трубку 248. Хотя активатор может быть расположен в любом месте вдоль длины упругой трубки 248 между первым и вторым клапанам 250, 252, предпочтительно, чтобы он был расположен по центру упругой трубки 248.

При вдавливании активатор 260 сжимает упругую трубку 248, открывая второй клапан 252, в то время как первый клапан 250 остается закрытым. Каждый из первого и второго клапанов 250 и 252 может иметь сплющенный конец в закрытом состоянии. Сплющенные концы открываются для обеспечения прохождения жидкости после приложения давления и закрываются для предотвращения обратного потока жидкости после прекращения воздействия давления (например, когда активатор 260 отпущен и не сжимает упругую трубку 248). Первый клапан 250 открывается (и второй клапан 252 закрывается), когда достигается отрицательное давление в упругой трубке 248 (например, когда активатор 260 отпущен и больше не сжимает упругую трубку 248, обеспечивая возможность ее возвращения в несжатое состояние). Свойства упругости (например, удлинение при разрыве и твердость) и толщина стенки могут способствовать возврату упругой трубки 248 в ее естественное состояние и достижению отрицательного давления в упругой трубке 248. Когда второй клапан 252 закрыт, и первый клапан 250 открыт, жидкость может перемещаться из резервуара 230 через отверстие 234 резервуара и через первый клапан 250 в упругую трубку 248. Размещение упругой трубки 248 между парой расположенных последовательно клапанов одностороннего действия предотвращает обратный поток веществ, остающихся после бритья, и микробов в дозатор 240 и резервуар 230. В определенных воплощениях упругая трубка 248 может обеспечивать возврат активатора 260 в его исходное положение. Соответственно, нет необходимости в дополнительном элементе возвратного усилия (например, пружине), предназначенном для возврата активатора 260 в его исходное положение. Упругая трубка 248 может быть экструдирована или сформована из материалов, характеризующихся твердостью по Шору по шкале A от приблизительно 40 до приблизительно 90 единиц (стандарт ISO 868), включая кроме прочего термопластичные эластомеры (ТРЕ), поливинилхлорид (PVC), силиконы, каучуки или любую их комбинацию. Упругая трубка 248 может содержать материал, характеризующийся прочностью на разрыв, составляющей приблизительно 8 МПа, 9 МПа или от 10 МПа до приблизительно 12 МПа, 13 МПа или 14 МПа (стандарт ISO 37). Упругая трубка 248 может содержать материал, характеризующийся относительным удлинением при разрыве, составляющим приблизительно 300% мм2, 400% мм2, или от 500% мм2 до приблизительно 600% мм2, 700% мм2, или 800% мм2 (стандарт ISO 37). Упругая трубка 248 может характеризоваться номинальной толщиной стенки, составляющей приблизительно 0,5 мм, 0,75 мм, или от 1 мм до приблизительно 1,25 мм, 1,5 мм, или 2 мм для обеспечения достаточной гибкости для эффективного сжатия гибкой трубки 248 посредством активатора 260, однако гибкость не должна быть высокой настолько, чтобы упругая эластомерная трубка 248 не могла возвращаться в свое исходное положение при повторном сжатии.

РЕЗЕРВУАР

Полость 208 включает резервуар 230, вмещающий текучее вещество 210. Резервуар 208 может включать сменный флакон. На фиг. 10 показан резервуар 230, содержащий текучее вещество 210. Резервуар 230 включает наружный контейнер (231), окружающий сжимаемый резервуар (233). Контейнер 231 и сжимаемый резервуар 233 содержат расположенные на одной линии отверстия, которые совместно образуют выпускное отверстие (235) для теку