Устройство для удаления нефти из-подо льда

Иллюстрации

Показать все

Изобретение относится к устройствам для очистки водоемов от нефти подо льдом. Устройство содержит длинную трос-швабру в виде бесконечной петли, отклоняющее колесо, установленное на расстоянии от отверстия подо льдом. Устройство включает силовое устройство, имеющее приводное колесо, для перемещения указанной петли по замкнутому контуру через приводное колесо и отклоняющее колесо, и чистящее устройство для очистки трос-швабры от загрязняющих веществ, прилипших к ней. Обеспечивается повышение эффективности удаления нефтяных и подобных загрязнений из-под нижней поверхности сплошного льда. 6 з.п. ф-лы, 3 ил.

Реферат

Область техники

Изобретение относится к устройству для удаления нефти и других загрязнений, которые плавают в воде, то есть легче воды, из-подо льда через отверстие во льду.

Предпосылки создания изобретения

Удаление нефти с поверхности воды с помощью нефтезадерживающих бонов и скиммеров-нефтесборщиков, снабженных вращающимися щетками, осуществляют по передовой и функциональной технологии. Кроме того, в особенности на ограниченных площадях, таких как бассейны, нефть эффективно собирают так называемой трос-шваброй. Трос-швабра представляет собой длинный бесконечный трос из мягкой и толстой ткани, ворсистой нитяной структуры или эквивалентной полой структуры, плавающей в воде. Она может двигаться по замкнутому контуру через соответствующие отклоняющие колеса, установленные на поверхности воды, и подниматься на приводное колесо, где она отжимается перед возвращением обратно в воду. Трос-швабра впитывает загрязняющие вещества с поверхности воды. Ее нитяную структуру и, соответственно, впитывающую способность можно изменять в зависимости от собираемых загрязняющих веществ. Кроме того, разработаны устройства для удаления нефти из-подо льда, по меньшей мере до некоторой степени. Однако при авариях, происходящих зимой, нефть часто оказывается под сплошным льдом, и в этом случае известные способы сбора нефти не позволяют удалить слой нефти, находящийся под нижней поверхностью льда.

Цель изобретения

Цель изобретения состоит в создании нового устройства для удаления нефтяных и подобных загрязнений из-под нижней поверхности сплошного льда.

Сущность изобретения

Устройство согласно изобретению предназначено для удаления нефти или подобных плавающих загрязняющих веществ с нижней поверхности сплошного льда через выполненное в нем отверстие как в море и озерах, так и в закрытых бассейнах. Устройство содержит длинную трос-швабру в виде бесконечной петли и отклоняющее колесо, установленное на расстоянии от отверстия подо льдом. Устройство также содержит силовое устройство, имеющее приводное колесо для перемещения указанной петли по замкнутому контуру через приводное колесо и отклоняющее колесо и чистящее устройство для очистки трос-швабры от загрязняющих веществ, прилипших к ней.

В одном варианте осуществления изобретения устройство содержит двигательное устройство, содержащее указанное отклоняющее колесо, для перемещения трос-швабры по существу по прямой линии подо льдом.

В другом варианте осуществления изобретения указанное отклоняющее колесо установлено стационарно в другом отверстии подо льдом.

Трос-швабра согласно изобретению состоит из нитяной структуры, плавающей в воде и впитывающей нефть. Это толстый и мягкий бесконечный ремень, известный сам по себе в области борьбы с разлившейся нефтью и имеющий впитывающую структуру, материал и состав которой можно изменять в зависимости от типа нефти или другого эквивалентного загрязняющего вещества, собираемого в конкретном случае. Трос-швабра имеет оптимальные абсорбционные характеристики.

Двигательное устройство является плавучим, чтобы обеспечить удерживание трос-швабры, движущейся по замкнутому контуру, в контакте с нижней поверхностью льда.

Двигательное устройство содержит раму, на которой установлено отклоняющее колесо, и тянущее средство для перемещения двигательного устройства и трос-швабры в сторону от отверстия, выполненного во льду. Тянущее средство может представлять собой гребной винт, вращающийся снаружи от рамы. Тянущее средство может также быть выполнено в виде водоструйного устройства, и в этом случае гребной винт или подобное устройство размещено в выполненном в раме канале и обеспечивает прохождение по этому каналу потока воды.

В одном из вариантов осуществления изобретения направление тяги тянущего средства проходит под углом относительно направления трос-швабры, выходящей из указанного отверстия. Тянущее средство сперва перемещает трос-швабру по прямой линии в любом направлении от отверстия во льду, а затем, удерживая трос-швабру сравнительно туго натянутой, поворачивает ее по кругу подо льдом вокруг выполненного в нем отверстия. Таким путем трос-швабра вытирает круговую площадь на нижней поверхности льда вокруг отверстия.

Для работы двигательного устройства тянущего средства требуется энергия. Так как тянущее средство должно быть малогабаритным, легким и должно плавать в воде, нет смысла размещать в нем самом большие двигатели или источники энергии. Поэтому предпочтительно, чтобы тянущее средство было соединено с источником энергии, таким как силовое устройство, с помощью средства передачи энергии, такого как гидравлический шланг или электрический провод. Таким образом, достаточно снабдить тянущее средство малогабаритным и легким гидравлическим двигателем или электродвигателем, который обеспечивает работу двигательного устройства.

Преимущества изобретения

Устройство согласно изобретению имеет значительные преимущества по сравнению с известными устройствами.

Устройство согласно изобретению является простым, надежным и малогабаритным. При его установке для немедленного использования достаточно лишь иметь большое отверстие во льду, чтобы можно было опустить устройство в воду.

Краткое описание чертежей

Сопровождающие чертежи, предназначенные для лучшего понимания изобретения и составляющие часть настоящей заявки, иллюстрируют один вариант осуществления изобретения и вместе с описанием поясняют его принципы. На чертежах:

фиг. 1 схематично изображает вид сбоку устройства согласно изобретению,

фиг. 2 изображает это же устройство снизу, то есть подо льдом, и

фиг. 3 схематично изображает вид сбоку другого варианта осуществления изобретения.

Подробное описание изобретения

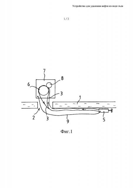
Устройство согласно изобретению, показанное на фиг. 1 и 2, размещают на льду 1 около выполненного в нем отверстия 2. Устройство содержит силовое устройство 7 с приводным колесом 6. С помощью приводного колеса перемещается по замкнутому контуру трос-швабра 3 в форме бесконечной ленты, то есть петли. Силовое устройство 7 содержит чистящее устройство 8, в данном варианте выполнения прижимной ролик, прижимающий трос-швабру 3 к приводному колесу. При этом трос-швабра 3 сжимается и по существу отжимается досуха, то есть из нее удаляется жидкость, поглощенная под водой.

Трос-швабра 3 выполнена с возможностью опускания ее в воду через отверстие 2 во льду и с возможностью плавать, касаясь нижней поверхности льда 2, поскольку она легче воды. Подо льдом находится также двигательное устройство 5, через отклоняющее колесо 4 которого проходит трос-швабра 3 в форме петли. Двигательное устройство снабжено гребным винтом или водоструйным двигателем, тянущим петлю трос-швабры относительно прямолинейно в сторону от отверстия 2 во льду. Кроме того, тянущее или толкающее усилие двигательного устройства направлено под углом относительно главного направления трос-швабры.

Таким образом, двигательное устройство сначала тянет трос-швабру по прямой линии и затем начинает перемещать ее вокруг отверстия 2 так, чтобы при своем повороте трос-швабра очищала нижнюю поверхность льда вокруг отверстия 2, при этом радиус круга очищаемой площади соответствует протяженности трос-швабры подо льдом. Двигательное устройство 5 соединено с силовым устройством средством 9 передачи энергии, которое может представлять собой гидравлический шланг или электрический кабель.

Использование устройства согласно изобретению очень простое. В зоне аварийного разлива нефти во льду 1 проделывают отверстие 2 и устанавливают вблизи него силовое устройство 7. Силовое устройство может иметь собственный двигатель, такой как двигатель внутреннего сгорания, который обеспечивает автономную работу. Через выполненное во льду отверстие в воду опускают двигательное устройство 5, через отклоняющее колесо которого проходит трос-швабра 3. Двигательное устройство тянет трос-швабру в воде у нижней поверхности льда, причем один конец трос-швабры проходит через приводное колесо силового устройства. Как только трос-швабра располагается по прямой линии, устройство может быть запущено и двигательное устройство будет поворачивать трос-швабру так, чтобы очищать круговую площадь с центром в отверстии 2. Когда трос-швабра попадает в чистящее устройство 8 силового устройства 6, она отжимается, освобождаясь от нефти, и возвращается в воду. Можно выполнить несколько таких циклов, пока не будут удалены все загрязняющие вещества. Затем во льду на соответствующем расстоянии проделывают другое отверстие и продолжают очистку. Чтобы проход трос-швабры из отверстия в воду под лед был более плавным, нижний край отверстия можно скруглить. Кроме того, в отверстии на уровне нижней поверхности льда можно поместить ролики или криволинейные и скользкие направляющие поверхности, обеспечивающие равномерное скольжение трос-швабры.

Вариант осуществления изобретения, показанный на фиг. 3, содержит силовое устройство 7 с приводным колесом 6, с помощью которого перемещается по замкнутому контуру трос-швабра 3 в виде бесконечной ленты, то есть петли. Силовое устройство 7 содержит также чистящее устройство 8, в данном варианте выполнения, прижимной ролик, прижимающий трос-швабру 3 к приводному колесу. При этом ленточная швабра 3 сжимается и отжимается по существу досуха, то есть жидкость, абсорбированная под водой, удаляется.

Трос-швабра 3 выполнена с возможностью проходить в воду через отверстие 2 во льду и с возможностью плавать, касаясь нижней поверхности льда 2, поскольку она легче воды. На расстоянии от отверстия 2 во льду имеется другое отверстие 10, в котором подо льдом установлено отклоняющее колесо 11, так что трос-швабра 3 в форме петли проходит через оба этих колеса 6 и 11. Таким образом трос-швабра очищает нижнюю поверхность льда между отверстиями 2 и 10.

Специалистам в данной области очевидно, что по мере технического прогресса основная идея изобретения может быть реализована различными способами. Поэтому изобретение не ограничено вариантами его осуществления, описанными выше, и допускает различные изменения в пределах объема, определяемого формулой изобретения.

1. Устройство для удаления нефти из-подо льда (1) через выполненное в нем отверстие (2), отличающееся тем, что оно содержит длинную трос-швабру (3) в виде бесконечной петли, отклоняющее колесо (4), установленное на расстоянии от отверстия подо льдом, силовое устройство (7), имеющее приводное колесо (6), для перемещения указанной петли по замкнутому контуру через приводное колесо и отклоняющее колесо, и чистящее устройство (8) для очистки трос-швабры от загрязняющих веществ, прилипших к ней.

2. Устройство по п. 1, отличающееся тем, что оно содержит двигательное устройство (5), содержащее указанное отклоняющее колесо (4), для перемещения трос-швабры по существу по прямой линии подо льдом.

3. Устройство по п. 1 или 2, отличающееся тем, что трос-швабра состоит из нитяной структуры, плавающей в воде и впитывающей нефть.

4. Устройство по п. 2, отличающееся тем, что двигательное устройство является плавучим для удерживания трос-швабры, движущейся по замкнутому контуру в контакте с нижней поверхностью льда.

5. Устройство по п. 2, отличающееся тем, что двигательное устройство содержит раму для поддержания отклоняющего колеса и тянущее средство, такое как гребной винт для перемещения двигательного устройства и трос-швабры в сторону от отверстия, выполненного во льду.

6. Устройство по п. 5, отличающееся тем, что направление тяги тянущего средства проходит под углом относительно направления трос-швабры, выходящей из указанного отверстия, для ее поворота по кругу подо льдом вокруг этого отверстия.

7. Устройство по п. 5 или 6, отличающееся тем, что тянущее средство соединено средством передачи энергии, таким как гидравлический шланг или электрический провод, с источником энергии, таким как силовое устройство.