Емкостный измерительный преобразователь, система и способ изготовления емкостного измерительного преобразователя

Иллюстрации

Показать все

Настоящее изобретение к измерительной технике, в частности к емкостному измерительному преобразователю для обнаружения и измерения электрического поля. Предлагается емкостный измерительный преобразователь с возможностью измерения электрического поля, содержащий защитный цилиндрический корпус, расположенный в продольном направлении вдоль своей оси, датчик электрического поля, установленный внутри защитного цилиндрического корпуса, питающий электрод, слой диэлектрического изоляционного материала, при этом указанный защитный цилиндрический корпус (2) выполнен из оболочки (7), снабженной группой первых сквозных отверстий (8), причем площадь каждого из первых сквозных отверстий (8) выбрана из диапазона значений от минимального значения 0,1 мм2 до максимального значения 3,0 мм2. Также предлагается система и способ изготовления указанного емкостного измерительного преобразователя. Технический результат настоящего изобретения заключается в повышении точности измерения электрического поля с одновременным повышением прочности, надежности и долговечности емкостного измерительного преобразователя. 3 н. и 25 з.п. ф-лы, 20 ил.

Реферат

Настоящее изобретение относится к емкостному измерительному преобразователю для обнаружения и измерения электрического поля, а также к системе и способу их изготовления.

В частности, настоящее изобретение относится к емкостному измерительному преобразователю для обнаружения и измерения электрического поля, включающему защитный цилиндрический корпус, датчик электрического поля и питающий электрод, полимерный диэлектрический изоляционный материал, а также к системе и способу изготовления указанного емкостного измерительного преобразователя.

Уровень техники

В настоящее время, существующие емкостные измерительные преобразователи для обнаружения и измерения электрического поля, а также существующие системы и способы их изготовления, имеют ряд недостатков.

Первый недостаток заключается в том, что в составе полимера диэлектрического материала, расположенного внутри и вокруг защитного цилиндрического корпуса емкостного измерительного преобразователя, имеются вакуоли (пузырьки воздуха), приводящие к возникновению такого нежелательного явления, как частичный разряд.

Второй недостаток заключается в том, что наблюдается отделение указанного полимера относительно защитного цилиндрического корпуса емкостного измерительного преобразователя и/или относительно датчика электрического поля и/или относительно прочих составных элементов емкостного измерительного преобразователя, что также приводит к возникновению такого нежелательного явления, как частичный разряд.

Третий недостаток заключается в том, что вышеуказанный полимер характеризуется недостаточной адгезией и/или недостаточно прочным соединением с составными элементами емкостного измерительного преобразователя и/или указанный полимер испытывает сжимающее действие со стороны указанных составных элементов. Поэтому, при изменении свойств полимера в результате старения, происходит отслаивание указанного полимера от элементов емкостного измерительного преобразователя, что приводит в дальнейшем к возникновению частичных разрядов. Данный недостаток в частности проявляется, когда емкостный измерительный преобразователь эксплуатируется в условиях цикличности изменения рабочей температуры (в режиме высокая/низкая температура).

Раскрытие изобретения

Задачей настоящего изобретения является устранение вышеуказанных недостатков.

Технический результат настоящего изобретения заключается в повышении точности измерения электрического поля с одновременным повышением прочности, надежности и долговечности емкостного измерительного преобразователя.

Для достижения вышеуказанного технического результата предложен емкостный измерительный преобразователь для измерения электрического поля, включающий защитный цилиндрический корпус, расположенный в продольном направлении вдоль своей оси и снабженный первым открытым концом, датчик электрического поля, установленный внутри защитного цилиндрического корпуса, питающий электрод, слой диэлектрического изоляционного материала, установленный внутри и вокруг защитного цилиндрического корпуса, при этом защитный цилиндрический корпус выполнен из оболочки, снабженной группой первых сквозных отверстий, причем площадь каждого из первых сквозных отверстий выбрана из диапазона значений от минимального значения 0,1 мм2 до максимального значения 3,0 мм2.

Согласно настоящему изобретению группа первых сквозных отверстий может содержать отверстия вытянутой формы, при этом каждое из указанных сквозных отверстий может быть выполнено продолговатой формы с длинным размером и коротким размером, причем длинный размер каждого сквозного отверстия может быть расположен параллельно оси защитного цилиндрического корпуса.

Согласно настоящему изобретению датчик электрического поля может быть снабжен группой вторых сквозных отверстий.

Согласно настоящему изобретению питающий электрод может быть установлен снаружи относительно защитного цилиндрического корпуса и в осевом направлении с зазором относительно первого открытого конца защитного цилиндрического корпуса.

Согласно настоящему изобретению защитный цилиндрический корпус может содержать второй закрытый конец, противоположно расположенный по отношению к первому открытому концу, при этом питающий электрод может содержать стержень и свободный конец, причем стержень может быть расположен в осевом направлении внутри защитного цилиндрического корпуса по направлению ко второму закрытому концу защитного цилиндрического корпуса, причем свободный конец может быть расположен внутри защитного цилиндрического корпуса и в осевом направлении с зазором относительно датчика электрического поля.

Согласно настоящему изобретению защитный цилиндрический корпус может содержать второй закрытый конец, противоположно расположенный по отношению к первому открытому концу, при этом питающий электрод может содержать головку, стержень и свободный конец, причем головка может быть расположена вблизи первого открытого конца защитного цилиндрического корпуса и снаружи относительно защитного цилиндрического корпуса, при этом стержень может быть расположен в осевом направлении внутри защитного цилиндрического корпуса по направлению ко второму закрытому концу защитного цилиндрического корпуса, причем свободный конец может быть расположен внутри защитного цилиндрического корпуса и в осевом направлении с зазором относительно датчика электрического поля.

Согласно настоящему изобретению датчик электрического поля может быть выполнен в форме чаши и/или сферического купола с открытой частью, причем открытая часть может быть расположена по направлению к питающему электроду.

Согласно настоящему изобретению защитный цилиндрический корпус может содержать второй открытый конец, противоположно расположенный по отношению к первому открытому концу, при этом питающий электрод может содержать стержень, расположенный в осевом направлении внутри и вдоль защитного цилиндрического корпуса, причем датчик электрического поля может быть расположен в радиальном направлении с зазором относительно стержня.

Согласно настоящему изобретению защитный цилиндрический корпус может содержать второй открытый конец, противоположно расположенный по отношению к первому открытому концу, при этом питающий электрод может содержать первую головку, стержень и вторую головку, причем первая головка может быть расположена вблизи первого открытого конца защитного цилиндрического корпуса и снаружи относительно защитного цилиндрического корпуса, при этом вторая головка может быть расположена вблизи второго открытого конца защитного цилиндрического корпуса и снаружи относительно защитного цилиндрического корпуса, причем стержень может быть расположен в осевом направлении внутри и вдоль защитного цилиндрического корпуса, при этом датчик электрического поля может быть расположен в радиальном направлении с зазором относительно стержня.

Согласно настоящему изобретению защитный цилиндрический корпус может быть выполнен из листового металла, снабженного первыми сквозными отверстиями и согнутого в форме цилиндра с двумя аксиальными кромками, при этом защитный цилиндрический корпус может содержать первый сварной шов, расположенный в осевом направлении и выполненный с возможностью соединения двух аксиальные кромок.

Согласно настоящему изобретению защитный цилиндрический корпус может быть выполнен из сетки или решетки или ситоткани с проволочными элементами, при этом проволочные элементы могут быть выполнены с пересечением друг друга, могут образовывать группу первых сквозных отверстий и могут быть выполнены из проводящего материала.

Согласно настоящему изобретению сетка или решетка или ситоткань может содержать первую группу проволочных элементов и вторую группу проволочных элементов, выполненных с пересечением друг друга, причем первая группа проволочных элементов и вторая группа проволочных элементов могут образовывать сетку или решетку или ситоткань со сквозными отверстиями, точки пересечения или контакта между собой, проволочные сегменты, ограниченные точками пересечения или контакта, при этом в точках пересечения или контакта соответствующие первые проволочные элементы и соответствующие вторые проволочные элементы могут быть выполнены с возможностью взаимного перемещения.

Также для достижения вышеуказанного технического результата предложена система для изготовления емкостного измерительного преобразователя для измерения электрического поля, включающая защитный цилиндрический корпус, расположенный в продольном направлении вдоль своей оси и снабженный первым открытым концом и вторым концом, датчик электрического поля, установленный внутри защитного цилиндрического корпуса, питающий электрод, установленный снаружи относительно защитного цилиндрического корпуса и вблизи первого открытого конца, или питающий электрод, снабженный стержнем, установленным соосно внутри защитного цилиндрического корпуса, слой диэлектрического изоляционного материала, установленный внутри защитного цилиндрического корпуса, литейную форму, снабженную по меньшей мере одним литниковым каналом, при этом защитный цилиндрический корпус выполнен из оболочки, содержащей наружную сторону и снабженной группой первых сквозных отверстий, выполненных продолговатой формы, причем каждое из первых сквозных отверстий выполнено с длинным размером и коротким размером, при этом длинный размер каждого сквозного отверстия расположен параллельно оси защитного цилиндрического корпуса, причем слой диэлектрического изоляционного материала выполнен из компаунда, характеризующегося возможностью нахождения в первом жидком или пастообразном состоянии и втором твердом состоянии, в указанных литниковых каналах литейной формы с заливкой компаунда в его первом жидком или пастообразном состоянии по направлению к наружной стороне оболочки защитного цилиндрического корпуса и с прилеганием компаунда вплотную к наружной стороне оболочки.

Кроме того для достижения вышеуказанного технического результата предложен способ изготовления емкостного измерительного преобразователя для измерения электрического поля, содержащего защитный цилиндрический корпус, расположенный в продольном направлении вдоль своей оси и снабженный первым открытым концом и вторым концом, датчик электрического поля, установленный внутри защитного цилиндрического корпуса, питающий электрод, установленный снаружи относительно защитного цилиндрического корпуса и вблизи первого открытого конца, или питающий электрод, снабженный стержнем, установленным соосно внутри защитного цилиндрического корпуса, слой диэлектрического изоляционного материала, установленный внутри защитного цилиндрического корпуса, выполненного из оболочки, снабженной группой первых сквозных отверстий, выполненных продолговатой формы с коротким размером и длинным размером, расположенным параллельно оси защитного цилиндрического корпуса, включающий расположение слоя диэлектрического изоляционного материала внутри защитного цилиндрического корпуса и получение слоя диэлектрического изоляционного материала из компаунда, характеризующегося возможностью нахождения в первом жидком или пастообразном состоянии и втором твердом состоянии, при этом он содержит операционный этап, в ходе которого осуществляют протекание или прохождение компаунда в своем первом жидком или пастообразном состоянии через группу первых сквозных отверстий внутрь защитного цилиндрического корпуса с получением внутри защитного цилиндрического корпуса слоя диэлектрического изоляционного материала.

Благодаря емкостному измерительному преобразователю в соответствии с настоящим изобретением, а также благодаря соответствующим системе и способу его изготовления, становится возможным выполнение указанного емкостного преобразователя с высокими характеристиками в части экранирования от окружающих электрических полей, а также становится возможным выполнение указанного емкостного измерительного преобразователя без вакуолей и без отслаивания диэлектрического изоляционного слоя.

Краткое описание чертежей

Прочие особенности и преимущества настоящего изобретения с особой очевидностью вытекают из ниже следующего описания ряда предпочтительных вариантов осуществления настоящего изобретения, приводимых здесь в качестве примеров, не ограничивающих объем притязаний и снабженных ссылками на следующие сопровождающие чертежи:

На Фиг. 1 представлен первый вариант осуществления емкостного измерительного преобразователя по настоящему изобретению.

На Фиг. 2 представлен второй вариант осуществления емкостного измерительного преобразователя по настоящему изобретению.

На Фиг. 3 представлен третий вариант осуществления емкостного измерительного преобразователя по настоящему изобретению.

На Фиг. 4 представлен защитный цилиндрический корпус, выполненный из листового материала.

На Фиг. 5 и Фиг. 6 представлен защитный цилиндрический корпус, выполненный из листового материала, в котором первые отверстия имеют форму ромба, при этом на Фиг. 6 представлен вид в разрезе по секущей линии А-А, изображенной на Фиг. 5.

На Фиг. 7 и Фиг. 8 представлен защитный цилиндрический корпус, выполненный из листового материала, в котором первые отверстия имеют форму эллипса, при этом на Фиг. 8 представлен вид в разрезе по секущей линии Б-Б, изображенной на Фиг. 7.

На Фиг. 9 и Фиг. 10 представлен защитный цилиндрический корпус, выполненный из листового материала, в котором первые отверстия имеют форму прямоугольного выреза, при этом на Фиг. 10 представлен вид в разрезе по секущей линии В-В, изображенной на Фиг. 9.

На Фиг. 11 и Фиг. 12 представлен защитный цилиндрический корпус, выполненный из листового материала, в котором первые отверстия имеют форму шестиугольника, при этом на Фиг. 12 представлен вид в разрезе по секущей линии Г-Г, изображенной на Фиг. 11.

На Фиг. 13 представлен защитный цилиндрический корпус, выполненный из сетки или решетки или ситоткани.

На Фиг. 14 и Фиг. 15 представлен защитный цилиндрический корпус, выполненный из ситоткани, в котором первые отверстия имеют форму ромба, при этом на Фиг. 15 представлен вид в разрезе по секущей линии Д-Д, изображенной на Фиг. 14.

На Фиг. 16 и Фиг. 17 представлен защитный цилиндрический корпус, выполненный из ситоткани, в котором первые отверстия имеют форму прямоугольника, при этом на Фиг. 17 представлен вид в разрезе по секущей линии Ε-Ε, изображенной на Фиг. 16.

На Фиг. 18 представлен пример выполнения защитного цилиндрического корпуса из гофрированной проволочной сетки с переплетением проволочных элементов.

На Фиг. 19 представлен пример выполнения защитного цилиндрического корпуса из проволочной сетки с соединением проволочных элементов электросваркой.

На Фиг. 20 представлены система и способ изготовления емкостного измерительного преобразователя, изображенного на Фиг. 2.

Осуществление изобретения

Наиболее предпочтительный вариант осуществления изобретения. Выполнение емкостного измерительного преобразователя, изображенного на Фиг. 1, Фиг. 2 и Фиг. 3.

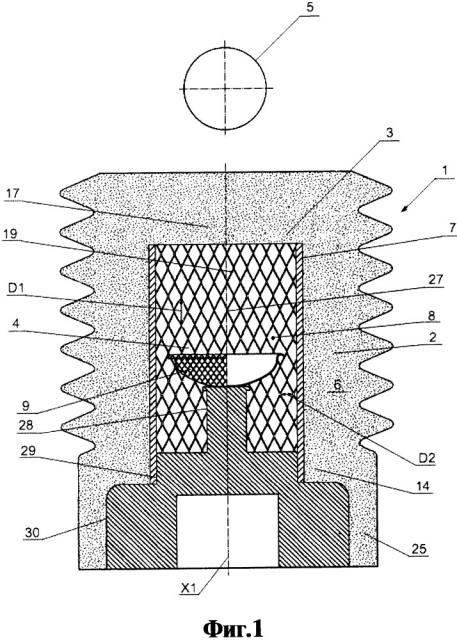
На Фиг. 1 представлен первый вариант осуществления емкостного измерительного преобразователя, обозначенного позицией 1, содержащего защитный цилиндрический корпус 2, проходящий в продольном направлении вдоль своей оси Х1 и снабженный первым открытым концом 3, датчик электрического поля 4, установленный внутри указанного защитного цилиндрического корпуса 2, питающий электрод 5, установленный вблизи указанного первого открытого конца 3, слой диэлектрического изоляционного материала 6, установленный внутри указанного защитного цилиндрического корпуса и вокруг него 2, при этом указанный слой изоляционного материала выполнен с возможностью образования несущего элемента.

Указанный защитный цилиндрический корпус 2 выполнен из оболочки 7, снабженной группой первых сквозных отверстий 8, в которой каждое первое сквозное отверстие 8 характеризуется величиной площади в интервале значений от минимального значения 0,1 мм2 до максимального значения 3,0 мм2.

Каждое первое сквозное отверстие 8 выполнено вытянутым по форме и характеризуется большим размером D1 и меньшим размером D2, причем наибольший размер D1 расположен параллельно оси Х1 указанного защитного цилиндрического корпуса 2.

Оболочка 7 указанного защитного цилиндрического корпуса 2 характеризуется толщиной с интервалом значений от минимального значения 0,05 мм до максимального значения 1,0 мм.

Датчик электрического поля 4 изображен на чертеже установленным внутри указанного защитного цилиндрического корпуса 2 и он расположен там с возможностью образования емкостной связи с питающим электродом 5.

Кроме того, в предпочтительном варианте, указанный датчик электрического поля 4 содержит группу вторых сквозных отверстий 9.

Питающий электрод 5, в конкретном варианте осуществления преобразователя, изображенном на Фиг. 1, установлен с наружной стороны и расположен с зазором относительно указанного защитного цилиндрического корпуса 2, вблизи первого открытого конца 3 и, в частности, он установлен в осевом направлении с зазором относительно первого открытого конца 3 указанного защитного цилиндрического корпуса 2.

На Фиг. 2 и Фиг. 3 схематично показаны, соответственно, второй и третий варианты осуществления емкостного измерительного преобразователя, который является объектом настоящего изобретения, при этом указанные два варианта осуществления изобретения обозначены позициями 10 и 11 соответственно.

В соответствии с изображенным на Фиг. 2 и Фиг. 3, емкостный измерительный преобразователь 10, 11 содержит защитный цилиндрический корпус 2, 12, проходящий в осевом направлении с образованием продольной оси Х2, Х3, первого конца 3, 13 и второго конца 14, 15, датчик электрического поля 4, 16, установленный внутри указанного защитного цилиндрического корпуса 2, 12; питающий электрод от источника э.д.с, 17, 18, содержащий стержень 19, 20, проходящий в направлении оси Х2, Х3, внутри указанного защитного цилиндрического корпуса 2, 12, слой диэлектрического материала 6, 21, расположенный внутри указанного защитного цилиндрического корпуса 2, 12, а также вокруг указанных элементов.

Указанный защитный цилиндрический корпус 2, 12 выполнен из оболочки 7, 22, снабженной группой первых сквозных отверстий 8, 23, при этом каждое из указанный первых сквозных отверстий 8, 23 выполнено вытянутым по форме и характеризуется большим размером D1, D3 и меньшим размером D2, D4, а указанный больший размер D1, D3 каждого первого сквозного отверстия 8, 23 направлен параллельно оси Х2, Х3 указанного защитного цилиндрического корпуса 2, 12.

В предпочтительном варианте, каждое первое сквозное отверстие 8, 23 характеризуется величиной площади в интервале значений от минимального значения 0,1 мм2 до максимального значения 3,0 мм2, а указанная оболочка 7, 22 указанного защитного цилиндрического корпуса 2, 12 характеризуется толщиной с интервалом значений от минимального значения 0,05 мм до максимального значения 1,0 мм.

Датчик электрического поля 4, 16 изображен на чертеже установленным внутри указанного защитного цилиндрического корпуса 2, 12 и указанный датчик электрического поля 4, 16 расположен там с возможностью образования емкостной связи с питающим электродом 17, 18.

В предпочтительном варианте, указанный датчик электрического поля 4, 16 снабжен группой вторых сквозных отверстий 9, 24.

В соответствии со вторым вариантом осуществления изобретения, изображенном на Фиг. 2, емкостный измерительный преобразователь 10 содержит защитный цилиндрический корпус 2, датчик электрического поля 4, питающий электрод 17, основание 25, слой диэлектрического материала, образованный, например, из полимерного диэлектрического материала, установленный внутри и снаружи указанного защитного цилиндрического корпуса.

Защитный цилиндрический корпус на чертеже изображен проходящим в осевом направлении с образованием продольной оси Х2, первого открытого конца 3 и второго закрытого конца 14.

Датчик электрического поля 4 на чертеже изображен установленным на основании 25 внутри указанного защитного цилиндрического корпуса 2 и расположенным с возможностью образования емкостной связи с питающим электродом 17.

При этом, в предпочтительном варианте, указанный датчик электрического поля 4 выполнен в форме чаши и/или сферического купола, открытая часть которого выполнена обращенной к указанному питающему электроду 17 и, в предпочтительном варианте он образован оболочкой, снабженной группой вторых сквозных отверстий 9.

Питающий электрод 17 изображен на чертеже установленным вблизи первого конца 3 указанного защитного цилиндрического корпуса 2 и, в предпочтительном варианте, указанный питающий электрод 17 выполнен в форме воронки (раструба) с закругленными сторонами и, по существу, он содержит стержень 19 с осью, направление которой совпадает с осью указанного защитного цилиндрического корпуса 2, дополнительную головку 26, расположенную вблизи указанного первого открытого конца 3 и снаружи указанного защитного цилиндрического корпуса 2, и свободный закругленный конец 27, проходящий ко второму концу 14, в котором данный конец 27 расположен в осевом направлении с зазором относительно указанного датчика электрического поля 4.

Основание 25 изображено на чертеже вблизи второго конца 14 указанного защитного цилиндрического корпуса 2 и, в предпочтительном варианте, данное основание выполнено в форме цилиндрической пирамиды и снабжено группой коаксиальных цилиндров, отличающихся друг от друга разницей диаметров.

Указанное основание 25 содержит первый цилиндр 28, удерживающий датчик электрического поля 4 в требуемом положении, второй цилиндр 29, механически соединенный со вторым концом 14 защитного цилиндрического корпуса 2, и третий цилиндр 30, расположенный снаружи относительно указанного защитного цилиндрического корпуса 2.

Указанный защитный цилиндрический корпус 2 выполнен из оболочки 7, снабженной группой первых сквозных отверстий 8, при этом каждое из указанный первых сквозных отверстий 8 выполнено вытянутым по форме и характеризуется большим размером D1 и меньшим размером D4, а указанный больший размер D каждого первого сквозного отверстия направлен параллельно оси Х2 указанного защитного цилиндрического корпуса 2.

В предпочтительном варианте, каждое из указанный первых сквозных отверстий 8 характеризуется величиной площади в интервале значений от минимального значения 0,1 мм2 до максимального значения 3,0 мм2, а оболочка 7 указанного защитного цилиндрического корпуса 2 характеризуется толщиной с интервалом значений от минимального значения 0,05 мм до максимального значения 1,0 мм.

В соответствии с изображением на чертеже защитного цилиндрического корпуса 2, снабженного указанными первыми отверстиями 8, как подробно описано ниже, указанный защитный цилиндрический корпус 2 может быть изготовлен из тянутого листового металла, или из перфорированного листового металла, или из сетки или решетки или ситоткани, образованной группой проволочных элементов.

В частности, в соответствии с третьим вариантом осуществления изобретения, изображенного на Фиг. 3, емкостный датчик 11 содержит защитный цилиндрический корпус 12, датчик электрического поля 16, находящийся под напряжением питающий электрод 18, снабженный стержнем 20, проходящим внутри указанного защитного цилиндрического корпуса 12, и слой диэлектрического материала 22, выполненного например, из полимерного диэлектрического материала, установленного внутри и снаружи указанного защитного цилиндрического корпуса 12.

Указанный датчик электрического поля 16, установлен в радиальном направлении с зазором относительно указанного стержня 20 питающего электрода для образования емкостной связи между ними и, в предпочтительном варианте, указанный датчик электрического поля 16 выполнен по своей форме в виде фольги, снабженной группой вторых сквозных отверстий 24.

В соответствии с изображением питающего электрода 18, данный элемент содержит стержень 20, первую дополнительную головку 31 и вторую дополнительную головку 32.

Указанная первая головка 31 установлена снаружи относительно защитного цилиндрического корпуса 12 и, в частности, расположена вблизи и с зазором относительно торцевой стороны по оси первого конца 13 защитного цилиндрического корпуса.

Указанный стержень 20 имеет ось Х3, проходящую внутри указанного защитного цилиндрического корпуса 12 по направлению его оси.

Указанная вторая головка 32 установлена снаружи относительно защитного цилиндрического корпуса 12 и, в частности, расположена вблизи и с зазором относительно торцевых сторон второго конца 15 защитного цилиндрического корпуса.

Как уже описано в первом варианте осуществления изобретения, изображенном на Фиг. 2, указанный защитный цилиндрический корпус 12 выполнен из оболочки 22, снабженной группой первых сквозных отверстий 23, при этом каждое сквозное отверстие 23 выполнено вытянутым по форме и характеризуется большим размером D3 и меньшим размером D4, а указанный больший размер D3 направлен параллельно оси Х3 указанного защитного цилиндрического корпуса 12.

Так же, как описано в первом варианте осуществления изобретения, изображенном на Фиг. 2, является предпочтительным, когда указанное сквозное отверстие 23 характеризуется величиной площади в интервале значений от минимального значения 0,1 мм2 до максимального значения 3,0 мм2, а указанная оболочка 22 указанного защитного цилиндрического корпуса 12 характеризуется толщиной с интервалом значений от минимального значения 0,05 мм до максимального значения 1,0 мм.

Как описано в первом варианте осуществления изобретения, изображенном на Фиг. 2, является предпочтительным, когда указанный защитный цилиндрический корпус 12, снабженный отверстиями 23, как подробно раскрывается ниже, может быть изготовлен из тянутого листового металла, или из перфорированного листового металла, или из сетки или решетки или ситоткани, образованной группой проволочных элементов. Выполнение защитного цилиндрического корпуса из листового металла (тянутого или перфорированного) с первыми отверстиями.

В соответствии с Фиг. 4, на чертеже изображен защитный цилиндрический корпус 2, 12, тип которого описан выше в соответствии с Фиг. 1, Фиг. 2 и Фиг. 3, изготовленный из тянутого в ячеистое полотно листа металла (микровытяжка) или из листа перфорированного металла, снабженного в обоих случаях первыми отверстиями 8, 23.

В частности, указанный защитный цилиндрический корпус 2, 12 может быть изготовлен из листового металла, снабженного первыми отверстиями 8, 23, сворачиванием в цилиндр, содержащим первый сварной шов 33, проходящий в осевом направлении и выполненный соединяющим вместе две аксиальные кромки 34 и 35 согнутого в форме цилиндра листа металла.

В предпочтительном варианте, указанный защитный цилиндрический корпус 2, 12 также содержит по меньшей мере один второй сварной шов 36 из свариваемого материала, расположенный по окружности по меньшей мере конца 37 указанного защитного цилиндрического корпуса 2, 12.

В соответствии с Фиг. 5 и Фиг. 6, на чертежах изображен первый предпочтительный вариант выполнения защитного цилиндрического корпуса 38, изготовленного из тянутого металлического листа или перфорированного металлического листа вышеуказанного типа.

Указанный защитный цилиндрический корпус 38 выполнен из оболочки 39, снабженной группой первых сквозных отверстий 40, имеющих форму ромба, в которых каждый ромб характеризуется длинной диагональю D5 и короткой диагональю D6, при этом длинные диагонали D5 каждого ромба направлены параллельно оси Х2, Х3 указанного защитного цилиндрического корпуса 38.

В соответствии с Фиг. 7 и Фиг. 8, на чертежах изображен второй предпочтительный вариант выполнения защитного цилиндрического корпуса 41, изготовленного из тянутого металлического листа или перфорированного металлического листа вышеуказанного типа.

Указанный защитный цилиндрический корпус 41 выполнен из оболочки 42, снабженной группой первых сквозных отверстий 43, имеющих форму эллипса, в которых каждый эллипс характеризуется длинной осью D7 и короткой осью D8, при этом длинная ось D7 каждого эллипса направлена параллельно оси Х2, Х3 указанного защитного цилиндрического корпуса 41.

В соответствии с Фиг. 9 и Фиг. 10, на чертежах изображен третий предпочтительный вариант выполнения защитного цилиндрического корпуса 44, изготовленного из тянутого металлического листа или перфорированного металлического листа вышеуказанного типа.

Указанный защитный цилиндрический корпус 44 выполнен из оболочки 45, снабженной группой первых сквозных отверстий 46, имеющих форму вытянутых вырезов, в которых каждый вытянутый вырез характеризуется длинной осью D9 и короткой осью D10, при этом длинная ось D9 каждой вытянутой прорези направлена параллельно оси Х2, Х3 указанного защитного цилиндрического корпуса 44.

В соответствии с Фиг. 11 и Фиг. 12, на чертежах изображен четвертый предпочтительный вариант выполнения защитного цилиндрического корпуса 47, изготовленного из сетки, полученной из тянутого металлического листа или перфорированного металлического листа вышеуказанного типа.

Указанный защитный цилиндрический корпус 47 выполнен из оболочки 48, снабженной группой первых сквозных отверстий 49, имеющих форму продолговатого шестиугольника, в которых каждый продолговатый шестиугольник характеризуется длинной осью D11 и короткой осью D12, при этом длинная ось D11 каждого продолговатого шестиугольника направлена параллельно оси Х2/Х3 указанного защитного цилиндрического корпуса 47.

Выполнение защитного цилиндрического корпуса из сетки или ситоткани с первыми отверстиями.

В соответствии с Фиг. 1 и Фиг. 2, указанный защитный цилиндрический корпус 2, 12 может быть изготовлен из сетки или решетки или ситоткани, причем указанные материалы содержат проволочные элементы с электропроводными свойствами, и указанные проволочные элементы выполнены взаимно пересекающимися и/или взаимно переплетающимися, при этом указанная группа первых отверстий 8, 23 сформирована указанной сеткой или решеткой или ситотканью.

В предпочтительном варианте, каждое первое отверстие 8, 23 характеризуется величиной площади в интервале значений от минимального значения 0,3 мм2 до максимального значения 1,5 мм2.

В соответствии с Фиг. 13, на чертеже изображен защитный цилиндрический корпус 2, 12, тип которого описан выше в соответствии с Фиг. 1, Фиг. 2 и Фиг. 3, изготовленный в данном случае из листовой сетки, решетки или ситоткани, выполненной из металлических проволочных элементов.

Указанный защитный цилиндрический корпус 2, 12 содержит первый сварной шов 50, проходящий в осевом направлении вдоль оболочки 7, 22, при этом указанный первый сварной шов 50 выполнен с возможностью соединения вместе двух аксиальных противолежащих кромок 51 и 52 указанной сетки или решетки или ситоткани, свернутой в форме цилиндра.

В предпочтительном варианте, указанный защитный цилиндрический корпус 2, 12 содержит по меньшей мере один второй аксиальный сварной шов 53, 54 из свариваемого материала, расположенный на указанной оболочке 7, 22, причем указанные вторые сварные швы 53, 54 в качестве элементов жесткости в конструкции данного защитного цилиндрического корпуса.

В предпочтительном варианте, указанный защитный цилиндрический корпус 2, 12 содержит по меньшей мере один третий сварной шов 55 из свариваемого материала, расположенный по окружности по меньшей мере конца 37 данного защитного цилиндрического корпуса 2, 12.

Указанный первый шов 50 и/или указанный по меньшей мере один шов 53, 54 и/или указанный третий шов 55 предпочтительно выполнен(ы) из сплава на основе олова.

В соответствии с Фиг. 14 и Фиг. 15, на чертежах изображен первый предпочтительный вариант выполнения защитного цилиндрического корпуса 56, выполненного из сетки или решетки или ситоткани, содержащей металлические проволочные элементы.

Указанный защитный цилиндрический корпус 56 выполнен из оболочки 57, снабженной группой первых отверстий 58, имеющих форму ромба, в которых каждый ромб характеризуется длинной диагональю D13 и короткой диагональю D14, при этом длинные диагонали D13 каждого ромба направлены параллельно продольной оси Х2, Х3 указанного защитного цилиндрического корпуса.

В соответствии с Фиг. 16 и Фиг. 17, на чертежах изображен второй предпочтительный вариант выполнения защитного цилиндрического корпуса 59, выполненного из сетки или решетки или ситоткани, содержащей металлические проволочные элементы.

Указанный защитный цилиндрический корпус 59 выполнен из оболочки 60, снабженной группой первых отверстий 61, имеющих форму прямоугольника, в которых каждый прямоугольник характеризуется длинной стороной D15 и короткой стороной D16, при этом длинные стороны каждого прямоугольника направлены параллельно продольной оси Х2, Х3 указанного защитного цилиндрического корпуса.

В соответствии с указанными вариантами выполнения защитного цилиндрического корпуса, изготовленного из сетки или решетки или ситоткани, содержащей металлические проволочные элементы, а форма поперечного сечения указанных металлических проволочных элементов выполнена круглой и, в предпочтительном варианте, величина диаметра указанного круглого поперечного сечения указанных металлических проволочных элементов находится в интервале величин от минимальной величины диаметра 0,01 мм до максимальной величины диаметра 1,0 мм.

Поперечное сечение указанных проволочных элементов сетки или решетки или ситоткани может быть также выполнено в форме эллипса, характеризующегося площадью от 0,01 до 0,8 мм2, либо в форме квадрата, характеризующегося площадью от 0,001 до 0,8 мм2, либо в форме шестиугольника, характеризующегося площадью от 0,01 до 0,8 мм2.

В соответствии с Фиг. 18, вышеуказанная сетка или решетка или ситоткань для изготовления защитного цилиндрического корпуса может быть выполнена из переплетенных друг с другом гофрированных проволочных элементов.

Также, в соответствии с Фиг. 18, иллюстрирующей не ограничивающий объем притязаний пример, вышеуказанная сетка или решетка или ситоткань может содержать первую группу проволочных элементов и вторую группу проволочных элементов, при этом указанная первая группа проволочных элементов выполнена пересекающей указанную вторую группу проволочных элементов с получением решетки, образующей вышеуказанные первые отверстия, причем указанная первая группа проволочных элементов и указанная вторая группа проволочных элементов выполнены с получением точек пересечения/контакта, образующих сегменты из проволочных элементов, в которых соответствующие проволочные элементы первой группы и соответствующие проволочные элементы второй группы выполнены с возможностью перемещения друг относительно друга (в виде изгиба) с ограниченной свободой указанного перемещения, например до величины максимального смещения, составляющей около 0,5 мм.

В соответствии с данным вариантом, при литье нагретого до жидкого состояния полимера и при его охлаждении происходит за счет относительного термического расширения и сжатия сцепление проволочных элементов сетки или решетки или ситоткани с указанным полимером.

В соответствии с Фиг. 19, вышеуказанная сетка или решетка или ситоткань, применяемая для изготовления защитного цилиндрического корпуса, может содержать взаимопересекающиеся проволочные элементы, соединенные электрической сваркой. Выполнение датчика электрического поля.

В соответствии с Фиг. 1 и 2, емкостный измерительный преобразователь 4 в предпочтительном варианте выполнен в форме чаши и/или сферического купола, открытая часть которого выполнена обращенной к указанному питающему электроду 17, причем указанная форма чаши и/или сферического купола образована оболочкой, снабженной группой вторых сквозных отверстий 9, размеры которых совпадают с размерами отве