Паровая турбина

Иллюстрации

Показать все

Изобретение относится к паровой турбине (1) с содержащим одну оболочку корпусом (2) турбины, а также со специальными внутренними корпусами (11, 21), расположенными внутри корпуса (2) турбины, внешняя стенка которой имеет возможность вращения вокруг оси турбины, валом. Технический результат: возможна полная компенсация тяги в паровой турбине. 5 з.п. ф-лы, 4 ил.

Реферат

Настоящее изобретение относится к паровой турбине

На паротурбинных электростанциях для эксплуатации паровых турбин в качестве рабочей среды используют пар. Находящийся под давлением водяной пар вырабатывают в паровом котле и его поток направляют через трубопроводы в паровую турбину. В паровой турбине принятая ранее энергия рабочей среды преобразуется в кинетическую энергию. С помощью кинетической энергии приводят в действие, например, генератор, который преобразует выработанную механическую мощность в электрическую энергию. После этого разгруженный и охлажденный пар поступает в конденсатор, где он за счет теплопередачи конденсируется в теплообменнике и вновь подводится в качестве жидкой воды с помощью насоса к паровому котлу для нагревания, испарения и последующего перегрева. Для достижения высоких и высочайших коэффициентов полезного действия в паросиловом цикле осуществляют развитие паросилового процесса до все более высоких параметров свежего пара. Вследствие этих высоких параметров свежего пара точка конденсации установки смещается глубже в область насыщенного пара и, следовательно, частичной конденсации.

Обычные паротурбинные установки для весьма высоких коэффициентов полезного действия содержат, по меньшей мере, одну часть высокого давления. Дополнительно возможно использование части среднего давления или одной или нескольких частей низкого давления. В части низкого давления температура пара весьма значительно уменьшается, за счет чего происходит частичная конденсация пара. Часть низкого давления является, однако, весьма чувствительной к содержанию влаги в паре. При достижении паром в части низкого давления турбины доли влаги приблизительно от 8 до 10% необходимо принятие мер, которые уменьшают до допустимой величины содержание влаги в паре перед входом в часть низкого давления и во время последующего снижения давления в нем. Одна из этих мер может заключаться в использовании дополнительного промежуточного перегрева и/или в сушке пара. За счет этих мер происходит повторный промежуточный перегрев пара и, тем самым, одновременно повышение коэффициента полезного действия паросилового процесса.

Для сушки/промежуточного перегрева пара весь массовый поток пара полностью забирают из турбины перед входом в часть среднего или низкого давления и вновь подводят к паровому котлу. В процессе промежуточного перегрева температура пара, как правило, вновь поднимается до температуры свежего пара, так что содержание влаги в конечной точке снятия давления снижается. В завершение пар подводят назад в турбинную установку. Без такого промежуточного перегрева длительная эксплуатация паротурбинной установки невозможна при самых низких величинах отработавшего пара (около 50…25 мбар), поскольку конденсированные капли воды попадают на вращающиеся лопатки турбины и тем самым наносят вред набору лопаток.

При содержащих несколько корпусов паротурбинных установках между отдельными частичными турбинами могут быть осуществлены промежуточный перегрев/сушка водяного пара.

Материал корпуса в области входа турбины существенно ослабляется весьма горячим паром в отношении своих прочностных свойств, так что действующим внутри давлениям более невозможно противостоять. Увеличение толщины стенки возможно лишь условно, так как при весьма толстых корпусах в стенке корпуса вследствие изменений температуры возникают недопустимо высокие, обусловленные нагревом напряжения. В области нагружения промежуточно перегретым паром действуют те же температуры, по этой причине также и здесь материал корпуса существенно ослаблен. Таким образом, турбинные установки с промежуточным перегревом отличаются от обычных установок двумя точками в характеристике уменьшения давления, которые подвержены опасности со стороны чрезвычайно высоких температур.

При содержащей один корпус паровой турбине с промежуточным перегревом сильно перегретый пар ввод в турбину производят в двух местах. При этом наружный корпус турбины подвергается в двух точках существенной термической нагрузке со стороны возникающих температур и нагрузок.

Паровые турбины с промежуточным перегревом выполнялись ранее либо в качестве турбинных установок с двумя корпусами, либо использовались пониженные параметры пара, так что перегрузки наружного корпуса турбины с одной оболочкой не происходило.

Возникающие, необходимые параметры лежат, однако, часто выше возможных параметров для корпусов турбин с одной оболочкой.

Исходя из описанной выше проблематики в паровых турбинах задачей изобретения является уменьшение нагрузки, в частности, температурной нагрузки и нагрузки давлением, наружного корпуса паровой турбины.

Эта задача решена посредством изобретения, охарактеризованного признаками независимого п. 1 формулы изобретения. Дальнейшие особенности изобретения раскрыты в зависимых пунктах формулы изобретения, а также в описании и чертежах.

Это означает, что задачу изобретения решают с помощью паровой турбины с одним корпусом турбины с одной наружной стенкой, одним укрепленным с возможностью вращения в корпусе турбины вокруг оси турбины валом турбины, с одной первой частью турбины, по меньшей мере, одной второй частью турбины, которая расположена в осевом направлении вала турбины после первой части турбины, причем устройство для снижения давления проводимого через паровую турбину пара проходит от первой части турбины ко второй части турбины. Первая часть турбины выполнена предпочтительно в качестве части среднего давления турбины и/или части низкого давления турбины. Часть низкого давления турбины может быть также выполнена в качестве расположенного рядом следующего корпуса турбины (многопоточное исполнение). Если предусмотрены, например, две вторые части турбины, то первой части турбины предпочтительно придают часть среднего давления турбины и последней предпочтительно придают одну или несколько частей низкого давления турбины.

Паровая турбина характеризуется следующими признаками:

- Между первой частью турбины и второй частью турбины расположена с прочностью на скручивание дополнительная уплотнительная оболочка, называемая также разделительной стенкой, в частности, на внутренней стороне наружного корпуса турбины. Уплотнительная оболочка с помощью уплотнительных элементов, например, щеточных уплотнений или лабиринтных уплотнений уплотнена относительно вала турбины.

- На первой части турбины на внутренней стороне наружной стенки, то есть на обращенной к валу турбины стороне наружной стенки, вращательно-симметрично вокруг нее и с уплотнением относительно вала турбины расположен первый внутренний корпус. Первый внутренний контур содержит одну первую область уплотнения. Первая область уплотнения подразделяет первую часть турбины относительно направления снижения давления на одну переднюю часть и одну заднюю часть. Далее, первый внутренний корпус содержит параллельную или приблизительно параллельную оси турбины первую область лопаток.

- На обращенной к валу турбины внутренней стенке первой области лопаток расположен первый набор направляющих лопаток. На валу турбины расположен первый набор рабочих лопаток, сообщающийся с первым набором направляющих лопаток. Первый набор направляющих лопаток и второй набор рабочих лопаток образуют первый барабан с системой лопаток.

- Во второй части турбины на внутренней стороне наружной стенки вращательно-симметрично вокруг нее и с уплотнением относительно вала турбины расположен второй внутренний корпус. Второй внутренний корпус содержит одну вторую область уплотнения, которая подразделяет вторую часть турбины относительно направления снижения давления на одну переднюю часть и одну заднюю часть. Далее, второй внутренний корпус содержит одну вторую область лопаток.

- На обращенной к валу турбины внутренней стенке второй области лопаток второго внутреннего корпуса расположен второй набор направляющих лопаток. На валу турбины соответственно расположен второй набор рабочих лопаток, сообщающийся со вторым набором направляющих лопаток. Второй набор направляющих лопаток и второй набор рабочих лопаток образуют второй барабан с системой лопаток.

- Области лопаток внутреннего корпуса простираются соответственно против направления снижения давления в стороны от соответствующих областей уплотнения. Это означает, что первая область лопаток первого внутреннего корпуса простирается от стороны первой области уплотнения первого внутреннего корпуса, который обращен от уплотнительной оболочки.

- Паровая турбина содержит, по меньшей мере, одну линию свежего пара, через которую свежий пар может подводиться из пространства вне корпуса турбины через наружную стенку корпуса турбины и через первую область лопаток первого внутреннего корпуса в область между первой областью лопаток и первой областью уплотнения к валу турбины и первому набору лопаток. Наружная стенка и первая область лопаток содержат отверстия для привязки линии свежего пара. Линия свежего пара укреплена на первом внутреннем корпусе. Линия свежего пара проведена с уплотнением через отверстие в наружной стенке корпуса турбины.

Внутренние корпуса могут быть соединены с корпусом турбины с помощью перемычек. Представляется возможным исполнение внутреннего корпуса в качестве единой с корпусом турбины детали, в частности, монолитно.

- Области уплотнения соответственно содержат в обращенной к наружной стенке области отверстия, через которые пар от соответственно передней части может поступать в соответствующую заднюю часть частей турбины. Это означает, что отверстия расположены на радиально наружной области областей уплотнения внутреннего корпуса, вблизи наружной стенки корпуса турбины.

- В наружной стенке корпуса турбины, в области задней части первой части турбины предусмотрено, по меньшей мере одно первое отверстие вторичного пара, в котором расположена линия вторичного пара. Через эту линию вторичного пара «охлажденный» пар может быть выведен из задней части первой части турбины и подведен к расположенному снаружи перегревателю.

- Далее, в наружной стенке корпуса турбины предусмотрено одно следующее отверстие промежуточного пара. Оно расположено в области второго внутреннего корпуса в наружной стенке. Через эту вторую линию промежуточного пара, которая проведена через отверстие промежуточного пара, перегретый пар может быть подведен через наружную стенку корпуса турбины и через вторую область лопаток второго внутреннего корпуса в область между второй областью лопаток и второй областью уплотнения к валу турбины и второму набору лопаток. Перегретый пар поступает от расположенного снаружи перегревателя.

- Далее, во внешней стенке корпуса турбины предусмотрено, по меньшей мере, одно отверстие выпуска пара или линия выпуска пара. Через линию выпуска пара отработавший пар может быть выведен из задней части второй части турбины из корпуса турбины.

При такого рода паровой турбине с промежуточным перегреванием сильно перегретый в двух позициях пар может быть направлен в паровую турбину.

Паровая турбина с помощью обоих внутренних корпусов в области введения свежего пара и промежуточно перегретого пара может быть выполнена с двумя оболочками. Это означает, что в корпусе турбины в первой части турбины установлен один первый внутренний корпус и во второй приданной далее части турбины установлен второй внутренний корпус. Первый внутренний корпус экранирует корпус турбины, в частности, наружную стенку корпуса турбины, от высоких температур входящего свежего пара. Второй внутренний корпус экранирует корпус турбины, в частности, внутреннюю стенку корпуса турбины, от высоких температур промежуточно перегретого пара. Одновременно перепад давления распределяется на две ступени давления и обеспечивает, тем самым, весьма высокие параметры пара во внутренних корпусах.

Расположенный в области ввода промежуточно перегретого пара второй внутренний корпус является самостоятельным конструктивным узлом, который отделен от первого внутреннего корпуса в области входа свежего пара. За счет этого обеспечена возможность изменяющегося исполнения внутреннего пространства турбины и характеристики снижения давления и расположения обоих внутренних корпусов против направления основного снижения давления, так что сдвиг в паровой турбине может быть почти полностью компенсирован.

Далее, за счет расположения и исполнения обоих внутренних корпусов через них могут проходить со всех сторон соответственно большие объемы пара и они обеспечивают тем самым равномерное поле температуры. Таким образом, за счет равномерного распределения температуры на наружной стенке корпуса турбины можно минимизировать ее искривление.

Особое преимущество достигается за счет свободного расположения внутреннего корпуса, поскольку за счет этого система уплотнения турбины может быть оптимизирована до минимальных потерь утечки. За счет проходящего в одном направлении устройства снижения давления обоих внутренних корпусов необходима уплотнительная оболочка между первой частью турбины и второй частью турбины. Эта уплотнительная оболочка нагружается исключительно разностью давлений между холодными и горячими линиями, подходящих к устройству промежуточного перегрева или отходящих от них. По этой причине в области уплотнительной оболочки практически не происходит утечек.

В направлении снижения давления пара при паровой турбине в первой части турбины находится первый внутренний корпус. В него через линию свежего пара входит поток свежего пара. Первая область лопаток может содержать несколько барабанов с системой лопаток. Один барабан с системой лопаток соответственно содержит набор направляющих лопаток и набор рабочих лопаток. Давление свежего пара снижают с помощью паровой турбины в направлении против главного направления снижения давления пара. При этом получают два положительных эффекта. Сначала первый внутренний корпус охлаждают обтекающим более холодным паром и общая тяга турбины уменьшается, так как в этой области возникает встречная тяга. После внутреннего корпуса в задней части первой части турбины может быть расположен дополнительно следующий набор лопаток барабана. В завершение характеристику снижения давления прерывают уплотнительной оболочкой. Холодный промежуточно перегретый пар в задней части первой части турбины полностью выводят из турбины и вновь подвергают перегреву в перегревателе, в частности, в паровом котле. В завершение перегретый пар протекает во второй части турбины в паровую турбину. В этом месте пар является весьма горячим, так что был бы нарушен предел прочности имеющего одну оболочку корпуса турбины. По этой причине пар вводят во второй внутренний корпус. В этом втором внутреннем корпусе давление перегретого пара падает настолько, что его температура достигает величины, приемлемой для корпуса турбины, в частности наружной стенки корпуса турбины.

За счет уменьшения давления свежего пара в первой области лопаток внутри первого внутреннего корпуса и снижения давления перегретого пара во второй области лопаток внутри второго внутреннего корпуса давление и температура в области между внутренними корпусами и наружной стенкой корпуса турбины соответственно ниже, нежели внутри внутреннего корпуса. В результате этого наружный корпус турбины подвергается меньшей нагрузке. В результате этого обеспечивается отсутствие искривления или незначительное искривление корпуса турбины или наружной стенки корпуса турбины при эксплуатации паровой турбины. За счет специального расположения и исполнения внутренних корпусов и области лопаток во внутренних корпусах достигают того, что в направлении снижения давления перед уплотнительной оболочкой или после нее не действуют экстремальные параметры давления и температуры, так что утечки через уплотнительные элементы уплотнительной оболочки являются незначительными.

Второй внутренний корпус со второй областью лопаток установлен, равно как и первый внутренний корпус с первой область лопаток, против направления снижения давления пара. Это обеспечивает те же положительные эффекты, что и при первом внутреннем корпусе, а именно улучшенное охлаждение наружной стороны второго внутреннего корпуса и внутренней стороны наружной стенки корпуса турбины, а также уравновешивание тяги. Поскольку эффекты уравновешивания тяги суммируются, происходит существенное усиление эффекта, что оказывает положительное влияние на потери при хранении и размер опционально используемой, расположенной в направлении снижения давления части низкого давления в корпусе турбины.

Второй внутренний корпус охлаждают обтекающим паром.

За счет использования обоих внутренних корпусов может быть обычным образом выполнена полностью с двумя оболочками паровая турбина с корпусом турбины, которая имеет большей частью одну оболочку. За счет этого существенно снижаются конструктивные расходы на сооружение паровой турбины. Если центральной части давления, то есть второй части турбины, придана одна часть низкого давления, то за счет обоих внутренних корпусов возможно размещение всей установки конденсационной турбины с блоком промежуточного перегрева внутри одного единственного корпуса турбины.

Снаружи корпуса паровой турбины расположен перегреватель, который выполнен для перегрева выходящего из первой линии вторичного пара «холодного пара» и для дальнейшего направления перегретого в перегревателе пара ко второй линии вторичного пара.

С целью достижения особо хорошего снижения давления пара в первой части турбины предпочтительно при первой паровой турбине может быть предусмотрено, что в задней части первой части турбины расположена, по меньшей мере, одна третья область лопаток с набором направляющих лопаток на внутренней стороне наружной стенки и с сообщающимся набором рабочих лопаток на валу турбины. Этот третий набор лопаток расположен не между внутренней стенкой области лопаток первого внутреннего корпуса и валом турбины, а между наружной стенкой корпуса турбины и валом турбины.

За счет одинаково направленного расположения внутренних корпусов, то есть областей лопаток внутреннего корпуса и дополнительной уплотнительной оболочки между первым внутренним корпусом и уплотнительной оболочкой может быть смонтирован третий набор лопаток. Этот третий набор лопаток также разгружает уплотнительную оболочку. Возможность введения следующего набора лопаток существует, конечно, лишь в рамках технически преодолимых параметров области корпуса с одной оболочкой.

Далее, в случае паровой турбины может быть предусмотрено, что в задней части второй части турбины может быть расположен четвертый набор лопаток с направляющими лопатками на внутренней стороне наружной стенки и сообщающимся набором рабочих лопаток на валу турбины. Также за счет этого следующего набора лопаток можно дополнительно обеспечить дальнейшее снижение давление направляемого через паровую турбину пара. В результате этого можно дополнительно уменьшить нагрузку в этой области на корпус турбины. По этой причине предпочтительной является паровая турбина, при которой в задней части второй части турбины или после задней части второй части турбины в направлении снижения давления расположена третья часть турбины, в частности, часть низкого давления турбины.

Предпочтительно при паровой турбине может быть предусмотрено, что первая часть турбины является частью высокого давления турбины, а вторая часть турбины является частью среднего давления турбины или частью низкого давления турбины.

Во избежание утечек из внутренних корпусов уплотнительные участки внутренних корпусов уплотнены с помощью уплотнительных элементов относительно вала турбины. Это может быть произведено с помощью щеточных или лабиринтных уплотнений.

Настоящее изобретение поясняется более подробно на основании приложенных чертежей. На чертежах схематически представлено следующее:

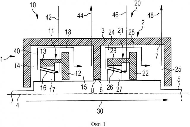
фиг. 1 показывает прохождение пара в первой форме исполнения соответствующей изобретению газовой турбины,

фиг. 2 показывает проходящие через корпус паровой турбины линии пара в соответствии с фиг. 1,

фиг. 3 показывает прохождение пара во второй форме исполнения соответствующей изобретению паровой турбины, и

фиг. 4 показывает линии пара, проходящие через корпус паровой турбины в соответствии с фиг. 2.

На фиг. 1-4 элементы с одинаковыми функциями или принципом действия соответственно имеют одинаковые ссылочные обозначения.

На фиг. 1 схематически изображено прохождение пара 40 в первой форме исполнения соответствующей изобретению паровой турбины 1. Свежий пар 42 поступает из области вне корпуса 2 турбины через линию 41 свежего пара во внутрь первого внутреннего корпуса 11. Первый внутренний корпус 11 расположен в первой части 10 турбины, которая является предпочтительно частью высокого давления. Первый внутренний корпус 11 содержит первую область 12 уплотнения и первую область 13 лопаток. Первая область 12 уплотнения простирается перпендикулярно к оси 4 турбины. При этом первая область уплотнения подразделяет первую часть 10 турбины на одну переднюю часть 14 и одну заднюю часть 15. Первая область 13 лопаток простирается параллельно оси 4 турбины против направления главного устройства 30 снижения давления пара 40 через паровую турбину 1 в направлении от первой области 12 уплотнения. На обращенной к валу 5 турбины стороне первой области 13 лопаток расположен первый набор 16 направляющих лопаток. Сообщаясь с ним, на валу 5 турбины расположен соответствующим образом выполненный первый набор 17 рабочих лопаток. Первый набор 16 направляющих лопаток и первый набор 17 рабочих лопаток образуют вместе первую область лопаток или барабан с системой лопаток. Входящий в первый внутренний корпус 11 свежий пар 42 направляют через первый набор 16, 17 лопаток, то есть против самого направления 30 снижения давления пара 40. При этом происходи снижение свежего пара 42. Давление и температура свежего пара снижаются в первом наборе 16, 17 лопаток, так что в передней части 14 первой части 10 турбины давление и температура менее высокие, нежели перед снижением давления первым набором 16, 17 лопаток. Пар 40 с уменьшенным давлением полностью обтекает первый внутренний корпус 11 и тем самым охлаждает его. Нагрузка на наружную стенку 3 корпуса 2 турбины также уменьшена за счет снижения давления свежего пара 42 внутри первого внутреннего корпуса 11. Свежий пар с уменьшенным давлением проходит вдоль наружной стороны первой области 13 лопаток и через отверстия 18 направляется в первой области 12 уплотнения или через отверстия 18 между первой областью 12 уплотнения и наружной стенкой 3 корпуса 2 турбины к задней части 15 первой части 10 турбины. В этой задней части 15 пар 40 является остывшим и давление пара 40 уменьшено.

Первая часть 10 турбины отделена от второй части 20 турбины уплотнительной оболочкой 6. Уплотнительная оболочка 6 простирается между наружной стенкой 3 корпуса 2 турбины и валом 5 турбины. При этом уплотнительная оболочка 6 уплотнена относительно вала 5 турбины с помощью уплотнительных элементов 8. Охлажденный, пониженный по давлению пар 44 выводят из задней части 15 через первую линию 43 вторичного пара через корпус 2 турбины к внешнему перегревателю 50, см. фиг. 2. В перегревателе 50 происходит перегрев пара и его повторный подвод ко второй части 20 турбины. Это означает, что перегретый пар 46 направляют через вторую линию вторичного пара через корпус 2 турбины вовнутрь расположенного во второй части 10 турбины второго внутреннего корпуса 21. Внутри второго внутреннего корпуса 21 расположен второй набор 26, 27 лопаток. Второй внутренний корпус 21 имеет аналогичную или схожую конструкцию, что и первый внутренний корпус 11. Вторая область 22 уплотнения второго внутреннего корпуса 21 простирается перпендикулярно к оси 4 турбины. На второй области 22 уплотнения расположена вторая область 23 лопаток, которая простирается от него против главного направления 30 снижения давления пара 40 через паровую турбину 1. С помощью второго набора 26, 27 лопаток давление перегретого пара 46 снижается и его подводят к передней части 24 второй части 20 турбины. Вторая область 22 уплотнения второго внутреннего корпуса отделяет переднюю часть 24 от задней части 25. Пар 40 с пониженным давлением охлаждает как второй внутренний корпус 21, так и наружную стенку 3 корпуса 2 турбины. За счет этого снижаются нагрузки на имеющий одну оболочку корпус 2 турбины. Через отверстия 28 во второй области 22 уплотнения или отверстия между второй областью 22 уплотнения и наружной стенкой 3 корпуса 2 турбины пар 40 с пониженным давлением поступает в заднюю часть 25 второй части 20 турбины. Оттуда охлажденный, влажный отработавший пар 48 может быть отведен через линию 47 выпуска пара из корпуса турбины.

За счет специального исполнения и расположения обоих внутренних корпусов 11, 21 возможна почти полная компенсация тяги в паровой турбине 1.

Первый внутренний корпус 11 охлаждают обтекаемым его более холодным паром 40 и общая тяга паровой турбины 1 уменьшается, так как в этой области создается сопряженная тяга. После первого внутреннего корпуса 11 в задней части 15 первой части 10 турбины может быть расположен следующий набор лопаток барабана с одним набором 60 направляющих лопаток и одним набором 61 рабочих лопаток. В результате этого происходит дальнейшее падение давление пара 40. В завершение снижение давления прерывают уплотнительной оболочкой 6. Холодный промежуточно перегретый пар 44 в задней части 15 первой части 10 турбины полностью выводят из паровой турбины 1 и вновь перегревают в перегревателе 50. В завершение перегретый пар 46 проходит во второй части 20 турбины назад в паровую турбину 1. В этом месте пар 46 имеет весьма высокую температуру. По этой причине перегретый пар 46 направляют во второй внутренний корпус 21. В этом втором внутреннем корпусе 21 давление перегретого пара 46 снижают до тех пор, пока он не достигнет температуры, допустимой для корпуса 2 турбины, в частности, наружной стенки 3 корпуса 2 турбины. В задней части 25 второй части 20 турбины может быть расположен следующий набор лопаток 70, 71, см. фиг. 3 и 4. Он может быть расположен между наружной стенкой 3 и валом 5 турбины.

1. Паровая турбина (1), содержащая корпус (2) турбины с внешней стенкой (3), установленный в корпусе (2) турбины с возможностью вращения вокруг оси (4) турбины валом (5) турбины, одну первую часть (10) турбины, по меньшей мере одну вторую часть (20) турбины, которая расположена в осевом направлении вала (5) турбины после первой части (10) турбины, причем устройство (30) снижения давления для проводимого через паровую турбину (1) пара (40) проходит от первой части (10) турбины ко второй части (20) турбины, отличающаяся тем,

что между первой частью (10) турбины и второй частью (20) турбины на корпусе (2) турбины, в частности на внутренней стороне (7) наружной стенки (3), расположена имеющая прочность на скручивание уплотнительная оболочка (6), которая с помощью уплотнительных элементов (8) выполнена уплотненной относительно вала (5) турбины,

- причем в первой части (10) турбины на внутренней стороне (7) наружной стенки (3) расположен вращательно-симметричный относительно нее и уплотненный относительно вала (5) турбины первый внутренний корпус (11), причем первый внутренний корпус (11) содержит расположенный перпендикулярно или в основном перпендикулярно относительно оси (4) турбины первый участок (12) уплотнения, который подразделяет в отношении направления (30) снижения давления первую часть (10) турбины на одну переднюю часть (14) и одну заднюю часть (15) и содержит параллельную или в основном параллельную относительно оси (4) турбины первую область (13) лопаток,

- причем на обращенной к валу (5) турбины внутренней стенке первой области (13) лопаток расположен первый набор (16) направляющих лопаток, а на валу (5) турбины расположен первый набор (17) рабочих лопаток, сообщающийся с набором (16) направляющих лопаток,

- причем во второй части (20) турбины на внутренней стороне (7) наружной стенки (3) расположен вращательно-симметричный относительно нее и уплотненный относительно вала (5) турбины второй внутренний корпус (21), причем второй внутренний корпус (21) содержит перпендикулярную или в основном перпендикулярную оси (4) турбины вторую область (22) уплотнения, которая подразделяет вторую часть (20) турбины в отношении направления (3) снижения давления на одну переднюю часть (24) и одну заднюю часть (25), и параллельную или в основном параллельную оси (4) турбины вторую область (23) лопаток,

- причем на обращенной к валу (5) турбины внутренней стенке второй области (23) лопаток расположен второй набор (26) направляющих лопаток, а на валу (5) турбины расположен второй набор (27) рабочих лопаток, сообщающийся со вторым набором (26) направляющих лопаток,

- причем области (13, 23) лопаток внутреннего корпуса (11, 21) соответственно простираются против направления (30) снижения давления прочь от соответствующих участков (12, 22) уплотнения,

- причем через по меньшей мере одну линию (41) свежего пара свежий пар (42) подводится через наружную стенку (3) корпуса (2) турбины и первую область (13) лопаток первого внутреннего корпуса (11) в область между первой областью (13) лопаток и первым участком (12) уплотнения к валу (5) турбины и первому набору (16, 17) лопаток,

- причем участки (12, 22) уплотнения в обращенной к наружной стенке (3) области соответственно содержат отверстия (18, 28), через которые пар (40) поступает от соответствующей передней части (14, 24) в соответствующую заднюю часть (15, 25) частей (10, 20) турбины,

- причем через по меньшей мере одну первую линию (43) вторичного газа в наружной стенке (3) холодный пар (44) выводится из задней части (15) первой части (10) турбины,

- причем через по меньшей мере одну вторую линию (45) вторичного газа перегретый пар (46) подводится через наружную стенку (3) корпуса (2) турбины и вторую область (23) лопаток второго внутреннего корпуса (21) в область между второй областью (23) лопаток и вторым участком (22) уплотнения к валу (5) турбины и второму набору (26, 27) лопаток, и

- причем через по меньшей мере одну линию (47) выпуска пара во внешней стенке (3) отработавший пар (48) выводится из задней части (25) второй части (20) турбины из корпуса (2) турбины.

2. Паровая турбина по п. 1, отличающаяся тем, что в задней части (15) первой части (10) турбины расположена по меньшей мере одна третья область лопаток с одним набором (60) направляющих лопаток на внутренней стороне (7) наружной стенки (3) и одним сообщающимся набором (61) лопаток на валу (5) турбины.

3. Паровая турбина по п. 1 или 2, отличающаяся тем, что в нижней части (25) второй части (20) турбины расположена четвертая область лопаток с одним набором (70) направляющих лопаток на внутренней стороне (7) наружной стенки (3) и одним сообщающимся набором (71) рабочих лопаток на валу (5) турбины.

4. Паровая турбина по п. 1, отличающаяся тем, что в задней части (25) второй части (20) турбины или с приданием задней части (25) второй части (20) турбины в направлении (30) снижения давления расположена одна третья часть турбины, в частности часть низкого давления турбины.

5. Паровая турбина по п. 1, отличающаяся тем, что первая часть (20) турбины представляет собой часть высокого давления турбины, а вторая часть (20) турбины представляет собой часть среднего давления турбины или часть низкого давления турбины.

6. Паровая турбина по п. 1, отличающаяся тем, что участки (12, 22) уплотнения с помощью уплотнительных элементов уплотнены относительно вала (5) турбины.