Впитывающее изделие

Иллюстрации

Показать все

Разработано впитывающее изделие, в котором даже в том случае, когда вогнутая имеющая форму канавки впускная часть впитывающего элемента выполнена во впитывающем элементе, скорость впитывания выделяемой организмом текучей среды не уменьшается и, таким образом, может сохраняться впитанное количество. Впитывающий элемент (4) включает в себя вогнутую имеющую форму канавки часть (17), предназначенную для впуска выделяемой организмом текучей среды вдоль продольного направления прокладки (1), применяемой при недержании, и на интервале в продольном направлении, включающем часть, предназначенную для выпуска выделяемой организмом текучей среды, и порошкообразная и гранулированная смола (18) со сверхвысокой впитывающей способностью размещена, по меньшей мере, на боковой краевой части впитывающего элемента (4) и на интервале в продольном направлении, включающем в себя часть (17), предназначенную для впуска выделяемой организмом текучей среды. Поскольку обеспечивается диффузия выделяемой организмом текучей среды, проходящей в часть (17), предназначенную для впуска выделяемой организмом текучей среды, и выделяемая организмом текучая среда впитывается и удерживается в смоле (18) со сверхвысокой впитывающей способностью на боковой краевой части впитывающего элемента, можно сохранять впитанное количество во впитывающем элементе (4). Даже в том случае, когда смола (18) со сверхвысокой впитывающей способностью впитывает воду и становится набухшей, предотвращается блокирование части (17), предназначенной для впуска выделяемой организмом текучей среды, в результате чего существует возможность предотвращения уменьшения скорости впитывания. 4 з.п. ф-лы, 9 ил.

Реферат

Область техники, к которой относится изобретение

[0001] Настоящее изобретение относится к впитывающим изделиям, таким как прокладка, применяемая при недержании, гигиеническая прокладка, прокладка для трусов, предназначенная для повседневного использования, и подгузник одноразового использования, предназначенным для впитывания мочи, менструальной крови, влагалищных выделений и тому подобного, которые включают в себя вогнутую имеющую форму канавки часть, предназначенную для впуска выделяемых организмом, текучих сред и для приема большого количества выделяемой организмом, текучей среды посредством впитывающего элемента.

Предшествующий уровень техники

[0002] Традиционно в качестве впитывающего изделия, такого как прокладка, применяемая при недержании, гигиеническая прокладка, прокладка для трусов, предназначенная для повседневного использования, и подгузник одноразового использования, известно впитывающее изделие, в котором впитывающий элемент, образованный из хлопкоподобной целлюлозы или тому подобного, расположен между не проницаемым для жидкостей, задним поверхностным листом, таким как полиэтиленовый лист или нетканый материал с присоединенным путем ламинирования, полиэтиленовым листом, и проницаемым для жидкостей, передним поверхностным листом, таким как нетканый материал или проницаемый для жидкостей, пластиковый лист.

[0003] Поскольку из подобных впитывающих изделий в случае прокладки, применяемой при недержании и предназначенной для большого количества, в которой заданное значение для количества впитанной влаги превышает 100 см3, прокладка, применяемая при недержании, должна за раз принимать большое количество мочи в небольшой зоне промежностной части, разработана прокладка, применяемая при недержании, в которой выполнена вогнутая часть, чтобы способствовать временному удерживанию мочи на поверхности впитывающего элемента и ее диффузии.

[0004] Например, в патентном литературном источнике 1, описанном ниже, раскрыт подгузник одноразового использования, который включает в себя проницаемый для жидкостей, передний поверхностный лист, не проницаемый для жидкостей, задний поверхностный лист и впитывающую сердцевину, расположенную между обоими листами, в котором впитывающая сердцевина покрыта впитывающим диффузионным листом, в котором, по меньшей мере, одна канавка, заглубленная в направлении, проходящем от поверхностного листа к заднему листу, образована в сердцевине на стороне поверхностного листа, в котором нижняя часть и образующая боковую стенку часть канавки покрыты поверхностным листом, в котором сердцевина содержит впитывающее воду волокно и частицы смолы со сверхвысокой впитывающей способностью и в котором впитывающее воду волокно и частицы смолы со сверхвысокой впитывающей способностью расположены между поверхностным листом и задним поверхностным листом в нижней части канавки.

[0005] В патентном литературном источнике 2, описанном ниже, раскрыт подгузник одноразового использования, в котором, по меньшей мере, часть сердцевины разделена вдоль воображаемой линии, проходящей в направлении от передней поясной зоны через промежностную зону до задней поясной зоны, в котором сердцевина образована с одним волокнистым слоем, выполненным в основном из измельченной целлюлозы, и одним слоем частиц, выполненным в основном из частиц смолы со сверхвысокой впитывающей способностью, который представляет собой по существу ламинированное изделие, в котором волокнистый слой размещен на слое частиц и в котором слой частиц открыт для воздействия со стороны боковой поверхности сердцевины в разделенной части.

[0006] Кроме того, в патентном литературном источнике 3, описанном ниже, раскрыт подгузник одноразового использования, в котором впитывающая сердцевина расположена между проницаемым для жидкостей, передним поверхностным листом и не проницаемым для жидкостей, задним поверхностным листом, который образован в направлении вперед и назад с передним элементом, задним элементом и промежностной зоной, расположенной между ними, и который включает в себя вогнутую часть, выполненную с возможностью удерживания фекалий в промежностной зоне сердцевины.

Перечень ссылок

Патентная литература

[0007] Патентный литературный источник 1: Патент Японии № 3811000

Патентный литературный источник 2: Патент Японии № 3406214

Патентный литературный источник 3: Патент Японии № 3012472

Сущность изобретения

Техническая проблема

[0008] Тем не менее, поскольку в подгузнике одноразового использования, раскрытом в патентном литературном источнике 1, частицы смолы со сверхвысокой впитывающей способностью расположены в нижней части канавки, в которую проходит выделяемая организмом, текучая среда, возникает так называемое «гелевое блокирование», при котором воздушные зазоры между частицами полимера, набухшими во время впитывания воды, чрезвычайно уменьшаются, в результате чего необходимая впитывающая способность может не обеспечиваться в канавке. Существует проблема, связанная с тем, что возникновение гелевого блокирования, препятствует диффузии из канавки в окружающую зону, что снижает скорость впитывания. С другой стороны, поскольку в случае подгузника одноразового использования, раскрытого в патентном литературном источнике 2, слой частиц открыт для воздействия со стороны боковой поверхности впитывающей сердцевины в разделенной части, при попадании большого количества мочи в разделенную часть слой частиц набухает, что вызывает блокирование разделенной зоны, в результате чего скорость впитывания может быть снижена. Кроме того, несмотря на то, что в случае подгузника одноразового использования, раскрытого в патентном литературном источнике 3, вогнутая часть выполнена во впитывающей сердцевине, что вызывает уменьшение способности впитывающей сердцевины впитывать выделяемую организмом, текучую среду соответствующим образом, существует проблема, связанная с тем, что впитанное количество во впитывающей сердцевине уменьшается, поскольку не предусмотрено никаких средств для компенсации уменьшения впитывающей способности.

[0009] Следовательно, основная задача настоящего изобретения состоит в разработке впитывающего изделия, в котором даже в том случае, когда вогнутая имеющая форму канавки, впускная часть впитывающего элемента выполнена во впитывающем элементе, предотвращается уменьшение скорости впитывания выделяемой организмом, текучей среды, вызываемое блокированием, обусловленным образованием геля, и, таким образом, впитанное количество во всем впитывающем изделии может сохраняться.

Решение проблемы

[0010] Для решения проблемы, описанной выше, в соответствии с пунктом 1 формулы настоящего изобретения разработано впитывающее изделие, в котором впитывающий элемент расположен между проницаемым для жидкостей, передним поверхностным листом и задним поверхностным листом, при этом впитывающий элемент включает в себя вогнутую имеющую форму канавки часть, предназначенную для впуска выделяемой организмом, текучей среды, вдоль продольного направления впитывающего изделия и на интервале в продольном направлении, включающем часть, предназначенную для выпуска текучей среды, выделяемой организмом, и порошкообразная и гранулированная смола со сверхвысокой впитывающей способностью размещена, по меньшей мере, на боковой краевой части впитывающего элемента и на интервале в продольном направлении, включающем в себя часть, предназначенную для впуска выделяемой организмом, текучей среды.

[0011] В изобретении, описанном в пункте 1 формулы изобретения, впитывающий элемент включает в себя вогнутую имеющую форму канавки часть, предназначенную для впуска выделяемой организмом, текучей среды, вдоль продольного направления впитывающего изделия и на интервале в продольном направлении, охватывающем часть, предназначенную для выпуска текучей среды, выделяемой организмом. Часть, предназначенная для впуска выделяемой организмом, текучей среды, предназначена для временного удерживания выделяемой организмом, текучей среды и для обеспечения ее диффузии во впитывающий элемент, когда большое количество выделяемой организмом, текучей среды, такой как моча, выпускается за раз, и, таким образом, часть, предназначенная для впуска выделяемой организмом, текучей среды, может принимать большое количество выделяемой организмом, текучей среды, выпущенной за раз, даже тогда, когда площадь впитывающего элемента мала. Выделяемая организмом, текучая среда, проходящая в часть, предназначенную для впуска выделяемой организмом, текучей среды, также впитывается впитывающим элементом со стороны боковой поверхности части, предназначенной для впуска выделяемой организмом, текучей среды, в результате чего скорость впитывания повышается по сравнению со случаем, в котором выделяемая организмом, текучая среда впитывается со стороны поверхности впитывающего элемента, образованного с плоской формой.

[0012] Часть, предназначенная для впуска выделяемой организмом, текучей среды, выполнена во впитывающем элементе, емкость впитывающего элемента соответственно уменьшается, и, таким образом, впитывающая способность впитывающего элемента снижается. Однако, поскольку во впитывающем изделии порошкообразная и гранулированная смола со сверхвысокой впитывающей способностью размещена, по меньшей мере, на боковой краевой части впитывающего элемента и на интервале в продольном направлении, включающем в себя часть, предназначенную для впуска выделяемой организмом, текучей среды, происходит диффузия выделяемой организмом, текучей среды, проходящей в часть, предназначенную для впуска выделяемой организмом, текучей среды, внутри впитывающего элемента, и выделяемая организмом, текучая среда впитывается и удерживается в смоле со сверхвысокой впитывающей способностью на боковой краевой части впитывающего элемента, в результате чего существует возможность компенсации впитанного количества во впитывающем элементе, уменьшенного за счет выполнения части, предназначенной для впуска выделяемой организмом, текучей среды, и существует возможность сохранения впитанного количества во впитывающем элементе. Кроме того, поскольку смола со сверхвысокой впитывающей способностью «интенсивно» предусмотрена на боковой краевой части впитывающего элемента, даже в том случае, когда смола со сверхвысокой впитывающей способностью впитывает воду и становится набухшей, предотвращается блокирование части, предназначенной для впуска выделяемой организмом, текучей среды, в результате чего существует возможность предотвращения уменьшения скорости впитывания.

[0013] В качестве настоящего изобретения в соответствии с пунктом 2 формулы изобретения предложено впитывающее изделие согласно пункту 1 формулы изобретения, в котором боковой нетканый материал расположен в каждой из обеих боковых частей на обращенной к коже стороне вдоль продольного направления, и смола со сверхвысокой впитывающей способностью размещена на поверхности впитывающего элемента на обращенной к коже стороне с перекрыванием бокового нетканого материала и на интервале в продольном направлении, включающем в себя часть, предназначенную для впуска выделяемой организмом, текучей среды.

[0014] В изобретении в соответствии с пунктом 2 формулы изобретения смола со сверхвысокой впитывающей способностью размещена на боковой краевой части впитывающего элемента и на поверхности впитывающего элемента на обращенной к коже стороне с перекрыванием бокового нетканого материала и на интервале в продольном направлении, включающем в себя часть, предназначенную для впуска выделяемой организмом, текучей среды. В частности, смола со сверхвысокой впитывающей способностью не размещена на поверхности впитывающего элемента, расположенной со стороны, обращенной к коже, в части (на эффективной ширине впитывающего элемента), которая является центральной в направлении ширины и в которой боковой нетканый материал не расположен, между боковыми неткаными материалами, расположенными на левой и правой сторонах, и смола со сверхвысокой впитывающей способностью размещена на поверхности впитывающего элемента, расположенной со стороны, обращенной к коже, с перекрыванием бокового нетканого материала. Таким образом, существует возможность дополнительного увеличения количества воды, впитанной всем впитывающим элементом, и даже в том случае, когда смола со сверхвысокой впитывающей способностью, размещенная на поверхности впитывающего элемента, расположенной со стороны, обращенной к коже, впитывает воду и становится набухшей, существует возможность предотвращения ухудшения ощущения на поверхности кожи, такого как ощущение зернистости, поскольку боковой нетканый материал размещен со стороны передней поверхности.

[0015] В качестве настоящего изобретения в соответствии с пунктом 3 формулы изобретения предложено впитывающее изделие согласно пункту 1 или 2 формулы изобретения, в котором смола со сверхвысокой впитывающей способностью размещена на поверхности впитывающего элемента на стороне, не обращенной к коже, и на интервале в продольном направлении, включающем в себя часть, предназначенную для впуска выделяемой организмом, текучей среды.

[0016] В изобретении в соответствии с пунктом 3 формулы изобретения смола со сверхвысокой впитывающей способностью размещена на поверхности впитывающего элемента на стороне, не обращенной к коже, и на интервале в продольном направлении, включающем в себя часть, предназначенную для впуска выделяемой организмом, текучей среды, и, таким образом, существует возможность большего увеличения впитывающей способности впитывающего элемента.

[0017] В качестве настоящего изобретения в соответствии с пунктом 4 формулы изобретения предложено впитывающее изделие согласно любому из пунктов 1-3 формулы изобретения, в котором впитывающий элемент окружен обертывающим листом, и смола со сверхвысокой впитывающей способностью прикреплена или как к впитывающему элементу, так и к обертывающему листу, или к одному из впитывающего элемента и обертывающего листа.

[0018] В изобретении в соответствии с пунктом 4 формулы изобретения смола со сверхвысокой впитывающей способностью прикреплена или как к впитывающему элементу, так и к обертывающему листу, или к одному из впитывающего элемента и обертывающего листа, и, таким образом, существует возможность предотвращения смещения смолы со сверхвысокой впитывающей способностью и размещения смолы со сверхвысокой впитывающей способностью вдоль впитывающего элемента, в результате чего может плавно выполняется перемещение выделяемой организмом, текучей среды из впитывающего элемента в смолу со сверхвысокой впитывающей способностью.

[0019] В качестве настоящего изобретения в соответствии с пунктом 5 формулы изобретения предложено впитывающее изделие согласно любому из пунктов 1-4 формулы изобретения, в котором часть, предназначенная для впуска выделяемой организмом, текучей среды, образована или посредством отверстия, которое проходит сквозь впитывающий элемент от стороны, обращенной к коже, до стороны, не обращенной к коже, или посредством вогнутой части, которая заглублена от стороны, обращенной к коже, к стороне, не обращенной к коже, и которая имеет дно.

[0020] В изобретении в соответствии с пунктом 5 формулы изобретения средство для образования части, предназначенной для впуска выделяемой организмом, текучей среды, определено, и часть, предназначенная для впуска выделяемой организмом, текучей среды, может быть образована посредством отверстия, которое проходит сквозь впитывающий элемент от стороны, обращенной к коже, до стороны, не обращенной к коже, или может быть образована посредством вогнутой части, которая заглублена от стороны, обращенной к коже, к стороне, не обращенной к коже, и которая имеет дно, как, например, при ламинированной структуре, имеющей вогнутую часть, ламинированной структуре впитывающего элементе или при добавлении тисненой части.

Предпочтительные эффекты от изобретения

[0021] Как подробно описано выше, в настоящем изобретении даже в том случае, когда вогнутая имеющая форму канавки, впускная часть впитывающего элемента выполнена во впитывающем элементе, предотвращается уменьшение скорости впитывания выделяемой организмом, текучей среды, вызываемое блокированием, обусловленным образованием геля, и, таким образом, может сохраняться впитанное количество во всем впитывающем изделии.

Краткое описание чертежей

[0022] [Фиг.1] Выполненный с частичным разрывом, развернутый вид прокладки 1, применяемой при недержании, в соответствии с настоящим изобретением;

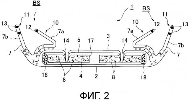
[Фиг.2] вид по стрелкам, выполненный по линии II-II на фиг.1;

[Фиг.3] вид по стрелкам, выполненный по линии III-III на фиг.1;

[Фиг.4] вид сверху, показывающий процедуру обертывания впитывающего элемента 4 обертывающим листом 5;

[Фиг.5] вертикальное сечение (вид по стрелкам, выполненный по линии II-II на фиг.1) прокладки 1, применяемой при недержании, показывающее другой вариант осуществления;

[Фиг.6] вертикальное сечение (вид по стрелкам, выполненный по линии II-II на фиг.1) прокладки 1, применяемой при недержании, показывающее еще один вариант осуществления;

[Фиг.7] вид сверху впитывающего элемента 4, показывающий часть 17, предназначенную для впуска выделяемой организмом, текучей среды;

[Фиг.8(А)-8(С)] вертикальные сечения впитывающего элемента 4, показывающие процедуру образования части 17, предназначенной для впуска выделяемой организмом, текучей среды; и

[Фиг.9] вертикальное сечение, показывающее процедуру прикрепления смолы 18 со сверхвысокой впитывающей способностью.

Описание вариантов осуществления

[0023] Вариант осуществления настоящего изобретения будет подробно описан ниже со ссылкой на чертежи.

[0024] [Базовая конфигурация прокладки 1, применяемой при недержании]

Как показано на фиг.1-3, прокладка 1, применяемая при недержании, в соответствии с настоящим изобретением образована главным образом посредством: не проницаемого для жидкостей, заднего поверхностного листа 2, образованного полиэтиленовым листом или тому подобным; проницаемого для жидкостей, переднего поверхностного листа 3, который быстро пропускает мочу; впитывающего элемента 4, который расположен между обоими листами 2 и 3 и который образован из хлопкоподобной целлюлозы, синтетической целлюлозы или тому подобного; обертывающего листа 5, который окружает впитывающий элемент 4 для сохранения формы впитывающего элемента и повышения диффузионной способности, и боковых нетканых материалов 7, которые образуют две, а именно левую и правую трехмерные сборки BS, которые выполнены так, что они выступают на стороне, обращенной к коже, в пределах заданного участка в продольном направлении так, чтобы использовать существенную боковую краевую часть впитывающего элемента 4 в качестве базового конца при подъеме и охватывать, по меньшей мере, часть, предназначенную для выпуска выделяемой организмом, текучей среды. В зоне, окружающей впитывающий элемент 4, в краевых частях, концевых в его продольном направлении, наружные краевые части не проницаемого для жидкостей, заднего поверхностного листа 2 и проницаемого для жидкостей, переднего поверхностного листа 3 соединены посредством адгезива, такого как термоплавкий клей, или средства адгезионного сцепления, такого как термосварка, и в обеих боковых краевых частях не проницаемый для жидкостей, задний поверхностный лист 2 и боковые нетканые материалы 7, выступающие наружу в боковом направлении по сравнению с впитывающим элементом 4, соединены посредством адгезива, такого как термоплавкий клей, или средства адгезионного сцепления, такого как термосварка.

[0025] Конструкция прокладки 1, применяемой при недержании, будет описана ниже с дополнительными подробностями. В качестве не проницаемого для жидкостей, заднего поверхностного листа 2 используется листовой материал, такой как полиэтилен или полипропилен, который обладает, по меньшей мере, водоотталкивающей способностью; в альтернативном варианте может быть использован нетканый материал, в котором размещена водонепроницаемая пленка для того, чтобы практически придать непроницаемость по отношению к жидкостям (в этом случае водонепроницаемая пленка и нетканый материал образуют не проницаемый для жидкостей, задний поверхностный лист), или тому подобное. В последние годы по соображениям, связанным с предотвращением потливости, имеет место тенденция к использованию листа, обладающего влагопроницаемостью. В качестве водоотталкивающего и влагопроницаемого листового материала, описанного выше, предпочтительно используется микропористый лист, который получен посредством расплавления и вмешивания неорганического наполнителя в олефиновую смолу, такую как полиэтиленовая или полипропиленовая, для образования листа и последующего растягивания листа в направлении одной оси или двух осей.

[0026] Кроме того, в качестве проницаемого для жидкостей, переднего поверхностного листа 3 предпочтительно используется пористый или непористый нетканый материал, пористый пластиковый лист или тому подобное. В качестве исходного волокна нетканого материала может быть использовано, например, синтетическое волокно, такое как олефиновое, например, полиэтиленовое или полипропиленовое, полиэфирное или полиамидное, регенерированное волокно, такое как вискозное и медноаммиачное, или натуральное волокно, такое как хлопковое; может быть использован нетканый материал, полученный посредством соответствующего способа обработки, такого как способ гидросплетения, фильерный способ, способ термоскрепления, аэродинамический способ получения нетканого материала из расплава или способ иглопробивания. Среди данных способов обработки способ гидропсплетения обеспечивает отличную гибкость и драпируемость, и способ термоскрепления обеспечивает отличную объемность и упругость при сжатии.

[0027] Впитывающий элемент 4 образован, например, с впитывающим волокном, таким как хлопкоподобная целлюлоза, и смолой 8 со сверхвысокой впитывающей способностью, и в примере, показанном на фигуре, его плоская форма образована по существу в форме эллипса, вертикально длинного в продольном направлении прокладки. Смола 8 со сверхвысокой впитывающей способностью представляет собой, например, гранулированный порошок и распределена и смешана с целлюлозой, образующей впитывающий элемент 4. Конфигурация впитывающего элемента 4 будет подробно описано позднее.

[0028] К примерам целлюлозы относятся целлюлоза, полученная из лесоматериалов, целлюлозное волокно, такое как растворимая целлюлоза, и искусственное целлюлозное волокно, такое как вискозное и ацетатное; по соображениям, связанным с функциональностью и ценой, целлюлоза из хвойной древесины, волокна которой являются длинными, используется предпочтительно в сравнении с целлюлозой из лиственной древесины. Как в примере, показанном на фигуре, когда впитывающий элемент 4 окружен обертывающим листом 5, обертывающий лист 5 в результате будет размещен между проницаемым для жидкостей, передним поверхностным листом 3 и впитывающим элементом 4, в результате чего обеспечивается быстрая диффузия выделяемой организмом, текучей среды посредством обертывающего листа 5, имеющего отличную впитывающую способность, и предотвращается возврат мочи и тому подобного.

[0029] Примеры смолы 8 со сверхвысокой впитывающей способностью включают продукт, полученный сшиванием полиакрилатов, подвергнутую самосшиванию соль полиакриловой кислоты, продукт, полученный сшиванием сополимера сложного эфира акриловой кислоты и омыленного винилацетата, продукт, полученный сшиванием сополимера изобутилена и малеинового ангидрида, продукт, полученный сшиванием соли полисульфоновой кислоты, и продукт, полученный частичным сшиванием набухающего в воде полимера, такого как полиэтиленоксид или полиакриламид. Среди них предпочтительны акриловая кислота и соль акриловой кислоты, обеспечивающие отличные впитанное количество воды и скорость впитывания. В смоле 8 со сверхвысокой впитывающей способностью, имеющей характеристики впитывания, описанные выше, плотность сшивания и градиент плотности сшивания отрегулированы в процессе ее изготовления, и, таким образом, существует возможность регулирования способности к впитыванию воды (изменения впитывающей способности) и скорости впитывания воды.

[0030] Синтетическое волокно может быть смешано с впитывающим элементом 4. В качестве синтетического волокна может быть использовано, например, полиолефиновое, такое как полиэтиленовое или полипропиленовое, полиэфирное, такое как полиэтилентерефталатное или полибутилентерефталатное, полиамидное, такое как нейлоновое, их сополимеры и тому подобное, или два типа данных волокон могут быть смешаны и использованы. Также могут быть использованы композиционные волокна, такие как двухкомпонентное волокно с ядром и оболочкой, в котором волокно с высокой температурной плавления используется в качестве ядра и волокно с низкой температурой плавления используется в качестве оболочки, двухкомпонентное волокно с расположением компонентов бок о бок и волокно разделенного типа. В том случае, когда синтетическое волокно представляет собой гидрофобное волокно, предпочтительно выполняют поверхностную обработку средством, придающим гидрофильность, так что обеспечивается сродство к выделяемой организмом, текучей среде.

[0031] Впитывающий элемент 4 окружен обертывающим листом 5. Несмотря на то, что в качестве обертывающего листа 5 может быть использован бумажный материал, такой как санитарно-гигиеническая бумага, или проницаемый для жидкостей, листовой материал, такой как нетканый материал, плотность его волокон предпочтительно представляет собой такую плотность волокон, что предотвращается отделение целлюлозы и смолы со сверхвысокой впитывающей способностью, содержащихся во впитывающем элементе 4.

[0032] В обеих боковых частях на стороне поверхности прокладки 1, применяемой при недержании, боковые нетканые материалы 7 предусмотрены вдоль продольного направления и на всей длине прокладки 1, применяемой при недержании, и наружная часть боковых нетканых материалов 7 удлинена в боковом направлении, и не проницаемый для жидкостей, задний поверхностный лист 2 удлинен в боковом направлении, в результате чего часть боковых нетканых материалов 7 и часть не проницаемого для жидкостей, заднего поверхностного листа 2, удлиненные в боковом направлении, соединены посредством термоплавкого клея или тому подобного для образования боковых клапанов.

[0033] В качестве бокового нетканого материала 7 в зависимости от функции, которой придается значение, может быть использован нетканый материал, подвергнутый обработке водоотталкивающим средством, или нетканый материал, подвергнутый обработке для придания гидрофильности. Например, когда придается значение, например, функции предотвращения проникновения мочи или улучшения ощущения, предпочтительно используется нетканый материал, подвергнутый обработке водоотталкивающим средством, такой как нетканый материал со структурой SSMS (spun bond - spun bond - melt blown - spun bond - слой нетканого материала фильерного способа производства - слой нетканого материала фильерного способа производства - слой нетканого материала, полученного аэродинамическим способом из расплава, - слой нетканого материала фильерного способа производства), SMS (слой нетканого материала фильерного способа производства - слой нетканого материала, полученного аэродинамическим способом из расплава, - слой нетканого материала фильерного способа производства) или SMMS (слой нетканого материала фильерного способа производства - слой нетканого материала, полученного аэродинамическим способом из расплава, - слой нетканого материала, полученного аэродинамическим способом из расплава, - слой нетканого материала фильерного способа производства), который покрыт водоотталкивающим средством на силиконовой основе, водоотталкивающим средством на парафиновой основе или водоотталкивающим средством на основе алкилхлорида хрома. Когда значение придается впитыванию выделяемой организмом, текучей среды, предпочтительно используется нетканый материал, подвергнутый обработке для придания гидрофильности, в котором, например, посредством способа выполнения - на этапе изготовления синтетического волокна - полимеризации в присутствии соединения, имеющего гидрофильную группу, например, продукта окисления полиэтиленгликоля, или способа выполнения обработки солью металла, такой как тетрахлорид олова, для частичного растворения поверхности для придания пористости и осаждения гидроксида металла синтетическое волокно подвергнуто набуханию или сделано пористым и в котором гидрофильность обеспечена за счет придания капиллярности. В качестве бокового нетканого материала 7 может быть использована ткань, в которой натуральное волокно, синтетическое волокно или регенерированное волокно используется в качестве материала и которая может быть образована посредством соответствующего способа обработки.

[0034] Боковые нетканые материалы 7 образуют трехмерные сборки BS со структурой сдвоенных сборок, образованные посредством пары из левых и правых внутренних трехмерных сборок 10, которые сложены необходимым образом и которые стоят на стороне, обращенной к коже, при месте рядом с основным боковым краем впитывающего элемента 4, представляющем собой базовый конец при «вставании», и пары из левых и правых наружных трехмерных сборок 11, которые расположены снаружи по отношению к внутренним трехмерным сборкам 10, которые образованы посредством не проницаемого для жидкостей, заднего поверхностного листа 2 и боковых нетканых материалов 7, выступающих в боковом направлении по отношению к впитывающему элементу 4, и которые стоят на стороне, обращенной к коже. Выбрана подобная структура сдвоенных сборок, и, таким образом, усиливается эффект предотвращения утечки, и, как будет подробно описано позднее, даже в состоянии, в котором смола 9 со сверхвысокой впитывающей способностью, предусмотренная на боковой части впитывающего элемента 4, впитывает воду и набухает, существует возможность уменьшения ухудшения ощущения на поверхности кожи, такого как ощущение зернистости. Трехмерные сборки BS могут иметь структуру с одинарными сборками, образованную посредством только любых одних из внутренних трехмерных сборок 10 и наружных трехмерных сборок 11, или могут быть предусмотрены только боковые нетканые материалы 7, то есть трехмерные сборки BS могут быть не образованы с формой трехмерных сборок, стоящих на стороне, обращенной к коже.

[0035] Конструкция внутренних трехмерных сборок 10 и наружных трехмерных сборок 11 будет описана подробно. Как показано на фиг.2, в боковых нетканых материалах 7 оба боковых конца в направлении ширины загнуты к стороне задней поверхности прокладки для соответствующего образования частей 7а и 7b со сдвоенными листами, расположенных с внутренней стороны и с наружной стороны в направлении ширины; предусмотрены один или множество нитевидных упругих и эластичных элементов, в примере, показанном на фигуре, один нитевидный упругий и эластичный элемент 12, в котором оба конца или соответствующая часть в продольном направлении прикреплены к внутренней стороне части 7а со сдвоенными листами, расположенной со стороны, внутренней в направлении ширины; предусмотрены один или множество нитевидных упругих и эластичных элементов, в примере, показанном на фигуре, два нитевидных упругих и эластичных элемента 13, в которых оба конца или соответствующая часть в продольном направлении прикреплены к внутренней стороне части 7b со сдвоенными листами, расположенной со стороны, наружной в направлении ширины; базовая концевая часть части 7а со сдвоенными листами, расположенной со стороны, внутренней в направлении ширины, приклеена посредством термоплавкого клея или тому подобного к верхней поверхности проницаемого для жидкостей, переднего поверхностного листа 3, предусмотренного на боковой части впитывающего элемента 4; базовая концевая часть части 7b со сдвоенными листами, расположенной со стороны, наружной в направлении ширины, приклеена посредством термоплавкого клея или тому подобного к боковой концевой части не проницаемого для жидкостей, заднего поверхностного листа 2, выступающей наружу в боковом направлении по сравнению с впитывающим элементом 4, и, таким образом, внутренние трехмерные сборки 10, которые стоят на стороне, обращенной к коже, образуются посредством части 7а со сдвоенными листами, расположенной со стороны, внутренней в направлении ширины, и наружные трехмерные сборки 11, которые стоят на стороне, обращенной к коже, образуются посредством части 7b со сдвоенными листами, расположенной со стороны, наружной в направлении ширины. В тех обеих частях боковых нетканых материалов 7, которые являются концевыми в продольном направлении прокладки, как показано на фиг.3, нитевидные упругие и эластичные элементы 12 и 13 не предусмотрены, и часть 7а со сдвоенными листами, расположенная со стороны, внутренней в направлении ширины, присоединена к стороне впитывающего элемента 4 посредством термоплавкого клея или тому подобного.

[0036] Как показано на фиг.1, в прокладке 1, применяемой при недержании, образованы тисненый элемент 14, расположенный в центральной части, который проходит в длину от стороны поверхности проницаемого для жидкостей, переднего поверхностного листа 3 и проходит в продольном направлении прокладки и который в целом является непрерывно замкнутым в направлении вдоль периферии, тисненый элемент 15, расположенный с передней стороны, который находится на расстоянии от передней стороны тисненого элемента 14, расположенного в центральной части, и который образован по существу с формой зонтика, и тисненый элемент 16, расположенный с задней стороны, который находится на расстоянии от задней стороны тисненого элемента 14, расположенного в центральной части, и который образован по существу с формой зонтика. В тисненом элементе 14, расположенном в центральной части, передняя часть выполнена такой, что она окружает зону, соответствующую отверстию носителя, предназначенному для мочеиспускания, и задняя часть выполнена такой, что она окружает зону, соответствующую межъягодичному желобку носителя.

[0037] [Конфигурация впитывающего элемента 4]

Далее конфигурация впитывающего элемента 4 будет описана подробно. Как показано на фиг.1 и 2, во впитывающем элементе 4 выполнена вогнутая, имеющая форму канавки часть 17, которая предназначена для впуска выделяемой организмом текучей среды и проходит вдоль продольного направления прокладки и которая проходит на интервале в продольном направлении, охватывающем часть носителя с отверстием для мочеиспускания, и порошкообразная и гранулированная смола 18 со сверхвысокой впитывающей способностью размещена, по меньшей мере, на боковой краевой части впитывающего элемента 4 и на интервале в продольном направлении, включающем в себя часть 17, подвергнутую процессу репродуцирования. Часть 17, предназначенная для впуска выделяемой организмом, текучей среды, предназначена для временного удерживания мочи в части 17, предназначенной для впуска выделяемой организмом, текучей среды, когда большое количество мочи выпускается за раз, и для обеспечения диффузии мочи во впитывающий элемент 4, и, таким образом, часть 17, предназначенная для впуска выделяемой организмом, текучей среды, может принимать большое количество мочи, выпущенной за раз, даже тогда, когда площадь впитывающего элемента 4 мала. Часть 17, предназначенная для впуска выделяемой организмом, текучей среды, выполнена, и, следовательно, моча, проходящая в часть 17, предназначенную для впуска выделяемой организмом, текучей среды, также впитывается впитывающим элементом 4 со стороны боковой поверхности (в поперечном сечении впитывающего элемента 4) части 17, предназначенной для впуска выделяемой организмом, текучей сре