Одноосный прицепной каток на пневматическихшинах

Иллюстрации

Показать все

Реферат

 

ОП И САН И Е

ИЗОБРЕТЕНИЯ

К АВТОРСКОМУ СВИДЕТЕЛЬСТВУ

280538

Союз Советских

Социалистических

Республик

Зависимое от авт. свидетельства №

Заявлено 26.!!.1968 (№ 1221551/29-14) с присоединением заявки №

Приоритет

Опубликовано ОЗ.IX.1970. Бюллетень № 28

Дата опубликования описанич 8.XII.1970

Кл. 19с, 19/26

Комитет по делам изобретений н открытий при Совете Министров

СССР

МПК Е 01с 19/25

УДК 625.084(088.8) Авторы изобретения

В. П. Нелипович, А. П. Герман, В. В. 1Цербак, Я. Г. Кеслер и Г. И. Савотин

Заявитель

ОДНООСНЫЙ ПРИЦЕПНОЙ КАТОК НА ПНЕВМАТИЧЕСКИХ

ШИНАХ

Изобретение предназначено для послойного статического уплотнения земляных масс, гравийно-щебеночных материалов при сооружении плотин, дамб, аэродромных площадок, оснований автомобильных и железных дорог и других инженерных сооружений.

Известны одноосные прицепные катки на пневматических шинах, включающие кузов с балластом. внешние и средние колеса. ОднаКо они имеют значительный вес и, кроме того, недостаточную устойчивость.

Для устранения этих недостатков в описываемом катке каждое среднее колесо смонтировано на балапсирной раме. Один ее конец закреплен шарнирно на кузове, а другой шарнирно соединен с дополнительным балластным ящиком, прикрепленным в свою очередь с возможностью поворота в вертикальной плоскости.

Для обеспечения демонтажа в полевых условиях балансирная рама может быть соединена с промежуточной рамкой, имеющей тягу, закпепленную на кузове.

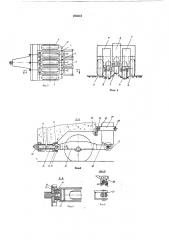
На фиг. 1 схематически изображен каток, вид сбоку; на фиг. 2 — то же, вид сверху; на фиг. 3 — расположение средних колес и балластных ящиков при работе катка íà Heðýâной поверхности, вид на каток сзади; на фиг.

4 — установка среднего колеса катка; на фиг.

5 — установка промежуточной рамки среднего колеса в балку переднего кузова; на фпг. б — опора балластного ящика, вид сбоку и снизу; на фиг. 7 — схема демонтажа одного пз средних колес для производства технического ухода или ремонта; на фиг. 8 — крепление монтажного каната к рамке среднего колеса, узел Г.

Описываемый одноосный прицепной каток включает узов 1 с балластом, внешние 2, 3 H средние 4, 5, б колеса и дополнительные балластные ящпкн 7, 8 H 9. Передний кузов 1 выполнен в виде одного общего ящика, к которому крепятся жестко дышло 10 с передней опорной стойкой 11, внешние колеса 2 н 3 и две задние опорные стойки 12.

Каждое пз средних колес смонтировано на балапспрной раме 18, которая посредством пальцев 14 соединяется с промежуточной рамкой 15, имеющей клиновидную форму в поперечном разрезе. К промежуточной рамке приварена тяга в гиде полого стержня 1б, который входит в трубу 17 кузова. Посредством гаек 18 промежуточная рамка затягивается в клинообразную поперечную балку 19. Количество средних колес может быть любым. Балластные ящики 7, 8 и 9 необходимы для создания вертикальной нагрузки на средние колеса.

Каждый балластный ящик с помощью

30 опорного кронштейна 20 опирается на попе280518

3 речину 21 рамы и фиксируется закладным пальцем 22. В средней части каждый балластный ящик посредством оси 28 прикреплен к рамке 24, соединенной пальцами 25 с кузовом. 5

К задней стенке кузова приварены кро ILU тейны 2б для установки фиксаторов 27 балластных ящиков, количество которых соответствует количеству средних колес. Поворачивая в плане каждый фиксатор на угол 90, 10 можно зафиксировать любой из балластных ящиков 7, 8 или 9 в верхнем положении.

В этом случае упор 28 балластного ящика опирается на фиксатор 27, и балластный ящик не опускается. 15

Каток работает следующим образом.

В рабочем положении кузов 1 и балластные ящики 7, 8 и 9 загружаются песком или любым другим балластом. Развеска катка выполнена так, что нагрузка на все колеса 20 одинакова.

При наезде на неровности уплотняемого грунта средние колеса 4, 5 и б могут подниматься пли опускаться на заданную величину, поворачиваясь вокруг пальцев 14. Соответ- 25 ственно будут подниматься илп опускаться балластные ящики 7, 8 и 9. Таким образом осуществляется независимая подвеска колес катка.

В транспортном положении кузов 1 и бал- 30 ластные ящики 7, 8 и 9 разгружаются через нижние люки 29. Средние колеса 4, 5 или 6 путем наезда на башмак 80 поднимаются в верхнее положение и при помощи фиксаторов

27 стопорятся в этом положении. Каток съез- 35 жает с башмака 80 и буксируется как одноосный прицеп на двух крайних колесах 2 и 8.

При необходимости технического ухода или ремонта одного из средних колес, например колеса 6, башмак 80 подкладывается под эго же колесо, вынимается закладной палец 22, и каток, буксируемый тягачом, наезжает па башмак 80. В этом случае поднимается балластный ящик 7, с помощью фиксатора 27 стопорится в верхнем положении, и каток съежает с башмака, Балансирная рама 18 возвращается в первоначальное положение. Для демонтажа колеса необходимо отвернуть гайки 18, а в полый стержень 1б ввернуть монтажный канат 81. Для технического ухода и проведения ремонта каток у станавливается на опорные стойки, с помощью того же тягача вместе с рамой колеса выкатываются из-под катка (как показано на фиг. 7). Монтажный канат необходим для удобства последующей закатки колеса под каток.

Предмет изобретения

1. Одноосный прицепной каток на пневматических шинах, включающий кузов с балластом, внешние и средние колеса, отличающийся тем, что, с целью повышения устойчивости катка, каждое среднее колесо смонтировано на балансирной раме, шарнир но соединенной одним концом с кузовом, а другим — с дополнительным балластным ящиком, прикрепленным к кузову с возможностью поворота в вертикальной плоскости.

2. Каток по п. 1, отличающийся тем, что, с целью обеспечения демонтажа в полевых условиях, балансирная рама соединена с промежуточной рамкой, имеющей тягу, закрепленную на ку зове..280518

Фиг /

+pen /

Редактор Г. С. Кузьмина

Заказ 3358/18 Тираж 480 Поди,к.п >с

ЦНИИПИ Комитета по делам изобретений и открытий при Совете Министров СССР

Москва, %-35, Раушская паб., д. 4/5

Типография, пп. Сапунова, 2

Составитель Л. Романова

Техред Л. Я. Левина

Корректоры: В. Петрова и Е. Ласточкина