Устройство для съема секций чугунных котлов

Иллюстрации

Показать все

Реферат

 

О П И С А Н И Е 3I879I

ИЗОБРЕТЕН ИЯ

К АВТОРСКОМУ СВИДЕТЕЛЬСТВУ

Союз Советских

Соцналнстнческих

Республик

Зависимое от авт. свидетельства №вЂ”

Заявлено 10.Х11.1969 (№ 1383609/24-6) с присоединением заявки ¹â€”

Приоритет—

Опубликовано 28.Х.1971. Бюллетень № 32

Дата опубликования описания 17.XII.1971

МПК F 24h 1/04

В 22b 27/14

Комитет по делам изобретений н открытий прн Совете Министров

СССР

УДК 697.3;621 — 771 (088.8) Авторы изобретения

И. Ф. Богданов, М. А. Марголин и Д. Я. Борщ

Научно-исследовательский институт санитарной техники

Заявитель

УСТРОЙСТВО ДЛЯ СЪЕМА СЕКЦИЙ ЧУГУННЫХ КОТЛОВ

Известно, что при выполнении работ по замене вышедших из строя секций чугунных котлов с ниппельным соединением используют самые примитивные ручные приспособления, например клинья, ломы и т. п. Прежде чем снять вышедшую из строя (дефектную) секцию, необходимо поочередно снять все секции, предшествующие дефектной, а затем — дефектную секцию, заменить последнюю и снова собрать котел. Разъединение секции производят путем забивания клиньев между их ниппельными головками. Эта операция, а также поочередное удаление с постамента всех секций, предшествующих дефектной, а затем их подъем на постамент и установка на место весьма трудоемки

Цель изобретения — снижение трудоемкости ремонтных работ и уменьшение затрат времени при замене вышедших из строя секций чугунных котлов. Это достигается тем, что предлагаемое устройство выполнено в виде винта, снабженного двумя расположенными одна за другой обоймами с гребнями для.захвата секций, одна из которых служит гайкой, а другая — упором для винта, Для предотвращения опрокидывания снимаемых секций крайняя из них снабжена

П-образной скобой.

С целью обеспечения съема секций котлов различных типов скоба выполнена со сменной вставкой.

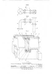
На фиг. 1 показан узел предлагаемого устройства; на фиг. 2 — П-образная скоба, 5 вид спереди и по стрелке А; на фиг. 3 — схема установки устройства на чугунном котле.

Устройство выполнено в виде винта 1, снабженного двумя обоймами 2 и 3 с гребнями и 5 соответственно. Гребень 4 служит гайкой, 10 а гребень 5 — упором для винта. Для уменьшения трения в гребень 5 впрессован подшипник б и в одну из щек каждой обоймы 2и и 3 ввинчен стопорный болт 7. Винт имеет цилиндрическую головку 8 и шестигранник 9.

П-образная скоба, удерживающая снимаемые секции от опрокидывания, содержит трубчатый отвод 10, сменную вставку 11, тройник 12 и патрубок 18, Эти элементы соединены фланцами 14, а к отводу 10 приварен фланец 15 с ра20 диальными пазами 15. Подле>кащий ремонту чугунный котел содержит два пакета, состоящих из крайних 17 и средних 18 секций. Пакеты скреплены между собой тройниками 19.

Для замены дефектной секции 20 котел от25 соединяют от системы отопления, воду из котла спускают в дренаж, а с боковой поверхности пакета, содержащего дефектную секцию, частично удаляют тепловую изоляцию 21. Далее отсоединяют нижний и верхний тройники зо и удаляют стяжные болты из пакета, содержа318791 щего дефектную секцию После удаления стяжных болтов тройник 19 присоединяют к котлу и трубопроводу системы отопления, чтооы при производстве работ секции 22, расположенные за дефектной секцией, не отодвигались. На крайних секциях 17 устанавливают П-образную скобу. Для этого в верхний ниппельный коллектор пакета, содержащего дефектную секцию, вставляют патрубок 18 скобы, а фланец 15 с радиальными пазами 1б крепят болтами к верхней ниппельной головке крайней секции второго пакета, На дефектную секцию 20 возле верхней и нижней ниппельных головок устанавливают обойму 8, а на секцию 28, примыкающую к секции 20 спереди, обойму 2. Обоймы крепят к секциям 20 и 28 стопорными болтами 7. г Возде яствуя- аеч ыми ключами 24 на шестифайийк 9.вийта 1, последний цилиндрической головкой-8 надав щвйет на гребень 5 обоймы 8 через подшипники 6" и, таким образом, снимаег с ниппелей 25:ио тод игает секции, предшествующие дефектной секции. При этом отодвигаемые секции скользят внутренней поверхностью ниппелей по патрубку 18 П-образной скобы, удерживающей их от опрокидывания, После этого обойму 8 устанавливают на секцию 2б, примыкающую к дефектной секции сзади, а обойму 2 — на дефектную секцию и таким образом снимают (отодвигают) дефектную секцию. На ее место устанавливают новую секцию и весь пакет стягивают монтажными стяжными болтами, которые затем удаляют так же, как и П-образную скобу. Наличие в скобе тройника 12 позволяет после установки новой секции взамен дефектной стягивать весь пакет без ее удаления, чем обеспечивается безопасность завершения работ. Затем

5 производят установку постоянных стяжных болтов и тройников, опрессовку, присоединение котла к теплоснабжению и восстановление снятой теплоизоляции.

Наличие на отводе 10 П-образной скобы

10 фланца 15 с радиальными пазами 1б позволяет применять скобу для ремонта котлов с различными расстояниями от центра до отверстий шпилек для крепления тройника 19, а наличие сменной вставки 11 — скобу для ремон15 та котлов с различным расстоянием между верхними ниппельны м и головка ми пакетов.

Предмет изобретения

20 1. Устройство для съема секций чугунных котлов с ниппельным соединением, отличающееся тем, что, с целью снижения трудоемкости ремонтных работ, оно выполнено в виде винта, снабженного двумя расположенными одна за другой обоймами с гребнями для захвата секций, одна из которых служит гайкои, а другая — упором для винта.

2. Устройство по п 1, отличающееся тем, что, с целью предотвращения опрокидывания снимаемых секций, крайняя из них снабжена

П-образной скобой.

3. Устройство по пп. 1 и 2, отличающееся тем, что, с целью обеспечения с.ьема секций котлов различных типов, скоба выполнена со

35 сменной вставкой.

318791

Юис Д РиГ У г/

Составитель М. Вайсборд

Редактор А. Ю. Пейсоченко Техред Т. Т. Ускова Корректоры Н. С. Шевченко и

Л. Б. Бадылама

Заказ 500/1964 Изд. ¹ 1409 Тираж 473 Подписное

ЦНИИПИ Комитета по делам изобретений и открытий при Совете Министров СССР

Москва, Ж-35, Раушская наб., 4/5

Тип. Харьк. фил. пред. «Патент»

„У

»1