Всесоюзная
Иллюстрации
Показать всеРеферат
375328
ОП ИСАНИЕ И 3 О Б Р t T Е Н:И -Я
К АВТОРСКОМУ СВИДЕТЕЛЬСТВУ
Союз Советских
Социалистических
Республик
Зависимое от авт. свидетельства №
Заявлено 26:Н.1971 (Ah 1625865/28-12) с присоединением заявки № Приоритет ,Опубликовано 23.Ш.1973. Бюллетень № .16
Дата опубликования описания 5Х1,1973
М. Кл.:Р ОЗс 3/32 йамитет ло делам изобретаиий и открмтий ари Совете Министров
СССР
УДК 6».054.2(,088 8) Авторы изобретения
3 аяв итель
Т. Ж. Аймалетдинов, А. М. Дьячков и Е. В. Кузьмин
Климовское специальное конструкторское бюро по проектированию ткацкого оборудования р,„- СОЮЗНЛЯ гмйнтно-fcXHN". Ай
БИБЛИО
ПРИВОД НОЖЕВЫХ РАМОК ЖАККАРДОВОЙ МАШИНЫ!
Изобретение относится к п|риводам ножевых размок для образова1ныя зева, .применяемых в жак ка1рдовой машине. Извествы и пртсвод ножевых рамок жакка рдствой ма шины имеет приводно и .кулачок, контактирующий с роликами, установленными на рычагах, и тя ги, соединяющие рычаги с ножевыми рамка|ми,, имеющими направляющ ие.
:Указанный привод имеет сложную кинематическую схему .передачи движения ножевым рамка1м и содержит механизмы преобразова ния качательного движения кулачка в возвратно-поступательное движение ползуна iH далее — в качательн ое движение рычагов и .ножевых pea Mîê.
Цель изобретения — пов ьншение надежности ра боты привода и упрощение етого кон.струкции.
Для этого в предлагаемом прои!ваде оои роликов соединены пластиной, и меющей прорезь, в которую входит вал кулачка, а направляюсцие ножевых рамок выполнены в .виде двух лар параллельных стержней, между котор ы ми,,расположены сухари, соединенные через промежуточные кронштейны с ноже выми роликами. Рыча1пи получают д1в и жение непосредственно отяулачка через ролики, а соединение роликов промежуточной пластиной Обеспечивает надежный контакт, роликов с куламком. Упрощение конструиц и и достипается за ,счет исключения промежуточного возвратнопоступательного движения ползуна.
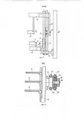
На фи г. 1 .изображен предлагаемый гариной ножевых рамок, общиной вид.; на фиг. 2 — на.правлятощие ножевых рамок, вид сбоку; на (фиг. 3 — разрез по А — А на фиг. 2.
10 Привод имеет приводной кулачок 1, за креплен ный на валу 2, установленном на раме 8. Кулачок получает вращение от вала, связанного с приводом станка,, и контактирует с двумя роликами 4, свободно посажен15 ными на осях 5 и (б закреплен ных на концах д|вуплечих рыча гав 7 и 8, качающихся вокруг осей 9 и 10. Оси 5 и б |роликоB соединены пластиной И, в п рорезь:котор1ой входит вал кул ач. к а.
20 Hla плечах рычагов 7 m l8 имеются отверстия для установки регулируемых тяг 12 и .18. Концы тя г шарнир но соединены при помощи осе и 14 и 15 и крон ште,йнов 1б и 17 с ножевьами рамками 18 и 19.
25 Рамии несут нож и 20 и 21, которые служат
1для подъема зевообр азо вательных крючков. Ножевые .рамки имеют направляющие 22 и (28, выпол|нейные в виде двух пар па р аллель ньпх стержней, между которыми расположеЗО ны сухар и 24 и 25, шарнирно соединенные с
375328 рамками 18 и 19 через промежуточные крон штейны 26, 27 и ос и 28, 29. Оск 14 и 15 кре пйения туг и оси 28, 29 крепления сухарей к ирои штейнам 26 и (27 ножевых рамок раоположены на линии ко нтакта ножей 20 и 21 с эевообр(азов ательвыми крючка ми. Вертикальные нап равляющ ие установлены на patMe 8 пры помощи крон шгейнов 80 и 81.
Привод работает следующим образом. При в(ращении:кулачок де|йствует через .ролик на нижни и качакнцийся рычаг 8, повораяивая его вокруг оси .10. В результате, тяги 18 переме цают р;амку 19 в верхнее положение. Одновременно рамка 18 под дейспв ием собствен1наго веса опускается в нижнее пол(ожение. При этом рамка 18 черкез тя ги li2, рыча г 7 и пластину 11 уменьшает контактное напряжение в па ре кулачок-ролик рычага 8. Вертикальное и угловое перемещение ножей 20 и 21 достигается вертииальным пере мещением н1ожевых рамок по нап|равля,ющим 22 и IZB и качательным движением во.круг осей 28.и 29;.
Верхний и нижний ножевые ролики перемещаются на одинаковую величину хода л
5 противоположных направлениях.
Предмет изо бретения
Привод ножевых рамок жа киардовой ма шины, включающий приводной кулачо|к, кон10 тактирующий с роликами, устано вленныMIH на рычагах, и тяпи, соединяющие рычати с ножевыми рамками, имеющими напр авляющ ию, отличающ ийся тем, что, с целью повы шения надежности его |работы, оси роликов
15 соединены пласт|иной, имеюще и прорезь, в которую входит вал кулачка, а направляющие н оже вых рамок в ы полнены в виде двух пар параллельных стержней,,между, которыми ра сположены су|хари, соединенные через
2O,прдмежуточные ccpон штейны с ножевыми рамкам и .


