Кровать-каталка травматологическая

Иллюстрации

Показать все

Реферат

 

Союз Советски к

Соцмвлистическмк

Республик

О П И С А Н И Е,891092

ИЗОБРЕТЕН ИЯ

К АВТОРСКОМУ СВИДЕТЕЛЬСТВУ (61) Дополнительное к авт. свид-ву (22) Заявлено 17.07.78 (21) 2647821/28-13 (51) Я. 1(л.

А 61 5 7/08 с присоединением заявки РЙ

9оударстввиный комитет

СССР (23) Приоритет до делам изоорвтеиий и открытий

ОпУбликовано 23.12.81. Бюллетень М 47 (53) уд1 615.478. .2 (088.8) Дата опубликования описания 25. 12.81

Б. Д. Абдуев, Д. Д. Груджиян, Ю. Г. Липский и A. А. Постников (72) Авторы изобретения (7l) Заявитель Кубанский государственный медицинский институт им. Красной

Армии (54) КРОВАТЬ-КАТАЛКА ТРАВМАТОЛЛСГИЧЕСКАЯ

Изобретение относится к медицинской технике, а именно к ортопедии и травматологии, и предназначено для лечения переломов с использованием метода скелетного вытяжения.

Известна кровать, содержашая ложе

5 из двух рам, спинки и регулируемые по высоте ножки с колесами 1).

Однако известная кровать не исключает травмирование больного при наличии

10 скелетного вытяжения в процессе транспортировки.

Цель изобретения — исключить травмирование больного при наличии скелетного вытяжения в процессе транспортировки.

Цель достигается тем, что в кроватикаталке, содержащей ложе иэ двух рам, спинки, регулируемые по высоте ножки с колесами, соединение рам ложа между собой и спинками выполнены шарнирными, между одной из спинок и верхней рамой ложа установлен винтовой механизм регулирования наклона и фиксации, рам выполненный в виде муфты, двух стержней с левой и правой резьбой, причем спинки с ножками соединены при помоши подвижных хомутов с фиксаторами, причем верхняя рама выполнена с горизонтальными пазами для установки подвижных кронштейнов под шину Белера.

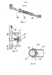
На фиг. 1 изображено устройство, общий вид; на фиг. 2 — то же, вид сверху; на фиг. 3 — то же, вид сбоку; на фиг. 4— механизм регулирования наклона и фиксации рам; на фиг. 5 — узел соединения спинки с ножками при помоши подвижных хомутов с фиксаторами; на фиг. 6 - разрез Б-Б на фиг. 5; на фиг. 7 — узел установки подвижного кронштейна под шину Белера, разрез В-В на фиг. 2; на фиг. 8 — разрез Г-Г на фиг. 2.

Кровать-каталка травматологическая состоит из шарнирно связанных между собой верхней 1 и нижней 2 рам и двух вертикальных спинок 3, выполненных так же в виде рам. Верхняя рама 1 и нижняя рама 2 соединены перемычками 4, а на вертикальных спинках-рамах 3 в седло, 891092 видных цапфах 5 закреплены ножки 6 с колесами 7. Ножки 6 остаются в вертикальном положении при наклоне рам 1 и 2, который осуществляют при помощи механизма регулирования наклона 8. Этот же узел обеспечивает фиксацию рам 1 и 2 и необходимом положении. Механизм регулирования наклона Q состоит иэ муфты 9 и двух стержней 10 и 11 с певой и правой резьбой.

Ножки 6 снабжены расположенными с некоторым шагом в продольном направпении отверстиями 12,.â которые входят. фиксирующие штифты 13 седповидных цапф 5. Закреппение ножек 6 к седповидным цапфам выполнено с помошью хому,та 14 и винта 15.

Верхняя рама 1 в головной части снабжена подголовником 16, закрепленным с возможностью регулирования наклона. Подгоповник 16 снабжен зубчатыми рейками .

17, спужащими для фиксации его в необходимом положении. На подголовнике 16 шарнирно закреплен откидной столик 18, который показан в откинутом рабочем положении пунктирной линией.

Верхняя рама 1 снабжена продольными пазами 19, служащими дпя установки упора 20 дпя здоровой конечности и кронштейн дпя крепления шины Белера.

Упор 20 для здоровой ноги и кронштейй.

2l дпя шины Бепера устанавливаются с любой стороны кровати и регулируются в пюбом направлении (фиг. 1 и 2).

Крепление упора 20 дпя здоровой ноги выполнено на двух фиксаторах 22, зажатых s пазах 19 при помощи фасонных шайб 23 и гайки 24.

Кронштейн 21 дпя креппения шины Белера крепится аналогичным образом.

Кроватью-каталкой пользуются следующим образом, Д

Больной с травмой опорно-двигатепьмого аппарата укладывается на кровать.

С помошью механизма регупироваиия наклона 8 изменяют пространственное попожение рам 1 и 2 и,накпадывается скелетное вытяжение, а с помощью подвижных хомутов 14 и фиксаторов 15 ножки

6 устанавпиваются в вертикальное попожение, что обеспечивает хорошую подвиж

36 ность кровати и транспортировку больного на разпичные процедуры, исключая многократные перекладки больного и его . травмирование при длительном нахождении иа кровати.

Формула изобретения

1, Кровать-каталка травматопогичес 6 кая, содержащая поже из двух рам, спинки, регупируемые по высоте ножки с колесами, о т и и ч а ю ш а я с я тем, что, с цепью искпючения травмирования больного при наличии скепетного вытящ жены в процессе транспортировки, соединения рам ложа между собой и спинками выполнены шарнирными, между одной иэ спинок и верхней, рамой ложа установпен винтовой механизм регулирования

ЗО наклона и фиксации рам, выполненный в виде муфты и двух стержней с левой и правой резьбой, причем спинки с ножками соединены при помощи подвижных хомутов с фиксаторами.

2. Кровать-каталка по п. 1, о т и и35 ч а ю ш а я с я тем, что верхняя рама

I выцопнена с горизонтальными пазами дпя установки подвижных кронштейнов под шину Бепера.

Источникщ информации, 40 принятые во внимание при экспертизе

l. Harem Вепикобритании М 1425296, кп. А 4 R, 1976.

891092 фиг, Г- Г

Составитель В. Собчук

Редактор Л. Гратилло Техред Ж.Кастелевич Корректор С.Шомак

Заказ 11067/5 Тираж 690 Подписное

ВНИИПИ Государственного комитета СССР по делам юобретений и открытий

113035, Москва, Ж-35, Раушская наб., д. 4/5

Филиал ППП "Патент, г. Ужгород, ул. Проектная, 4