Устройство для промывки изделий

Иллюстрации

Показать все

Реферат

 

ОП ИСАНИЕ

ИЗО6РЕТЕНИЯ

К АВТОРСКОМУ СВИДЕТЕЛЬСТВУ

Союз Советски к

Социалистичесинк

Реслублии ()929740 (61) Дополнительное к авт. сеид-ву № 836222 (22) За" влено 17.10.80 (2! ) 3QQ5962/2202 с присоединением заявки М (23)Приоритет(51) М. Кл.

С 23 Ц 5/04

1ЪвудврствапэФ комитет

СССР ав далэи имбретеннй и еткрнтик

ОпУбликовано 23.05.82. Бюллетень Юе 19 (5Ç ) УД К 62 1.794..41(088 8) Дата опубликования описания,26.05.82. (72) А втор. изобретения

С. И. Вулачек (7I ) Заявитель (54) УСТРОЙСТВО ДЛЯ ПРОМЫВКИ

ИЗДЕЛИЙ

Изобретение относится к оборудованию для производства радиодеталей, в част/ ности к устройствам для промывки радиодеталей в кассетах.

По основному авт. св. № 836222 известно устройство.для промывки изделий, содержащее ванну для промывки с подающим н сливным трубопроводами, соединенный с ними закрытый резервуар с насосом и нагревательным элементом, механизм перемещения с направляющими, выполненными с воэможностью перемещения, начальный и конечный магазинынакопители, при этом устройство снабжено дополнительной емкостью с штуцером, соединенной с атмосферой и расположенной в подающем трубопроводе, а штуцер соединен с насосом закрытого резервуара, причем направляющие снабжены упорами (1) .

Однако в известном устройстве кассеты с радиодеталями в процессе промывки не фиксируются на направляющих и могут под воздействием струи моющей жидкости, подаваемой в ванну, или от вибрации устройства смешаться от номинального положения. В таком случае, при очередном подъеме кассеты не попадают между зубьями гребенок механизма перемещения, так как шаг между кассетами из- за смещения последних не соотг ветствует шагу зубьев гребенок, что приводит к заклиниванию, а следовательно снижается надежность работы устройства.

Кроме того, отсутствие фиксации кассет в процессе промывки не позволяет использовать в полном объеме динамическую энергию струи моющей жидкости для улучшения качества промывки.

Бель изобретения - повышение надежности устройства.

Поставленная цель достигается тем, что устройство для промывки изделий снабжено двуплечими рычагами с фиксирующими гребенками, расположенными на подвижных направляющих механизма перемещения с воэможностью поворота

3 92 и взаимодействия с регулируемыми неподвижными упорами.

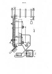
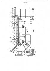
На фиг. 1 представлено устройство в процессе промывки иэделий, общий вид;на фиг. 2 - то же, в процессе перемещения кассет с изделиями, на фиг. 3разрез А-А на фиг. 1; на фиг. 4 - разрез Б-Б на фиг. 2.

Устройство для промывки иэделий содержит систему 1 подогрева и подачи моющего раствора, начальный 2 и конечный 3 магазины-накопители 4 перемещения кассет 5 : обрабатываемыми изделиями 6.

Механизм 4 перемещения кассет 5 состоит иэ подвижных в вертикальной плоскости направляющих 7, закрепленных на рычажном механизме 8, управ. ляемом кулачком 9, и гребенок 10, установленных на рычажном механизме 11, управляемом кулачком 12.

На направляющих 7 установлены в проушинах 13 двуплечие поворотные рычаги 14, на которых закреплены фиксирующие гребенки 15, управляемые регулируемыми упорами 16.

Устройство работает следующим образом.

В исходном положении (фиг. 1 и 3) находящиеся в ванне кассеты 5 с обрабатываемыми изделиями 6 фиксируются на направляющих 7 гребенками 15.

После включения привода (не показан) посредством кулачка 9 и рычажного механизма 11. поднимаются направляющие 7 с кассетами 5. Одновременно с направляющими 7 поднимаются гребенки 15, закрепленные на рычагах 14, расположенных в проушинах 13, установленных на направляющих 7.

Подъем происходит до тех пор, пока кассеты 5 (фиг. 2) не попадут между зубьями гребенок 10, при этом рычаги

9740 4

О

14 (фиг..4) взаимодействуют с упорами 16 и проворачиваются относительно осей проушин 13, приподнимая фиксирующие гребенки 15 над кассетами 5 и освобождая их от фиксации. Гребенки 10 с помощью рычажного механизма 11 от кулачка 12 перемешают кассеты 5 вправо на шаг, равный расстоянию между зубьями гребенок 10.

10 После перемещения направляющие 7 с кассетами 5 опускаются, рычаги 14 перемешаются вниз от упоров 16 и зубья гребенок 15 входят в промежутки между кассетами 5, фиксируя их от смед щения.

Таким образом, кассеты с изделиями окунаются в моющий раствор в зафиксированном положении, что позволяет повысить надежность работы устройства и щ использовать динамическую энергию струи моющей жидкости для улучшения качества промывки.

Предполагаемый годовой экономический эффект от внедрения устройства сод ставит 10 тыс. руб, Формула изобретения

ЗО Устройство для промывки изделий по авт. св. № 836222, о т л и ч а ю щ е е с я тем, что, с целью повышения надежности устройства, оно снабжено двуплечими рычагами с фиксирующими зз гребенками, расположенными на подвижных направляющих механизма перемещения с возможностью поворота и взаимодействия с регулируемыми неподвижными упорами.

40 Источники информации, принятые В0 внимание при экспертизе

1. Авторское свидетельство СССР № 836222, кл. С 23 g 5/04, 1979.

Д-А

Составитель И. Саакова

Редактор Ю. Юрковецкая Техред И. Гайду Корректор Г. Огар

Заказ 3419/36 Тираж 1049 Подписное

ВНИИПИ Государственного комитета СССР по делам изобретений и открытий

113035„Москва, Ж-35, Раушская наб., д. ф/5

Филиал ППП "Патент, г. Ужгород, ул. Проектная, 4