Торцовый ключ для стопорения гаек

Иллюстрации

Показать все

Реферат

 

г- 1

1 (72) . Авторы изобретения, Б. Ф. Кончиц и А. М. Дьштриев

1 юх; F (7l) Заявитель (54) ТОРЦОВЫЙ КЛЮЧ ДЛЯ СТОПОРЕНИЯ ГАЕК

Изобретение, относится к машиностроению и может быть использовано в различных отраслях промышленности при сборочно-монтажных работах как для стопорения гаек с помощью ишлинта, так и для эашплинтовки круглых осей.

Известен торцовый ключ для стопорения завернутой гайки путем отгибания усика ее стопорной шайбы, содержащий рабочую головку, эксцентрично установленный в ней с возможностью вращения стержень с рукояткой и отгибающий элемент, закрепленный на свободном конце стержня (11.

Наиболее близким по технической сущности к изобретению является торцовый ключ для стопорения гаек, содержащий рабочую головку с ответствием, рукоятку, центральный стержень, жестко соединяющий рабочую головку с рукояткой, отгибаюппй элемент которого выполнен в виде пространственного щ кулачка с рабочей частью в виде двух участков: горизонтального с поверхностью Мебуса и вертикального — цилиндрического, а рабочая головка выполнена с окном со сторо\

2 ны этого кулачка для обеспечения прижатия усика шайбы к грани гайки (2).

Общим недостатком известных торцовых ключей является невозможность стопорения гаек с помощью шплинта.

Целью изобретения является обеспечение возможности стопорения гаек с помощью шплинта и повышение производительности.

Для достнжения поставленной цели торцовый ключ для стопорения гаек, содержащий рабочую головку с отверстием, рукоятку и цент-. ральный стержень,.жестко установленный в отверстии рабочей головки и соединяющий ее с рукояткой, снабжен втулкой, установленной иа центральном стержне с возможностью осевого перемещения осью, жестко закрепленной в рабочей головке, и установленным с возможностью попеременного ново. рота вокруг оси и втулки рычагом с поводком для отгибания шплинта и пазами, один из которых сопряжен.с отверстием рабочей головки и равен яаружному диаметру втулки, другой радиусный паз смещен относительно центрального стержня и соответствует в попе3 979100 речном сечении диаметру установленной в нем оси.

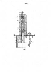
На фиг. 1 изображен предлагаемый торцовый ключ, разрез; на фиг. 2 — разрез А — А на фиг. 1; на фиг. 3 — схематично показана работа ключа.

Торцовый ключ для стопорення гаек шплин: том содержит рабочую головку 1, жестко связанную с рукояткой 2 посредством центрального стержня 3, .рычаг 4, имеющий возмож- 10 ность поворотного перемещения благодаря наличию на нем пазов 5 и б, поводок 7, служащий дпя отгибания концов .шплинта 8 по граням гайки 9, жестко закрепленный на, рычаге 4, ось 10, жестко закрепленную на ра- 15 .бочей головке 1, и втулку 11, установленную, на центральном стерхяе 3 с возможностью осевого перемещения.

Паз 5 образован сопряжением двух диаметров, один из которых- соответствует дн- эп аметру центрального стержня 3, а другой наружному диаметру втулки 11, Паз б соответствует диметру оси 10.

Втулка 11 с закрепленной в ней кнопкой

12 установлена в рукоятке 2 с возможностью ээ возвратно-поступательного перемещения под действием пружины 13.

Работает торцовый ключ следующим образом.

После затяжки гайки 9 в отверстие болта вставляется шплинт 8. Рабочая головка 1 своей выемкой надевается на ппшинтувмую гайку 9. Поводок 7 устанавливается в положение, при котором он касается плоской стороны длинного конца шплинта 8 (см. фиг. 3).

При повороте рычага 4 против часовой стрелки поводок 7 движется по радиусу R>, отгибая при этом длинный конец шплинта 8 по грани гайки 9. Поворот рычага 4 в этом случае происходит относительно оси 10, паз 5 при .

40 этом обходит центральный стержень 3 и боль4 ший диаметр паза 5 становится соосным с центральным стержнем 3. Нажатием кнопки 12 втулка 11 вводится в паз 5 рычага 4. При повороте рычага 4 относительно втулки 11 по часовой стрелке поводок 7 движется по радиусу R, отгибая второй конец шплинта

8. Ось 10 при этом мешает повороту рычага

4, так как находится в назе 6.

Применение ключа для стопорения гаек шплинтом позволит значительно снизить трудоемкость при одновременном повышении качества и удобства работ.

Формула изобретения

Торцовый ключ для стопорения гаек, содер-. жащий рабочую головку с отверстием, рукоятку и центральный стержень, установленный в отверстии рабочей головки и соединяющий ее с рукояткой, отличающийся тем, что, с целью обеспечения возможности стопорения гаек с помощью пшлинта н повышения производительности, он снабжен втулкой, установленной на центральном стержне с возможностью. рсевого перемещения осью, жестко закрепленной в рабочей головке, и установленным с возможностью попеременного поворота вокруг оси и втулки рычагом с поводком для отгнбания пхплинта и пазами, один из которых сопряжен с отверстием рабочей головки и равен наруляому диаметру втулки, другой рцдусный паэ смещен относительно центрального стержня и соответствует в поперечном сечении диаметру установленной в нем оси.

Источники итярормации, принятые во внимание при экспертизе

1. Авторское свидетельство СССР Р 223646, кл. В 25 В 13/06, 1967.

2. Авторское свидетельство СССР М 7211317, кл. В 25 В 13 06, 1977 (прототи ).

979100

Составитель А. Косеева

Техред М. Коштура

Корректор А; Ференц

Редактор Т. Прусова

Заказ 9481/19

Филиал ППП "Патент", г. Ужгород, ул. Проектная, 4

Тираж 1087 Подписное

ВНИИПИ Государственного комитета СССР по делам изобретений и открытий

113035, Москва, Ж-35, Раушская наб., д. 4/5