ЦУДЗУКИ Кацутоси (JP)
Изобретатель ЦУДЗУКИ Кацутоси (JP) является автором следующих патентов:

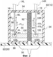
Выравнивающее устройство фары
Изобретение относится к выравнивающему устройству фары для настройки направления оптической оси фары на транспортном средстве. Устройство включает первое и второе удерживающие средства, первое и второе соединительное средство, первое и второе толкающие средства, тянущее средство и средство управления. На тянущем средстве закреплен базовый конец первого соединительного средства в его продольном н...
2482983