Выравнивающее устройство фары

Иллюстрации

Показать все

Изобретение относится к выравнивающему устройству фары для настройки направления оптической оси фары на транспортном средстве. Устройство включает первое и второе удерживающие средства, первое и второе соединительное средство, первое и второе толкающие средства, тянущее средство и средство управления. На тянущем средстве закреплен базовый конец первого соединительного средства в его продольном направлении в первой крепежной части, и на котором закреплен базовый конец второго соединительного средства в продольном направлении во второй крепежной части. Средство управления удерживает тянущее средство в таком положении, что направление суммарного момента, действующего на тянущее средство, все время сохраняется в том же направлении. Суммарный момент является общей суммой первого момента, созданного в тянущем средстве силой, с которой первое соединительное средство тянет первую крепежную часть к направляющему концу первого соединительного средства, и второго момента, созданного в тянущем средстве силой, с которой второе соединительное средство тянет вторую крепежную часть к направляющему концу второго соединительного средства. Тянущее средство удерживается на средстве управления в месте соединения, а расстояние от места соединения до первой крепежной части установлено длиннее, чем расстояние от места соединения до второй крепежной части. Достигается возможность снижения относительной погрешности в величине перемещения соединительных средств, и регулировка оптической оси левой и правой фары. 9 з.п. ф-лы, 8 ил.

Реферат

Предпосылки создания изобретения

1. Область техники изобретения

[0001] Изобретение относится к выравнивающему устройству фары для настройки направления оптической оси фары на транспортном средстве.

2. Описание установленного уровня техники

[0002] Когда пассажиры садятся на заднее сидение транспортного средства, или когда багаж укладывается в багажный отсек в задней части транспортного средства, задняя часть транспортного средства оседает, в результате чего направление оптической оси фар имеет тенденцию откланяться вверх, даже когда оптическая ось фары находится в так называемой установке положения «ближний свет», в которой оптическая ось отклоняется вниз относительно направления вперед. Поэтому было обеспечено выравнивающее устройство фары, которое позволяет оптической оси фары отклоняться вниз, как описано, например, в публикации японской патентной заявки №2001-191843 (JP-A-2001-191843), зарегистрированной японской полезной модели с №3016074, публикации заявки на японскую полезную модель №6-75889 (JP-U-6-75889), японской полезной модели с публикационным №61-23482 (JP-Y2-61-23482), и публикации японской патентной заявки №2004-22324 (JP-A-2004-22324).

[0003] Фары обеспечиваются на обоих, левой и правой, сторонах спереди транспортного средства, и, следовательно, должны быть отрегулированы направления оптических осей как левой, так и правой фар. В так называемых транспортных средствах с правосторонним управлением тем не менее пассажирское сидение расположено справа от центра транспортного средства в направлении его ширины. В транспортных средствах с правосторонним управлением, таким образом, расстояние от левой фары до сиденья водителя больше, чем расстояние от правой фары до сиденья водителя. Когда средство управления, такое как круговая шкала или рычаг выравнивающего устройства фар, предусмотрено, например, вблизи сиденья водителя, и средство управления соединено с левой и правой фарами посредством тросиков, проходящих через моторное отделение, как в случае с выравнивающим устройством фары, раскрытым в JP-A-2004-22324, тросик, соединяющий средство управления и левую фару, длиннее, чем тросик, соединяющий средство управления и правую фару.

[0004] В схеме расположения, в которой тросики подвергают воздействию тянущего усилия средств управления, и тянущее усилие средств управления, действующее на тросики, снимается с помощью принудительной силы принудительных средств, таких, как возвратная пружина, то, чем длиннее тросики, тем больше становится сила, которая необходима как для создания тянущего усилия, так и для создания возвратного усилия (т.е. больше становится потеря силы, необходимой для перемещения тросиков). Таким образом, разная длина левого и правого тросиков дают основание для появления погрешностей в длине сдвига левого и правого тросиков, во время создания тянущего усилия и создания возвратного усилия. Эти погрешности приводят к разнице между ориентациями оптических осей левой и правой фар.

КРАТКОЕ ОПИСАНИЕ ИЗОБРЕТЕНИЯ

[0005] В свете вышесказанного, объектом изобретения является обеспечение выравнивающего устройства фары, в котором относительная погрешность в величине перемещения соединительных средств, таких, как тросики или подобное, может быть снижена и в котором оптическая ось левой и правой фар может быть легко отрегулирована.

[0006] Выравнивающее устройство фары в соответствии с первым вариантом и вторым вариантам изобретения имеет первое удерживающее средство для фары, предусмотренное на одной правой или левой передней стороне транспортного средства, и для изменения ориентации оптической оси фары путем поворота, первое удерживающее средство способно поворачиваться относительно оси, осевое направление которой пересекает направление оптической оси фары; первое соединительное средство, являющееся гибким и вытянутой формы, и имеющее направляющий конец, соединенный с первым удерживающим средством, вызывающий поворот первого удерживающего средства, путем перемещения направляющего конца первого соединительного средства к базовому концу первого соединительного средства в его продольном направлении; первое толкающее средство для прямого или непрямого толкания первого удерживающего средства в направлении, обратном направлению, в котором первое удерживающее средство поворачивается, когда направляющий конец первого соединительного средства смещен в направлении к базовому концу первого соединительного средства в его продольном направлении, второе удерживающее средство для удерживания фары, предусмотренное на другой левой или правой передней стороне транспортного средства, и для изменения ориентации оптической оси фары посредством поворота, второе удерживающее средство способно поворачиваться вокруг оси, осевое направление которой пересекает направление оптической оси фары; второе соединительное средство является гибким, удлиненной формы и короче, чем первое соединительное средство, и имеет направляющий конец, соединенный со вторым удерживающим средством, для побуждения второго удерживающего средства к повороту, путем перемещения направляющего конца второго соединительного средства в сторону базового конца второго соединительного средства в его продольном направлении; второе толкающее средство для прямого или непрямого толкания второго удерживающего средства в направлении, противоположном направлению, в котором второе удерживающее средство поворачивается, когда направляющий конец второго соединительного средства смещается в сторону базового конца второго соединительного средства в его продольном направлении; тянущее средство, на котором закреплен в продольном направлении базовый конец первого соединительного средства в первой крепежной части, и на котором закреплен в продольном направлении базовый конец второго соединительного средства во второй крепежной части, для смещения обоих первого соединительного средства и ведущего конца второго соединительного средства к соответствующим их базовым концам в продольном направлении, путем смещения тянущего средства в направлении создания тянущего усилия, и для смещения обоих базового конца первого соединительного средства и базового конца второго соединительного средства в направлении к их соответствующим направляющим концам в продольном направлении, путем смещения тянущего средства в направлении создания возвратного усилия; и средство управления для удержания тянущего средства в заданном положении, и смещения тянущего средства в направлении создания тянущего усилия или в направлении создания возвратного усилия путем заданного действия; причем средство управления удерживает тянущее средство в таком положении, что направление суммарного момента, действующего на тянущее средство, сохраняется в том же направлении все время, момент является общей суммой первого момента, вызванного в тянущем средстве силой, с которой первое соединительное средство тянет первую крепежную часть в направлении к направляющему концу первого соединительного средства, и второго момента, вызванного в тянущем средстве силой, с которой второе соединительное средство тянет вторую крепежную часть в направлении к направляющему концу второго соединительного средства.

[0007] В выравнивающем устройстве фары по первому и второму вариантам изобретения, тянущее средство смещается в направлении создания тянущего усилия, как результат заданного действия средства управления. Первое соединительное средство и второе соединительное средство, чьи основания в продольном направлении соединены с тянущими средствами, перемещаются, когда последние смещаются в направлении создания тянущего усилия. В результате направляющий конец первого соединительного средства и направляющий конец второго соединительного средства смещаются в направлении к соответствующим их базовым концам в продольном направлении, что приводит к повороту первого удерживающего средства, соединенного с направляющим концом первого соединительного средства, и второго удерживающего средства, соединенного с направляющим концом второго соединительного средства.

[0008] Фара, предусмотренная на одной левой или правой передней стороне транспортного средства, удерживается первым удерживающим средством, таким образом, что поворот осевого направления первого удерживающего средства пересекает направление оптической оси фары. Таким образом, ориентация оптической оси фары изменяется путем поворота первого удерживающего средства. Далее, фара, предусмотренная с другой левой или правой передней стороны транспортного средства, удерживается вторым удерживающим средством, таким образом, что поворот осевого направления второго удерживающего средства пересекает направление оптической оси фары. Таким образом, ориентация оптической оси фары изменяется путем поворота второго удерживающего средства.

[0009] Когда тянущее усилие первого соединительного средства и второго соединительного средства тянущим средством снимается, например, посредством действия средства управления в направлении, противоположном заданному действию, толкающая сила первого толкающего средства вызывает поворот первого удерживающего средства в направлении, противоположном направлению поворота во время смещения направляющего конца первого соединительного средства к его базовому концу, и вызывает возвращение базовым концом первого соединительного средства его направляющего конца, а сила толкания второго толкающего средства вызывает поворот второго удерживающего средства в направлении, противоположном направлению поворота во время смещения направляющего конца второго соединительного средства к его базовому концу, и вызывает возвращение базовым концом второго соединительного средства его направляющего конца.

[0010] В выравнивающем устройстве фары в соответствии с первым вариантом и вторым вариантом изобретения второе соединительное средство короче, чем первое соединительное средство. В результате тянущее средство и средство опоры могут быть обеспечены вблизи сиденья водителя, смещены в сторону от середины транспортного средства в левом или правом его направлении. В выравнивающем устройстве фары по первому и второму вариантам изобретения ориентация суммарного момента, действующего на тянущее средство, не изменяется в обратную сторону, когда тянущее средство тянет первое соединительное средство и второе соединительное средство, и когда первое соединительное средство и второе соединительное средство возвращаются назад первым толкающим средством и вторым толкающим средством.

[0011] В результате тянущее средство имеет тенденцию поворачиваться каждый раз в одном направлении вокруг точки соединения между средством управления и тянущим средством. Люфт между средством управления и тянущим средством, таким образом, поглощается. Таким образом, это снижает относительную погрешность между величиной смещения первого соединительного средства и величиной смещения второго соединительного средства, что вызывается таким люфтом.

[0012] В выравнивающем устройстве фары третьего варианта изобретения, тянущее средство удерживается на средстве управления между первой крепежной частью и второй крепежной частью, тянущее средство установлено таким образом, что вторая крепежная часть упруго деформируется легче, чем первая крепежная часть в направлении к ведущим концам соединительных средств силой, которой оба соединительных средства тянут первую крепежную часть и вторую крепежную часть, когда оба направляющих конца соединительных средств тянутся в сторону к их соответствующим базовым концам в продольном направлении и тянущие средства смещаются в направлении создания тянущего усилия заданным действием средства управления.

[0013] В третьем варианте изобретения тянущее средство может упруго деформироваться, по меньшей мере, вблизи от второй крепежной части, когда на него действует тянущая сила второго соединительного средства, вторая крепежная часть деформируется упруго посредством тянущей силы второго соединительного средства таким образом, чтобы отклоняться больше, чем крепежная первая часть в сторону направляющего конца второго соединительного средства. Направляющий конец второго соединительного средства, которое короче, чем первое соединительное средство, смещается в сторону базового конца второго соединительного средства, в его продольном направлении, тянущая сила, которая меньше, чем тянущая сила, требуемая для создания тянущего усилия и смещения первого соединительного средства. Однако близлежащая ко второй крепежной части тянущего средства область деформируется упруго, когда тянущая сила второго соединительного средства увеличивается вместе с его смещением. Эта упругая деформация существенно подавляет смещение направляющего конца второго соединительного средства в направлении к его базовому концу в продольном направлении, и снижается в результате относительного расхождения между величиной смещения первого соединительного средства и величиной смещения второго соединительного средства во время смещения тянущего средства в направлении создания тянущего усилия.

КРАТКОЕ ОПИСАНИЕ ЧЕРТЕЖЕЙ

[0014] Достоинства, преимущества, техническое и промышленное значение данного изобретения будут описаны далее в подробном описании примеров вариантов изобретения со ссылкой на сопроводительные чертежи, в которых одинаковые цифровые обозначения указывают одинаковые элементы, и где:

Фиг.1 является схемой с разрезом, иллюстрирующим конфигурацию соответствующих частей выравнивающего устройства фары в соответствии с первым вариантом изобретения;

Фиг.2 является схемой с разрезом, соответствующим Фиг.1 и иллюстрирующим первое соединительное средство и второе соединительное средство в вытянутом состоянии;

Фиг.3 - схема с видом в перспективе, схематически иллюстрирующим общую конфигурацию выравнивающего устройства фары в соответствии с первым вариантом изобретения;

Фиг.4 - схема с разрезом, схематично со стороны фары иллюстрирующим конфигурацию выравнивающего устройства фары в соответствии с первым вариантом изобретения;

Фиг.5 - схема с видом в перспективе, иллюстрирующим вид транспортного средства изнутри, где используется выравнивающее устройство фар в соответствии с первым вариантом изобретения;

Фиг.6 является схемой с разрезом, иллюстрирующим конфигурацию соответствующей части выравнивающего устройства фары в соответствии со вторым вариантом изобретения;

Фиг.7 является схемой с разрезом, иллюстрирующим конфигурацию соответствующей части выравнивающего устройства фары в соответствии с третьим вариантом изобретения; и

Фиг.8 является схемой с разрезом, соответствующим Фиг.7 и иллюстрирующим первое соединительное средство и второе соединительное средство в вытянутом состоянии.

ПОДРОБНОЕ ОПИСАНИЕ ВАРИАНТОВ ИЗОБРЕТЕНИЯ

[0015] Схема выполнения первого варианта

Фиг.3 - схема с видом в перспективе, схематично иллюстрирующим общую конфигурацию выравнивающего устройства фары 10 в соответствии с первым вариантом изобретения.

[0016] Как показано на фигуре, выравнивающее устройство фары 10 имеет трубчатый тросик 14L, соединенный с левым блоком фары 12L. Как показано на фиг.4, трубчатый тросик 14L обеспечивается с трубкой 16, изготовленной из гибкой синтетической смолы или подобного, и имеющего полую удлиненную шнурообразную форму.

Тросик 18L, как первое соединительное средство, помещается внутри трубки 16, таким образом, что он подвижен внутри трубки 16 вдоль ее продольного направления. Область, прилегающая к направляющему концу трубки 16, проходит через базовый элемент 22 корпуса транспортного средства, такого, как элемент жесткости бампера транспортного средства 20, вблизи блока фары 12L.

[0017] Как показано на фиг.4, направляющий конец трубки 16, который проходит через структурный элемент 22 корпуса транспортного средства, вставлен во втулку 24, предусмотренную в структурном элементе 22 корпуса транспортного средства. Втулка 24 имеет форму трубки, осевое направление которой проходит, по существу, вдоль продольного направления транспортного средства. Базовый конец втулки 24 в его осевом направлении фиксирован на структурном элементе корпуса транспортного средства 22. Скользящая пластина 26, направление толщины которой проходит вдоль осевого направления втулки 24, помещается во втулке 24 таким образом, что скользящая пластина 26 может скользить вдоль осевого направления втулки 24. Кольцевая стопорная пластина 28 выполнена на внутренней поверхности втулки 24, в месте ближе к основанию втулки 24 в осевом направлении последней, чем скользящая пластина 26.

[0018] Пружина сжатия 30L, как первое толкающее средство, предусмотрена между стопорной пластиной 28 и скользящей пластиной 26. Пружина сжатия 30L внутри втулки 24 толкает скользящую пластину 26 все время в сторону направляющего конца втулки 24. Стержень 32 предусмотрен на скользящей пластине 26, в месте, противолежащем пружине сжатия 30. Стержень 32 является элементом стержневой формы, осевое направление которого проходит вдоль осевого направления втулки 24. Базовый конец стержня 32 в осевом направлении соединен воедино со скользящей пластиной 26, соосно с последней. Сферический поворотный шкворень 34 выполнен на направляющем конце стержня 32.

[0019] Блок фары 12L также имеет вогнутое зеркало 36L в качестве первого удерживающего средства. Вогнутое зеркало 36L является отражающим зеркалом, в целом вогнуто изогнутым таким образом, чтобы быть открытым, по существу, в направлении вперед транспортного средства. Вогнутое зеркало 36L отражает вперед свет от фары 38, которая установлена внутри вогнутого зеркала 36L. Качающаяся опора 40 обеспечена на задней поверхности вогнутого зеркала 36L. Качающаяся опора 40 выполнена таким образом, чтобы выступать из вогнутого зеркала 36L, по существу, в направлении назад транспортного средства, в точке выше, чем центр вогнутого зеркала 36L вдоль, по существу, вертикального направления транспортного средства. Отверстие с опорной поверхностью 42, открывающееся, по существу, в направлении назад транспортного средства, выполнено на направляющем конце качающейся опоры 40. Поворотный шкворень 34 помещается в отверстии с опорной поверхностью 42. Качающаяся опора 40 может поворачиваться вокруг поворотного шкворня 34.

[0020] Качающаяся опора 44 интегрально обеспечена на задней поверхности вогнутого зеркала 36L, в точке ниже, чем центр вогнутого зеркала 36L вдоль, по сути, вертикального направления транспортного средства. Отверстие с опорной поверхностью 46, открывающееся, по существу, в направлении назад транспортного средства, выполнено на направляющем конце качающейся опоры 44. По существу сферический поворотный шкворень 48 помещается в отверстие с опорной поверхностью 46, так что качающаяся опора 44 может поворачиваться вокруг поворотного шкворня 48.

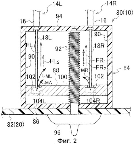
[0021] Поворотный шкворень 48 интегрально обеспечен на направляющем конце стержнеобразного стержня 50, осевое направление которого проходит, по существу, вдоль направления спереди назад транспортного средства. Базовый конец стержня 50 в его осевом направлении интегрально закреплен на структурном элементе корпуса 22 транспортного средства. Когда стержень 32 скользит, по существу, в направлении вперед-назад транспортного средства, вогнутое зеркало 36L качается вокруг поворотного шкворня 48, вокруг его оси, осевое направление которой совпадает, по существу, с направлением слева направо транспортного средства. В результате вогнутое зеркало 36L вертикально наклоняется. Оптическая ось наклоняется при таком наклоне вогнутого зеркала 36L.

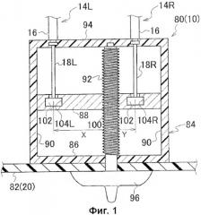
[0022] Как показано на фиг.3, выравнивающее устройство фары 10 предусмотрено с регулятором 80. Транспортное средство 20, в котором используется выравнивающее устройство фары 10, является так называемым "транспортным средством с правым рулем", в котором водительское сиденье установлено с правой стороны транспортного средства в направлении ширины транспортного средства. В результате в выравнивающем устройстве фары 10 регулятор 80 предусмотрен за панелью приборов 82 транспортного средства 20 (в месте, противоположном внутренней части транспортного средства 20), как показано на фиг.1.

[0023] Как показано на фиг.1 и 3, регулятор 80 имеет корпус регулятора 84. Корпус регулятора 84 имеет форму коробки, продольное направление или поперечное направление которой выступает, по существу, в направлении вперед-назад транспортного средства. Задняя стенка 86, расположенная сзади, по существу, в направлении транспортного средства вперед, закреплена, например, на структурном элементе корпуса транспортного средства, который расположен на задней поверхности панели приборов 82, таким образом, что задняя стенка 86 и панель приборов 82 находятся друг напротив друга. Ползун 88 обеспечивается внутри корпуса регулятора 84. Оба конца ползуна 88 двигаются плавно, по существу, слева и справа относительно транспортного средства, относительно двух боковых стенок 90, которые проходят, по существу, в направлении слева направо транспортного средства и которые составляют корпус регулятора 84. Ползун 88 может плавно двигаться, по существу, в направлении вперед-назад относительно транспортного средства, направляемый боковыми стенками 90.

[0024] Как показано на фиг.1, ходовой винт 92, который составляет часть средства управления, предусмотрен внутри корпуса регулятора 84. Осевое направление ходового винта 92 проходит, по существу, вдоль направления транспортного средства вперед-назад. Один конец ходового винта 92 в направлении его оси шарнирно соединен с передней стенкой 94, по существу, на передней стороне корпуса регулятора 84, которая составляет корпус регулятора 84. Другой конец ходового винта 92 в направлении по оси шарнирно соединен с задней стенкой 86 и проходит через заднюю стенку 86 и панель приборов 82, выступая в салон транспортного средства 20. Круговая шкала 96 предусмотрена в качестве элемента управления, соединенного воедино и соосно с ходовым винтом 92, на другом конце ходового винта 92 в его осевом направлении, этот конец выступает в салон транспортного средства 20. Как показано на фиг.5, круговая шкала 96 обеспечена вблизи рулевого колеса 98 внутри транспортного средства 20. Таким образом, круговая шкала 96 может быть легко вращательно управляема пассажиром, сидящим на сиденье водителя.

[0025] В ползуне 88 выполнено отверстие с внутренней резьбой 100 для ходового винта 92, в месте соединения между средством управления и тянущим средством, как показано на фиг.1. Отверстие с внутренней резьбой 100 проходит сквозь ползун 88 вдоль осевого направления ходового винта 92. Внутренняя резьба, в которую может быть ввинчен ходовой винт 92, выполнена на внутренней поверхности отверстия с внутренней резьбой 100. Ходовой винт 92 проходит через отверстие с внутренней резьбой 100, в промежуточное положение ходового винта 92 в его осевом направлении. Один оборот ходового винта 92 вызывает плавное движение ползуна 88 в осевом направлении ходового винта 92 на расстояние, соответствующее одному шагу наружной резьбы направляющего винта 92.

[0026] Базовый конец трубки 16, которым заканчивается трубка тросика 14L, закреплен на передней стенке 94, вблизи одной стороны (левой стороны) корпуса регулятора 84, чем ходовой винт 92. Тросик 18L, проходящий через трубку 16 трубчатого тросика 14L, проходит сквозь переднюю стенку 94 и проникает внутрь корпуса регулятора 84 вблизи одной стороны (левой стороны) корпуса регулятора 84, чем ходовой винт 92. Запирающий элемент 102 выполнен на базовом конце трубчатого тросика 14L, который проходит в корпус регулятора 84. Запорное отверстие 104L в качестве первой крепежной части выполнено на ползуне 88. Запирающий элемент 102 тросика 18L установлен в запорное отверстие 104L, при этом запирающий элемент 102 не имеет возможности выскользнуть из запорного отверстия 104L.

[0027] При этом базовый конец трубки 16, предусмотренный в трубчатом тросике 14R, заблокирован на передней стенке 94, вблизи одной стороны (правой стороны) корпуса регулятора 84, чем ходовой винт 92. Трубчатый тросик 14R, структурно идентичный вышеописанному трубчатому тросику 14L, имеет трубку 16, через которую проходит тросик 18R в качестве второго соединительного средства. Тросик 18R проходит через переднюю стенку 94 и проходит внутрь корпуса регулятора вблизи одной стороны (правой стороны) корпуса регулятора 84, чем ходовой винт 92.

[0028] Трубчатый тросик 14L соединен с блоком левой фары 12L, при этом трубчатый тросик 14R соединен с блоком правой фары 12R. Блок фары 12R имеет, например, пружину сжатия 30R, в качестве второго толкающего средства, соответствующую пружине сжатия 30L как первому толкающему средству в блоке фары 12L, и имеет вогнутое зеркало 36R, в качестве второго удерживающего средства, соответствующего вогнутому зеркалу 36L, как первому удерживающему средству в блоке фары 12L. Блок фары 12R имеет по существу ту же конструкцию, что и вышеописанный блок фары 12L.

[0029] Поскольку блок фары 12R имеет по существу ту же конструкцию, что и вышеописанный блок фары 12L, конструкция блока фары 12R не будет раскрыта подробно. Элементы, идентичные тем же блока фары 12L, будут обозначены теми же цифровыми обозначениями, но иначе, путем замены индекса "L" на индекс "R".

[0030] Как описано выше, корпус регулятора 84 регулятора 80 расположен в месте ближе к правой, чем к центральной стороне транспортного средства 20 в поперечном его направлении, в частности, в месте вблизи сиденья водителя транспортного средства 20, которое является транспортным средством с правосторонним управлением. Таким образом, трубчатый тросик 14R, соединенный с блоком фары 12R ближе к правой стороне, чем к центру в транспортном средстве в поперечном направлении транспортного средства, проходит, например, вдоль правого края моторного отсека в поперечном направлении транспортного средства, и базовый конец трубчатого тросика 14R установлен на корпус регулятора 84, при этом трубчатый тросик 14L соединен с блоком фары 12L ближе к левой стороне, чем к центру транспортного средства в поперечном направлении транспортного средства, проходит, например, вдоль левого края моторного отсека в поперечном направлении транспортного средства, далее проходит вдоль панели приборов 82 в направлении корпуса регулятора 84, который расположен ближе к правой стороне, чем к центру транспортного средства в поперечном направлении, и базовый конец трубчатого тросика 14L установлен на корпусе регулятора 84. Таким образом, трубчатый тросик 14L длиннее, чем трубчатый тросик 14R, и, следовательно, тросик 18L длиннее, чем тросик 18R.

[0031] Как описано выше, запирающий элемент 102 выполнен на базовом конце трубчатого тросика 14R, который проходит в корпус регулятора 84. Запорное отверстие 104R в качестве второй крепежной части выполнено в ползуне 88. Запирающий элемент 102 тросика 18R устанавливается в запорное отверстие 104R, при этом запорный элемент 102 предохранен от выскальзывания из запорного отверстия 104R.

[0032] Места, в которых выполнены запорное отверстие 104L и запорное отверстие 104R на ползуне 88, установлены таким образом, что расстояние от отверстия с внутренней резьбой 100, которое является местом соединения ходового винта 92 и ползуна 88, до запорного отверстия 104L, значительно длиннее, чем расстояние от отверстия с внутренней резьбой 100 до запорного отверстия 104R, как показано на фиг.1. То есть расстояние Х от оси ходового винта 92 до оси запорного отверстия 104L устанавливается значительно длинее, чем расстояние Y от оси ходового винта 92 до оси запорного отверстия 104R.

[0033] Работа и эффект первого варианта

Далее поясняются работа и эффект настоящего варианта.

[0034] Когда в выравнивающем устройстве фары 10 в соответствии с настоящим вариантом круговая шкала 96 вращательно работает в одном направлении вокруг ходового винта 92, ходовой винт 92 вращается вокруг своей оси в этом направлении. В результате ползун 88 движется в направлении к задней стенке 86. Ползун 88, таким образом, плавно двигаясь в направлении к задней стенке 86, тянет соответствующие запорные элементы 102 тросиков 18L, 18R. Приложение тянущих усилий к запорным элементам 102 вызывает движение (смещение) обоих направляющих концов тросиков 18L, 18R в направлении к их базовым концам в продольном направлении.

[0035] Движение (смещение) направляющего конца тросика 18L в направлении к его базовому концу в продольном направлении вызывает смещение направляющим концом тросика 18L стержня 32 в направлении, обратном толкающей силе пружины сжатия 30L, вследствие чего стержень 32 смещается в сторону структурного элемента 22 корпуса транспортного средства (т.е., по существу, в направлении к задней части транспортного средства). Движение стержня 32 в направлении к структурному элементу 22 корпуса транспортного средства вызывает дальнейшее смещение верхней части вогнутого зеркала 36L назад относительно центра вогнутого зеркала 36L вдоль, по существу, вертикального направления транспортного средства. В результате вогнутое зеркало 36L поворачивается вокруг поворотного шкворня 48, при этом отверстие вогнутого зеркала 36L наклоняется, по существу, в направлении к верхней части транспортного средства.

[0036] По мере того как запирающий элемент 102 тросика 18R тянется, как описано выше, направляющий конец тросика 18R двигается (смещается) в направлении к его базовому концу в продольном направлении, в результате чего направляющий конец тросика 18R тянет стержень 32 против толкающей силы пружины сжатия 30R, и стержень 32 смещается в сторону структурного элемента 22 корпуса транспортного средства (т.е., по существу, в направлении к задней части транспортного средства). Движение стержня 32 в направлении к структурному элементу 22 корпуса транспортного средства вызывает дальнейшее смещение верхней части вогнутого зеркала 36R назад относительно центра вогнутого зеркала 36R вдоль, по существу, вертикального направления транспортного средства. В результате вогнутое зеркало 36R поворачивается вокруг поворотного шкворня 48, при этом отверстие вогнутого зеркала 36R отклоняется, по существу, в направлении к верхней части транспортного средства.

[0037] Таким образом, оба отверстия вогнутых зеркал 36L, 36R в блоке фары 12L и в блоке фары 12R наклоняются, по существу, в сторону верхней части транспортного средства. Таким образом, оптические оси световых потоков, излучаемых фарами 38, расположенными внутри каждого из вогнутых зеркал 36L и 36R, и отражаемых внутренней поверхностью каждого из вогнутых зеркал 36L и 36R, становятся, по существу, отклоненными в сторону верхней части транспортного средства.

[0038] Когда круговая шкала 96 подвергается вращению в другом направлении относительно ходового винта 92, в результате чего ходовой винт 92 вращается аксиально в другом направлении, это плавное перемещение ползуна 88 в сторону передней стенки 94. Смещение тросиков 18L, 18R ползуном 88 прекращается по мере того, как ползун 88 плавно перемещается в сторону передней стенки 94. Как описано выше, направляющие концы тросиков 18L, 18R смещаются толкающей силой пружин сжатия 30L, 30R. В результате базовые концы тросиков 18L, 18R двигаются (смещаются) в сторону их соответствующих направляющих концов на расстояние, на которое ползун 88 плавно переместится в сторону передней стенки 94.

[0039] Стержень 32 двигается в сторону от стопорной пластины 28 (т.е. двигается, по существу, в сторону передней части транспортного средства) на расстояние, равное перемещению (смещению) тросиков 18L, 18R. В результате каждое вогнутое зеркало 36L, 36 поворачивается вокруг соответствующего поворотного шкворня 48, причем отверстие каждого вогнутого зеркала 36L, 36R наклоняется, по существу, в сторону нижней части транспортного средства. Таким образом, оба отверстия вогнутых зеркал 36L, 36R в блоке фары 12L и в блоке фары 12R наклоняются, по существу, в сторону нижней части транспортного средства. Таким образом, оптические оси световых потоков, излучаемых фарами 38, расположенными внутри каждого из вогнутых зеркал 36L и 36R, и отражаемых внутренней поверхностью каждого из вогнутых зеркал 36L и 36R, становятся, по существу, отклоненными в сторону нижней части транспортного средства.

[0040] В выравнивающем устройстве фары 10, таким образом, обе оптические оси блоков фар 12L и 12R могут быть отклонены вверх и вниз посредством вращения круговой шкалы 96. Кроме того, трубчатый тросик 14L в выравнивающем устройстве фары 10 значительно длиннее, чем трубчатый тросик 14R, и, следовательно, трубчатый тросик 14L может быть проложен в моторном отсеке или подобном ему, при этом базовый конец трубчатого тросика 14L в продольном направлении достигает места вблизи правого края транспортного средства 20 в поперечном направлении транспортного средства. Это позволяет расположить регулятор 80 вблизи сиденья водителя транспортного средства 20, являющегося транспортным средством с правосторонним управлением, таким образом облегчая (т.е. с высокой простотой использования) управление круговой шкалой 96 пассажиром, сидящим на сиденье водителя.

[0041] Как описано выше, трубчатый тросик 14L длиннее, чем трубчатый тросик 14R, и, следовательно, тросик 18L длиннее, чем тросик 18R. В результате тросик 18L испытывает большее сопротивление плавному перемещению вдоль внутренней поверхности трубки 16, чем тросик 18R, и, таким образом, рабочая сила передается с меньшей эффективностью на направляющий конец тросика 18L. Следовательно, тянущая сила FL1, вызванная в тросике 18L, когда тросик 18L вытянут в сторону базового его конца, становится больше, чем тянущая сила FR1, вызванная в тросике 18R, когда направляющий конец тросика 18R смещен в сторону его базового конца. В результате, когда тросики 18L и 18R начинают двигаться, будучи натянутыми, сила FL1, действующая на наружную кромку запорного отверстия 104L, становится больше, чем сила FR1, действующая на наружную кромку запорного отверстия 104R.

[0042] Напротив, когда тросики 18L и 18R начинают возвращаться, базовые концы тросиков 18L и 18R тянутся в сторону передней части транспортного средства под действием толкающих сил пружин сжатия 30L и 30R, которые обеспечены на направляющих концах тросиков 18L и 18R. В этом случае также тросик 18L испытывает большее сопротивление плавному перемещению вдоль внутренней поверхности трубки 16, чем тросик 18R. В результате, эффективность передачи, с которой толкающая сила пружины сжатия 30L передается на базовый конец тросика 18L ниже, чем эффективность передачи, с которой толкающая сила пружины сжатия 30R передается на базовый конец тросика 18R. Следовательно, тянущая сила FR2, вызванная на базовом конце тросика 18R, больше, чем тянущая сила FL2, вызванная на базовом конце тросика 18L, когда тросики 18L и 18R начинают возвращаться, в результате чего тянущая сила FR2, действующая на наружную кромку запорного отверстия 104R больше, чем тянущая сила FL2, действующая на наружную кромку запорного отверстия 104L. Таким образом, происходит процесс, при котором величина сил, действующих на наружные кромки запорных отверстий 104L, 104R в то время когда тянут тросики 18L и 18R, меняет направление в то время когда их возвращают.

[0043] Также тянущие силы FL1, FR1, вызванные в тросиках 18L, 18R, в то время, когда тянут тросики 18L, 18R, больше, чем тянущие силы FL2, FR2, вызванные в тросиках 18L, 18R в то время, когда возвращают тросики 18L, 18R. Причина этого в том, что в то время, когда тянут тросики 18L, 18R, они находятся под напряжением с учетом сил, которые тянут тросики 18L, 18R в направлении к их соответствующим базовым концам, с помощью действия рабочей силы, которая превосходит толкающие силы пружин сжатия 30L, 30R, как и сопротивление плавному перемещению вдоль внутренних поверхностей трубок 16, через которую проходят тросики 18L и 18R. Во время возвращения напряжение в тросиках 18L и 18R возникает от толкающих сил пружин сжатия 30L и 30R, ослабляемое сопротивлением плавному перемещению вдоль внутренних поверхностей трубок 16. Таким образом, напряжение, вызванное в тросиках 18L, 18R (силы, действующие на запорные отверстия 104L, 104R), подчиняются соотношению FL1>FR1>FR2>FL2.

[0044] В выравнивающем устройстве фары 10, как описано выше, места, в которых выполнены запорное отверстие 104L и запорное отверстие 104R в ползуне 88, установлены таким образом, что расстояние от отверстия с внутренней резь