Иванов Виктор Андреевич (RU)
Изобретатель Иванов Виктор Андреевич (RU) является автором следующих патентов:

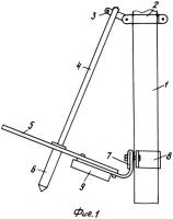
Экваториальные солнечные часы
Изобретение относится к области часовой промышленности и может использоваться для определения времени в светлый период. Техническим результатом изобретения является обеспечение возможности отсчета времени в весеннее и осеннее равноденствие и повышение удобства и точности отсчета местного солнечного времени. Этот технический результат обеспечивается за счет того, что экваториальные солнечные часы с...
2316035