Экваториальные солнечные часы

Иллюстрации

Показать все

Изобретение относится к области часовой промышленности и может использоваться для определения времени в светлый период. Техническим результатом изобретения является обеспечение возможности отсчета времени в весеннее и осеннее равноденствие и повышение удобства и точности отсчета местного солнечного времени. Этот технический результат обеспечивается за счет того, что экваториальные солнечные часы содержат гномон летнего времени и гномон зимнего времени, соосно и жестко соединенные между собой и с кругом часовых углов, который выполнен из прозрачного материала с матовой поверхностью и имеет равномерную шкалу и диаграмму смещения точки отсчета местного времени относительно центра или края тени, которая выполнена в виде графика уравнения времени, нанесенного на изображение теней, отбрасываемых гномоном летнего и гномоном зимнего времени, при этом плоскость круга часовых углов установлена параллельно плоскости небесного экватора Земли. При этом, согласно изобретению, верхний конец гномона летнего времени хомутом соединен с хомутом, закрепленным на столбе, круг часовых углов краем закреплен с основанием, которое скобой крепится к столбу ниже хомута крепления гномона летнего времени, для определения времени в весеннее и осеннее равноденствие по нижнему краю шкалы закреплен козырек, на который падает тень от гномона зимнего времени, а циферблат выполнен в разных цветах. 3 ил.

Реферат

Изобретение относится к технической физике, в частности к приборам для определения времени по Солнцу, и может использоваться для определения времени в светлый период.

Известны экваториальные солнечные часы В.А.Иванова, защищенные авторским свидетельством №2200339, зарегистрированным в Государственном реестре изобретений Российской Федерации 10 марта 2003 г., содержащие основание, в верхней части которого имеется плоскость, параллельная плоскости небесного экватора и снабженная элементами циферблата с нижней частью. Циферблат содержит на верхней поверхности гномон летнего времени, установленный в центре окружности шкала отсчета летнего времени, и на нижней поверхности гномон зимнего времени, установленный в центре шкалы отсчета зимнего времени. Центр окружности шкалы зимнего времени смещен вверх относительно центра окружности шкалы зимнего времени на величину 05-1R, где R - радиус окружности шкалы зимнего времени. Обе шкалы, зимняя и летняя, дополнительно содержат диаграммы смещения точки отсчета местного времени относительно центра тени, отбрасываемой гномонами зимнего и летнего времени.

Из описания к авторскому свидетельству №2200340, зарегистрированному в Государственном реестре изобретений Российской Федерации 10 марта 2003 г. Изобретение содержит основание со стойкой, в верхней части которой нижним концом закреплен гномон зимнего времени с возможностью углового перемещения и фиксации положения в вертикальной плоскости. На верхнем конце гномона соосно закреплены круг часовых углов, выполненный из прозрачного материала, и гномон летнего времени. Основание содержит визир, а круг - шкалу отсчета истинного времени и диаграмму смещения точки отсчета местного времени относительно центра тени, которая выполнена в виде графика уравнения времени, нанесенного на изображение теней, отбрасываемых гномонами.

Описанная конструкция экваториальных солнечных часов принята в качестве прототипа. Недостаток прототипа - невозможность отсчета времени во время весеннего и осеннего равноденствия, неточность из-за рефракции.

Технический результат от использования предлагаемого изобретения - обеспечение возможности отсчета времени в весеннее и осеннее равноденствие, удобства и повышения точности отсчета, а линия визирования снизу позволяет закрепить их на вертикальном столбе на высоте, позволяющей избежать повреждений и избавиться от тени растений и небольших строений, наличие козырька дает возможность вести отсчет времени во время весеннего и осеннего равноденствия, циферблат выполнен в разных цветах, вводится компенсация погрешности от рефракции при расчете параметров, уточнены данные графика поправок уравнения времени.

Указанный технический результат достигается тем, что в экваториальных солнечных часах, содержащих гномон летнего времени и гномон зимнего времени, жестко соединенных соосно между собой с кругом часовых углов посередине, верхний конец гномона летнего времени хомутом соединен с хомутом, закрепленным на столбе, а круг часовых углов краем соединен с основанием, которое скобой крепится к столбу ниже хомута крепления гномона летнего времени. Плоскость круга часовых углов установлена параллельно плоскости небесного экватора Земли. Для определения времени в весеннее и осеннее равноденствие по нижнему краю круга часовых углов закреплен козырек, на который падает тень от гномона зимнего времени. Круг часовых углов выполнен в виде шкалы из прозрачного материала с матовой поверхностью и с диаграммой смещения точки отсчета местного времени относительно центра или края тени, которая выполнена в виде графика уравнения времени, нанесенного на изображение теней, отбрасываемых гномоном летнего и гномоном зимнего времени.

Диаграмма смещения точки отсчета местного времени относительно центра тени, отбрасываемой гномоном летнего времени или гномоном зимнего времени, выполнена в виде графика уравнения времени, нанесенного на временную ось, изображающую в масштабе один к одному, тень от гномона летнего времени, в период от весеннего равноденствия до осеннего равноденствия, и тень от гномона зимнего времени, в период от осеннего равноденствия до весеннего равноденствия.

При соотношении диаметра гномона летнего времени к диаметру гномона зимнего времени и к диаметру окружности шкалы отсчета истинного солнечного времени, равном 1:2:38, и с компенсацией рефракции на каждые 250 мм увеличения диаметра шкалы зимний и летний гномоны увеличиваются на 1 мм. Точка отсчета местного времени совпадает с центром тени 16 апреля, 12 июня, 29 августа и 25 декабря, с передним краем тени - 27 марта, 23 июля, 24 января и 5 марта, а с задним краем - 17 сентября, 5 октября и 28 ноября. Одна из поверхностей круга часовых углов выполнена матовой.

Изображение поясняется чертежами.

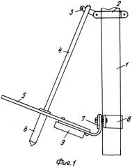
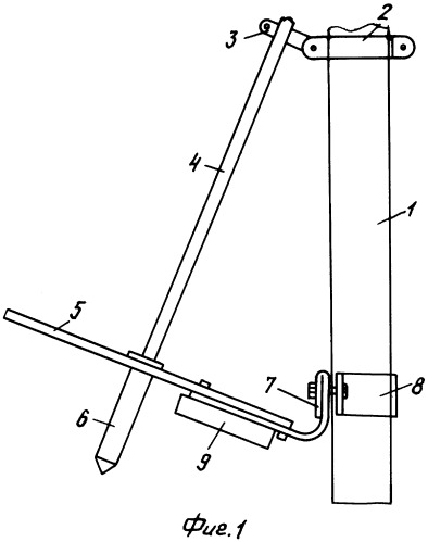
На фиг.1 приведена конструкция заявленных экваториальных солнечных часов. На фиг.2 изображена шкала отсчета истинного солнечного времени. На фиг.3 - диаграмма смещения точки отсчета местного времени относительно центра тени, отбрасываемой гномонами летнего и зимнего времени.

На фиг.1...3 цифрами обозначены:

1 - столб уличного освещения;

2 - хомут крепления на столбе;

3 - хомут крепления гномона летнего времени;

4 - гномон летнего времени;

5 - круг часовых углов;

6 - гномон зимнего времени;

7 - основание;

8 - скоба крепления основания к столбу;

9 - козырек для отсчета времени во время весеннего и осеннего равноденствия;

10 - шкала отсчета истинного солнечного времени;

11 - диаграмма смещения точки отсчета местного времени относительно центра тени, отбрасываемой гномонами летнего и зимнего времени.

Заявленные экваториальные солнечные часы содержат основание 7, изготовленное из листовой нержавеющей стали, которая имеет изгиб под углом, равным широте данной точки местности, для того чтобы плоскость круга часовых углов 5, скрепленная жестко с основанием, была параллельна плоскости небесного экватора. По нижнему краю круга часовых углов снизу закреплен козырек 9, по тени на котором от гномона 6 зимнего времени определяется местное время во время весеннего и осеннего равноденствия. Основание 7 скобой 8 крепится к столбу 1. Гномон 4 летнего времени жестко соосно соединен с гномоном 6 зимнего времени с кругом часовых углов 5 посередине. Гномон 4 верхним концом хомутом 3 соединен с хомутом 2, закрепленным на столбе 1.

Круг часовых углов 5 выполнен из прозрачного материала, например органического стекла, и содержит шкалу 10 (фиг.2) отсчета истинного солнечного времени и диаграмму 11 (фиг.3) смещения точки отсчета местного времени относительно центра или краев тени, отбрасываемой гномонами 4 и 6. Шкала 10 представляет собой окружность, разделенную на кратное 24 число частей, например 144, при цене одного деления 10 минут (фиг.2). Над каждым часовым делением указан час по летнему времени более крупной цифрой красного цвета и более мелкой цифрой синего цвета зимнего времени, чтобы мгновенно знать, время летнее или зимнее, ничего не меняя и не высчитывая.

Диаграмма 11 (фиг.3) выполнена в виде графика уравнения времени, нанесенного на изображение тени, отбрасываемой гномоном 4 летнего времени и гномоном 6 зимнего времени. Диаметр гномона 4 относится к диаметру гномона 6 и к диаметру окружности шкалы 10 как 1:2:38, а для компенсации погрешности от рефракции на каждые 250 мм увеличения диаметра шкалы 10 зимний 6 и летний 4 гномоны увеличивают на 1 мм в диаметре. Точное местное время совпадает с центром тени 16 апреля, 12 июня, 29 августа и 25 декабря с передним краем тени - 27 марта, 23 июля, 24 января и 5 марта и с задним краем тени - 17 сентября, 5 октября и 28 ноября.

Заявленные экваториальные солнечные часы (фиг.1) для работы устанавливают определенным образом.

Вначале на определенной высоте на столбе 1 крепят хомут 2, соединенный с хомутом 3, внутри которого находится верхний конец гномона 4. Гномон 4 резьбовым соединением крепится с гномоном 6, между которыми зажимается круг часовых углов 5, нижним краем жестко соединенный с основанием 7 и козырьком 9. Основание 7 скобой 8 крепится к столбу 1 ниже хомута 2. Ослабив хомут 3 и скобу 8, устанавливают угол наклона круга часовых углов с помощью уровня-угольника, чтобы он соответствовал данной точке местности. Этого можно добиться, смещая скобу 8 вверх или вниз и пропуская в хомуте 3 гномон 4. После этого, закрепив хомут 3, надо ослабить хомут 2 и вращением вокруг столба 1 по тени от гномона 4, если это летом, или от гномона 6 зимой, устанавливаем точное время и зажимаем крепления хомута 2 и скобы 8. Уровнем-угольником или квадратом проверяем угол наклона и, если надо, еще раз более тщательно регулируем, повторяя эти операции. Наличие козырька 9 позволяет отсчет времени производить круглый год, так как в весеннее и осеннее равноденствие тень отсутствует на шкале и она хорошо видна в это время на козырьке, который прилегает к шкале.

Использование современных данных для постройки диаграммы (фиг.3) позволили уточнить ее, так как в прототипе использованы данные Большой Советской Энциклопедии 1954 г. и имеют некоторое отличие.

Двойной циферблат на шкале (фиг.2), когда над каждым делением две цифры, указывающие летнее (красные и более крупные) и зимнее (синие и помельче) время, позволяют мгновенно определить зимнее или летнее время. При постройке солнечных часов большого диаметра существенную погрешность вносит рефракция, так как светило не точка, поэтому края тени с увеличением длины тени постепенно смыкаются. Поэтому в формулу соотношения диаметров гномона летнего времени 4, зимнего времени 6 и круга часовых углов 5 как 1:2:38 добавлять необходимо по 1 мм в диаметры гномонов зимнего 6 и летнего 4 времени на каждые 250 мм увеличения диаметра круга часовых углов 5. В этом случае даже на солнечных часах большого диаметра отсчет показаний от краев тени будет иметь погрешность, сопоставимую с отсчетом от центра тени. При диаметре шкалы 644 мм диаметр гномона летнего времени 19 мм (16,8+2,2) и диаметр гномона зимнего времени 35, 8 (33,6+2,2), где 2,2 мм добавляется для компенсации погрешности от рефракции, скорость тени равна 1,4 мм в минуту, погрешность при отсчете летнего и зимнего времени менее ±1 минута, что превышает точность известных экваториальных солнечных часов со шкалой такого же диаметра. Линия визирования снизу позволяет закрепить экваториальные солнечные часы на приемлемой высоте, избавляющей от повреждений и нежелательной тени небольших строений и мелких деревьев.

Экваториальные солнечные часы, содержащие гномон летнего времени и гномон зимнего времени, соосно и жестко соединенные между собой и с кругом часовых углов, который выполнен из прозрачного материала с матовой поверхностью и имеет равномерную шкалу и диаграмму смещения точки отсчета местного времени относительно центра или края тени, которая выполнена в виде графика уравнения времени, нанесенного на изображение теней, отбрасываемых гномоном летнего и гномоном зимнего времени, при этом плоскость круга часовых углов установлена параллельно плоскости небесного экватора Земли, отличающиеся тем, что верхний конец гномона летнего времени хомутом соединен с хомутом, закрепленным на столбе, круг часовых углов краем закреплен с основанием, которое скобой крепится к столбу ниже хомута крепления гномона летнего времени, для определения времени в весеннее и осеннее равноденствие по нижнему краю шкалы закреплен козырек, на который падает тень от гномона зимнего времени, а циферблат выполнен в разных цветах.