МЕЙЕР Германн (DE)
Изобретатель МЕЙЕР Германн (DE) является автором следующих патентов:

Термическое превращение биомассы в масло (жидкое топливо)
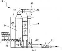
Настоящее изобретение относится к способу получения содержащих углеводороды масел путем термического расщепления смешиваемой массы, содержащей сахара и/или производные сахаров, включающему в себя: стадию реакции, на которой исходная масса приводится в контакт с контактным маслом, имеющим температуру начала кипения по меньшей мере 200°С при давлении 1013 мбар, с образованием фазы реакции при темпе...
2384602