КОБАЯСИ Дайсуке (JP)
Изобретатель КОБАЯСИ Дайсуке (JP) является автором следующих патентов:

Приводной ремень и устройство, и способ для сборки приводного ремня
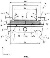
Изобретение относится к приводному ремню и к способу, и устройству сборки приводного ремня. В приводном ремне V два ряда бесконечных колец (8) размещены параллельно друг другу в пазе множества элементов (1). Элементы (1) сцеплены кольцеобразно так, чтобы паз раскрывался к внешней периферийной стороне. Элемент (1) содержит направляющую поверхность (9b), которая сформирована на торцевой поверхности...
2391582
Устройство сборки, способ сборки и способ производства приводного ремня
Изобретение относится к устройству сборки, способу сборки и способу изготовления приводного ремня. В устройстве М сборки приводного ремня два ряда колец (8а) и (8b) размещаются параллельно друг другу в пазу (7) множества элементов (1), связанных кольцеобразно. Паз (7) ориентирован так, чтобы он раскрывался к внешней периферической стороне, в котором выступающие части выступают из внешней перифери...
2395019
Приводной ремень и устройство сборки, способ сборки и способ изготовления приводного ремня
Изобретение относится к приводному ремню, устройству сборки, способу сборки и способу изготовления приводного ремня. В приводном ремне (V) два ряда колец (8а) и (8b) размещены параллельно друг другу в пазе (7) множества элементов, сцепленных кольцеобразно. Паз (7) раскрывается к внешней периферийной стороне. Кольца (8а) и (8b) удерживаются во внутренней периферийной стороне выступающих частей (9)...
2405992
Приводной ремень и способ сборки приводного ремня
Изобретение относится к приводному ремню трансмиссий и способу его сборки. В приводном ремне (V) два ряда бесконечных колец (8а) и (8b) размещаются и удерживаются параллельно друг другу в пазе (7) из множества элементов (1), сцепленных кольцеобразно. Элементы (1) сцеплены таким образом, чтобы расположить паз (7) так, чтобы он раскрывался к внешней периферийной стороне. Причем элементы (1) сцеплен...
2408807
Приводной ремень и способ сборки приводного ремня
Изобретение относится к приводному ремню и к способу сборки приводного ремня. В приводном ремне (V) бесконечное кольцо (8) размещено в пазе (7) элементов (1), размещенных кольцеобразно таким образом, чтобы расположить паз (7) так, чтобы он раскрывался к внешней периферийной стороне. Элементы (1) сцепляются с возможностью поворота относительно противоположной поверхности смежного элемента (1). Спо...
2413105