ТЕЙЛОР Джеймс Линд (AU)
Изобретатель ТЕЙЛОР Джеймс Линд (AU) является автором следующих патентов:

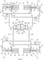
Гидравлическая система подвески для транспортного средства
Изобретение относится к области автомобилестроения. Гидравлическая система подвески для транспортного средства, оборудованного передними и задними упругими средствами опоры, содержит четыре колесных силовых цилиндра и устройство разделения режимов с четырьмя компенсационными камерами. Устройство разделения режимов в частном случае изобретения содержит три цилиндрические части, две из которых имею...
2408475