Гидравлическая система подвески для транспортного средства

Иллюстрации

Показать все

Изобретение относится к области автомобилестроения. Гидравлическая система подвески для транспортного средства, оборудованного передними и задними упругими средствами опоры, содержит четыре колесных силовых цилиндра и устройство разделения режимов с четырьмя компенсационными камерами. Устройство разделения режимов в частном случае изобретения содержит три цилиндрические части, две из которых имеют один и тот же диаметр и расположены с обоих концов центральной цилиндрической части, имеющей больший диаметр. Компенсационные камеры образованы с помощью поршневого штока в сборе, включающего два поршня, размещенных в боковых цилиндрических частях устройства разделения режимов, и центральный поршень, расположенный в центральной части. Боковые поршни соединены штоками с центральным поршнем. В другом частном случае изобретения устройство разделения режимов содержит одну цилиндрическую часть, а функцию центрального поршня выполняет центральная перегородка. Камера сжатия каждого колесного силового цилиндра гидравлически соединена с камерой отдачи смежного в поперечном направлении колесного силового цилиндра, а также с соответствующей компенсационной камерой устройства разделения режимов. Достигается повышение жесткости подвески в случае крена и продольного наклона транспортного средства при сохранении изначальной жесткости подвески в случае перекоса колес. 22 з.п. ф-лы, 7 ил.

Реферат

Область техники, к которой относится изобретение

Настоящее изобретение, в общем, относится к системам подвески для транспортных средств и, в частности, к гидравлической системе, обеспечивающей управление одним или более параметрами подвески.

Уровень техники

Известно много альтернативных взаимосвязанных систем подвески, которые имеют способность пассивно различать различные режимы движения колеса относительно корпуса транспортного средства и, следовательно, обеспечивать разнообразные альтернативные варианты функциональных возможностей. Например, французская патентная публикация номер FR 2663267 раскрывает гидропневматическую систему подвески, которая поддерживает корпус транспортного средства и обеспечивает различные коэффициенты жесткости при вертикальном перемещении и при крене, обеспечивая нулевую жесткость при перекосе. Жесткость при продольном наклоне (повороте транспортного средства относительно поперечной оси) связана с вертикальной жесткостью (которая определяется диаметрами штока, размерами аккумулятора и положениями силовых цилиндров спереди и сзади). Поскольку эта система поддерживает транспортное средство, то для того, чтобы обеспечить поддерживающее усилие для транспортного средства, давления в четырех гидравлических полостях должны быть высокими, или диаметры штоков должны быть большими, что ведет к трению в уплотнениях и к значительным ограничениям комфорта во время езды. Кроме того, при изменении температуры, объемы газа и жидкости в системе вызывают изменения высоты расположения кузова автомобиля, требуя дорогостоящую систему подачи и управления жидкостью под высоким давлением. Кроме того, давление в каждой из четырех гидравлических полостей должно быть индивидуально подобранным таким образом, чтобы обеспечивать требуемую опору каждому колесу, так что эти давления обычно различны, что ведет к сложности управления, просачиваниям через поршневые уплотнения между гидравлическими полостями и увеличению трения в поршневом уплотнении.

Аналогичным образом патент US 6270098 данного заявителя предусматривает между двумя парами диагонально взаимосвязанных колесных силовых цилиндров двустороннего действия выравнивающий давление блок "распределения нагрузки". Эта система обеспечивает различные коэффициенты жесткости при вертикальном перемещении, при крене и дополнительно коэффициенты жесткости при продольном наклоне при нулевой жесткости при перекосе и различные коэффициенты демпфирования во всех четырех основных режимах работы подвески (вертикальное перемещение, крен (угловое перемещение относительно продольной оси транспортного средства), продольный наклон (угловое перемещение относительно поперечной оси транспортного средства), перекос (угловое перемещение в ситуации, когда одна пара расположенных по диагонали колес находится на высоком грунте, тогда как другая - на низком)). Так как эта система также поддерживает вес транспортного средства, то при изменении нагрузки на транспортное средство или при изменении температуры жидкости должен быть отрегулирован объем жидкости в каждой из шести полостей в этой системе. Кроме того, поскольку шесть полостей в системе в некоторых условиях нагружения могут все иметь различные давления, то существует вероятность того, что жидкость будет просачиваться через уплотнения, что также требует производить регулировки объема жидкости, чтобы сохранить правильное пространственное положение транспортного средства. Для этого требуется источник жидкости высокого давления, датчики, управляющая электроника и клапаны, что делает стоимость системы относительно высокой для пассивной системы.

Аналогичным образом, в ЕР 1426212 и международной заявке РСТ/ЕР2004/004885 раскрыт ряд пассивных гидравлических систем, обеспечивающих опору транспортного средства и жесткость при крене при нулевой жесткости при перекосе. Поскольку эти гидравлические системы предоставляют транспортному средству опору, то они имеют аналогичные недостатки, что и вышеупомянутый патент US 6270098 данного заявителя.

В патенте US 6761371 данного заявителя можно найти пример пассивной системы, обеспечивающей высокую жесткость при крене и низкую жесткость при перекосе и незначительную жесткость при вертикальном перемещении и обеспечивающей высокое демпфирование при крене при более низком, более комфортабельном и изолирующем демпфировании при вертикальном перемещении. Поскольку система не обеспечивает значительную вертикальную жесткость, то требуются специальные опорные пружины. Распространение момента крена, требуемое от гидравлической системы, определяет выбор размеров колесных силовых цилиндров и может привести к компромиссам в отношении максимальной демпфирующей силы.

В американских патентах US 5486018 и 6024366 раскрыт пример системы, имеющей только демпфирование при крене и/или продольном наклоне. Система, описанная в этих документах, использует устройство между парой колесных амортизирующих цилиндров, причем каждый колесный амортизирующий цилиндр имеет в своем поршне демпферный клапан, что обеспечивает демпфирование двустороннего действия, но делает силовой цилиндр цилиндром одностороннего действия (то есть имеется только один канал в гидравлической системе). Устройство предусматривает независимые уровни демпфирования для совпадающего по фазе (то есть вертикального) и несовпадающего по фазе (то есть крена и/или продольного наклона) движения. Однако эта система не обеспечивает значительную жесткость ни при каком режиме, поэтому в дополнение к потребности в опорных пружинах, для хорошего баланса между подпрыгиванием транспортного средства и коэффициентами жесткости при крене спереди и сзади, вообще говоря, потребуются стабилизаторы поперечной устойчивости. В дополнение к этому, поскольку колесные силовые цилиндры фактически имеют одностороннее действие (имеют только один канал в гидравлической системе), то величина демпфирования, которую может обеспечить это устройство, является ограниченной. Для решения этой проблемы в систему внесены усовершенствования, которые можно найти в публикации японской заявки номер 11291737, но они повышают сложность системы, предусматривая большее количество трубопроводной арматуры и золотниковых клапанов.

Раскрытие изобретения

Задача настоящего изобретения заключается в создании гидравлической системы для подвески транспортного средства, которая уменьшает, по меньшей мере, один из недостатков более ранних систем подвески транспортного средства.

Преимущественно, задача настоящего изобретения заключается в том, чтобы предложить гидравлическую систему, имеющую жесткость при крене, демпфирование при крене, и демпфирование при вертикальном перемещении, у которой распределение момента крена может быть сконфигурировано и настроено, по существу, независимо от давлений демпфирования колес.

Согласно изобретению предусмотрена система подвески для транспортного средства, содержащего корпус и, по меньшей мере, два передних и два задних колесных сборочных узла, при этом система подвески имеет переднее и заднее упругие средства опоры транспортного средства, расположенные между корпусом транспортного средства и колесными сборочными узлами для упругой поддержки, по меньшей мере, части корпуса транспортного средства над колесными сборочными узлами; а также имеет гидравлическую систему, содержащую, по меньшей мере, один передний левый, по меньшей мере, один передний правый, по меньшей мере, один задний левый и, по меньшей мере, один задний правый колесный силовой цилиндр, каждый из которых расположен между соответствующим упомянутым колесным сборочным узлом и корпусом транспортного средства, причем каждый колесный силовой цилиндр содержит, по меньшей мере, камеру сжатия; и устройство разделения режимов, которое содержит первую, вторую, третью и четвертую компенсационные камеры, образованные конструкцией из, по меньшей мере, двух цилиндрических частей и поршневого штока в сборе, причем первая и четвертая компенсационные камеры при движении поршневого штока в сборе изменяются по объему в одном и том же направлении друг с другом, третья и вторая компенсационные камеры при движении поршневого штока в сборе изменяются по объему в одном и том же направлении друг с другом и в противоположном направлении по отношению к первой и четвертой компенсационным камерам при движении поршневого штока в сборе; камеру сжатия переднего левого колесного силового цилиндра, гидравлически соединенную с первой компенсационной камерой устройства разделения режимов, образуя переднюю левую гидравлическую полость, причем камера сжатия переднего правого колесного силового цилиндра гидравлически соединена со второй компенсационной камерой, образуя переднюю правую гидравлическую полость, а камера сжатия заднего левого колесного силового цилиндра гидравлически соединена с третьей компенсационной камерой, образуя заднюю левую гидравлическую полость, и камера сжатия заднего правого колесного силового цилиндра гидравлически соединена с четвертой компенсационной камерой устройства разделения режимов, образуя заднюю правую гидравлическую полость, при этом поршневой шток в сборе устройства разделения режимов осуществляет регулирование соотношения гидравлического давления во время движений крена транспортного средства, а также осуществляет распределение жидкости между соответствующими гидравлическими полостями во время перекоса и, дополнительно, во время движений крена; причем колесные силовые цилиндры, по меньшей мере, одной из передней или задней частей транспортного средства содержат также соответствующую камеру отдачи, при этом камера сжатия каждого указанного колесного силового цилиндра гидравлически соединена с соответствующей камерой отдачи смежного с ним в поперечном направлении колесного силового цилиндра.

Таким образом, преимущество состоит в том, что гидравлическая система оказывает сопротивление движениям крена транспортного средства, при этом гидравлическая система допускает движения перекоса колес относительно корпуса транспортного средства. Устройство разделения режимов, соразмеряющее давление при крене таким образом, чтобы оказывать сопротивление крену, тем не менее, перераспределяет жидкость при перекосе, позволяя перенос жидкости, вытесненной при крене спереди, назад для противоположного по направлению перемещения крена сзади (то есть, перекоса).

Гидравлическая система подвески согласно одной или более разновидностям настоящего изобретения предусматривает независимые настройку и конфигурирование параметров подвески, включая жесткость при крене, распределение момента крена, демпфирование при крене и демпфирование при вертикальном перемещении. Это делает возможной оптимизацию стольких из этих параметров подвески, сколько требуется.

В предпочтительном варианте выполнения транспортное средство может в основном поддерживаться упругими средствами опоры транспортного средства. Преимущества гидравлической системы, которая поддерживает корпус транспортного средства в малой степени или не поддерживает вообще, являются многочисленными: рабочее давление системы может быть уменьшено, что уменьшает трение в уплотнении и повышает комфорт во время езды; рабочее давление каждой из этих четырех гидравлических полостей может быть общим, что уменьшает перепад давлений на поршневых уплотнениях и, следовательно, уменьшает сложность управления, трение, повышает комфорт во время езды и уменьшает любую потенциальную утечку через поршневые уплотнения между этими четырьмя гидравлическими полостями; диаметр штока каждого силового цилиндра может быть сильно уменьшен, что обеспечивает уменьшение трения в уплотнении и повышает комфорт во время езды; уменьшение диаметра штока позволяет уменьшить диаметр расточки цилиндра, что уменьшает эффекты ускорения жидкой массы и повышает комфорт во время езды; и гидравлическая система может быть спроектирована таким образом, чтобы обеспечивать часть поддерживающего усилия для одного или обоих концов транспортного средства, не создавая при этом жесткость при перекосе, и может использоваться для того, чтобы компенсировать нагрузки, прилагаемые к транспортному средству. Действительно, если штоки задних силовых цилиндров имеют больший диаметр, чем штоки передних силовых цилиндров, то когда к задней части транспортного средства добавляется нагрузка, сжимая упругие средства опоры транспортного средства, давление в гидравлической системе может быть увеличено, обеспечивая большую компенсацию нагрузки в задней части. В то же самое время, если распределение момента крена на упругих средствах опоры транспортного средства направлено к передней части транспортного средства, и распределение момента крена гидравлической системы в меньшей степени смещено вперед, то по мере того как давление и жесткость гидравлической системы увеличиваются, суммарное распределение момента крена подвески транспортного средства может переместиться назад, что больше соответствует требованию нагрузки, расположенной сзади.

Средство опоры транспортного средства может быть любым известным средством опоры, таким как цилиндрическая пружина, пневматические рессоры, торсионы, листовые рессоры и резиновые конусы. Средство опоры транспортного средства в случае цилиндрических пружин и пневматических рессор может быть установлено вокруг колесных силовых цилиндров или установлено отдельно.

Средство опоры транспортного средства для, по меньшей мере, одного конца транспортного средства может содержать первое средство опоры для обеспечения опоры для, по меньшей мере, части нагрузки на транспортном средстве, причем первое средство опоры обеспечивает жесткость при крене.

Средство опоры транспортного средства для, по меньшей мере, одного конца транспортного средства может содержать второе средство опоры для обеспечения опоры для, по меньшей мере, части нагрузки на транспортном средстве, причем второе средство опоры обеспечивает, по существу, нулевую жесткость при крене.

На одном или обоих концах транспортного средства может быть предусмотрено любое сочетаний первого и второго средств опоры. Например, если на обоих концах транспортного средства используются вторые средства опоры без какого бы то ни было первого средства опоры, то система подвески обеспечивает нулевую жесткость при перекосе. Поэтому при пересечении неровной местности нагрузка на каждое колесо остается постоянной (исключая кратковременные воздействия любых динамических движений на нагрузки колес).

Передние колесные силовые цилиндры могут быть двустороннего действия и, следовательно, содержать камеру отдачи. Камера сжатия одного переднего колесного силового цилиндра гидравлически соединена с камерой отдачи смежного с ним в поперечном направлении колесного силового цилиндра.

Задние колесные силовые цилиндры могут быть двойного действия и, следовательно, содержать камеру отдачи, причем камера сжатия одного заднего колесного силового цилиндра гидравлически соединена с камерой отдачи смежного с ним в поперечном направлении колесного силового цилиндра.

В качестве альтернативы, одна или обе пары из числа передней и/или задней пар колесных силовых цилиндров может быть одностороннего действия, хотя, даже если силовые цилиндры имеют одностороннее действие, в том, что касается жесткости, может быть желательным использовать силовой цилиндр двустороннего действия, содержащий камеру отдачи, соединенную через демпферную клапанную конструкцию с камерой сжатия. Это может быть достигнуто с использованием демпферного клапана в поршне силового цилиндра. Камера сжатия может быть соединена с одной из компенсационных камер устройства разделения режимов, как было описано выше.

Для торможения потока жидкости в, по меньшей мере, одну камеру каждого колесного силового цилиндра и/или из нее может быть установлено демпфирующее средство.

Для каждой гидравлической полости может быть предусмотрен, по меньшей мере, один аккумулятор давления жидкости, причем каждый аккумулятор гидравлически соединен с соответствующей гидравлической полостью. Для торможения потока жидкости в, по меньшей мере, один аккумулятор и/или из него может быть установлено демпфирующее средство.

Может быть предусмотрено упругое средство, предназначенное для воздействия на поршневой шток в сборе устройства разделения режимов.

Устройство разделения режимов может содержать две цилиндрические части, а поршневой шток в сборе может содержать два поршня и, по меньшей мере, один шток.

Устройство разделения режимов может содержать три цилиндрических части, а поршневой шток в сборе может содержать первый центральный поршень и, по меньшей мере, два штока. Поршневой шток в сборе может дополнительно содержать два концевых поршня. В качестве альтернативы или в дополнение к этому, устройство разделения режимов может содержать второй центральный поршень, причем первый и второй центральные поршни образуют, по меньшей мере, одну камеру давления жидкости. В гидравлическом соединении с этой, по меньшей мере, одной камерой давления жидкости может быть предусмотрен, по меньшей мере, один дополнительный аккумулятор давления жидкости.

Диаметр цилиндрических частей может быть неодинаковым, и диаметр штоков может быть неодинаковым.

Предпочтительно, чтобы, поскольку средства опоры транспортного средства являются основными средствами опоры транспортного средства, все полости в гидравлической системе могли бы работать с одним и тем же давлением. Также, поскольку система содержит рабочую жидкость и газ, оба из которых расширяются с увеличением температуры, то для того чтобы поддерживать статическое давление в системе и жесткость при крене в пределах запланированного диапазона при превышении расчетной температуры, может потребоваться система компенсации давления. Эта система компенсации давления может также использоваться для того, чтобы компенсировать любую потерю жидкости, происходящую со временем. Поэтому предусматривается устройство поддержания давления, соединенное с, по меньшей мере, двумя полостями, и предпочтительно с каждой полостью из числа гидравлических полостей через соответствующие дроссели или клапаны.

Устройство поддержания давления выполнено в виде простого аккумулятора, соединенного через дроссель с каждой гидравлической полостью. В качестве альтернативы, устройство поддержания давления может содержать насос, резервуар и устройства управления потоком жидкости. Давлением можно управлять таким образом, чтобы оно было различным в левых гидравлических полостях по сравнению с правыми гидравлическими полостями для управления положением крена, как при низкой частоте, так и активным способом при более высокой частоте. Аналогичным образом давлением можно управлять таким образом, чтобы оно было различным в передних гидравлических полостях по сравнению с задними гидравлическими полостями для управления положением продольного наклона (если диаметры штоков достаточны для того, чтобы обеспечить значащие изменения выталкивающей силы).

Чтобы отключать действие устройства разделения режимов между левыми гидравлическими полостями может быть предусмотрен, по меньшей мере, один клапан, и между правыми гидравлическими полостями может быть предусмотрен, по меньшей мере, один клапан. Это может использоваться для того, чтобы изменять распределение момента крена в гидравлической системе, обеспечивая при этом жесткость при крене при, по существу, нулевой жесткости при перекосе. В качестве альтернативы или дополнения можно использовать это для того, чтобы выравнивать связанные давления как часть функции поддержания давления.

Дополнительно или в качестве альтернативы, для того чтобы устранять жесткость гидравлической системы при крене, между передними гидравлическими полостями может быть установлен, по меньшей мере, один клапан, и/или между задними гидравлическими полостями может быть установлен, по меньшей мере, один клапан.

Дополнительно или в качестве альтернативы, для того чтобы обеспечить функцию отказоустойчивости или ограничить отрыв колес, между устройством разделения режимов и колесными силовыми цилиндрами могут быть установлены клапаны.

Краткое описание чертежей

Прилагаемые чертежи иллюстрируют неограничительные предпочтительные варианты выполнения настоящего изобретения, на которых представлено:

фиг.1 - первый предпочтительный вариант выполнения гидравлической системы, имеющей жесткость при крене, схематично;

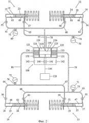
фиг.2 - второй предпочтительный вариант выполнения гидравлической системы, дополнительно содержащий устройство поддержания давления, схематично;

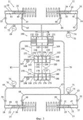
фиг.3 - второй предпочтительный вариант выполнения гидравлической системы, выполненной с возможностью активного управления жесткостью при крене и распределением момента крена, схематично;

фиг.4 - разновидность первого предпочтительного варианта выполнения гидравлической системы, содержащей дополнительные клапаны и трубопроводы, схематично;

фиг.5 - третий предпочтительный вариант выполнения настоящего изобретения, схематично;

фиг.6 - четвертый предпочтительный вариант выполнения настоящего изобретения, схематично;

фиг.7 - разрез устройства разделения режимов согласно пятому предпочтительному варианту выполнения настоящего изобретения.

Осуществление изобретения

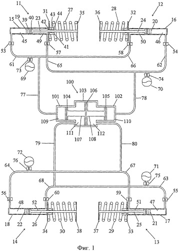
На фиг.1 показана система подвески для транспортного средства. Между корпусом транспортного средства (не показан) и четырьмя ортогонально расположенными колесами (не показаны) транспортного средства находятся четыре колесных силовых цилиндра 11, 12, 13, 14. Каждый колесный силовой цилиндр содержит цилиндрический резервуар 15, 16, 17, 18, соединен со ступицей колеса или другим геометрическим элементом подвески, движущимся вместе с колесом, поршень 19, 20, 21, 22, размещенный с возможностью скольжения внутри цилиндрического резервуара, и шток 23, 24, 25, 26, установленный между поршнем и корпусом транспортного средства. Соединение штока с корпусом транспортного средства может быть произведено любым известным средством, обычно через резиновую втулку, которая в случае геометрии стойки Макферсона (MacPherson) обычно содержит подшипник.

Для простоты понимания упругие средства опоры транспортного средства показаны как "намотанные витки", то есть цилиндрические пружины 27, 28, 29, 30, расположенные вокруг колесного силового цилиндра и находящиеся между нижним опорным диском 31, 32, 33, 34 пружины, прикрепленным к цилиндру, и верхним опорным диском 35, 36, 37, 38 пружины, который может быть соединен с корпусом транспортного средства или штоком (непосредственно или опосредованно, как, например, посредством подшипника втулки). Следует учесть, что упругое средство опоры может относиться к любому известному альтернативному типу, такому как, например, пневматические рессоры, и может быть расположено вокруг цилиндра, как это показано с цилиндрическими пружинами, или отдельное от силового цилиндра, что расширяет диапазон альтернативных вариантов, например, до торсионов, соединенных с геометрическим элементом, обеспечивающим местоположение колеса. Упругое средство опоры может обеспечивать опору и некоторую жесткость при крене (такую как в случае с независимыми торсионами или цилиндрическими пружинами для каждого колеса), или они могут обеспечивать опору при нулевой жесткости при крене (такой как в случае с пневматическими рессорами, гидравлическими цилиндрами или торсионами, присоединенными между поперечно смежными колесами), или может быть использовано любое сочетание средств опоры с и без жесткости при крене на одном или обоих концах транспортного средства. Этот тип разновидности средства опоры для использования с отдельной системой управления по крену подробно описан в патенте US 6217047 данного заявителя, который включен в данное описание в качестве ссылки.

Также колесный силовой цилиндр может быть инвертирован, при этом цилиндрическая часть присоединена к корпусу транспортного средства, а шток поршня присоединен к ступице колеса или другому геометрическому элементу подвески, движущемуся вместе с колесом. Это имеет то преимущество, что гидравлические соединения между цилиндром и остальной гидравлической системой располагаются относительно корпуса транспортного средства, а не относительно колеса, тем самым уменьшая смещение, требуемое от рукавов, обеспечивающих упомянутые гидравлические соединения. В этом случае, и особенно если опорные пружины расположены вокруг колесного силового цилиндра, цилиндрический резервуар 15 может быть с возможностью скольжения и с возможностью поворота установлен во внешней трубе, причем шток прикрепляется к внешней трубе, которая может в свою очередь быть соединенной со ступицей колеса или другим геометрическим элементом подвески. Внешняя труба также может поддержать нижний опорный диск пружины, тогда верхний опорный диск пружины устанавливается либо на цилиндр, либо непосредственно на корпус.

Колесные силовые цилиндры, показанные на чертежах, для простоты в основном представляют собой традиционные силовые цилиндры двустороннего действия. Например, в переднем левом колесном силовом цилиндре 11 поршень 19 (который может быть выполнен как неотъемлемая часть штока 23) имеет две канавки, содержащие подшипник 39 и уплотнение 40. В некоторых случаях, индивидуальные компоненты - подшипник и уплотнение могут быть заменены единым элементом (не показан), который ради простоты сборки и низких затрат может быть сцеплен с поршнем или образован вокруг поршня. Днище 41 цилиндра имеет три канавки, содержащие уплотнение штока 42, подшипник 43 и грязесъемник 44 штока или другой вид сбалансированного уплотнения, такого как экран. Каждый силовой цилиндр, следовательно, имеет камеру 45, 46, 47, 48 сжатия и камеру 49, 50, 51, 52 отдачи, образованные поршнем 19, 20, 21, 22 внутри каждого цилиндра 15, 16, 17, 18.

Прямое демпфирование каждого колесного силового цилиндра может быть достигнуто посредством использования демпферных клапанов 53-56 сжатия и демпферных клапанов 57-60 отдачи, установленных на трубопроводах 61-68 вблизи от камер сжатия и отдачи каждого колесного силового цилиндра. Эти колесные демпферные клапаны могут быть одностороннего действия, работающие на ограничение потока жидкости из камеры либо сжатия, либо отдачи, или они могут быть двустороннего действия, и в этом случае может быть использован только один клапан (либо на камере сжатия или, что предпочтительно, на камере отдачи). Колесные демпферные клапаны могут быть расположены в корпусе колесного силового цилиндра, где есть пространство для их монтажа, или прикреплены к корпусу колесного силового цилиндра или в трубопроводах, как это показано на чертеже. Колесные демпферные клапаны могут относиться к любому известному типу, включая простые пассивные отверстия, многоступенчатое пассивное отверстие и демпферные клапаны на основе регулировочных клиньев с дополнительными предохранительными пружинами, переключаемые демпферные клапаны (переключаемые либо между выбираемыми вариантами настройки, такими как комфортабельный, нормальный и спортивный, либо в зависимости от рулевого управления и входных воздействий) или непрерывно управляемое переменное демпфирование, которое может содержать алгоритмы для управления колебанием автомобильного колеса в вертикальной плоскости и движениями всего корпуса.

Четыре колесных силовых цилиндра двустороннего действия, поперечно связанные в пары, переднюю и заднюю, образующие передний и задний замкнутые гидравлические контуры, каждый из которых содержит левую и правую гидравлическую полость. Передняя левая гидравлическая полость образована передней левой камерой 45 сжатия, передним левым трубопроводом 61 сжатия, передним правым трубопроводом 66 отдачи и передней правой камерой 50 отдачи. Передняя правая гидравлическая полость образована передней правой камерой 46 сжатия, передним правым трубопроводом 62 сжатия, передним левым трубопроводом 65 отдачи и передней левой камерой 49 отдачи. Аналогичным образом задняя левая гидравлическая полость образована задней левой камерой 48 сжатия, задним левым трубопроводом 64 сжатия, задним правым трубопроводом 67 отдачи и задней правой камерой 51 отдачи, а задняя правая гидравлическая полость образована задней правой камерой 47 сжатия, задним правым трубопроводом 63 сжатия, задним левым трубопроводом 68 отдачи и задней левой камерой 52 отдачи.

На каждой из гидравлических полостей установлены аккумуляторы 69, 70, 71 и 72, чтобы обеспечить упругость гидравлической системы. Каждый аккумулятор должен быть расположен на трубопроводах сжатия или отдачи в любой точке между колесными демпферными клапанами сжатия и отдачи, если они предусмотрены. Демпферные клапаны 73, 74, 75 и 76 аккумулятора обеспечивают ослабление потока жидкости между каждой гидравлической полостью и соответствующим аккумулятором.

В случае вышеописанной простой передней и задней парой колесных силовых цилиндров с гидравлической связью перемещение жидкости при различных режимах выглядело бы следующим образом:

a) при крене, когда транспортное средство поворачивает направо, центробежные силы действуют на корпус в левом направлении, и корпус транспортного средства кренится влево, перемещая жидкость как из передней левой камеры сжатия, так и из передней правой камеры отдачи в передний левый аккумулятор 69 и из задней левой камеры сжатия и задней правой камеры отдачи в задний левый аккумулятор 72. Имеет также место поступление жидкости в переднюю правую камеру сжатия и переднюю левую камеру отдачи, причем жидкость подается правым аккумулятором 70, и поступление жидкости в заднюю правую камеру сжатия и заднюю левую камеру отдачи, причем жидкость подается задним правым аккумулятором 71.

b) при перекосе, например, когда переднее левое и заднее правое колеса находятся на более высоком грунте, чем переднее правое и заднее левое колеса, в таком случае имеется излишек жидкости в передней левой и задней правой гидравлических полостях и потребность в большем количестве жидкости в передней правой и задней левой гидравлических полостях.

c) при вертикальном перемещении и продольном наклоне разность между жидкостью, перемещенной в камеру сжатия одного колесного силового цилиндра или из этой камеры, и жидкостью, перемещенной из камеры отдачи поперечно смежного колесного силового цилиндра или в нее, равна объему штока, перемещенному в ходе этого движения. Этот объем штока и есть все, что перемещается в аккумуляторы или из них при вертикальном движении и движении продольного наклона.

Высокий относительный объем, перемещаемый в режиме крена по сравнению с режимами вертикального перемещения и продольного наклона, дает более высокую жесткость при крене, чем жесткость при вертикальном перемещении и продольном наклоне. Это также означает, что, если для того, чтобы затормозить поток жидкости в аккумуляторы и/или из них используются демпферные клапаны, то это демпфирование имеет большее влияние на крен, чем на вертикальное перемещение или продольный наклон.

Следовательно, чем больше разность между диаметром цилиндра и диаметром штока для каждого цилиндра, тем больше отношение между жесткостью (и демпфированием) системы при крене (и перекосе) и жесткостью (и демпфированием) системы при вертикальном перемещении (и продольном наклоне).

Кроме того, поскольку цилиндрические пружины или другое средство опоры, независимое от гидравлической системы, обеспечивают большую часть поддерживающего усилия для нагрузки на транспортное средство, то диаметры штоков могут быть малой величиной, поскольку выталкивающая сила из цилиндров может быть низкой. Аналогичным образом рабочее давление гидравлических систем может быть низким, хотя обычно оно устанавливается достаточно высоким, чтобы избежать кавитации в какой-либо точке в системе при нормальных условиях езды.

Каждая из этих четырех гидравлических полостей дополнительно содержит соответствующий соединительный трубопровод 77, 78, 79 и 80, обеспечивающий гидравлическую связь между этими четырьмя гидравлическими полостями и устройством разделения режимов. Соединяя все четыре колеса вместе в одном гидравлическом устройстве, возможно пассивно различать движения крена и перекоса. Преимущество использования устройства разделения режимов состоит в том, что колесные цилиндры могут иметь общий диаметр, а для того, чтобы соразмерять распределение момента крена в гидравлической системе между передней и задней частями согласно тому, что требуется для управления равновесием, могут быть использованы полезные площади сечений внутри устройства разделения режимов.

Устройство 100 разделения режимов, показанное на фиг.1, содержит три цилиндрических части, две из этих цилиндрических частей - 101 и 102 имеют один и тот же диаметр и расположены с обоих концов центральной цилиндрической части 103, которая имеет другой диаметр. Внутри каждой цилиндрической части установлен с возможностью скольжения поршень, причем два концевых поршня 104, 105 прикреплены к центральному поршню 106 соответствующими штоками 107 и 108. Эта конструкция образует четыре камеры, причем передняя левая компенсационная камера 109 соединена с передней левой гидравлической полостью, передняя правая компенсационная камера 110 соединена с передней правой гидравлической полостью, задняя правая компенсационная камера 111 соединена с задней правой гидравлической полостью, и задняя левая компенсационная камера 112 соединена с задней левой гидравлической полостью. Эти соединения обеспечивают то, что движениям крена оказывается сопротивление, а движения перекоса свободно допускаются, при этом характеристики переднего и заднего гидравлических контуров, относящиеся к продольному наклону и вертикальному перемещению, остаются незатронутыми.

Следует учесть, что могла бы использоваться любая компоновка гидравлических трубопроводов, которые обеспечивают эквивалентные соединения. Например, передний левый соединительный трубопровод 77 может быть опущен, а передний левый трубопровод 61 сжатия и передний правый трубопровод 66 отдачи могут быть оба напрямую и индивидуально соединены с передней левой компенсационной камерой 109 устройства 100 разделения режимов.

При добавлении устройства 100 разделения режимов перемещение жидкости при различных режимах может теперь быть описано следующим образом:

a) при крене, когда транспортное средство поворачивает направо, центробежные силы действуют на корпус в левом направлении, и корпус транспортного средства кренится влево, перемещая жидкость как из передней левой камеры сжатия, так и из передней правой камеры отдачи в передний левый аккумулятор 69 и из задней левой камеры сжатия и задней правой камеры отдачи в задний левый аккумулятор 72. Имеет также место поступление жидкости в переднюю правую камеру сжатия и переднюю левую камеру отдачи, причем жидкость подается правым аккумулятором 70, и поступление жидкости в заднюю правую камеру сжатия и заднюю левую камеру отдачи, эта жидкость подается задним правым аккумулятором 71. Увеличение давления в передней левой и задней левой компенсационных камерах 109 и 112 устройства 100 разделения режимов воздействует на шток 107, а уменьшение давления в передней правой и задней правой компенсационных камерах 110 и 111 устройства разделения режимов аналогичным образом воздействует на шток 108. При крене поршневого штока в сборе устройства разделения режимов (узел из поршней 104, 105 и 106 и штоков 107 и 108) сохраняется равновесие сил при небольшом или никаком его перемещении и силы, противодействующие крену, порождаемые гидравлической системой, имеют соотношение между передней и задней частями, определяемое размерами цилиндров.

b) при перекосе, когда переднее левое и заднее правое колеса находятся на более высоком грунте, чем переднее правое и заднее левое колеса, избыточная жидкость в передней левой и задней правой гидравлических полостях пос