PatentDB.ru — поиск по патентным документам

Иллюстрации к патенту 2408475

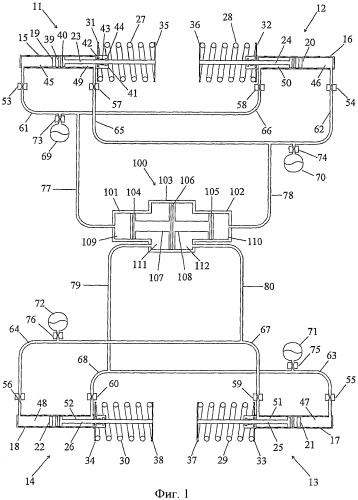
Гидравлическая система подвески для транспортного средства

Гидравлическая система подвески для транспортного средства (патент 2408475)