МЬЮРРЕЙ Эдвард М. (US)
Изобретатель МЬЮРРЕЙ Эдвард М. (US) является автором следующих патентов:

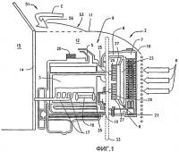
Система управления воздушным потоком для регулирования температуры в подкапотном пространстве грузового автомобиля большой грузоподъемности
Группа изобретений относится к технике охлаждения силовых установок транспортных средств. В основе изобретений лежит система для отвода тепла от моторного отсека (9) грузового автомобиля большой грузоподъемности (2). Первая система (21) вентиляции отводит тепло от радиатора (7). Она отделена от второй системы (51) вентиляции, которая отводит тепло от моторного отсека (9). Первая система (21) заби...
2460652