Система управления воздушным потоком для регулирования температуры в подкапотном пространстве грузового автомобиля большой грузоподъемности

Иллюстрации

Показать все

Группа изобретений относится к технике охлаждения силовых установок транспортных средств. В основе изобретений лежит система для отвода тепла от моторного отсека (9) грузового автомобиля большой грузоподъемности (2). Первая система (21) вентиляции отводит тепло от радиатора (7). Она отделена от второй системы (51) вентиляции, которая отводит тепло от моторного отсека (9). Первая система (21) забирает тепло от радиатора через ресивер (23) посредством центробежных вентиляторов (27) с ротором типа «беличья клетка» и направляет его в окружающую среду с помощью воздуховодов. Вторая система (51) вентиляции пропускает воздух из окружающей среды в целом от задней части моторного отсека (9) к передней предпочтительно посредством впуска воздуха с капота (53) без использования набегающего потока воздуха вблизи радиатора (7). Выходы двух систем вентиляции находятся в зоне пониженного давления потока воздуха вблизи грузового автомобиля большой грузоподъемности, при этом для эффективного выдувания воздуха из моторного отсека выход второй системы (51) вентиляции находится в зоне пониженного давления потока воздуха первой системы (21). Разделение тепловых нагрузок с обеспечением отдельных выходов отработавшего воздуха позволяет системам вентиляции работать по необходимости совместно или раздельно, что предопределяет их легкую адаптацию к требованиям грузовых автомобилей с большой грузоподъемностью. 10 н. и 22 з.п. ф-лы, 8 ил.

Реферат

ОБЛАСТЬ ТЕХНИКИ

Настоящее изобретение относится к системам снижения температуры в подкапотном пространстве транспортного средства. Оно имеет конкретное, но не единственное применение в системах такого рода для использования в грузовых автомобилях большой грузоподъемности, более подробно, в участке тягача седельного тягача с полуприцепом. Грузовые автомобили большой грузоподъемности являются, как правило, дорожными и профессиональными транспортными средствами, рассматриваемыми в классах автомобиля по весу от 4 до 8. Четвертый класс в целом считается включающим транспортные средства с полной массой автомобиля от 14001 фунтов до 16000 фунтов (от 6350 кг до 7257 кг). Настоящее изобретение особенно эффективно в классах автомобиля по весу с 6-го по 8-й и наиболее эффективно в транспортных средствах с 7-го по 8-й класс. Шестой класс включает транспортные средства с полной массой автомобиля от 19501 фунтов до 26000 фунтов (от 8846 кг до 11793 кг). Седьмой класс транспортных средств имеет полную массу автомобиля от 26001 фунтов до 33000 фунтов (от 11794 кг до 14969 кг).

Профессиональные грузовые автомобили большой грузоподъемности приспособлены для различных внедорожных работ, такие как грузовые автомобили для перевозки бетонной смеси, автолесовозы и другие грузовые автомобили, которые перевозят тяжелые грузы и предназначены для езды по неровному и необкатанному грунту в условиях бездорожья. Грузовые автомобили такого рода обычно также допускаются для передвижения по дорогам автомагистралей.

УРОВЕНЬ ТЕХНИКИ

Двигатель внутреннего сгорания грузового автомобиля большой грузоподъемности вырабатывает большое количество тепла. Тепло отводится от блока цилиндров двигателя с помощью жидкостной системы охлаждения, включающей радиатор, расположенный перед блоком цилиндров двигателя. Это тепло рассеивается благодаря свободной конвекции, главным образом с помощью воздушного потока, вызванного движением транспортного средства, и благодаря воздуху, который проходит через радиатор и обдувает двигатель в результате работы осевого вентилятора. В большинстве грузовых автомобилей, осевой вентилятор приводится в действие от коленчатого вала двигателя непосредственно через муфту. В других транспортных средствах, такой вентилятор является электрическим. В том и в другом случае КПД вентилятора является относительно низким, зачастую порядка около сорока процентов. Это вызвано отчасти собственной низкой производительностью самого вентилятора. Небольшое расстояние между вентилятором и блоком цилиндров двигателя также является показателем; причем блок цилиндров двигателя образует естественную преграду для воздушного потока и создает мертвую зону между вентилятором и блоком цилиндров двигателя, в которой избыточное давление стремится препятствовать движению воздушного потока. Двигатель грузового автомобиля большой грузоподъемности может выделять порядка около 1,5 миллионов БТЕ (1,6 миллионов кДж) в час при скорости, равной шестидесяти милям в час (97 км/ч), давая расход топлива менее чем двенадцать миль на галлон (5 км/л), и может использовать вентилятор вплоть до 32 дюймов (0,8 м) в диаметре, номинально подавая 9,500 кубических футов (270 кубических метров) в минуту, чтобы рассеивать тепло, выводимое радиатором. Установлено, что приблизительно одна треть мощности двигателя используется для того, чтобы приводить грузовой автомобиль в движение, одна треть находится в нагретых отработавших газах (в качестве тепла и несгоревшего топлива), и одна треть должна потребляться системой охлаждения.

Помимо того что тепло отводится от блока цилиндров двигателя к радиатору охлаждающей жидкостью, блок цилиндров двигателя самостоятельно излучает значительную часть тепла, оцениваемую примерно вплоть до 20000 БТЕ (22000 кДж) в час на дорожных скоростях.

В последнее время большие дизельные грузовые автомобили стали включать системы рециркуляции отработавших газов (EGR). Грузовые автомобили, оборудованные двигателями мощностью более 250 лошадиных сил (186 кВт), вследствие этого столкнулись со случаями серьезных проблем с температурой в подкапотном пространстве. Такие системы рециркуляции отработавших газов повторно пропускают часть отработавших газов (в основном около 15-30%) в систему впуска воздуха двигателя. Поскольку отработавшие газы имеют температуру примерно от 1200°F до 1500°F (примерно от 650°C до 815°C), они охлаждаются примерно до 600°F (315°C) при прохождении их через теплообменник системы рециркуляции отработавших газов перед впуском их в цилиндры данного двигателя. Система рециркуляции отработавших газов прибавляет около тридцати процентов к тепловой нагрузке на систему охлаждения, около 150000 БТЕ (160000 кДж) в час, большая часть которого должна рассеиваться радиатором. Ввиду того что большая часть этого тепла направляется обратно в моторный отсек, тепловая нагрузка в подкапотном пространстве значительно возрастает. Система рециркуляции отработавших газов сама также излучает тепло непосредственно в моторном отсеке.

Другие вспомогательные устройства приводятся в действие двигателем и вырабатывают дополнительное тепло. Например, воздушный компрессор необходим для работы тормозов и других компонентов. Воздушный компрессор может иметь температуру поверхности порядка около 250°F (121°C).

Для соответствия экологическим нормам и для повышения эффективности ряд других устройств устанавливаются на двигатель. Турбонагнетатель, приводимый в движение отработавшими газами, вырабатывает дополнительное тепло, оцениваемое порядка около 32000 БТЕ (34000 кДж) в час. Турбонагнетатель может иметь температуру рабочей поверхности примерно от 800°F до 1200°F (от 425°C до 650°C).

Дополнительное тепло, вырабатываемое в подкапотном пространстве современного грузового автомобиля большой грузоподъемности, повысило температуру в подкапотном пространстве до недопустимого уровня. Дополнительное тепло и температура снижают ресурс компонентов в моторном отсеке и снижают эффективность двигателя. В некоторых случаях они оплавляют пластиковые компоненты и перегревают жидкости в моторном отсеке. Тепло также может перемещаться в кабину водителя автомобиля и может делать как температуру воздуха в кабине, так и температуры поверхностей пола и передней стенки кабины высокой до уровня дискомфорта. Попытки увеличить радиатор, изменяя его положение, наклоняя или разделяя на несколько частей, недостаточны. Увеличение вентилятора аналогичным образом нецелесообразно и приведет к увеличению потребления мощности для его работы.

Современные грузовые автомобили большой грузоподъемности требуют аэродинамических проектировочных решений, которые в некоторых случаях приводят к уменьшению конструкции капота. Установка большего числа оборудования в моторном отсеке дополнительно усложняет воздушный поток. Все эти факторы требуют совершенно нового метода управления воздушным потоком в подкапотном пространстве.

Были сделаны различные попытки для решения в некоторой степени похожих проблем с легковыми автомобилями и транспортными средствами повышенной проходимости. Например, в патентах США № 4979584 и 5495909 раскрыта вентиляционная система отсека двигателя автомобиля, использующая набегающий поток воздуха, проходящий через отверстия, расположенные вокруг радиатора в автомобиле с поперечно расположенным двигателем. Аналогичным образом, в патенте США № 6216778 раскрыта система охлаждения для автомобилей повышенной проходимости, которые неподвижны или двигаются с очень низкой скоростью относительно земли. Данные системы нелегко адаптировать к требованиям грузовых автомобилей с большой грузоподъемностью.

СУЩНОСТЬ ИЗОБРЕТЕНИЯ

В частности, согласно настоящему изобретению создана система для отвода тепла от моторного отсека транспортного средства посредством изолирования тепла радиатора от моторного отсека (над и по бокам блока цилиндров двигателя). Настоящее изобретение предусматривает новое конструкторское решение, которое разделяет тепловые нагрузки и обеспечивает отдельные выходы отработавшего воздуха и позволяет системам работать совместно или по отдельности по необходимости.

Тепло от радиатора отводится из ресивера за радиатором предпочтительно посредством центробежного вентилятора c ротором типа «беличья клетка» и направляется от моторного отсека, вместо того чтобы направляться на блок цилиндров двигателя. Вентиляторы предпочтительно управляются термостатически, чтобы позволить нескольким или всем из вентиляторов работать, если необходимо. Также предполагается использование управления вентиляторов компьютером с прогнозированием.

Блок цилиндров двигателя и связанные с ним устройства (такие как клапан рециркуляции отработавших газов и турбонагнетатель) охлаждаются отдельной системой, которая перемещает воздух из окружающей среды в целом от задней части моторного отсека к передней предпочтительно посредством впуска воздуха с капота без использования набегающего потока воздуха вблизи радиатора.

Предпочтительно, чтобы как система вентиляции радиатора, так и система вентиляции моторного отсека имела выход в окружающую среду через боковые стенки моторного отсека вблизи передней части моторного отсека. Предпочтительно, чтобы выходы выпускали горячий воздух в зону пониженного давления потока воздуха вблизи грузового автомобиля, которая стремится отвести воздух из системы. Более того, выход системы вентиляции моторного отсека предпочтительно должен находиться за выходом системы вентиляции радиатора и должен использовать поток воздуха из системы вентиляции радиатора, идущий в окружающую среду для отвода воздуха из моторного отсека. Предпочтительно, чтобы воздушный поток вблизи каждого выхода был ламинарным.

Системы настоящего изобретения могут включать один или несколько стандартных радиаторов, ресиверов и блоков вентиляторов, размеры которых устанавливаются для отдельных классов транспортных средств или по рабочему объему двигателя. Изобретение может также включать стандартную систему впуска воздуха с капота, размеры которой также устанавливаются для отдельных классов транспортных средств или по рабочему объему двигателя. Однако система воздуховодов для каждой системы вероятно будет зависеть от конкретной конструкции транспортного средства, включающей такие факторы, как доступное пространство в моторном отсеке, внутреннюю конфигурацию моторного отсека и расположение компонентов двигателя внутри моторного отсека, оказывающих воздействие на поток воздуха в пределах моторного отсека, конфигурации впуска воздуха, поступающего в камеру сгорания двигателя, и спектра обтекания потока воздуха вокруг наружной поверхности моторного отсека.

Вышеизложенные и другие задачи, признаки и преимущества настоящего изобретения, а также в настоящий момент предпочтительный вариант осуществления станут более очевидными после прочтения нижеследующего описания совместно с прилагаемыми чертежами.

КРАТКОЕ ОПИСАНИЕ ЧЕРТЕЖЕЙ

На прилагаемых чертежах, которые образуют часть данного описания, изображено следующее:

Фиг.1 - схематичный вид сбоку продольного разреза отсека двигателя внутреннего сгорания грузового автомобиля большой грузоподъемности, модифицированного в соответствии с одним вариантом осуществления настоящего изобретения;

Фиг.2 - вид сверху, отображающий воздушный поток, проходящий через часть иллюстративного варианта осуществления изобретения в системе с Фиг.1;

Фиг.3 - вид сзади, иллюстрирующий блок системы охлаждения радиатора настоящего изобретения;

Фиг.4 - вид сбоку блока с фиг.3;

Фиг.5 - вид в перспективе частей системы с Фиг.2-4, в разрезе по линии 5-5 с Фиг.2;

Фиг.6 - вид в перспективе воздухоотвода моторного отсека системы с Фиг.2-5;

Фиг.7 - схематичный вид в перспективе впуска для воздуха с капота в соответствии с вариантом осуществления другой части настоящего изобретения; и

Фиг.8 - вид в перспективе дорожного грузового автомобиля, использующего вариант осуществления изобретения с Фиг.1-7.

Соответствующие ссылочные позиции указывают соответствующие части на всех чертежах.

НАИЛУЧШИЙ СПОСОБ ОСУЩЕСТВЛЕНИЯ НАСТОЯЩЕГО ИЗОБРЕТЕНИЯ

Следующее подробное описание иллюстрирует настоящее изобретение в качестве примера, а не в качестве ограничения. Данное описание, несомненно, позволяет специалисту в данной области техники изготовить и использовать настоящее изобретение, описывает несколько вариантов осуществления изобретения, адаптаций, изменений, альтернативных решений и вариантов использования настоящего изобретения, включая то, что в настоящий момент было признано наилучшим вариантом осуществления настоящего изобретения.

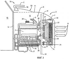
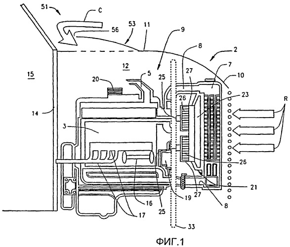
Как показано на чертежах, двигатель внутреннего сгорания в большом грузовом автомобиле большой грузоподъемности 2 (см. Фиг.1 и 8) включает в себя блок 3 цилиндров двигателя, воздухозаборник 5 и радиатор 7, который охлаждает хладагент, проходящий из 3 блока цилиндров двигателя через каналы 8. Все эти компоненты двигателя находятся в моторном отсеке 9, имеющем переднюю часть 10 (обычно около или непосредственно перед радиатором), верхнюю часть 11 и боковые стенки 12. Верхняя часть и значительная часть боковых стенок в целом выполнены в виде поднимающегося капота 13 (см. Фиг.8), который, как правило, шарнирно прикреплен к кузову грузового автомобиля в области нижней передней части грузового автомобиля. С тыльной стороны моторного отсека 9 моторный щит 14 отделяет моторный отсек от кабины водителя 15. Турбонагнетатель 16, выпускная система 17 и воздушный компрессор 19 добавляют тепловую нагрузку в моторном отсеке 9. В капотном грузовом автомобиле большой грузоподъемностью тепло, излучаемое двигателем, и тепло, вдуваемое назад в моторный отсек осевым вентилятором, повышают температуру моторного отсека. В последние годы система рециркуляции отработавших газов (EGR), включающая в себя клапан системы рециркуляции отработавших газов 20, является дополнением к тепловой нагрузке на радиатор и к температуре в моторном отсеке, главным образом, потому что система рециркуляции отработавших газов, как правило, передает порядка около 15-30% горячих отработавших газов обратно в двигатель. Суммарная тепловая нагрузка в моторном отсеке 9 современного грузового автомобиля 2 большой грузоподъемности за вычетом той, что излучается радиатором 7, оценивается примерно в 60000 БТЕ (63000 кДж) в час.

В данном иллюстративном варианте осуществления настоящего изобретения демонтируют осевой вентилятор и заменяют его изолированной системой 21 вентиляции радиатора, включающей в себя ресивер 23, установленный за радиатором 7, предпочтительно герметичный в соединении с радиатором по отношению к внешней среде. Вследствие этого весь набегающий поток воздуха, попадающий на радиатор 7, когда грузовой автомобиль движется вперед, проходит через радиатор 7 и концентрируется в ресивере 23. Установленные на ресивере 23, предпочтительно на его тыльной стороне, несколько электродвигателей 25 приводят в действие (центробежные) вентиляторы 27 с ротором типа «беличья клетка» в ресивере 23. Вентиляторы 27 с ротором типа «беличья клетка» отводят нагретый воздух в осевом направлении из ресивера и изменяют движение воздуха на 90° для вывода его наружу (в сторону) в воздуховоды 43, как описано ниже.

При желании, задняя часть ресивера, вентиляторы 27 и воздуховоды 43 могут быть оборудованы изоляционным материалом в виде покрытия или отдельного изоляционного слоя или барьера. Обозначенная пунктирной линией 33, данная конструкция эффективно защищает двигатель, его компоненты и дополнительные устройства в моторном отсеке 9 от приблизительно 650000 БТЕ (700000 кДж) в час или более рассеиваемых в окружающую среду радиатором 7, когда грузовой автомобиль 2 движется со скоростью, разрешенной на автотрассе. Выпуск нагретого воздуха таким способом поможет избежать постоянного поступления тепла в моторный отсек. Таким образом проблема выделения тепла в моторном отсеке уменьшается до 60000 БТЕ (63000 кДж) в час, образуемых в подкапотном пространстве турбонагнетателем 16, системой 20 рециркуляции отработавших газов, блоком 3 цилиндров двигателя и другими компонентами моторного отсека.

Электродвигатели 25 управляются термостатически, при этом отдельные электродвигатели или их группы приводятся в действие, только когда это необходимо. Алгоритмы с прогнозированием для управления работой вентиляторов 27 охлаждения будут очевидны для специалистов в данной области техники. Алгоритмы такого рода могут включать такие факторы как, например, температура хладагента двигателя, степень повышения температуры хладагента, поверхности двигателя или температуры масла, температуру моторного отсека, температуру окружающей среды, число оборотов двигателя и скорость движения грузового автомобиля.

Конструкция, описанная к данному моменту, имеет дополнительные преимущества; в частности, она уменьшает мощность (оцениваемую в шестьдесят пять лошадиных сил), потребляемую на работу лопастного вентилятора. Это может привести к значительной экономии топлива (7-9%). Она также исключает использование муфты включения вентилятора, которая считается деталью, требующей частого технического обслуживания. Электрические центробежные вентиляторы 27 с ротором типа «беличья клетка» гораздо более эффективны в отводе тепла от радиатора 7, нежели лопастной осевой вентилятор. В связи с тем что предпочтительно устанавливается множество центробежных вентиляторов 27, воздушный поток может понижаться или повышаться и управляться более эффективно регулированием того, какой из вентиляторов включен. Более того, электродвигатель постоянного тока центробежного вентилятора может становиться генератором, когда он выключен и свободно вращается от набегающего потока воздуха, таким образом заряжая аккумуляторные батареи грузового автомобиля.

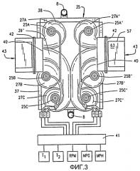
Изолированная система вентиляции радиатора 21, описанная к данному моменту, может быть выполнена в виде стандартного блока 35, причем несколько блоков такого рода будут покрывать широкий ассортимент грузовых автомобилей большой грузоподъемности. Блок 35 может включать в себя радиатор 7, ресивер 23 и ряд вентиляторов 27. Блок такого рода может включать в себя радиатор 7, имеющий высоту примерно от двух до трех футов (от 0,5 м до одного метра) и ширину примерно от 18 до 36 дюймов (от 0,4 м до одного метра), с ресивером 23 примерно от одного до двух дюймов (от 2,5 см до 5 см) в глубину, имеющим размер, соответствующий задней части радиатора. Блок 35 может соединяться с системой воздуховодов, которая специально изготавливается под конкретную конструкцию грузового автомобиля для создания как системы 21 вентиляции радиатора, так и части системы вентиляции моторного отсека.

Как показано на Фиг.2-7, например, радиатор и ресивер, высота которых составляет 33 дюйма (84 см) и ширина которых составляет 22 дюйма (56 см), могут быть представлены в качестве стандартного блока 35. Радиатор 7 иллюстративно имеет глубину 6 дюймов (15 см) с фланцем 36, проходящим по его периметру, и ресивер имеет глубину 1,25 дюйма (3 см) и включает периферийный фланец 37, прикрепляемый к фланцу 36 радиатора. Как показано на Фиг.3, на ресивере установлено шесть вентиляторов 27A, 27B, 27C, 27A', 27B' и 27C' с ротором типа «беличья клетка», каждый из которых включает в себя электродвигатель 25A, 25B, 25C, 25A', 25B' и 25', соответственно, ротор 26 типа «беличья клетка» и корпус 38, имеющий боковой воздухоотвод 39. Иллюстративно, каждый вентилятор производит 530 кубических футов в минуту (15 кубических метров в минуту) по воздуху и имеет бесщеточный электродвигатель постоянного тока диаметром 3 дюйма (7,6 см) с рабочими оборотами 3,000 об/мин и рабочим напряжением 24В. Производительность центробежных вентиляторов определяется исходя из конкретных применений. Корпус 38 каждого вентилятора 27 имеет размер примерно 9 дюймов в ширину примерно на 10 дюймов в высоту и примерно на 4 дюйма в глубину (22,5×25,5×10 см), и каждый корпус имеет воздухоотвод 39 площадью 4 квадратных дюйма (10 см2). Можно увидеть, что верхний левый вентилятор 27А и два нижних правых вентилятора 27B' и 27C' имеют одинаковую направленность (вращение по часовой стрелке), а верхний правый вентилятор 27A' и два нижних левых вентилятора 27B и 27C имеют другую направленность (вращение против часовой стрелки). Самые нижние вентиляторы 27C и 27C' имеют удлиненные воздухоотводы 39', проходящие между выходами двух вентиляторов над ними, таким образом, все воздухоотводы на каждой стороне ресивера расположены по вертикали, образуя прямоугольный воздухоотвод 40 размером 12 дюймов на 4 дюйма (30×10 см) на каждой стороне блока.

Как подробно показано на Фиг.3, каждый электродвигатель 25 отдельно подключен с помощью электрического соединения к системе 41 управления, имеющей входные сигналы, причем Т1 обозначает температуру хладагента, Т2 обозначает температуру моторного отсека, RPM обозначает число оборотов двигателя, MPG обозначает мгновенный или суммарный расход топлива, а MPH обозначает скорость движения транспортного средства. Входные сигналы позволяют контроллеру управлять вентиляторами 27 по отдельности или группами для обеспечения того, что температура двигателя останется в необходимом диапазоне в соответствии с алгоритмами, которые будут без труда заданы специалистами в данной области техники. В простейшей форме, вентиляторы включаются попарно, когда температура хладагента, обозначенная как Т1, превышает заданное значение, и выключаются, когда Т1 опускается ниже второго значения. Также сигналы обеспечивают работу вентиляторов в чрезвычайных обстоятельствах, когда Т2 превышает заданное значение, в то время как T1 остается относительно низкой, для охлаждения моторного отсека 9, как описано ниже. Входные сигналы RPM, MPG и MPH обеспечивают прогнозируемую работу нескольких или всех вентиляторов 27 для запуска вытяжки набегающего потока воздуха, проходящего через радиатор, чтобы обеспечить охлаждение, в то время как температура хладагента продолжает расти. Данный контроллер также обеспечивает рекуперативное использование вентиляторов для зарядки аккумуляторных батарей грузового автомобиля, когда набегающий поток воздуха протекает через них и они не включены.

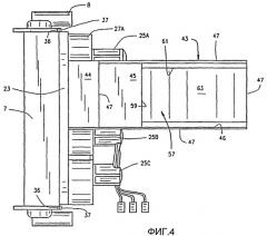
Блок 35 охлаждения радиатора соединен с системой 43 воздуховодов. Предпочтительно, но не обязательно, чтобы, по меньшей мере, задний участок системы 43 воздуховодов устанавливался в пределах капота 13. Место соединения между установленными на капоте воздуховодами 43 и блоком 35 может быть уплотнено любым известным способом. Например, как показано только на Фиг.2 и 3, прямоугольный воздухоотвод 40 блока 35 может заканчиваться соединительным скосом кромки 42, имеющим прокладку со стороны открытой (передней) грани для уплотнения с сопряженным наклонным скосом кромки на установленных на капоте воздуховодах. Такая конструкция обеспечивает беспрепятственное открытие капота 13 и обеспечивает герметичное соединение системы воздуховодов 43 с блоком 35, когда капот 13 закрыт. В качестве альтернативы, концевая секция воздуховодов блока или воздуховодов, установленных под капотом, может перемещаться в продольном направлении посредством автоматического приводного механизма или приводного механизма с ручным управлением для соединения с другой секцией воздуховодов. Аналогичным образом, система воздуховодов может быть постоянно соединена с блоком системы вентиляции радиатора 35 и может просто совпадать с отверстиями с каждой стороны 12 капота.

Система 43 воздуховодов данного иллюстративного варианта осуществления изобретения включает изогнутую наружную стенку 44, соединенную с передней стенкой воздухоотвода 40, и изогнутую внутреннюю стенку 45, соединенную с задней стенкой воздухоотвода 40. Наружная стенка 44 заканчивается в целом плоским вертикальным прямоугольным отверстием 46, имеющим наружную кромку 47, совпадающую с прямоугольным отверстием такого же размера в боковой стенке 12 капота грузового автомобиля. Следует отметить, что форма отверстия будет в некоторой степени обусловлена очертаниями капота грузового автомобиля. В данном варианте осуществления изобретения, отверстие 46, главным образом, имеет высоту двенадцать дюймов (30 см) и ту же ширину, что и воздухоотвод 40 блока вентиляции радиатора. Внутренняя стенка 45 системы 43 воздуховодов расположена в четырех дюймах от наружной стенки 44 вдоль изогнутого участка воздухозаборника, соединенного с воздухоотводом 40. Когда внутренняя стенка 45 достигает положения напротив отверстия 46, она изгибается немного наружу в сторону задней кромки 47 отверстия 46. Наружная и внутренняя стенки 44 и 45 соединены между собой посредством верхней и нижней горизонтальной стенки 48. Можно увидеть, что стенки 44, 45 и 48 образуют плавный открытый канал, направляющий воздух, выпускаемый из системы 21 вентиляции радиатора, в зону пониженного давления потока воздуха окружающей среды вокруг грузового автомобиля большой грузоподъемности, когда грузовой автомобиль движется вперед.

Для охлаждения блока 3 цилиндров двигателя и его соответствующих компонентов под капотом в моторном отсеке предусматривается отдельная система 51 вентиляции моторного отсека. Вторая система 51 вентиляции в данном иллюстративном варианте осуществления изобретения имеет размер для отвода приблизительно 60000 БТЕ (63000 кДж) в час тепла, образующегося в подкапотном пространстве. В частности, 60000 БТЕ (63000 кДж) в час могут эффективно отводиться посредством впуска воздуха с капота, специально расположенного поверх капота, используя область повышенного давления вблизи лобового стекла для того, чтобы холодный набегающий поток воздуха перетекал в моторный отсек, заставляя воздух в моторном отсеке выходить через боковые воздуховоды в капоте, направляя отводимый воздух в зону пониженного давления рядом с выходом воздуха в окружающую среду от вентиляторов радиатора. Как показано на Фиг.1, 2 и 8, система 51 вентиляции моторного отсека включает в себя впускной дефлектор 53 перед лобовым стеклом 55 грузового автомобиля 2. Системы впуска воздуха с капота долгое время использовались в гоночных автомобилях, и их использование в грузовых автомобилях большой грузоподъемности считается новаторским. Как известно, задняя часть 56 дефлектора 53, вблизи лобового стекла, выходит в моторный отсек. На рабочих скоростях, даже относительно небольших рабочих скоростях, воздух сжимается у основания лобового стекла 55 и втягивается в моторный отсек через заднюю часть дефлектора 53, обозначенную ссылочной позицией 56.

Воздух внутри моторного отсека 9 удаляется через выпускные воздуховоды 57, установленные на внутренних стенках 45 воздуховодов 43, как подробно показано на Фиг. 2-6. Как, в частности, показано на Фиг.3 и 4, в данном варианте осуществления изобретения выпускные воздуховоды 57 имеют размер примерно девять дюймов в высоту и три дюйма в ширину (23 см × 8 см) у входной части 59 и расположены относительно вертикали в центре на внутренней стенке 45 воздуховодов 43. Внутренние стенки 45 воздуховодов 43 включают прямоугольные отверстия 61, в которые выходят выпускные воздуховоды 57. Каждый выпускной воздуховод 57 включает вертикальную внутреннюю стенку 63, которая изгибается, встречаясь с внутренней стенкой 45 тыльной стороной, и верхнюю и нижнюю горизонтальные стенки 65, которые соединяют внутреннюю стенку 63 выпускного воздуховода с внутренней стенкой 45 вентиляционного воздуховода 43 радиатора. Несмотря на то, что выпускные воздуховоды 57 полностью выходят в окружающую среду, они также находятся в зоне пониженного давления горячего воздуха, принудительно удаляющегося через выходы 46 системы вентиляции радиатора 21, и в зоне пониженного давления грузового автомобиля. Вследствие этого воздух дополнительно отводится из моторного отсека благодаря эффекту Вентури, создаваемому потоком горячего воздуха, проходящего из ресивера через выходы 46. Движение вперед грузового автомобиля 2 также будет создавать стремление зоны пониженного давления потока воздуха отводить горячий воздух как от выходов 46 воздуховодов 43, так и выходов 57 из моторного отсека 9. При неблагоприятных условиях, когда моторный отсек достиг нежелательной температуры, в то время как вентиляторы 27 выключены, могут быть включены электродвигатели вентиляторов для отвода воздуха через воздуховоды 43 и высасывания воздуха из моторного отсека 9.

Как показано на Фиг.1 и 2, набегающий поток воздуха, обозначенный стрелками с буквой R перед грузовым автомобилем большой грузоподъемности, полностью направляется через радиатор 7 в систему 21 вентиляции радиатора, в то время как моторный отсек 9 охлаждается впуском воздуха с капота, обозначенным стрелками с буквой C, двигающимся в целом от задней части моторного отсека к передней. Движение воздуха от задней части моторного отсека 9 к передней также отводит тепло от области моторного щита и уменьшает тепловую нагрузку на кабину 15.

Предпочтительно, чтобы соответствующими защитными ограждениями оборудовались все внешние отверстия. Многочисленные защитные ограждения такого рода хорошо известны и могут включать, например, тонкие горизонтальные створки.

С учетом вышеизложенного раскрытия специалистам в данной области техники будет очевидно множество модификаций системы управления температурой подкапотного пространства транспортного средства настоящего изобретения в рамках прилагаемой формулы изобретения. Только в качестве примера могут быть использованы другие закрытые системы охлаждения радиатора. Как было отмечено ранее, конфигурация и размер выпускных воздуховодов будут, разумеется, в некоторой степени изменяться, приспосабливаясь к геометрическим параметрам и моторным отсекам различных грузовых автомобилей, примером чего служит Фиг.8. Система охлаждения моторного отсека может включать дополнительные воздухозаборники воздуха сверху или сбоку моторного отсека, включая системы впуска воздуха и воздухозаборники набегающего потока воздуха. Предпочтительно, чтобы воздухозаборники располагались вдали от передней части грузового автомобиля. Воздухозаборники набегающего потока воздуха, как правило, в настоящий момент не являются предпочтительными, за исключением использования в конструкции грузового автомобиля с кабиной над двигателем. Система охлаждения моторного отсека может включать в себя дополнительные выпускные каналы и может включать, при желании, вентиляторы с механическим приводом различных типов. Например, вентиляторы с механическим приводом могут предусматриваться в воздухоотводах системы вентиляции моторного отсека. Многие системы с регулируемой температурой известны или легко приспосабливаются для контроля работы вентиляторов или для перемещения перегородок и тому подобного. В проиллюстрированном варианте осуществления изобретения, другие электродвигатели, включая, например, электродвигатели с переменной скоростью вращения и, менее желательно, гидравлические электродвигатели могут быть использованы для приведения в действие вентиляторов с ротором типа «беличья клетка»; причем размер и число вентиляторов могут изменяться в соответствии с требованиями применения; и форма, число и размер лопастей вентилятора c ротором типа «беличья клетка» могут меняться для того, чтобы отвечать требованиям конкретного применения. Электродвигатели вентиляторов могут работать от различного напряжения, например от 12 В до 42 В. Нижняя часть моторного отсека может быть закрыта для более обтекаемой формы или для целей внутреннего воздушного потока. Данные вариации всего лишь иллюстративны. В то время как различные изменения могут быть сделаны в вышеупомянутых исполнениях без выхода за рамки настоящего изобретения, предполагается, что весь материал, содержащийся в вышеприведенном описании или показанный на прилагаемых чертежах, следует воспринимать в иллюстративном, а не ограничительном смысле.

Все патенты и заявки на патент, упомянутые в данном документе, включены сюда посредством ссылки.

1. Транспортное средство для передвижения по дорогам автомагистралей, содержащее: отсек водителя; моторный отсек; двигатель в моторном отсеке; радиатор спереди от двигателя, принимающий хладагент от двигателя; первую систему вентиляции позади радиатора, содержащую систему воздуховодов с выходом для отработавшего воздуха в окружающую среду, и, по меньшей мере, один электрический вентилятор для пропускания воздуха, проходящего через радиатор, через систему воздуховодов и из выхода для отработавшего воздуха первой системы вентиляции, причем первая система вентиляции выполнена с возможностью предотвращения попадания воздуха, проходящего через радиатор, в моторный отсек; и вторую систему вентиляции, выполненную с возможностью отвода тепла из моторного отсека, подачи воздуха из окружающей среды в заднюю часть моторного отсека и выпуска воздуха, нагретого в моторном отсеке, из выхода для отработавшего воздуха по направлению к передней части моторного отсека.

2. Транспортное средство по п.1, в котором вторая система вентиляции дополнительно содержит конструктивный элемент для впуска воздуха, по меньшей мере, на верхней или боковых частях моторного отсека, причем конструктивный элемент для впуска воздуха выполнен с возможностью подачи воздуха из окружающей среды в моторный отсек, когда транспортное средство движется вперед.

3. Транспортное средство по п.1, в котором выход для отработавшего воздуха второй системы вентиляции расположен позади выхода для отработавшего воздуха первой системы вентиляции, причем система спроектирована и расположена таким образом, что выпускной воздух из первой системы вентиляции вытягивает воздух из выхода второй системы вентиляции.

4. Транспортное средство по п.1, имеющее полную массу, по меньшей мере, 6350 кг и развивающее скорость на автомагистрали 97 км/ч.

5. Транспортное средство по п.4, представляющее собой грузовой автомобиль большой грузоподъемности, имеющий полную массу, по меньшей мере, 11794 кг.

6. Транспортное средство по п.5, представляющее собой профессиональный грузовой автомобиль большой грузоподъемности, выполненный с возможностью его использования как на бездорожье, так и на автомагистрали.

7. Транспортное средство по п.5, представляющее собой часть тягача седельного тягача с полуприцепом.

8. Транспортное средство для передвижения по дорогам автомагистралей, содержащее: отсек водителя; моторный отсек перед отсеком водителя; двигатель в моторном отсеке; радиатор спереди от двигателя, принимающий хладагент от двигателя; первую систему вентиляции позади радиатора, включающую в себя ресивер, герметично соединенный с радиатором по отношению к внешней среде, при этом замкнутое пространство предотвращает прохождение воздуха, втянутого через радиатор, в моторный отсек, причем первая система вентиляции содержит, по меньшей мере, один центробежный вентилятор; и вторую систему вентиляции, содержащую систему впуска воздуха, выполненную с возможностью подачи воздуха в задний участок моторного отсека независимо от вентилятора, когда транспортное средство движется вперед.

9. Транспортное средство по п.8, дополнительно содержащее впускной дефлектор, совместно действующий с лобовым стеклом транспортного средства.

10. Транспортное средство для передвижения по дорогам автомагистралей, содержащее: отсек водителя; лобовое стекло, образующее часть передней стенки отсека водителя; моторный отсек перед отсеком водителя; двигатель в моторном отсеке; радиатор спереди от двигателя, принимающий хладагент от двигателя; первую систему вентиляции позади радиатора, причем первая система вентиляции предотвращает прохождение воздуха, втянутого через радиатор, в моторный отсек; и вторую систему вентиляции, выполненную с возможностью подачи воздуха в моторный отсек, когда транспортное средство движется вперед, при этом вторая система вентиляции содержит воздухозаборник, расположенный поверх капота моторного отсека, причем лобовое стекло формирует область повышенного давления у своего основания для направления воздуха в воздухозаборник второй системы вентиляции, когда транспортное средство