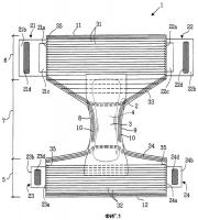
Абсорбирующее изделие, такое, как подгузник, защитное приспособление при недержании или аналогичное изделие, включающее в себя средство для захватывания
                        
                        
                                                            Изобретение относится к медицине. Абсорбирующее изделие содержит переднюю и заднюю части, промежностную часть, абсорбирующее тело, размещенное между проницаемым и не проницаемым для жидкости слоями. На передней и задней частях размещены угловые участки, каждый из которых имеет внутреннюю и наружную поверхности, удлиненные скрепляющие элементы и средства для захватывания угловых участков,...