Иллюстрации к патенту
511266
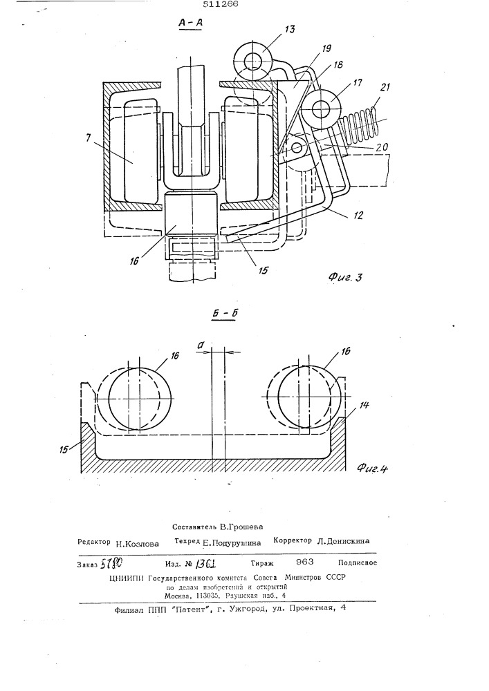
Опускная секция подвесного толкающего конвейера