PatentDB.ru — поиск по патентным документам

Иллюстрации к патенту 524725

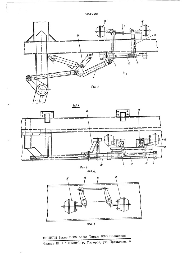
Полуприцеп для перевозки объемных железобетонных изделий

Полуприцеп для перевозки объемных железобетонных изделий (патент 524725)