Иллюстрации к патенту
728700
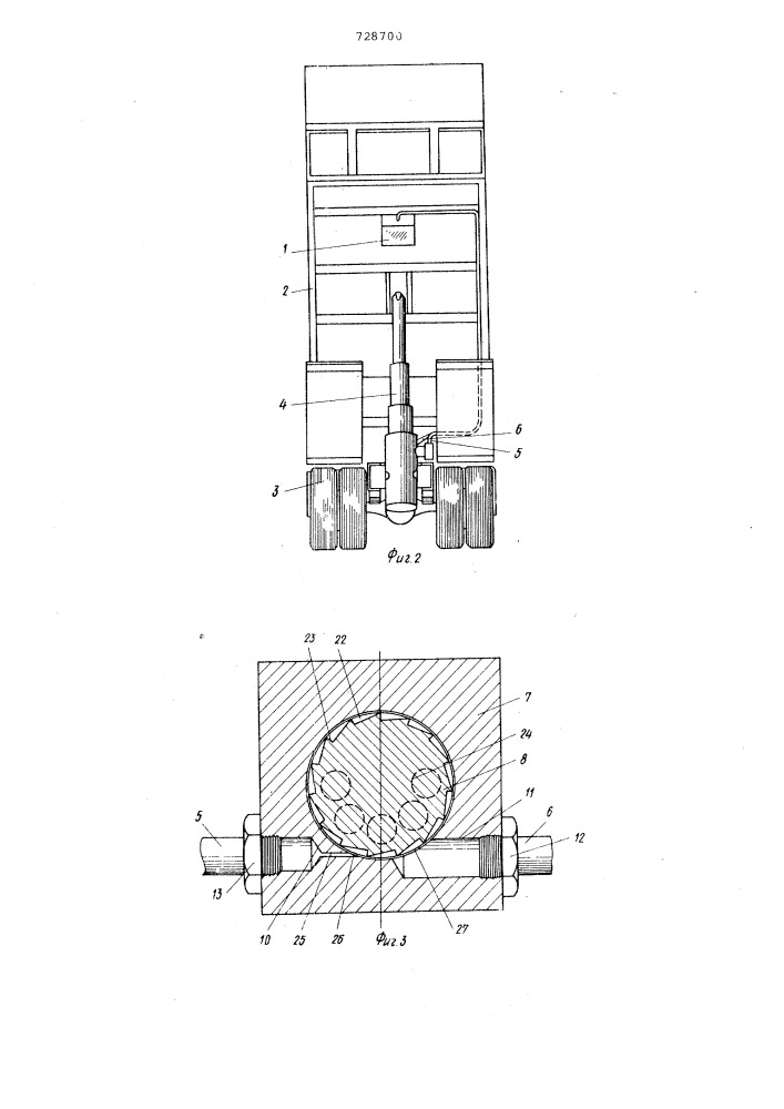
Устройство для возбуждения вибрации кузова транспортного средства