Иллюстрации к патенту
885956
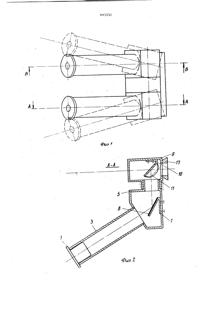
Бинокулярная насадка микроскопа